Dtect 150 SV Professional - Dedektör BOSCH - Ücretsiz kullanım kılavuzu
Cihazın kılavuzunu ücretsiz bulun Dtect 150 SV Professional BOSCH PDF formatında.
Sık sorulan sorular - Dtect 150 SV Professional BOSCH
Questions des utilisateurs sur Dtect 150 SV Professional BOSCH
0 question sur cet appareil. Repondez a celles que vous connaissez ou posez la votre.
Poser une nouvelle question sur cet appareil
Cihazınız için talimatları indirin Dedektör PDF formatında ücretsiz! Kılavuzunuzu bulun Dtect 150 SV Professional - BOSCH ve elektronik cihazınızı yeniden ele alın. Bu sayfada cihazınızın kullanımı için gerekli tüm belgeler yayınlanmaktadır. Dtect 150 SV Professional markasının BOSCH.
KULLANIM KILAVUZU Dtect 150 SV Professional BOSCH
Bütün talimat ve uyarlar okunmali ve bunlara uyulmaldir. Ölcme cihazi bu güvenlik talimatina uygun olarak
kullamilmazsa, ölcme cihazina entegre
koruyucu donanimlarin islevi kistlanabilir. BU TALIMATI IYI VE GUVENLI BIR YERDE SAKLAYIN.
Olçme cihazınin sadece kalifiye uzman personel tarafindan ve original yedek parçalarla onarilmasın saglayin. Bu sayede olçme cihazınin güvenligini saglarsıniz.
Ölçme cihazi ile icinde yanici sivilar, gazlar veya tozlar bulunan patlama riski bulunan ortamlarda calismayin. Ölçme cihazi icinde tozu veya buharlari tutusturabilecek kivilcimlar olusabilitir.
Bu olümü m aleti teknojik acidan yüzde yüzlik bir güvenlik saglayamaz. Bu nedenle, tehlikeleri onlemek icin, duvara, ravanda veya zeminde yapilacak her delme, kesme veya frezeleme isleminden once yapi planlari, yapim esnasindaki fotograflar gibi diger bilgi kaynaklarina da basvurun. Havadaki nem orani, diger elektrkli alelirin yakininda bulunma gibi cevresel etkil er olümüm aletinin hassaiyetini olumsuz yonde etkileyebilir. Duvarlarin niteligi ve durumu (örnegün nem, metal iceren yapi malzemeleri, iltetken duvar kagtlari, yalirim
100 | Türkçe
malzemesi, fayanslar) ve nesnelerin sayisi, turi, buyuklugu ve konumu olme sonuclarinin yanlis cikmasina neden olabilir.
Urün ve performans aciklamasi
Lüften kullanma klavuzunun on kismindaki resimlere dikkat edin.
Usulüne uygun kullanim
Bu olcum aleti, duvarlardaki, tavanlardaki ve zeminlerdeki nesnelerin aranmasi icin tasarlanmistir. Zeminin malzemesine ve durumuna gore metal nesneler, ahsap kirisler, plastik borular, elektrik hatlar ve kabolar bulunabilir. Tespit edilen nesnelerden, nesnenin ust kenarindaki nesne derinligi belirlenir.
Bu olcum aleti EN 302435 sinir degelerini karsilar. Bu temelde,orn.hastaneldere,nukleer santrallerde ve havaalani ile baz istasyonu yakinarinda olcum aletinin kullanilip kullanilamayacagi aciklaga kavusturulmalidir. Bu olcme cihazi kapali mekanlarda ve acik havada kullanilmaya uygundur.
Sekli gosterilen elemanlar
Sekli gosterilen elemanlarin numararile grafik sayfasindaki olcme cihazi resmindeki numaralar yandinr.
(1) Üst isaretlemye yardimi
(2) Tekerlek
(3) Sol veya sag isaretlemeyardimi
(4) Pil gozukapagl
(5) Pil gozü kapaği kilidi
(6) Tutamak
(7) Bakim kapagi
(8) Seri numarasi
(9) Sensor alani
(10) Sag seçim tuşu
(11) Başlatma tuşu
(12) Sol seçim tuşu
(13) Sinyal sesi tusu
(14) Ayar tuşu
(15) Açma/kapama tuşu
(16) Ekran
(17) LED
(18) Korumaçantasi
Gösterge elementari
(a) Sinyal sesi gösterreichesi
(b) Pil gostergesi
(c) Sensor alanigostergesi
(d) Onceden incelenen alan
(e) Nesne derinligi icin olcum czelgesi
(f) Henüz incelenmemiş alan
(g) Dis kenarlar, sol veya sag isaretleme yardiminda (3) isaretlemek icin
(h) Isletim turu gostergesi
(i) Siyah: Bulunan nesne ilgili sensor alaninda
(j) Gri: Bulunan nesne ilgili sensor alaninin disinda
(k) Orta cizgi, isareletme yardimina (1) karstlik gelir
(I) Nesne derinligi gostergesi
(m) Nesne malzesemi gõstergesi
(n) Gerilim ileten hat gostergesi
Teknik veriler
| Universal duvar tarama cihazi D-TECT 150 SV | |
| Siparis numarası | 3601 K10 008 |
| Nesne ortası ileçın olçüm hassasiyeti aA) | ±5 mmB) |
| Görüntülenen nesne derinligi hassasiyeti bA) | |
| - Kuru betonda ±5 mm | B) |
| - Islak betonda ±10 mm | B) |
| İkimi komşuln esnearasindaki asgari mesafe cA) | 40 mmB) |
| Isletme sicutkı -10°C...+50°C | |
| Saklama sicutkı -20°C...+70°C | |
| Radar sensörü | |
| - isletme frekansı aralı -2200-5500 MHz | |
| - Gönderim güüü maks. 0,01 mW | |
| Endüktif sensör | |
| - isletme frekansı aralı 5,9-6,1 kHz | |
| - maks. manyetik akışildeti (10maticin) | 72 dBμA/m |
| Referans yükbeklik üzerinde maks. uyugulama yükbekkı | 2000 m |
| Bagil hava nemi, maks. % 90 | |
| IEC 61010-1 uyarınca kirlenmèderecesi | 2C) |
| Piller 4 × 1,5 V LR6 (AA) | |
| Aküler 4 × 1,2 V HR6 (AA) | |
| isletme suresi, yakl. | |
| - Piller (alkali mangan) 5 sa | |
| - Aküler (2500 mAh) 7 sa | |
| Ağırkı EPTA-Procedure 01:2014 uyarıncı | 0,65 kg |
| Ölcüleri (uzunluk × genmişlik × yükbekkı) | 220 × 97 × 120 mm |
Universal duvar tarama cihazi D-tract 150 SV
Koruma türü IP 54 (toz ve piskürme
suyu korumasi)
A)bkz. Grafik

B) Nesnenin buyukligune ve turiye ve zemin malzesine ve durumuna baglidir
C) Zaman zaman yogunlasma nedeniyile iletkenlik gorulebilmesine ragmen, sadece iletken olmayan bir kirlenme ortaya ickar.
Tip etiketi üzerindeki seri numaras (8) olçüm aleti kimliginin belirlenmesine yarar.
Zemin özelliklerinin elverissiz olması olçüm aletinin hassasiyetini ve algilama derinligini olumsuz yonde etkileyebilir.
Bir parazit sinyalinin oIc um aleine etkisini test eden algilayici testiciin, ETSI TS 103 361 (V1.1.1)
Bolüm 9.4.1'de d = 60 mm tanimi kriter ve performans seviyesi kullanilmaktadir.
Parazit dayanimi testi icin performans konusunda asagidaki kriter kullanlalmaktadir:
Bazi belirli kosullarda (ornegin elekrostatik desarj veya elektromanyetik alanlarin etkisi) olcum sonuclari etkilenebilir, guncel olcum sonuclari kaybedilebilir ve olcum aleti pillerin cikarilip tekrar takilmasi suretyle sifirlanmasi gerekli olabilir.
Montaj
Pillerin takilmasi/deigistirlimesi
Olçüm aletinin calistirilmasi icin Alkali-Mangan pillerin vya akülerin kullanilmasi onerilir.
Pil gozu kapaigi (4) acmak icin kilidi (5) ok yonunde bastirin ve pil gozu kapaigi cikarin. Pilleri veya akuleri yerlerine yerlestiirin. Pil haznesindeki gorsel araciliigyla kutup baglantisin dinogr ulmasina dikkat edin.
Akü gõstergesi (b), ekranin üst durum satirnda (16) pillerin veya akülerin sarj durumunu gosterir.
Not: Pilleri veya akuleri dokru zamanda degistirmek icin degisen pil sembolüne dikkat edin.

Ekranda (16) uyari notu
< Lüften bataryayi degistir>
gorunurse ayarlar kaydedilir
ve olçüm aleti otomatik olarak
kapanir. Olçüm yapilmasi
mumkün degildir. Pilleri veya
aküleri degistirin.
Pillerin veya akünçikarilmasi cin pilin/akün unka uç kismina bastirin, ilgili prosedur pil gozu kapaginin resminde gosterilmistir (1.). Pilin/akünun on uç kismi ilgili pil haznesinden (2.) ayrilir, pil veya akü kolayca kikarilabilir.
Tum pilleri veya akuleri her zaman aynianda degistirin. Sadece ayni ureticije ait veya ayni kapasitede piller veya akulerr kullanin.
Uzun sure kullanimayacak pilleri veya akuleri olcum aletinden cikarin. Piller ve akuler, uzun sure kullanim disi kaldirinda korozyona ugrayabilir ve Kendiliginden desarj olabilir.
Isletim
Ölçme cihazıni nemden ve dokrudan gelen günes—isinindan koruyun.
Olçüm aletini asiri sicutlklara vya sicutlik dalgalanmalarina maruz birakmayin. Buyuk sicutlik dalgalanmaları sos konusuysa acmadan once sicutligrin dengelenmesini bekleyin. Asiri sicutlklarda vya sicutlik dalgalanmalarinda, olçüm aletinin hassasiyeti ve ekran göstergesi olumsuz etkilene bilir.
Olcum aletinin arka tarafindaki sensor alanina (9) hicbir etiket veya levha yapistirmayin. Ozellike metal levhalar igili olcum sonucarini olumsuz etkiler.
Yakin cevre de sinyal gonderen sistemlerin kullanlmasi veya calistirlmasi (orn.WLAN,UMTS, ucaus radari, vericiler veya mikrodalgalar) olcum fonksiyonunu olumsuz etkileyebilir.
Olme sonuclari prensip olarak belirli ortam kosullari tarafindan etkilenebilir. Ornegin guclc elektriksel, manyetik veya elektro manyetik alan olusturan cihazlara yaklinik, nem, metal iceren yapi malzemeleri, aluminyum lamine yaltim malzemeleri ve iletken duvar kagtilari ve fayanslar olme sonuclarina etki edbilecek kosullari yaratabilir. Bu nedenle duvarlarda, tavanlarda ve zeminlerde delme, kesme veya freze islemi yapmaya baslamadan once baska bilgi kaynaklarina da basvurun (ornegin yapi planlar).
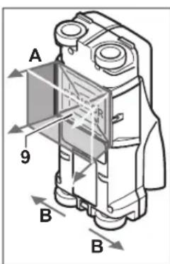
Calisma sekli (bkz. resim B)

Olçum aleti ile sensör alaninin
zemini (9) olçum yönü A Scarlet
goruntuleni olçum
derinligine kadar kontrl
edirir. Olçum sadece olçum
aletinin B hareket yönunde
hareket ettilirmesi ve asgari
olçum mesafesinin 10 cm
olmasi durumunda
mümkündür. Olçum aletini
her zaman diz bir cizgide
duvarin üzerinden haffir bir
baskyla hareket ettirin,
boylece tekerlekler gewenli
bir duvar temasina sahip
olur. Duvar malzemesinden farkli malzemeye sahip nesneler cihaz tarafindan algilanir. Ekranda nesne derinligi ve mumkunse ilgili nesne malzemesi görtülenir.
102|Türkce
Olcum mesafesi en az 40 cm ise ve olcum aleti incelenecek tum alan uzerinde yavaça hareket ettirilirse mukemmel sonuclar elde edilir. Olcum aletinin hareket yonune capraz olarak uzanan nesnelerin ust kenarlar, ilevsel olarak guvenilir bir sekilde tespit edilir.
Bu nedenle incelenecek alanda her zaman capraz konumda hareket edilmelidir.
Duvarda birden cok nesne ust ute bulunyorsa ekranda hangi yuzeyin sirada oldugu goruntulenir. Bulunan nesne ozelliklerinin ekrandaki (16) goruntusu,GPCK nesne ozelliklerinden farkl olabilir.Ozellikle cok incn nesneler ekranda daha kalin gorunur.Buyuk boyutlu, silindirik nesneler (orn.plastik borular veya su borulan) ekranda olduklarindan daha dar gorunebilir.
Tespit edilebilir nesneler
- Plastik borular (orn. su tasiyan plastik borular, yerden istma veya duvardan isitma vb., en az 10 mm capi, en az 20 mm capi bos borular)
-Elektrik hatlari (gerilim itmesinden bagimsiz olarak) - Üç fazlı trifaze akın hatlari (örn. oçaga giden)
- Küçük gerilim hatlari (örn. zil, Telefon)
Metal borular ve cubuklar, her turde metal taşiyici (örn. celik, bakir, aluminyum) - Donati demirleri
-Ahsap kirisler
-icbosluklar
Ölcüm yapilabilir
-Betonda/celeik betonda
Duvarda (tuğlalar, gozenekli beton, genleşmiş beton, ponza, kireçlikum tasi)
-Hafif duvarlarda
-Siva, fayans, duvar kagidi, parke, hal gibi yuzeylerin altinda
-Ahşap, alçipan arkasinda
Özel ölcüm durumlari
Uygun olmayan kosullar prensip olak olcum sonucun olumsuz etkileyebilir:
Cok katmani duvar yapilari
- Bos plastik borular ve boşluklardaki ve hafif duvarlardaki ahsap kirisler
Duvarda capraz konumda uzanan nesneler
Nemli duvar malzemesi
Metalyuzeyler
-Duvardaki ic boşluklar; bunlar nesne olarak alglanabilir
-Guclui manyetik veya elektronymetik alanlar olusturan cihazlara yakiniik,orn.mobil baz istasyonlari vya jeneratorler
Caliistirma
Açma/kapama
- Olçüm aletini acmadan once sensör alaninin (9) olmak olmadigiendan emin olun. Gerekirse olçüm aletini bir bezle kurulayin.
Olçüm aleti güülü bir sicutlık degişikligine maruz kaldiginda,acdmadan once soğumasini bekleyin.
Acma
- Olçüm aletinin acilmasi icin acma/kapatma tusuna (15) veya胃肠ata tusuna (11) basin.
-LED (17) yesi yanar ve baslangic ekram 4 s sureyle ekranda (16) gorunur. - Ölçüm aleti ile bir ölcüm yapmazsaniz veya bir tatsäch basmazsaniz alet 5 dakika sonra otomatik olarak kapanir. Ayarlar��nde bu
(Bakiniz „ (, Sayfa 104) degistirebilirsiniz.
Kapama
- Olçüm aletini kapatmak icin acma/kapatma tusuna (15) basin.
- Ölçüm aletinin kapatilmasi sirasinda menülerde seçilen:tüm ayarlar korunur.
Sinyal sesinin acilmasi/kapatilmasi
Sinyal sesi (13) tuşu ile sinyal sesini acabilir veya kapatabilirsiniz. Ayarlan menusündeki
Ölçme ilemi
Ölçüm aletini acin. Ekranda (16) standart gösterge ekrani görünür.

Olçüm aleitini duvara konumlandirin ve ilgili yonde duvara (Bakiniz „Calisma seksli (bkz. resim B)“, Sayfa 101) hareket ettirin. Olçüm sonuçları, 10 cm asgari olçüm mesafesinden sonra ekranda (16) güruntülenir. Dogru olçüm sonuçları elde etmek icin olçüm aleitini komple ve yavassa duvardaki tespit edilecek nesenin üzerinde hareket ettirin.
Olçüm sirasindo olçüm aletin duvardan cekseniz veya 2 dokidan fazla kullanmazsaniz (hareket, tuça basma), son olçüm sonucu ekranda kalir. Sensor alani goftergesinde (c) ilgili
LED (17) kirmizi yaniyorsa sensor alaninda bir nesne mevcuttur. LED (17) yesil yaniyorsa sensor alaninda hicbir nesne yoktur. LED (17) kirmizi yanip sonuyorsa sensor alaninda gerilim ileten bir nesne mevcuttur.
Duvarda delme, kesme veya freze islemine\ baslamadan once tehlikeler konusunda diger bilgi\ kaynaklarina da basvurmaniz gerekir. Olçme sonuçları\ ortam kosullarindan veya duvarin niteligiinden\ etkilenebileceğinden, gõstergenin sensör alaninda hicens\ nesne gõstermeme riskivardir (LED (17) yesil yanar).
Gösterge elemanlari (bkz. resim A)
Sensörün-altinda bir nesne mevcutsa bu nesne ilgili
göstergenin sensör alaninda (c) görünür. Nesnenin
büyüklügüne ve derinlinige baglı olarak bir malzeme
tanılamasi yapilabilir. Tespit edilen nesnenin üst kenarı
kadarolan nesne derinligi (I) durum satirinda görtüntülenir.
Not: Nesne derinligi (I) ve malzeme ozelligi gostergesi (m), sensorde siyah renkte gosterilen nesneye yoneliktir.
Nesne malzemesi gostergesi (m) asagidaki ozellikleri icerebilir:
- Manyetik, orneigin donati demiri
Manyetik degil, fakat metal, orn. bakir boru
Metal degil, orn. ahsap veya plastik
Bilinmeyen malzeme özelligi
Gerilim luten hatlarin gostergesi (n) asagidaki ozellikleri icerebilir:
- Gerjim ileten
Not: Gerilim ileten nesnelerde baska bir ozellik görtülenmez.
Gerilim liten olup olmadigi belli degil
Not: Uc fazl trifaze akim hatlan "gerilim iletmeyen hatlar" olarak algilanabilir.
"Gerilim ileten" özelligin tespiti,®,®,!, hava nemin yüksek oldugu durumlarda (>50) onemli olçude sinirlanabilir.
Nesne yerinin belirlenmesi
Neselerin taranmasi icin olcum mesafesinin bir kere ayarlanmasi yeterlidir.
Hiçbir nesne bulunamadiya esas ölcüm istikametine gore capraz konumda ilgili hareket tekralanmalidir (Bakiniz „Calisma sekli (bkz. resim B)“, Sayfa 101)ile onaylama yapın.
Tespit edilen bir nesenin yerini tam olarak belirlemek ve isaretlemek istiyorsaniz olcum aletini ilgili olcum mesafesi uzerinde geri hareket ettinir.

Ornekte oldugu gibirnesne,ortacizginalt ortanoktasinda (k) ekranda (16) gorunurseust isaretlemeyardiminda (1) kabaca bir isaretlemeyapabilirsiniz.Sensor alani ilgiliust isaretlemeyardiminin biraz altinda yer
aldigindan, bu isaretlemenin kesin sonucu vermesi icin dikey uzanan bir nesne olmasi gerekir.

Kesin nesne konumun duvara isaretlenmesi icin olcum aletini sola veya saga hareket ettirin ve tespit edilen nesenin bir dis kenar altina denk gelmesini saglayin.
Ekranda (16) tespit edilen nesne orneigin tanamis sag cizginin alt orta noktasinda (g) gorunuyorsa sag isaretlemye yardiminda (3) kesen yer tespit yapilabilir.
Tespit edilen nesenin duvardaki uzanisini, birden cok olcum mesafesini arka arkaya uygulayar belirleyebilirsiniz (bkz. resim I) (Bakiniz..Olcum sonuclar icin ornekler".
Sayfa 105). ilgili olçüm noktarimi isaretleyin ve birleşirin.
Baslatma tusuna (11) basarak tespit edilen nesne gostergesini silebilir ve yeti bir olcum baslatabilirsiniz.
Isletim turlerinin seilmesi
Secim tuşu (10) ve (12) ile farkı isletim Türleri (modlari)arasindaGPCİYapabilirsiniz.
- Sonraki isletim türünü seçmek icin secim tusuna (10) kisa sureli basin.
- Onceki isletim turunu seçmek icin sejm tuşuna (12) kisa sureli basin.
Isletim turleri seci mile olc um aletini farkl duvar malzemelerine adapte edebilirsiniz. lgili ayar her zaman ekranin gosterge alanindan (h) takip edilebilir.
(on ayarli)
Maksimum olcum derinligi 8 cm'dir.
Betonun tamamen kuruması icin aylar geleçmesi gerektigine dokkat edin.
<Özel beton>
<Özel beton> isletim türü özellikle celik betonda derinde yer alan nesnelerin tesip edilmesi icin uygundur. Donati demiri, plastik ve metal borular ile elektrik hatlari görtünülir. Maksimum olçüm derinligi 15 cm'dir.
104|Türkce
Cok fazla nesne görtünteleniyorsaogrudan donati demirinde hareket ediyor olabilirsiniz. Bu durumda, öcum aletini birkac santimetre kaydirin ve yeniden deneyin.
Farkli calisma scenaryolarinda farkli isletim turleri tatmin edici sonuclar vermezse
Alglama kabiliyeti, bagil hava nemi yuksekse ( > 50) onemli oranda azalabilir.

Egrin tepe noktası, kucuk olçum cubugunda, isletim turu (h) östergesi uzerinden U formunda goruntulenir. Birnesne derinligi ve mümkurse malzeme özilikleri goruntulenir. Maksimum olçum derinligi 15 cm'dir.
Sinyal gucunden, bir nesne derinligi anlaslamaz.
Gösterge türlerinin seilmesi
Not: Tum isletim turlerinde gõsterge turi seci yiapilabilir. Standart gõsterge ekranindan metre cubuk modunaGPCmek icin (10) vya (12) seci tusuna uzun sureli basin.

Metre cubuk modu ornekte resim D ile ayin durumu gostermektedir: Esit mesafe dedc demir cubuk. Metre cubuk modunda, tespit edilen cism orta noktalari arasindaki mesaafe belirenebilir.
Nesne derinligi gostergesinin ultnda (I) baslangic noktasindan itibaren geride biraklan olcum yolu belirtilir, ornekte 20,1 cm.
Isletim turu gostergesinin uzerindeki kucuk olcum cubugunda (h) tespit edilen u cisim, dikkortgen olarak goruntulenir.
Not: Nesne derinligi (I) ve malzeme özelliigi gõstergesi (m), sensörde siyah renkte gõsterilen nesneye yöneliktir.
Standart gõsterge ekranina geri donmek icin (10) veya (12) secem tusuna kisa sureli basin.
Not: Sadece gõstergedehyimi yapilir,olçum modu degiimez!
Ayarlar menusu
Ayarlar menüne gitmek icin ayar tusuna (14) basin.
Menüdençikmak icin baslatma tusuna (11) basin. Bu anda seçilen ayarlar devralnir. Olçum islemi icin standart gõsterge ekranı devreye alnir.
Menüde dolasma
Aşaqi kaydirmak icin ayar tuşuna (14) basin.
ilgili degerleri seçmek icin (10) ve (12) seçim tuşlarina basin:
-
Seçim tuşu (10) ile sagdaki veya sonraki degeri secebilirsiniz.
-
Seçim tuşu (12) ile soldaki veya onceki değeri secebilirsiniz.
< Kapama siresi> menusnde belirli zaman aralklarini ayarlayabilirsiniz. Bu zaman aralklari sonrasinda, higbir olcum islemi veya ayar yapilmazsa ilgili olcum aleti otomatik olarakapanir. On ayarll alan sure < 5 Dak>.
- On ayarli alan: Duvar nesnesi): Her tuja basildiginda ve sensor alani altinda bir duvar nesnesi tespit edildiginde ilgili sinyal sesi duyulur. Ayrica gerilim lieten hatlarda, kisa tonlamali bir uyari sesi duyulur.
-Akum kablosu> ayarinda, her tuça basildiginda bir sinyal sesi ve olçüm aleti bir akim hattini goruntüledigiinde gerilim ileten hatlara yönelik uyari sinyali (kisa tonlamali) duyulur.
ayarinda, sadece tuça basildiginda bir sinyal sesi duyulur.
Gelismis ayarlar menusu
Gelismis ayarlar menusune gitmek icin olc um aleti kapaliyken, aynianda ayar tusuna (14) ve acma/kapatma tusuna (15) basin.
Menüden cikmak icin baslatma tuşuna (11) basin. Ölcüm ilemi icin standart gõsterge ekrani devreye girir ve ayarlar devalinir.
Menüde dolasma
Aşaqi kaydirmak icin ayar tuşuna (14) basin.
Ilgili degerleri sejmek icin (10) ve (12) secim tuşlarina basin:
- Secim tusu (10) ile sagdaki veya sonraki degeri secebilirsiniz.
- Seçim tuşu (12) ile soldaki veyaforcesi seçebilirsiniz.
Hata - Nedenleri ve Cözümleri
Hata Neden Giderilme yontemi
| Ölcüm aleti acılm;yor. Piller bóş Pileridehyegrın | ||
| Pil kutuplari yanlış yereleştilimş Pilk konumu kontrol edilm/elir | ||
| Ölcüm aleti acık ve tepki vermiyor. | Ölcüm aleti;cok sicalscak veyacok soguk | Piller çikarilmalı ve tekrar takilmalir |
| Izin verilen sicalsciklik alanına ulaşana kadar beklenmelir | ||
| Ekran goftergesi: <Tekerlek kaldırilmş> | Tekerlek duvar temasini kaybediyor. | Başlatma tuşuna (11) basin ve olçüm aletinin hareketisirasinda her iki alt tekerleşgin duvar temasina dikkat edin;扭矩 olmayan duvarlarda, teklerlek ile duvar arasınince bir karton yerleşirin |
Ölçüm sonuçları icin ortnekler
Not: Asagidaki orneklerde olcum aletindeki sinyal sesi devrededir.
Sensor alani altinda bulunan nesnenin buyuklugune ve derinligine bagl olarak, bu nesnenin gerilim icerip icermedigi her zaman kosin bir sekilde belirlenebilir. Bu durumda ilgili gostergesinde (n) sembolu gorunur.
Gerilim ileten hat (bkz. resin C)
Sensor alaninda metal, gerilim ileten bir nesne mevcut, orn.
bir elektrik kablosu. Nesne derinligi 1,5 cm'dir. Elektrik kablosu ilgili sensor tarafindan algilanrsa olcum aleti
tarafindan gerilim ileten hatlara yonelik uyari sinyali verilir.
Demir cubuk (bkz.resim D)
Sensor alaninda manyetik bir nesne mevcut, orn. bir demir cubuk. Bunun solunda ve saginda, sensor alaninin disinda baska nesneler de mevcut. Nesne derinligi 5,5 cm'dir. Olcum aleti bir sinyal sesi verir.
Bakir boru (bkz.resim E)
Sensor alaninda metal bir nesne mevcut,orn. bir bakir boru. Nesne derinligi 4cm'dir.Olum aleti bir sinyal sesi verir.
Plastik veya ahsap nesne (bkz. resim F)
Sensor alaninda metal icermeyen bir nesne mevcut. Yüzeye yakin bir plastik veya ahsap nesne soz konusu. Olçüm aleti bir sinyal sesi verir.
Genis yüzey (bkz. resim G)
Sensor alaninda metal, genis bir yüsey mevcut, orn. bir metal plaka. Nesne derinligi 2 cm'dir. Olçüm aleti bir sinyal sesi verir.
Cok sayida net olmayan sinyal (bkz. resinler H-1)
Standart gõsterge ekraninda cok sayida nesne görünüyorsa duvar muhtemelen cok sayida iç bosluktan olusuyordur. iş bosluklar Gizlemek icin
106 | Türkçe
Hata Neden Giderilme yontemi
| Ekran goftergesi: <Hzli> | Ölcüm aleti;cok hizl hareket ediyor | Başlatma tuşuna (11) basin ve olçüm aletini duvara yavaşa hareket ettinir |
| Izin verilen sircaklik alanina ulaşa kadar beklenmelidir | ||
| Izin verilen sircaklik alanina ulaşa kadar beklenmelidir | ||
| Ölcüm aleti kendiligiinden kapaniyor. Eşermintende parazit:yapan radyo dalgaları giderin (örneğin WLAN, UMTS, uçus radari, sinyal kuleleri veya mikro dalgalar) ve olçüm aletini tekrar,açın. |
Bakim ve servis
Bakim ve temizlik
Her kullanmdan once olcum aletini kontrl edin. Gorunur hasar veya olcum aletinin ic kisminda gevsek parca olmasi durumunda, fonksiyon guvenligi garantie edilemez.
Iiyéguvenl calisabilmek icin olcum aletini her zaman temiz ve kurututun.
Ölçme cihazıni suya veya baska svilar icine dalirmayın. Olasi kirleri kuru, yumusak bir bezle temizleyin. Deterjan veyaoczucu madde kullanmayın.

Bakim kapagin (7) her zaman iyice
kapatilmis olmasina dikkat edin. Bakim
kapagi sadece Bosch elektrikli el alelteri
firmasinyetkili bir musteri hizmetleri birimi
tarafindan acilabilir.
Olcum aletini sadece birlikte teslim edilen koruma cantasi icinde saklayin ve taysiin.
Onarim gerektiginde, ölcüm aletini koruma çantası icinde gonderin.
Müsteri servisi ve uygulama danismanligi
Müsteri servisi erununuzün onarim ve bakimi ile yedek parçalarina ait sorularinizi yanlndirr. Demonte görunüşleri ve yedek parçalara ait bilgileri su sayfada da bulabilirsiniz:
www.bosch-pt.com
Bosch uygulama danisma ekibi urunlerimiz ve aksesuarlari hakkindaki sorularinizda sizlere memnuniyete yardimci olur. Butun basvuru v yedek parca siparislerinizde urunun tip etiketi uzerindeki 10 haneli urun kodunu mutlaka belirtin.
Türkce
Bosch Sanayi ve Ticaret A.S.
Elektrikli Eletleri
Aydinevler Mah. Inonu Cad. No: 20
Küçükyalı Ofis Park A Blok
34854 Maltepe-istanbul
Tel.: 444 80 10
Fax:+902164320082 E-mail:iletisim@bosch.co
www.bosch.com.tr
Bulsan Elektrik
Istanbul Cad. Devrez Sok. Istanbul Carsisi
No:48/29 Iskitler
Ankara
Tel.: +90 312 3415142
Tel.: +90 312 3410302
Fax:+903123410203
E-mail: bulsanbobinaj@gmail.com
Faz Makine Bobinaj
Cumhuriyet Mah. Sanayi Sitesi Motor
Isleri Bolümü 663 Sk. No:18
Antalya
Tel.: +90 242 3465876
Tel.: +90 242 3462885
Fax:+902423341980
E-mail: info@fazmakina.com.tr
Körfez Elektrik
Karaagac Mah. Sumerbank Cad. No:18/2
Erzincan
Tel.: +90 446 2230959
Fax:+904462240132
E-mail: bilgi@korfezelektrik.com.tr
Deiger Is Bobinaj
Ismetpasa Mah. Ikk Belediye Baskan Cad. 5/C
Sahinbey/Gaziantep
Tel.: +90 342 2316432
Fax:+903422305871
E-mail: degerisbobinaj@hotmail.com
Tek Czozum Bobinaj
Kusget San.Sit.A Blok 11Nolu Cd.No:49/A
Sehitkamil/Gaziantep
Tel.: +90 342 2351507
Fax:+903422351508
E-mail:cozumbobinaj2@hotmail.com
Gunsah Otomotiv
Beylikduzü Sanayi Sit. No: 210 Beylikduzü
Istanbul
Tel.: +90 212 8720066
Fax:+902128724111
E-mail: gunsahelektrik@ttmail.com
Aygem
10021 Sok. No: 11 AOSB Cigi
Izmir
Tel.: +90232 3768074
Fax:+902323768075
E-mail: boschservis@aygem.com.tr
Sezmen Bobinaj
Ege Is Merkezi 1201/4 Sok. No: 4/B Yenisehir
Izmir
Tel.: +90 232 4571465
Tel.: +90 232 4584480
Fax:+902324573719
E-mail: info@sezmenbobinaj.com.tr
Ankarali Elektrik
Eski Sanayi Bolgesi 3. Cad. No: 43 Kocasinan
Kayseri
Tel.: +90 352 3364216
Tel.: +90 352 3206241
Fax:+903523206242
E-mail: gunay@ankarali.com.tr
Asal Bobinaj
Eski Sanayi Sitesi Barbaros Cad. No: 24/C
Samsun
Tel.: +90 362 2289090
Fax:+903622289090
E-mail: bpsasalbobinaj@hotmail.com
Ustundag Elektrikli Aletler
Nusretiye Mah. Boyacilar Araligi No: 9
Tekirdag
Tel.: +90 282 6512884
Fax:+902826521966
E-mail: info@ustundagsogutma.com
Marmara Elektrik
Tersane cd. Zencefil Sok.No:6 Karakoy
Istanbul
Tel.: +90 212 2974320
Fax:+902122507200
E-mail: info@marmarabps.com
Bagniacliar Oto Elektrik
Motorlu Sanayi Carsisi Dogruer Sk. No:9 Selcuklu
Konya
Tel.: +90 332 2354576
Tel.: +90 332 2331952
Fax:+903322363492
E-mail: bagriaciklarotoelektrik@gmail.com
Ermenistan, Azerbaycan, Gurdistan, Kirgizistan,
Mogolistan, Tacikistan, Turkmenistan, Uzbekistan
TOO "Robert Bosch" Power Tools, Satis Sonrasi Servis
Rayimbek Cad., 169/1
050050, Almati, Kazakhstan
Servis E-posta: service.pt.ka@bosch.com
Resmi Internet Sitesi: www.bosch.com, www.bosch-pt.com
Tasfiye
Olcum aleteri, akuler/piller, aksesuar ve ambalaj malzesemi cevre dostu tasfiye amaciyla bir geri kazanim merkezine yollanmaldir.

Olçüm alelterini ve aküleri/pilleri evsel çöplerinicine atmayin!
Sadece AB ülkeleri icin:
2012/19/EU yonetmeligi uyarinca kullanim omrunu tamamlami olme cihazlar ve 2006/66/EC yonetmeligi uyarinca arizali veya kumanim omrunu tamamlami akular/ bataryalar ayri ayri toplanmak ve cevre dostu tasiye icin bir geri donusum merkezine yollanmak zorundadir.
KolayKılavuz