Dtect 150 SV Professional - Detektor BOSCH - Kostenlose Bedienungsanleitung
Finden Sie kostenlos die Bedienungsanleitung des Geräts Dtect 150 SV Professional BOSCH als PDF.
Häufig gestellte Fragen - Dtect 150 SV Professional BOSCH
Questions des utilisateurs sur Dtect 150 SV Professional BOSCH
0 question sur cet appareil. Repondez a celles que vous connaissez ou posez la votre.
Poser une nouvelle question sur cet appareil
Laden Sie die Anleitung für Ihr Detektor kostenlos im PDF-Format! Finden Sie Ihr Handbuch Dtect 150 SV Professional - BOSCH und nehmen Sie Ihr elektronisches Gerät wieder in die Hand. Auf dieser Seite sind alle Dokumente veröffentlicht, die für die Verwendung Ihres Geräts notwendig sind. Dtect 150 SV Professional von der Marke BOSCH.
BEDIENUNGSANLEITUNG Dtect 150 SV Professional BOSCH
Sicherheitschinweise

Samtliche Anweisungen sind zu lessen und zu beachten. Wenn das Messwerkzeug nicht entsprechend den vorliegenden Anweisungen verwendet wird, können die integrier-
ten Schutzvorkehrungen im Messwerkzeug beeinträchtigt werden. BEWAHREN SIE DIESE ANWEISUNGEN GUT AUF.
Lassen Sie das Messwerkzeug nur von qualifiziertem Fachpersonal und nur mit Original-Ersatzteilen repa- rieren. Damit wird sichergestellt, dass die Sicherheit des Messwerkzeuges erhalten bleibt.
Arbeiten Sie mit dem Messwerkzeug nicht in explosionsgefahrter Umgebung, in der sich brennbare Flüssigkeiten, Gase oder Stäube befinden. Im Messwerkzeug können Funken erzeugt werden, die den Staub oder die Dampfe entzufen.
Das Messwerkzeug kann technologisch bedingt keine hundertprozentige Sicherheit garantieren. Um Gefahren auszuschlieben, sichern Sie sich daher vor jedem Bohren, Sagen oder Fräsen in Wände, Decken oder Böden durch andere Informationsquellen wie Baupläne, Fotos aus der Bauphase etc. ab. Umwelteinflüsse, wie Luftfeuchtigkeit, oder Höhe zu anderen elektrischen Geräten können die Genauigkeit des Messwerkzeuges beeinträchtigen. Beschaffenhheit und Zustand der Wände (z.B. Nässe, metallhaltige Baustoffe, leitfähige Tapeten, Dammstoffe, Fliesen) sowie Anzahl, Art, Groß und Lage der Objekte können die Messergebnisse verfüllschen.
Produkt- und
Leistungsbeschreibung
Bitte beachten Sie die Abbildungen im vorderen Teil der Betriebsanleitung.
Bestimmungsgemäß Gebrauch
Das Messwerkzeug ist bestimmt zur Sache nach Objekten in Wänden, Decken und Fußböden. Je nach Material und Zustand des Untergrunds konnen Metallobjekte, Holzbalken, Kunststoffrohrre, Leitungen und Kabel erkannt werden. Vonden gefundenen Objekten wird die Objekttiefe an der Oberkante des Objeks bestimmt.
Das Messwerkzeug erfüllt die Grenzwerte nach EN 302435. Auf dieser Grundlage muss z.B. in Krankenhäusern, Kernkraftwerken und in der Höhe von Flughäfen und Mobilfunkstationen geklart werden, ob das Messwerkzeug eingesetzt werden darf.
Das Messwerkzeug ist zur Verwendung im Innen- und AuBenbereich geeignet.
Abgebildete Komponenten
Die Nummerierung der abgebildeten Komponenten bezieht sich auf die Darstellung des Messwerkzeugs auf der Grafisseite.
(1) Markierungshilfe oben
(2) Rad
(3) Markierungshilfe links bzw. rechts
(4) Batteriefachdeckel
(5) Arretierung des Batteriefachdeckels
(6) Handgriff
(7) Wartungsklappe
(8) Seriennummer
(9) Sensorbereich
(10) Auswahltaste rechts
(11) Starttaste
(12) Auswahltaste links
(13) Taste Signalton
(14) Setup-Taste
(15) Ein-/Aus-Taste
(16) Display
(17) LED
(18) Schutztasche
Anzeigenelemente
(a) Anzeige Sign
(b) Batterie-Anzeige
(c) Anzeige für den Sensorbereich
(d) Bereits unterscher Bereich
(e) Messskala für die Objekttiefe
(f) Noch nicht untersuchter Bereich
(g) Außenkanten, zu markieren an der Markierungs-hilfe (3) links bzw. rechts
(h) Anzeige Betriebsart
(i) Schwarz: gefundenes Objekt im Sensorbereich
(i) Grau: gefundenes Objekt außerhalb des Sensorbereichs
(k) Mittellinie, entspricht der Markierungshilfe (1)
(I) Anzeige der Objekttiefe
(m) Anzeige Objektmaterial
(n) Anzeige von spannungsfuhrrenden Leitungen
Technische Daten
| Universaltungsgerät D-nect 150 SV | |
| Sachnummer | 3601 K10 008 |
| Messgenaigung zur Objektmit- te a) | ±5 mmB) |
| Genaigung der angezeigten Objekttiefe b) | |
8 | Deutsch
| Universaltortungsgerät D-tract 150 SV | |
| - in trockenem Beton ±5 mm | B) |
| - in feuchtem Beton ±10 mm | B) |
| Mindestabstand zweier benach-barter Objekte c) | 40 mmB) |
| Betriebstempoatur -10°C...+50°C | |
| Lagertempoatur -20°C...+70°C | |
| Radarsensor | |
| - Betriebsfrequenzbereich 2200-5500 MHz | |
| - Sendeleistung max. 0,01 mW | |
| Induktiver Sensor | |
| - Betriebsfrequenzbereich 5,9-6,1 kHz | |
| - max. magnetische Feldsträke (bei 10 m) | 72 dBμA/m |
| max. Einsatzhöhe über Bezugshöhe | 2000 m |
| Relative Luftfeuchte max. 90 % | |
| Verschmutzungsgrad entspre-chend IEC 61010-1 | 2C) |
| Batterien 4 × 1,5 V LR6 (AA) | |
| Akkus 4 × 1,2 V HR6 (AA) | |
| Betriebsdauer ca. | |
| - Batterien (Alkali-Mangan) 5 h | |
| - Akkus (2500 mAh) 7 h | |
| Gewicht entsprechend EPTA-Procedure 01:2014 | 0,65 kg |
| Maße (Länge × Breite × Höhe) 220 × 97 × 120 mm | |
| Schutzart IP 54 (staub- und spritzwassergeschützt) | |
A) siehe Grafik

B) abhängig von der Großbe und Art des Objektes sowie Material und Zustand des Untergrundes
C) Es tritt nur eine nicht leitfähige Verschmutzung auf, wobei jederoch geleagentlich eine vurobergehende durch Betauung verunsachefte leitfähigkeit erwartet wird.
Zur eindeutigen Identifizierung Ihres Messwerkzeugs dient die Serien- number (8) auf dem Typenschild.
Das Messergebnis kann hinsichtlich der Genaugkeit und Erfassungstiefe bei ungünstiger Beschaffenheit des Untergrundes schlechter ausfallen.
Für den Empfängertest, der den Einfluss eines Störsignals auf das Messwerkzeug pruft, wird das Kriterium und das Niveau der Leistungsfähigkeit verwendet, das in ETSI TS 103 361 (V1.1.1) Kapitel 9.4.1 mit einer Objektie von d=60 mm definiert ist.
Für den Störfestigkeitstest wird folgenden Kriterium für die Leistungsfähigkeit verwendet:
Unter bestimten Bedingungen (z.B. elekrostatische Entlung oder Beaufschlagung von elektromagnetischen Feldern) können die Messergebnisse beeinflusst werden, aktuelle Messergebnisse können verloren gehen und es kann notwendig sein, das Messwerkzeug durch Entfernen und Wiedereinsetzen der Batterien zurückzusetzen.
Montage
Batterien einsetzen/wechseln
Für den Betrieb des Messwerkzeugs wird die Verwendung von Alkali-Mangan-Batterien oder Akkus empfohlen.
Zum Öffnen des Batteriefachdeckels (4) drücken Sie die Arretierung (5) in Pfeilrichtung und nehmen den Batteriefachdeckel ab. Setzen Sie die Batterien bzw. Akkus ein. Achten Sie darauf auf die richtige Polung entsprechend der Darstellung im Batteriefach.
Die Batterie-Anzeige (b) in der oberen Statuszeile im Display (16) zeigt den Ladezustand der Batterien bzw. Akkus an.
Hinweis: Achten Sie auf das wechselnde Batteriesymbol, um die Batterien bzw. Akkus rechtzeitig zu wechseln.

Erscheint im Display (16) der Warnhinweis
Wechseln Sie die Batterien bzw. Akkus.
Zum Herausgehmen der Batterien bzw. des Akkus drucken Sie auf das hintere Ende einer Batterie/eines Akkus, wie in der Abbildung des Batteriefachdeckels dargestellt (1.). Das vordere Ende der Batterie/des Akkus lost sich aus dem Batteriefach (2.), sodass die Batterie bzw. der Akku leicht ent-nommen werden kann.
Ersetzen Sie immer alle Batterien bzw. Akkus gleichzeitig. Verwenden Sie nur Batterien oder Akkus eines Herstellers und mit gleicher Kapazität.
▶ Nehmen Sie die Batterien bzw. Akkus aus dem Messwerkzeug, wenn Sie es langere Zeit nicht benutzen.
Die Batterien und Akkus konnen bei längerer Lagerung korrodieren und sich selbst entladen.
Betrieb
Schützen Sie das Messwerkzeug vor Nässe und direkter Sonneneinstrahlung.
- Setzen Sie das Messwerkzeug keinen extremen Temperaturen oder Temperaturschwankungen aus. Lassen Sie es bei größeren Temperaturschwankungen erst austemperieren, bevor Sie es einschalten. Bei extremen Temperaturen oder Temperaturschwankungen kann die Prazision des Messwerkzeugs und die Anzeige im Display beeinträchtigt werden.
Bringen Sie im Sensorbereich (9) auf der Rückseite des Messwerkzeugs keine Aufkleber oder Schilder an. Insbesondere Schilder aus Metall beeinflussen die Messergebnisse.
Das Benutzen oder der Betrieb von Sendeanlagen, wie z.B. WLAN, UMTS, Flugradar, Sendemasten oder Mikrowellen, in der früheren Umgebung kann die Mess-funktion beeinflussen.
Die Messergebnisse konnen prinzipbedingt durch bestimmte Umgebungsbedingungen beeinträchtigt werden. Dazu gehoren z.B. die Näre von Geräten, die starke elektrische, magnetische oder elektromagnetische Felder erzeugen, Nasse, metallhaltige Baumaterialien, alukaschierte Dammstoffe sowie leitfähige Tapeten oder Fliesen. Beachten Sie deshalb vor dem Bohren, Sagen oder Fräsen in Wände, Decken oder Böden auch andere Informationsquellen (z.B. Bauplän).
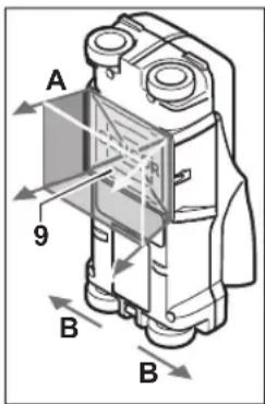
Funktionsweise (siehe Bild B)

Mit dem Messwerkzeug wird der Untergrund des Sensorbereiches (9) in Messrichtung A bis zur angezeigten Messtiefe überprüft. Die Messung ist nur während der Bewegung des Messwerkzeuges in Fahrrichtung B und bei einer Mindestmessstrecke von 10 cm möglich. Bewegen Sie das Messwerkzeug stets geradlinig mit leichtem Druck über die Wand, sodass die Räder sicheren Wandkontakt haben. Er
kannt werden Objekte, die sich vom Material der Wand unterschieden. Im Display wird die Objekttiefe und, wenn möglich, das Objektmaterial angezeigt.
Optimale Ergebnisse werden erzielt, wenn die Messstrecke mindestens 40cm beträgt und das Messwerkzeug langsam über die gesamte zu entsprechende Stelle bewegt wird. Zuverlüssig gefunden werden Funktionsbedingt die Oberkanten von Objekten, die quer zur Bewegungsrichtung des Messwerkzeuges verlaufen.
Fahren Sie den zu entsprechenden Bereich deshalb im- mer kreuzweise ab.
Befinden sich mehrere Objekte übereinander in der Wand, wird im Display das Objekt angezeigt, welche der Oberfläche am nachsten liegt.
Die Darstellung der Eigenschaften der gefundenen Objekte im Display (16) kann von den tatsächlichen Objektegenschaften abweichen. Insbesondere sehr dūne Objekte werden im Display dicker dargestellt. Größere, zylindrische Objekte (z.B. Kunststoff- oder Wasserrohe) können im Display schmaler erschienen, als sie tatsächlich sind.
Auffindbare Objekte
Kunststoffrohr (z.B. Wasserführung Kunststoffrohr, wie Fußboden- und Wandheizung etc., mit mindestens
10 mm Durchmesser, Leerrohre mit mindestens 20 mm Durchmesser)
-Elektrische Leitungen (unabhängig davon, ob spannungsführend oder nicht)
Dreiphasige Drehstromleitungen (z.B. zum Herd)
-Kleinspannungsleitungen (z.B.Klingel,Telefon)
-Metallrohre, -stangen,-trager jeglicher Art (z.B. Stahl, Kupfer, Aluminium)
Armierungseisen
- Holzbalken
-Hohlräume
Messung möglich
-In Beton/Stahlbeton
-In Mauerwerk (Ziegel, Porenbeton, Blahbeton, Bims, Kalksandstein)
-In Leichtbauwänden
- Unter Oberflächen wie Putz, Fliesen, Tapeten, Parkett, Teppich
-Hinter Holz, Gipskarton
Besondere Messfalle
Ungunstige Umstande konnen das Messergebnis prinzipbedingt beeinträchtigen:
-Mehrschichtige Wandaufbauten
-Leere Kunststoffrohre und Holzbalken in Hohlräumen und Leichtbauwänden
- Objekte, die schräg in der Wand verlaufen
- Feuchtes Wandmaterial
-Metalloberflächen
- Hohlräume in einer Wand; diese können als Objekte angezeigt werden
- Näre zu Geräten, die starke magnetische oder elektramagnetische Felder erzeugen, z.B. Mobilfunkbasisstationen oder Generatoren
Inbetriebnahme
Ein-/Ausschalten
Stellen Sie vor dem Einschalten des Messwerkzeugs sicher, dass der Sensorbereich (9) nicht feucht ist. Reiben Sie das Messwerkzeug gegebenenfalls mit einem Tuch trocken.
War das Messwerkzeug einem starken Temperaturwechsel ausgesetzt, dann lassten Sie es vor dem Einschalten austemperorien.
Einschalten
Zum Einsatz den Messwerkzeugs drücken Sie die Ein-/Aus-Taste (15) oder die Starttaste (11).
Die LED (17) leuchtet grün, und der Startbildschirm erscheint für 4 s im Display (16).
- Wenn Sie mit dem Messwerkzeug[weder eine Messung durchfahren, noch eine Taste drücken, schaltet es sich automatisch nach 5 min wieder aus. Im Menu Einstellungen können Sie diese
10 | Deutsch
Ausschalten
Zum Ausschalten des Messwerkzeugs drucken Sie die Ein/Aus-Taste (15).
-Beim Ausschalten des Messwerkzeugs bleiben alle gewählten Einstellungen in den Menus erhalten.
Signatlon ein-/ausschalten
Mit der Taste Signatlon (13) konnen Sie das Tonsignal ein oder ausschalten. Im Menu Einstellungen konnen Sie im Untermenü
Messvorgang
Schalten Sie das Messwerkzeug ein. Im Display (16) erscheidt der Standard-Anzeigebildschirm.

Setzen Sie das Messwerkzeug auf die Wand auf und beweg- gen Sie es in Fahrrichtung (siehe „Funktionsweise (siehe Bild B)“, Seite 9) über die Wand. Die Messergebnisse werden nach einer Mindestmessstrecke von 10cm im Display (16) angezeigt. Um korrekte Messergebnisse zu erhalten, bewegen Sie das Messwerkzeug vollständig und langsam über das vermutete Objet in der Wand.
Wenn Sie das Messwerkzeug während der Messung von der Wand abheben oder für mehr als 2 Minuten nicht bedienen (Bewegung, Tastendruck), bleibt das letzte Messergebnis im Display erhalten. In der Anzeige des Sensorbereichs (c) erscheidt die Meldung
Bevor Sie in die Wand bohren, sagen oder fräsen, sollen Sie sich noch durch andere Informationsquellen vor Gefahren sichern. Da die Messergebnisse durch Umgebungseinfüsse oder die Wandbeschaffenheit beeinflusst werden können, kann Gefahr bestehen, obwohl die Anzeige kein Objekt im Sensorbereich anziegt (LED (17) leuchtet grün).
Anzeigenelemente (siehe Bild A)
Befindet sich ein Objekt unter dem Sensor, erscheint es im Sensorbereich (c) der Anzeige. Je nach Großne und Tiefe des Objeks ist eine Materialerkennung möglich. Die Objekttie
fe (I) bis zur Obergante des gefundenen Objets wird in der Statuszeile angezeigt.
Hinweis: Sowohl die Anzeige der Objekttiefe (I) als auch die der Materialeigenschaft (m) beziehen sich auf das schwartz darestellte Objekt im Sensor.
Die Anzeige Objektmaterial (m) kann folgende Eigenschaften darstellen:
- magnetisch, z.B. Armierungseisen
- nicht magnetisch, aber metallisch, z.B. Kupferrohr
- nicht metallisch, z.B. Holz oder Kunststoff
- Materialegenschaft unbekannt
Die Anzeige von spannungsfuhrenden Leitungen (n) kann folgende Eigenschaften darstellen:
- spannungsfuhrend
Hinweis: Bei spannungsführenden Objekten wird keine weitere Eigenschaft angezeigt. - nicht eindeutig, ob spannungsfährend oder nicht Hinweis: Dreiphasige Drehstromleitungen werden eventuell nicht als spannungsfährende Leitungen erkannt.
Die Bestimmung der Eigenschaft „spannungsführend“ kann bei hoher relativer Luftfeuchte (>50%) stark eingeschränkt sein.
Lokalisierung der Objekte
Um Objekte zu orten, genugt einomaliges Abfahren der Messstrecke.
Wenn Sie kein Objekt gefunden haben, wiederholen Sie die Bewegung quer zur ursprünglichen Messrichtung (siehe „Funktionsweise (siehe Bild B)“, Seite 9).
Wenn Sie ein gefundenes Objekt genau lokalisieren und markeren wollen, bewegen Sie das Messwerkzeug über die Messstrecke zurück.

Erscheint wie im Beispiel ein Objekt mittig unter der Mittell-nie (k) im Display (16), können Sie an der oberen Markierungshilfe (1) eine grobe Markierung anbringen. Diese Markierung ist allerdings nur dann exakt, wenn es sich um ein genau vertikal verlaufendes Objekt handelt, da sich der Sensorbereich etwas unterhalb der oberen Markierungshilfe befindet.

Zum exakten Anzeichnen des Objaks an der Wand bewegen Sie das Messwerkzeug nach links oder rechts, bis das gefundene Objekt unter einer Außenkante liegt. Wir im Display (16) das gefundene Objekt beispisseweise mittig unter der gestrichelten rechten Linie (g) angezeigt, konnen Sie an der rechten Markierungshilfe (3) exakt anziehnen.
Den Verlauf eines gefundenen Objekt in der Wand konnen Sie feststellen, indem Sie mehrere Messstrecken versetzt nacheinander abfahren (siehe Bild I) (siehe „Beispiele für Messergebnisse", Seite 13). Markieren und verbinden Sie die jeweiligen Messpunkte.
Durch Drucken der Starttaste (11) konnen Sie die Anzeige der gefundenen Objekte jederzeit loschen und eine neue Messung starten.
Wechsel der Betriebsarten
Sie konnen mit den Auswahltasten (10) und (12) zwischen verschiedenen Betriebsarten (Modi) wechseln.
- Drücken Sie kurz die Auswahltaste (10), um die nachste Betriebsart zu wahlen.
- Drücken Sie kurz die Auswahltaste (12), um die vorherige Betriebsart zu wahlen.
Durch die Auswahr der Betriebsarten konnen Sie das Messwerkzeug verschiedene Wandmaterialien anpassen. Die{jeweilige Einstellung ist jederzeit im Anzeigenbereich (h) des Displays zu erkennen.
(voreingestellt)
Die Betriebsart
Die Betriebsart < < Beton Feucht> ist speziell fur Anwendungen in feuchtem Beton geeignet. Es werden Armierungseisen, Kunststoff- und Metallrohre sowie Elektroleitungen angezeigt. Ein Unterschied zwischen spannungsführenden und nicht spannungsführenden Leitungen ist nicht möglich. Die maximale Messtiefe betragt 6cm
Bitte beachten Sie, dass Beton mehrere Monate zum vollständigen Trocknen besteht.
Die Betriebsart < < Beton Spezial> ist speziell fur die Suche von tief liegenden Objekten in Stahlbeton geeignet. Es werden Armierungseisen, Kunststoff- und Metallrohre sowie
Elektrroleitungen angezeigt. Die maximale Messtiefe beträgt 15 cm.
Werden Ihnen zu weitere Objekte angezeigt, kann es sein, dass Sie direkt auf einem Armierungseisen entlang fahren. Versetzen Sie in thisem Fall das Messwerkzeug um eine Zentimeter und probieren Sie es ernut.
Die Betriebsart
Die Betriebsart Trockenbau ist geeignet, um Holzbalken, Metalländer und Elektroleitungen in Trockenbauwänden (Holz, Gipskarton etc.) zu finden. Gefüllte Kunststoffrohrre und Holzbalken werden identisch angezeigt. Leere Kunststoffrohrre werden nicht erkannt. Die maximale Messtiefe beträgt 8 cm.
Die Betriebsart
Die Auffindbarkeit kann bei einer hohen relativen Luftfeuchte (>50%) stark reduziert sein.
Die Betriebsart

Der Scheitelpunkt der Kurve wird im kleinen Maßstab über der Anzeige der Betriebsart (h) in U-Form dargestellt. Es werden eine Objekttiefe und soweit möglich die Materialiegenschaften angezeigt. Die maximale Messtiefe beträgt 15 cm.
Aus der Signalstärke kann nicht auf eine Objekttiefe geschlossen werden.
12 | Deutsch
Wechsel der Anzeigenarten
Hinweis: Ein Wechsel der Anzeigenarten ist in allen Betriebsarten möglich.
Drucken Sie langle die Auswahltaste (10) oder (12), um vom Standard-Anzeigebildschirm in den Meterstabmodus umzuschalten.

Der Meterstabmodus zeigt im Beispiel die gleiche Situation wie in Bild D: drei Eisenstangen in gleichmäßigem Abstand. Im Meterstabmodus kann der Abstand zwischen gefundenen Objektmitten ermittelt werden.
Unter der Anzeige fur die Objekttiefe (I) wird die vom Startpunkt aus zurückgelegte Messstrecke angegeben, im Beispiel 20,1 cm.
Im keinen Maßstab über der Anzeige der Betriebsart (h) werden die gefundenen drei Objekte als Rechte darge-stellt.
Hinweis: Sowohl die Anzeige der Objekttiefe (I) als auch die der Materialeigenschaft (m) beziehen sich auf das schwartz dargestellte Objekt im Sensor.
Um in den Standard-Anzeigebildschirm zurückzugelangen, drücken Sie kurz die Auswahltaste (10) oder (12).
Hinweis: Nur die Anzeige wird umgeschaltet, nicht der Messmodus!
Menu Einstellungen
Um in das Menu Einstellungen zu gelangen, drucken Sie die Setup-Taste (14).
Um das Menu zu verlassen, drücken Sie die Starttaste (11).
Die zu thisem Zeitpunkt gewählten Einstellungen werden übernommen. Der Standard-Anzeigebildschirm für den Messvorgang wird aktiviert.
Navigieren im Menu
Drucken Sie die Setup-Taste (14), um nach unter zu scrol-len.
Drucken Sie die Auswahltasten (10) und (12), um die Werte zu wahlen:
- Mit der Auswahltaste (10) wahlen Sie den rechten bzw. folgenden Wert.
- Mit der Auswahltaste (12) wahren Sie den linken bzw. vorherigen Wert.
Im Menu
Im Menu
Im Menu
Im Menu
Im Menu
Voreingestellt ist
- Beierstimmung stromleitung>ertont ein Tonsignal bei jedem Tastendruck und das Warnsignal fur spannungsführende Leitungen (kurze Tonfolge), wenn das Messwerkzeug eine Stromleitung anziegt.
- Bei der Einstellung
Im Menu
Menu Erweiterte Einstellungen
Um in das Menu Erweiterte Einstellungen zu gelangen, drücken Sie, bei ausgeschalteten Messwerkzeug, gleichzeit die Setup-Taste (14) und die Ein-/Aus-Taste (15).
Um das Menu zu verlassen, drücken Sie die Starttaste (11). Der Standard-Anzeigebildschirm für den Messvorgang wird aktiviert und die Einstellungen werden übernommen.
Navigieren im Menu
Drücken Sie die Setup-Taste (14), um nach unten zu scrollen.
Drucken Sie die Auswahltasten (10) und (12), um die Werte zu wahlen:
-Mit der Auswahltaste (10) wahlen Sie den rechten bzw. folgenden Wert.
-Mit der Auswahltaste (12) wahlen Sie den linken bzw. vorherigen Wert.
Im Menu
Im Menu
Beispiele fur Messergebnisse
Hinweis: In den nachfolgenden Beispielen ist am Messwerkzeug das Tonsignal eingeschaltet.
Je nach Groß und Tiefes des sich unter dem Sensorbereich befindlichen Objaks kann nicht immer zweifelsfrei festgestellt werden, ob diese Objekt spannungsführend ist. In dieSEM Fall erscheint das Symbol in Anzeige (n).
Spannungsführende Leitung (siehe Bild C)
Im Sensorbereich befindet sich ein metallisches, spannungsführendes Objekt, z.B. ein Elektrokabel. Die Objekttiefe beträgt 1,5 cm. Das Messwerkzeug sendet das Warnsignal für spannungsführende Leitungen, sobald das Elektrokabel vom Sensor erkannt wird.
Eisenstange (siehe Bild D)
Im Sensorbereich befindet sich ein magnetisches Objekt, z.B. eine Eisenstange. Links und rechts davon befinden sich
weitere Objekte außerhalb des Sensorbereichs. Die Objektiebetragt 5,5 cm.Das Messwerkzeug sendet ein Tonsignal.
Kupferrohr (siehe Bild E)
Im Sensorbereich befindet sich ein metallisches Objekt, z.B. ein Kupferrohr. Die Objekttiefe beträgt 4 cm. Das Messwerk-zeug sendet ein Tonsignal.
Kunststoff-oder Holzobjekt (siehe Bild F)
Im Sensorbereich befindet sich ein nicht metallisches Objekt. Es handelt sich um ein oberflächennahes Kunststoffoder Holzobjekt. Das Messwerkzeug sendet ein Tonsignal.
Ausgedehnte Fläche (siehe Bild G)
Im Sensorbereich befindet sich eine metallische, ausdehnte Fläche, z.B. eine Metallplatte. Die Objekttiefe beträgt 2 cm. Das Messwerkzeug sendet ein Tonsignal.
Viele unklare Signale (siehe Bilder H-1)
Werden im Standard-Anzeigebildschirm sehr viele Objekte angezeigt, besteht die Wand vermutlich aus ihren Hohlräumen. Wechseln Sie in die Betriebsart
Fehler-Ursachen und Abhilfe
| Fehler Ursache Abhilfe | ||
| Messwerkzeug kann nicht eingeschaltet werden. | Batterien leer Batterien wechseln | |
| Batterien mit falscher Polung ein-gesetzt | Richtige Lage der Batterien prüfen | |
| Messwerkzeug ist eingeschaltet und reagiert nicht. | Batterien hereausnahmen und wieder einsetzen | |
| Messwerkzeug zu warm oder zu kalt | Abwarten, bis der zulässige Temperaturbereich erreicht ist | |
| Displayanzeige: <Rad abgeho-ben> | Rad verliert Wandkontakt. | Starttaste (11) drücken und beim Bewegen des Mess-werkzeugs auf Wandkontakt der unteren beiden Räder achen; bei unebenen Wänden eine)dünne Pappe zwi-schen Räder und Wand legen |
| Displayanzeige: <Zuschnell> | Messwerkzeug mit zu hoher Ge-schwindigkeit bewegt | Starttaste (11) drücken und Messwerkzeug langsam über die Wand bewegen |
| <Temperaturbereich übersritten> | Abwarten, bis der zulässige Temperaturbereich erreicht ist | |
| <Temperaturbereich entsprechenden> | Abwarten, bis der zulässige Temperaturbereich erreicht ist | |
14 | English
Fehler Ursache Abhilfe

Messwerkzeug schaltet automatisch ab. Beseitigen Sie, wenn möglich, die störenden Radiowellen, z.B. WLAN, UMTS, Flugradar, Sendemasten oder Mikrowellen, schalten Sie das Messwerkzeug wieder ein.
Wartung und Service
Wartung und Reinigung
Überprüfen Sie das Messwerkzeug vor jedem Gebrauch. Bei sightbaren Beschädigungen oder losen Teilen im Inneren des Messwerkzeugs ist die sichere Funktion nicht mehr gewährleistet.
Halten Sie das Messwerkzeug stets sauber und trocken, um gut und sichere zu arbeiten.
Tauchen Sie das Messwerkzeug nicht ins Wasser oder andere Flüssigkeiten.
Wischen Sie Verschmutzungen mit einem trockenen, weichen Tuch ab. Verwenden Sie keine Reinigungs- oder Lösemittel.

Achten Sie darauf, dass die Wartungsklappe (7) stets gut verschlossen ist. Die Wartungsklappearfur von einer autorisierten Kundendienstelle fur Bosch-Elektrowerkzeuge geöffnet werden.
Lagern und transportieren Sie das Messwerkzeug nur in der mitgelieferten Schutztasche.
Senden Sie im Reparaturfall das Messwerkzeug in der Schutztasche ein.
Kundendienst und Anwendungsberatung
Der Kundendienst beantwortet ihre Fragen zu Reparatur und Wartung Ihres Produkts sowie zu Ersatzteilen. Explosions-zeichnungen und Informationen zu Ersatzteilen finden Sie auch unter: www.bosch-pt.com
Das Bosch-Anwendungsberatungs-Team hilft Ihnen frembe bei Fragen zu unseren Produkten und deren Zubehor.
www.powertool-portal.de, das Internetportal für Handwerker und Heimwerker.
Geben Sie bei allen Rückfragen und Ersatzteilbestellungenitte unbedingt die 10-stellige Sachnummer laut Typenschild des Produkts an.
Deutschland
Robert Bosch Power Tools GmbH
Servicezentrum Elektrowerkzeuge
Zur Luhne 2
37589 Kalefeld - Willershausen
Unter www.bosch-pt.de konnen Sie online Ersatzteile bestellen oder Reparaturen anmelden.
Kundendienst: Tel.: (0711) 40040460
Fax: (0711) 40040461
E-Mail: Servicezentrum.Elektrowerkzeuge@de.bosch.com
Anwendungsberatung: Tel.: (0711) 4004046
Fax: (0711) 40040462
E-Mail: kundenberatung ew@de.bosch.com
Österreich
Unter www.bosch-pt.at können Sie online Ersatzteile bestellen.
Tel.: (01) 797222010
Fax: (01) 797222011
E-Mail: service.elektrowerkzeuge@at.bosch.com
Schweiz
Unter www.bosch-pt.com/ch/de können Sie online Ersatzteile bestellen.
Tel.: (044) 8471511
Fax: (044) 8471551
E-Mail: Aftersales. Service@de.bosch.com
Luxemburg
Tel.: +32 25880589
Fax:+3225880595
E-Mail: outillage.gereedschap@be.bosch.com
Entsorgung
Messwerkzeuge, Akkus/Batterien, Zubehor und Verpackungen sollen einer umweltgerechten Wiederverwertung zugefuhrt werden.

Werfen Sie Messwerkzeuge und Akkus/Batterien nicht in den Hausmull!
Nur fur EU-Länder:
Gemäß der europäischen Richtlinie 2012/19/EU mussen nicht mehr gebrauchsfähige Messwerkzeuge und gemäß der europäischen Richtlinie 2006/66/EG mussen defekte oder verbrauchte Akkus/Batterien getrennt gesammelt und einer umweltgerechten Wiederverwendung zugeführrt werden.
English
Safety instructions

Folgende sproge forindstillet
Funktionssatt (se bild B)

Indikeringar (se bild A)
Plast-ellertraobjekt(sebildF)
Tel.: +420 519 305700
Fax:+420519305705
E-Mail: servis.naradi@cz.bosch.com
www.bosch.cz
Likvidace
Mérici pristroje, akumulatory/baterie, prisluşenstvi a obaly je tbrea odevzdat k ekologické recyklaci.

Merici pristroje a akumulatory/baterie nevyhazujte do domovniho odpadu!
Pouze pro zeme EU:
Tel.: +40 21 405 7541
Fax:+40212331313
E-Mail: BoschServiceCenter@ro.bosch.com
www.bosch-pt.ro
Moldova
RIALTO-STUDIO S.R.L.
Piata Cantemir 1, etajul 3, Centrul commercial TOPAZ
2069 Chisinau
Tel.: +373 22 840050/840054
Fax: +37322840049
Email: info@rialto.md
Eliminarea
Aparatele de masura, accumulatorii/bateriile, accesoriile si ambalajele trebuie predate la un centru de reciclare.

Nu eliminati aparatele de masura si bateriile impreunau cu deseurile menajere!
Pro Servis NS d.o.o.
Temerinski put 17
21000 Novi Sad
Tel./Fax:+38121419-546
196 | Slovenšcina
E-Mail: office@proservis.rs www.proservis.rs
Bosnia
Elektro-Servis VI. Mehmed Nalić
Dzemala Bijedica bb
71000 Sarajevo
Tel./Fax: +387 33454089
E-Mail: bosch@bih.net.ca
Uklanjanedubreta
Merne alate, akumulatore/baterije, priboripakovanjaretreba reciklrati u skladu sa zaistom zivotne sredine.

Merne alate i akumulatore/baterije nemojte bacati u kuci ni opstad!
Samo za EU-zemlje:
Prema evropskj direktivi 2012/19/EU merni alati koji se vishe ne mogu koristiti, a prema evropskj direktivi 2006/66/ EC akumulatorske baterije/baterije koje su u kvaru ili astrosene moraju se odvojeno sakupjati i ukljuciti u reciklazu koja odgovara zašiti covekove sredine.
Slovenscina
Varnostna opozorila

E-Mail: RBKN-bsc@hr.bosch.com
www.bosch.hr
Bosnia
Elektro-Servis VI. Mehmed Nalic
Dzemala Bijedica bb
71000 Sarajevo
Tel./Fax: +387 33454089
E-Mail: bosch@bih.net.ba
Zbrinjavanje
Mjerne alate, aku-baterije/baterije, pribor i ambala zu treba dovesti na ekoloski prihvatljivo recikliranje.

Mjerne alate i aku-baterije/baterije ne bacajte u kučni otpad!
Samo za zemlje EU:
Sukladno europskoj Direktivi 2012/19/EU mjerni alati koji vishe nisu uporabivi sukladno europskoj Direktivi 2006/66/ EZ neispravne ili astrosene aku-baterije moraju se odvojeno sakupljati i davesti na ekoloski prihvatljivo recikliranje.
Eesti
Ohutusnôuded

Jyssu Jsos Lgui Lgagglua
jbnlluglu gale jg2all jlecll laaio
.du
1111111111111111
wio.(1)jolgogooaaiyabai
pW 20,1:1
yauu yucjgaoa auiu ujce jpc
Jku (h) JsuulI ggi wgo gqg saaII
心
jgo laIg (1) jolla gac jgo siiu:abgalo
gssy jgsjgl (m) sallalolgo
jwwoJy
oiaiai,aaigai jolalwlo
(12)g(10)juiXJJJc oJg
JUJIg g uJg Juaqjagall Jguai:J
Jau
jjbcbawlaaalbaaegloglUgogu
1.A^
(11)
Jw pi abal l q o jial p 11 bai g
EinfachAnleitung