Dtect 150 SV Professional - Detektor BOSCH - Gratis bruksanvisning og manual
Finn enhetens veiledning gratis Dtect 150 SV Professional BOSCH i PDF-format.
Ofte stilte spørsmål - Dtect 150 SV Professional BOSCH
Questions des utilisateurs sur Dtect 150 SV Professional BOSCH
0 question sur cet appareil. Repondez a celles que vous connaissez ou posez la votre.
Poser une nouvelle question sur cet appareil
Last ned instruksjonene for din Detektor i PDF-format gratis! Finn veiledningen din Dtect 150 SV Professional - BOSCH og ta den elektroniske enheten tilbake i hendene. På denne siden er alle dokumenter som er nødvendige for bruken av enheten din publisert. Dtect 150 SV Professional av merket BOSCH.
BRUKSANVISNING Dtect 150 SV Professional BOSCH
Produkt- og ydelsesbeskrivelse
Ved at trykke pa startknappen (11) kan du til enhver tid slette visinngen af de fundne objekter og starte en ny maling.
-Tryk kort pa valgknappen (10) for at vaelge den neste driftsmade.
-Tryk kort pa valgknappen (12) for at vaelge den forrige driftsmade.
Under visineng af objektdybde (I) vises molestrakninger fra startpunktet, i dette eksempel 20,1 cm.
Eksempler på@måleresultater
Vedligeholdelse og service
Vedligeholdelse og rengering
Kundeservice og anvendelsesrådgivning
Byte av visningsssatt
Alle anvisingene mä leses og følges. Hvis mæleverktøyet ikke brukes i samsvar med de foreliggende anvisingene, kan de integrende beskyttelsessinnretningene bli
skadet. TA GODT VARE PÄ ANVISNINGENE.
Reparasjon av maleverktoyet magkun utfores av kvalifisert fagpersonale og kun med originale reservedeler. Paden maten opprettholdes sikkerheten til maleverktoyet.
Ikke arbeid med maleverktoyet i eksplosjonsutsatte omgivelser - der det befinner seg brennbare vasker, gass ell er stov. I maleverktoyet kan det oppsta gnister som kan antenna stov aller damp.
Av tekniske arsaker kan ikke hundre proSENTs sikkerhet garanteres med moleverktoyet. For a utelukke farer bor du derfor alltid rädfore deg med andere informasjonskilder som plantegninger, fotografier fra byggefasan osv. for boring, saging ell er fresing i vegger, tak ell gulv. Miljofaktorer som luftfuktighet, ell nærhet til annet elektrisk utstyr, kan redusere moleverktoyets nøyaktighet. Vegenes eigenskaper og tilstand (f.eks. fuktighet, metallholdige materialier, tapeter med leedeevne, isolasjon, fliser) og antallet, typen, storrelsen pa og plasseringen av objektene kan fore til feilmälinger.
Produktbeskrivelse ogytelsesspesifikasjoner
Se illustrasjonene i begunnelsen av bruksanvisningen.
Forskiftsmessig bruk
Mäleverktøyet er beregnet for sæk etter objekter i vegger, tak og gulv. Avhengig av materialet i og tilstanden til underlaget er det mulig Å registre metalloobjekter, trebjelker, plastrør, ledninger og kabler. Objektdybden pa objektene man finner, bestemmes ut fra overkanten av objektet.
Mäleverktøyet oppfyller grenseverdiene i henhold til EN 302435. Basert på dette ma det avklares om mäleverktøyet kan brukes for eksempel pa sykehus, i
kjernekraftverk og iærheten av flyplasser og basestasjoner for mobilitelefoni.
Måleverktøyet er egnet for bruk innen-og utendørs.
Illustrertekomponenter
Nummereringen av de illustrrente komponentene refererer til bildet av moleverktoyet pa illustrasjonssiden.
(1) Markeringshjelp oppe
(2) Hjul
(3) Markeringshjelp venstre aller houre
(4) Deksel for batterirom
(5) Lås for batteridekSEL
(6) Handtak
(7) Vedlikeholdsdeksel
(8) Serienummer
(9) Sensoromrade
(10) Høyre valgknapp
(11) Startknapp
(12) Venstre valgknapp
(13) Knapp for lydsignal
(14) Oppsettknapp
(15) Av/pa-knapp
(16) Display
(17) LED
(18) Oppbevaringsveske
Visningselementer
(a) Visiting for lydsignal
(b) Batteriindikator
(c) Indikator for sensoromradet
(d) Allerede undersagt omrade
(e) Maleskala for objektdybden
(f) Ennä参加会议。
(g) Ytterkanter, markeres pa markeringshjelden (3) pa venstre eller hore side
(h) Visning av driftsmåte
(i) Svart: objekt funnet i sensorområdet
(i) Grätt: objekt funnet utenfor sensoromrädet
(k)Midtlinje, tilsvarer markeringshjelpen (1)
(1) Visning av objektdybden
(m) Visiting av objektmaterialiet
(n) Visning av spenningsforende ledninger
Tekniske data
| Universaldetector D-TECT 150 SV | |
| Artikelnummer | 3601 K10 008 |
| Målenøyaktighet til midten av objektet aA) | ±5 mm5) |
78|Norsk
Universaldetektor D-tract 150 SV
A) Se figur
| Nøyaktiget for den viste objektdybden bA) | |
| - i tørr betong ±5 mm | B) |
| - i fuktig betong ±10 mm | B) |
| Minsteavstand mellom totilstøtende objekter cA) | 40 mmB) |
| Driftstemperatur -10 °C...+50 °C | |
| Lagringstemperatur -20 °C...+70 °C | |
| Radarføler | |
| - Driftsfrekvensområde 2200-5500 MHz | |
| - Sendeeffekt maks. 0,01 mW | |
| Induktiv sensor | |
| - Driftsfrekvensområde 5,9-6,1 kHz | |
| - Maks. magnetisk felstyrke(ved 10 m) | 72 dBμA/m |
| Maks. brukshøyde overreferansehøyde | 2000 m |
| Relativ luftfuktighet maks. 90 % | |
| Forurensningsgrad i henhold tilIEC 61010-1 | 2C) |
| Batterie 4 × 1,5 VLR6 (AA) | |
| Oppladbare batterier 4 × 1,2 V HR6 (AA) | |
| Driftstid ca. | |
| - Engangsbattery (alkalisk/mangan) | 5 t |
| - Oppladbare batterier(2500 mAh) | 7 t |
| Vekt i samsvar medEPTA-Procedure 01:2014 | 0,65 kg |
| Mål (lengte × bredde × høyde) 220 × 97 × 120 mm | |
| Kapslingsgrad IP 54 (beskyttet mot | støv og vannsprut) |

B) avhengig av objektstørrelsen og -typen samt materialet i og tilstanden til underlaget
C) Det oppstär bare ikke ledende smuss, men det forventes na og da forbigaende ledeevne forarsaket av kondens.
Måleverktøyet identifiseres ved hjelp av serienummeret (8) pa typeskitlet.
Maleresultatet kan bli minre noyaktig og maledybden kan reduseres hvis underlagets tilstand er ungustig.
Ved mottakertesten, der virkningen av en forstyrelse pa maileverktoyet kontrolleres, brukes kriteriet og
kapasitetsnivæt som er fastsatt i ETSI TS 103 361 (V1.1.1), kapittel 9.4.1, med en objektdybde pa d = 60 mm.
Ved testen av immunitet mot forstyrelser brukes fologende kriterium for kapasiteten:
Bestemte forhold (f.ecks. elektrostask utladning ell erpavirkning fra elektromagnetiske felt) kan virke inn pa maleresultatene, aktuelle maleresultater kan gapt og det kan vare nadvendig a nullstille maleverktoyet ved atu batteriene og sette dem inn igjen.
Montering
Sette inn/bytte batterier
Det anbefales Å bruke alkaliske manganbatterier aller oppladbare batterier til maleverktoyet.
Apne dekselet til batterirommet (4) ved a trykke lasen (5) pilretningen og ta av dekselet. Sett inn batteriene.Pass pa riktig polaritet, som angitt i batterirommet.
Batteriindikatoren (b) i statuslinjen oppe i displayet (16)
viser ladenivaretil engangsbatterye ell er de oppladbare batteriene.
For a ta ut engangsbatterye ellre de oppladbare batteriene trykker du pa den bakre enden pa et batteri som vist pa illustrasjonen av dekselet til batterirommet (1.). Den fremre enden av batteriet losner fra batterirommet (2.), sik at det er lett a ta ut batteriet.
Beskytt mAleverktoyet mot fuktighet og direkte sollys.
Måleverktøyet违法犯罪
- Måleverktøyet违法犯罪
- Måleverktøyet违法犯罪
- Måleverktøyet违法犯罪
- Måleverktøyet违法犯罪
- Ikke fest klistremerker erler skilt pa sensoromradyet (9) pa baksiden av moleverktoyet. Spesielt skilt av metall pavirker maleresultatene.
▶ Bruk eller drift av sendeanlegg, som for eksempel WLAN, UMTS, flyradar, sendemaster aller mikrobølger iærhenan kan pärvirke malefunksjorden.
Mäleresultatene kan pāvirkes av bestemte forhold i omgivelsen. Slike forhold er for eksempel nærhen til utstyr som genererer sterke elektriske, magnetiske ellerelektr magnetiske felt, fuktighet, metallholdige byggematerialier, aluminiumslaminerte isolasjonsmaterialer ellere ledende tapeter eller fliser. Det er viktig at du innhenter informasjon och fra andere kilder (f.eks. plantegninger) for du borer, sager ellere freser i vegger, tak ellere gulv.).
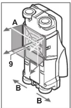
Funksjon (se bilde B)

Med maleverktoyet blir
underlaget i sensoromradyet
(9) kontrollert i
maleretning A til vist
måledybde. Måling er bare
mulig nar maleverktoyet
beveges i kjøreretning B og
med en minste molestrekning
på 10 cm. Beveg alltid
maleverktoyet over veggen
irett linje med lett trykk
slik at hjulene har sikker
veggkontakt. Det som
registeres, er objekter
som skiller seg ut fra
materialiet i veggen. Pá displayet vises objektdybden og hvis mulig objektmaterialiet.
Optimale resultater oppnäs his våstrekningen er minst 40cm og måleverktøyet beveges langsomt over hele stedet som skal undersøkes. Pålitetig detektering av overkantene på objekte som går på tvers av bevegelsesretningen til måleverktøyet avhenger av funksjonen.
Beveg derfor alltid maleverktoyet kryss over omrddet som skal underskees.
Hvis det er flere objekter over hverandre i veggen, vises objektet som ligger naermest overflaten, pa displayet. Visingen av eigenskapene til de funnede objektene pa displayet (16) kan avvike fra de faktiske objektegenskapene. Spesielt kan svart tynne objekter vises som tykkere pa displayet. Storre, cylindriske objekter (for eksempe plast-ller vannr) kan se smalere ut pa displayet enn de er i virkeligheten.
Objekter som kan registreres
- Plastrør (for eksempel plastrør fylt med vann, som gulvarme eller varmerør i vegger, med diameter på minst 10mm , tomrør med diameter på minst 20mm )
-Elektriske ledninger (uavhengig av om de er spenningsforende aller icke)
Trefasede vekselstrømsledninger (for eksempel til stekeovn)
-Lavspenningsledninger (for eksempel dorkloke,telefon)
- Alle typer metallr, -stenger, -bjelker (for eksempel stal, kobber, aluminium)
- Armeringsjern
-Treibelker
-Hulrom
Måling mulig
I betong / armert betong
- I murverk (murstein, porebetong, lettbetong, pimpsteinbetong, kalksandstein)
-Ilettvegger
- Under overflater som murpuss, fliser, tapet, parkett, tepper
-Bak treverk, gipskartong
Spesielle maletifeller
Ugunstige omstendigheter kan ut fra driftsprinsippet pärvirke mäleresultatet negativt:
-Flerlags veggkonstruktjoner
- Tomme plastør og trebjelker i hulrom og lettvegger
- Objektor som går skrått i veggen
-Fuktig veggmaterialie
Metalloverflater
Hulrom i en vegg; disse kan vises som objekter
Apparater i naerheten som genererer kraftige magnetiske.
eller elektromagnetiske felt, f.eks. basestasjoner for
mobilradioer erler generatorer
Igangsetting
Inn-/utkobling
Kontroller før moleverktoyet slas pa at sensoromradet (9) icke er faktig. Gni eventuelt moleverktoyet tort med en klut.
La maleverktoyet akklatiseres for det slas pa hvis det har vaert utsatt for en sterk temperaturendring.
Innkobling
-For a sla pamaileverktoyettrykker du pa av/pa knappen (15)ller startknappen (11).
-Lysdioden (17) lyser gront og startbildet vises pà displayet (16)i fire sekunder.
-Hvis du ikke foretar noen måling eller ikke trykker på=noen knapp på mæleverktøyet, slas det automatisk av igjen etter 5 minutter. I menyen Innstlinger kan du endre dette < Utkoplingstid> (se,"
Utkobling
-For a sla av maleverktoyet trykker du pa av/pa knappen (15).
-Nar maleverktoyet slas av, beholdes alle de valgte innstillingene i menyene.
Slä lydsignal pa/av
Med knappen for lydsignal (13) kan du slá lydsignalet pá erer av. I menyen undermenyen
80|Norsk
Måling
Slā pā máleverktayet. Pá displayet (16) vises standardskjermbildet for visninger.

Sett mäleverktøyet inntl veggen, og beveg det i rulleretningen (se „Funksjon (se bilde B)“, Side 79) over veggen. Måleresultatene vises etter på displayet (16) etter en minste målestrekning på 10 cm. For öppnå riktige måleresultater beveger du langsom t over hele det antatte objektet i veggen.
Hvis du tar maleverktoyet bort fra veggen under malingen erler ici bruker det pa mer enn 2 minutter (bevegelse, knappetrykk), blir det siste maleresultatet stende pa displayet. Pa displayet for sensoromradet (c) vises meldingen
Hvis lysioden (17) lyser rdt, er det et objekt i sensoromradyet. Hvis lysioden (17) lyser gront, er det ikke noe objekt i sensoromradyet. Hvis lysioden (17) blinker rdt, er det et spenningsforende objekt i sensoromradyet.
Fd du borer, sager erler freser i en vegg, bar du utelukke farer ved hjelp av andre informasjonskilder. Ettersom maleresultatene kan pavirkes av forhold i omgvilsene erer tilstanden til veggen, kan det finnes risiko selv om visningen ikke angir noe objekt i sensoromradrdet (lysdioden (17) lyser gront).
Visningselementer (se bilde A)
Hvis det befindner seg et objekt under sensoren, vises dette i sensorområdet (c) pa displayet. Avhengig av objektets størrelse og dybde er materialregistering mulig. Objektdybden (I) til overkanten av det detekterte objektet vises pa statuslinjen.
Merknad: Bäde visingen av objektdybden (l) og visingen av materialegenskapen (m) refererer til objektet som vises i svart i sensoren.
Visningen av objektmaterialie (m) kan angi følgende eigenskaper:
- Magnetik, for eksempel armeringsjern
- Ikke magnetisk, men metallisk, for eksempel kobberrør
- Ikke metallisk, for eksempel treller plast
Ukjent materialegenskap
Merknad: Det vises ingen andre egenskaper i forbindelse med spenningsforende objekter.
Muligheten til Å fastsette egenskapen "spenningsførende" kan vare sterkt begrenset ved høy relativ luftfuktighet (over 50%).
Lokalisering av objektene
For a lokalisere objekter er det tilstrekkelig a rulle over malestrekningen en gang.
Hvis du icike har funnet noe objekt, gjentar du bevegelsen pa tvers av den opprinelige maleretningen (se „Funksjon (se bilde B)”, Side 79).
Hvis du onsker á lokalisere et funnet objekt nøyaktig og markere det, beveger du maleverktoyet tilbake lungs malsestrekningen.

Hvis det vises et objekt midt under middlinjen (k) padisplayet (16) som i eksempelet, kan du sette en grovmarkering pa den ovre markingshjelpen (1). Denne markeringen er imidlertid nayaktig bare hvis det dreier seg om et objekt som gär helt loddrett, ettersom sensorområdet befinner seg lit t under den ovre markingshjelpen.

For noyaktig marking av objektet pa veggen beveger du maleverktayet mot venstre erller horeht hel til det funne de objektet ligger under enytterkant. Hvis for eksempel det funne de objektet vises midt under den stiplede horey linjen (g) pa displayet (16), kan du markere det noyaktig pa den horey markeringshjelpen (3).
Du kan fastsla plasseringen av det funnede objektet i veggen ved a rulle maleverktoyet over omraret flere ganger etter haverandre og fylte litt pa det for haver maling (se bilde I) (se Ekempler pamleresultater", Side 82). Marker de forskjellige malepunktene, og forbind dem med haverandre.
Ved Å trykke på startknappen (11) kan du när som helst slette visningen av de funnede objektene og starte en ny måling.
Skifte driftsmåte
Med valgknappene (10) og (12) kan du veksle mellom de forskjellige driftsmåtene (modusene).
-Trykkortpavalgknappen(10)foravelge den neste driftsmaten.
-Trykkortpavalgknappen(12)foravelge den forrige driftsmaten.
Gjennom valg av forskjellige driftsmater kan du tilpasse maleverktayet etter ulike veggmaterialer. Den gjeldende innstillingen star alltid finnes i visningsomraret (h) pa displayet.
(forhändsinnstilt)
Driftsmaten
Driftsmåten
Vær oppmerksom pa at betong trenger flere maneder for a tørke helt.
Driftsmaten
Hvis for mange objekter vises, kan ditte skyldes at du foorer maleverktayet lungs et armeringsjern. Flytt i sa fall maleverktayet noen centimeter og prov pa nytt.
Driftsmåten
Driftsmåten
Driftsmåten
Detekteringseven kan vare sterkt redusert ved hoy relativ luftfuktiget (>50%)
Driftsmåten

Kurvens toppunkt vises i U-form i liters molestokk over visningen av driftsmåten (h). En objektdybde og hvis mulig materialegenskaper vises. Den maksimale måledybden er 15 cm.
Det kan ikke trekkes konklusjoner om objektdybden ut fra signalstyrken.
Endring av visningsmodus
Merknad: Det er mulig a veksl melom de forskjellige visningstypene i alle driftsmatene.
Trykk pa valgknappen (10) aller (12) for a byte fra standardvisingen til meterstokkmodus.

Meterstokkmodus viser i eksempelet den samme situasjonen som pa bilde D: tre jernstenger med jev n avstand. I meterstokkmodus kan avstanden mellom funnede objektmidpunkt males.
Under visinengen av objektdybden (I) angis den tilbakelagte malestrekningen fra startpunktet, for eksempel 20,1 cm. I liters molestokk over visinengen av driftsmate (h) vises de tre funnede objektene som firkanter.
82|Norsk
Merknad: Bäde visingen av objektdybden (I) og visingen av materialegenskapen (m) refererer til objektet som vises i svart i sensoren.
For a gà tilbake til standardvisningsbildet trykker du kort pa valgknappen (10) eller (12).
For a ga ut av meneny trykker du pa startknappen (11). Innstillingene som er valgt pa dette tidspunktet,brukes. Standardvisningsbildet for malingen aktiveres.
Navigere imenyen
Trykkpoppsettkappen(14)forarulenedover.
Trykk pa valgknappene (10) og (12) for a velge verdiene:
Med valgknappen (10) velger du den hoyre aller folgenden verdien.
Med valgknappen (12) velger du den venstre aller forrige verdien.
Imenyen <Sprak> kan du endre menyspraket. <English> er forhandsinnstit.
Imeny< Utkoplingstid> kan du stille inn bestemte tidsintervaller for automatisk utkobling av maleverktoyet hvis det icke foretas noen malinger erll innstlinger. Forhandsinstillingen er < 5min>
Imeny< Lysevarighet> kan du stille inn tidsinterval for lys pa displayet (16). Forhandsinstillingen er <30 sek>.
Imenyen< Lysstyrke> kan du stille inn lysstyrken til displaylyset. Forhandsinstillingen er
Imenyen < Lydsignaler> kan du stille inn när mAleverktoyet skal avgi et lydsignal, forutsatt at du icke har slatt av signalet med knappen for lydsignal (13).
For a ga ut av menyen trykker du pa startknappen (11). Standardvisningsbildet for malingen aktiveres, og innstillingene brukes.
Navigereimenyen
Trykk pa oppsettkappen (14) for a rulle nedover.
Trykk pa valgknappene (10) og (12) for a velge verdiene:
- Med valgknappen (10) velger du den hoyre aller folgenden verdien.
Med valgknappen (12) velger du den venstre aller forrige verdien.
Imenyen Apparatinformasjoner>vises informjasjon om maleverktayet, for eksempel om
Imenyen < Gjenoppprett innstillingene> kan du gjenoppprette innstillingene fra fabrikk.
Eksempler på@måleresultater
Merknad: I eksemplene nedenfor er lydsignalet slatt pa pa maileverktoyet.
Avhengig av størrelsen pa og dybden til objektet som befinner seg under sensoromradet kan det ikke alltid fastslas entydig om objektet er spenningsførende. I dette tilfellet vises symbolet i visningen (n).
Spenningsforende ledning (se bilde C)
I sensoromradet befinder det seg et metallisk, spenningsforende objekt, f.eks. en elektrisk kabel.
Objektdybden er 1,5 cm. Mäleverktøyet sender varselsignalet for spenningsførende ledninger straks den elektriske kabelen er registrint av sensoren.
Jernstang (se bilde D)
I sensoromrdet befindner det seg et magnetisk objekt, f.eks. en jernstang.Til venstre og horey for ditte befindner det seg andre objekter utenfor sensoromrdet. Objektdybden er 5,5 cm.Maleverktoyet sender et lydsignal.
Kobberrr (se bilde E)
I sensoromradet befindner det seg et metallisk objekt, f.eks. et kobberrr. Objektdybden er 4 cm. Måleverktøyet sender et lydsignal.
Plast-ller treobjekt (se bilde F)
Det er et-ieke-metalholdig objekt i sensoromraret. Dette er et objekt i plast eller tre som befinner seg nær overflaten. Maleverktoyet avgir et lydsignal.
Utstrakt flate (se bilde G)
I sensoromradet befinden det seg en metallisk, utstrakt flate, f.eks. en metallplate. Objektdybden er 2 cm. Måleverktøyet sender et lydsignal.
Mange uklare signaler (se bilderr H-1)
Hvis det vises svert mange objekter pa skjermbildet for standardvising, bestar veggen antakelig av mange hulrom. Skift til driftsmaten
hulrommene. Hvis det fremdeles vises for mange objekter, ma du foreta flere malinger i forskjellige hoyder og markere de viste objektene pa veggen. Markeringer i forskjigg hoyder er en indikasjon pa hulrom, markeringer pa linje tyder derimot pa et objekt.
Feil -Arskag og løsning
Feil Årsak Løsning
| Måleverktøyet kan ikke slås på. Tomme batterier Bytte batterier | ||
| Batterier satt inn i feil retning Kontroller at batteriene er plassert riktig vei | ||
| Måleverktøyet er/slätt på, men reagerer ikke. | Ta ut batteriene, ogsett deminn igjen | |
| Måleverktøyet er for varmt eller for kaldt | Vent til verktøyet har tillatt temperatur | |
| Displayvising: <Hjul øftet opp> | Hjul mister kontakten med veggen. | Trykk på startknappen (11), og kontROLLER at de to nedre hjulene har kontakt med veggen;när måleverktøyet beveges. Legg en tynn pappbit mellom hjulene og veggen,hvis veggen er ujevn |
| Displayvising: <For hurtig> | Måleverktøyet har blitt beveget med for høy hastighet | Trykk på startknappen (11), og beveg måleverktøyet langsomt over veggen |
| <Temperaturområde overskredet> | Vent til verktøyet har tillatt temperatur | |
| <Temperaturområde underskredet> | Vent til verktøyet har tillatt temperatur | |
| <Støy pga. Radiobølg> | Måleverktøyet kopies automatisk ut. Fjern om mulig radioistøykildene, for eksempel WLAN, UMTS, flyradar, sendemaster eller mikrobølgser, og slå på måleverktøyet igjen. | |
Service og vedlikehold
Vedlikehold og rengjøring
Kontroller maleverktayet hver gang du skal bruke det.
Ved synlige skader aller lose deler innate i maleverktoyet er sikker funksjon ikke longer garantert.
For at maleverktayet skal fungere effektiv og sikkert, ma du sorge for at det alltid er rent og tort.
Mäleverktøyet ma'ikke senkes ned i vann erler andre væsker. Tørk bort skitt med en tørr, myk klut. Bruk ikke rengjøringsell erlsemidler.

Pass på vedlikeholdsdekselet (7) alltid er ordentlig lukket. Vedlikeholdsdekselet maybe apnes av autoriserte serviceverksteder for Bosch elektroverktøy.
Lagre og transporter malverktayet bare i beskyteltsesvesken som fulgte med.
Send inn maleverktoyet i beskyttelsesvesken ved behov for reparasjon.
Kundeservice og kundeveiledning
Kundeservice hjelper deg ved sporsmal om reparasjon og vedlikehold av produktet ditt og resedelene. Du finner ogsa sprengskisser og informasjon om resedeler pa
www.bosch-pt.com
Bosch kundeveilederteam hjelper deg gjerne hvis du har sporsmal om vare Produkter og tilbehør.
Mäleverktöy, batterier, tilbehör og emballasje ma leveres inn til miljøvennlig gjenvinning.

Måleverktøy og oppladbare batterier/ engangsbattery违法犯罪.
Bare for land i EU:
Iht. det europeiske direktivet 2012/19/EU om brukt elektrisk utstyr og iht. det europeiske direktivet 2006/66/ EC ma defekte eller bruktte batterier / oppladbare batterier samles adskilt og leveres inn for miljøvennlig resirkulering.
Suomi
Turvallisuusohjeet

Aev cai aqec, av npoketai yia nAektpofo p noavtkievo
YnodEg: Oiywoyi Tpiapaoikou peuatoc evexoevwc dev ayawwpovraWc nKtpoopoi aywoi.
EnkelManual