PC4 - Spajalica STEINEL - Besplatni korisnički priručnik
Pronađite besplatno priručnik za uređaj PC4 STEINEL u PDF formatu.
Preuzmite upute za vaš Spajalica u PDF formatu besplatno! Pronađite svoj priručnik PC4 - STEINEL i uzmite svoju elektroničku napravu natrag u ruke. Na ovoj stranici objavljeni su svi dokumenti potrebni za korištenje vaše naprave. PC4 marke STEINEL.
KORISNIČKI PRIRUČNIK PC4 STEINEL
A Priključki za tipke
B DALI-2-vhod
4. Elektrichi priključek
Vezni načrti
4.1



- Zašićeno autorskim pravima. Pretisak, Čak i djelomičan, dopušten je samo uz naše odobrenje.
- Zadržavamo pravo na izmjene koje služe tehnickom napretku.

Upozorenje na opasnosti!

Upozorenje na opasnosti od el. struje!
2. Opé sigurnosne napomene

- Pažljivo pročitajte upute.
- Pridržavajte se sigurnosnih napomena.
-
Čuvajte upute na pristupačnom mjectu.
-
Rad s elektricnom strujom moze dovesti do opasnih situacija. Dodirivanje dijelova koji provode el. struju moze uzrokovati elektrici nok, opekotine ili smrt.
- Rad na naponu mreže dopušten je samo kvalificiranom osoblju.
- Potrebno je pridržavati se državnih propisa za instalaciju i uvjeta priključivanja (npr. DE: VDE 0100, AT: ÖVE-ÖNORM E8001-1, CH: SEV 1000).
- Koristite samo originalne rezervne dijelove.
- Popravke smiju obavljati samo specijalizirane radionice.
3. Opis ureðaja
Namjenska uporaba
- Sučelje za standardne instalacijski tipke.
- Prikladno za ugradnju u podžbuknu instalacijski kutijusminimalnom dubinom od 60 mm.
Nenamjenska uporaba
- Prikljuci na sprežniku za tipke nisu prikladni za napon strujne mreze.
Princip fungcioniranja
- Sprežnik za tipke integrira dodatne tipke u DALI svjetlosni sustav.
- Na svaki sprežnik za tipke mogu se priključiti do Četiri standardne instalacije tipke.
- Sprežnik za tipke proslježuje signale preko DALI-ja aplikacijskom kontroleru (APC) / upravljačkom urežaju.
- Funkcija tipki poŽelji se moze programirati prilikom pušanja u rad.
Sadržaj isporuke

3.1

1x

1x
- 1 sprežnik za tipke
- 1 sigurnosno tehnički list
- 1 uputa za brzoPokretanje
HR
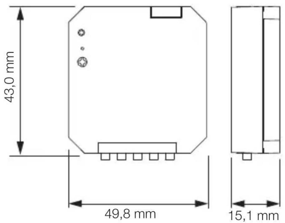
Dimenzije proizvoda

3.2
Pregled uredaja
3.3

A Priključci tipki
B Ulaz DALI 2
HR
4. Elektrichi priključak
Sheme priključivanja
4.1



- Isključiti struju i prekinuti naponsko napajanje.
- Ispitivačem napona provjeriti beznaponsko stanje.
- Provjeriti je li naponsko napajanje ostalo prekinuto.
Opasnost od nastanka materijalnih steta!
Slučajna zamjena priključnih kabela moze uzrokovati kratki spoj.
Identificirati priključne kabele.
- Isspravo spojiti priključne kabele.
Priprema montaže
- Provjeriti sve sastavne dijelove na oštećenja. U slučaju oštećenja ne koristiti urežaj.
- Upoznajte se sa situacijom u vezi s montažom i pripadajućom dokumentacijem.
- Odaberite prikladno mjesto za montažu
-koje je stabilno
-koje se ne nalazi u područjima s opasnošću od eksplozije
-koje se ne nalazi na lako zapaljivim povrsinama
5.1

- Pripretite potreban alat i materijal: -odvijač
Koraci montaže
Primjer primjene: 1 tipka
5.2



- Provjerite je li isključeno naponsko napajanje.
Strujni vod prikljucite na stezaljke prema shemi priključivanja.
→,4. Elektricni priključak"
Primjer primjene: 2 tipke

5.3

- Provjerite je li isključeno naponsko napajanje.
- Strujni vod prikljucite na stezaljke prema shemi priključivanja.
→,4. Elektricni priključak"
5.4

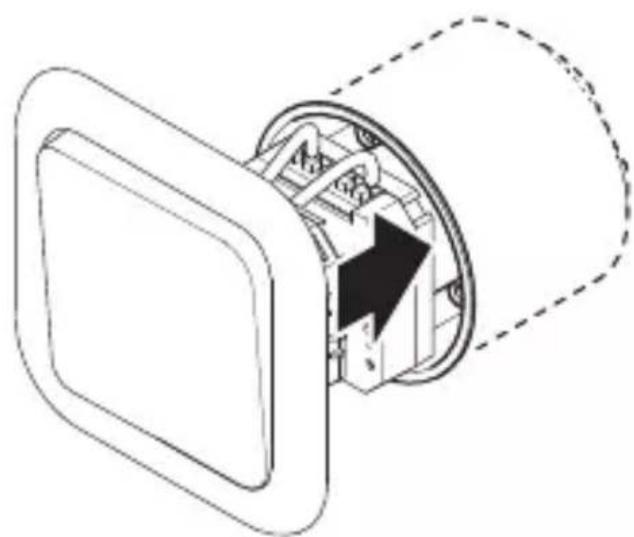
- Sprežnik za tipke stavite u kutiju.
- Namestite tipku na kutiju.
5.5


Ukljucite strujno napajanje.
HR
6. Čišćenje i njega
Zahtijevanje jamstvenog prava:
Ako Želite reklamirati svoj proizvod, posaljite cjelovit proizvod s originalnim računom koji mora sadržavati podatke o datumu kupnje i naziv proizvoda, oslobodeno troškova prijevoza, Vašem trgovcu ili izravno na našu adresu, Daljinskо upravljanje d.o.o., Bedricha Smetane 10, HR-10000 Zagreb. Stoga Vam preporucujemo da pažljivo sačuvate račun do isteka jamstvenog roka. Daljinskio upravljanje d.o.o. ne preuzima jamstvo za transportne troškove i rizike u okviru povratne posiljke.
Informacione o zahtijevanju prava u slucaju jamstva dobit cete na naosj pocetnoj stranici www.daljinski-upravljanje.hr
Ako imate slučaj jamstva ili pitanja u vezi Vaseg proizvoda, nazovite nas na dežurni servisni Telefon +385 (1) 388 66 77 ili 388 02 47 u vremenu od ponedjeljka do petka od 08:00 do 16:00 sati ili nas kontaktirajte na e-mail adresu: daljinski-upravljanje@inet.hr.
5 GODINA PROIZVODACA JAMSTVA
10. Tehnički podaci
- Dimenzije (V × Š × D): 49,8 × 43,0 × 15,1 mm
- Područje napona: 9,5 VDC -22,5 VDC (sukladno IEC62368-101)
Tip. potrošnja struje DALI (pri 16,5 V): 2,7 mA - Maks. potrošnja struje DALI (struja uključivanja pri 22,5 V): 9 mA
- DALI 2 adrese: 1
- Unos pomócu: bespotencijalne tipke / prekidača
Broj ulaza: 4 - Oznake ulaznih stezaljki: K1, K2, K3, K4
- Maks. duljina voda: 50 m
- Maks. temperatura kuciša: 75 °C
- Klasa zašite: II. pri namjenskoj uporabi
- IP vrsta zašite: IP 20
- Temperature: -20 °C do +50 °C
11. Uklanjanje smetnji
Ure'daj nema napon.
Ukljucite osigurac.
Zamijenite neispravan osigurač.
- Prekinut je vod.
- Provjerite vod ispitivačem napona.
- Kratki spoj u mrežnom vodu.
- Provjerite priključke.
- Eventualno postojeca mrežna sklopka je isključena.
Uključite mrežnu sklopek.
Notice-Facile