PC4 - Tacker STEINEL - Kostenlose Bedienungsanleitung
Finden Sie kostenlos die Bedienungsanleitung des Geräts PC4 STEINEL als PDF.
Laden Sie die Anleitung für Ihr Tacker kostenlos im PDF-Format! Finden Sie Ihr Handbuch PC4 - STEINEL und nehmen Sie Ihr elektronisches Gerät wieder in die Hand. Auf dieser Seite sind alle Dokumente veröffentlicht, die für die Verwendung Ihres Geräts notwendig sind. PC4 von der Marke STEINEL.
BEDIENUNGSANLEITUNG PC4 STEINEL
- Zu diesen Dokument 3
- Allgemeine Sicherheitshinweise 3
- Gerätebeschreibung 4
- Elektrischer Anschluss 8
- Montage 9
- Reinigung und Pflege 14
- Entsorgung 14
- Konformität 14
- Herstellergarantie 15
- Technische Daten 18
- Störungsbehebung 19
1. Zu diesen Dokument
- Urheberrechtlich geschützt. Nachdruck, auch auszugsweise, nur mit unserer Genehmigung.
- Änderungen, die dem technischen Fortschriftdienen, vorbehalten.

Warning vor Gefahren!

Warning vor Gefahren durch Strom!
2. Allgemeine Sicherheitseinweise

Gefahr durch Nichtbeachtung der Gebrauchsanleitung!
These Anleitungs enthalt wichtige Informationen für den sicheren Umgang mit dem Gerät. Auf mögliche Gefahren wird besonderss fingewiesen. Die Nichtbeachtung kann zu Tod oder schweren Verletzungen führen.
Anleitung sorgfältiglesen.
- Sicherheitshinweise befolgen.
- Zugänglich aufbewahren.
- Der Umgang mit elektrischem Strom kann zu gefährlichen Situationen führen. Die Berührung von strom führenden Teilen kann zu elektrischem Schock, Verbrennungen oder Tod führen.
- Die Arbeit an der Netzspannung ist nur durch qualifiziertes Fachpersonal zulässig.
- Landesübliche Installationsvorschriften und Anschlussbedingungen sind zu beachten (z. B. D: VDE 0100, A: ÖVE-ÖNORM E8001-1, CH: SEV 1000).
-Nur Original-Ersatzteile verwenden. - Reparaturen sind nur durch Fachbetriebe zulässig.
3. Gerätebeschreibung
Bestimmungsgemäßer Gebrauch
- Schnittstelle für handelsübliche Installationstaster.
- Geeignet für den Einbau in eine Unterputzdose mit einer Mindesttiefe von 60 mm.
Nicht bestimmungsgemäßer Gebrauch
- Die Anschlüsse an dem Tasterkoppler sind nicht für Netzspannung geeignet.
Funktsprinzip
- Der Tasterkoppler integriert zusätzliche Taster in ein DALI-Lichtsystem.
- Es können bis zu vier handelsübliche Installationstaster an jeder Tasterkoppler angeschlossen werden.
- Der Tasterkoppler gibt die Signale über DALI an den Application Controller (APC) / das Steuergerät weiter.
Die Funktion der Taster ist bei der Inbetriebnahme frei programmierbar.
Lieferumfang
3.1


1x

1x
- 1 Tasterkoppler
-1 Sicherheitsdatenblatt - 1 Quick-Start
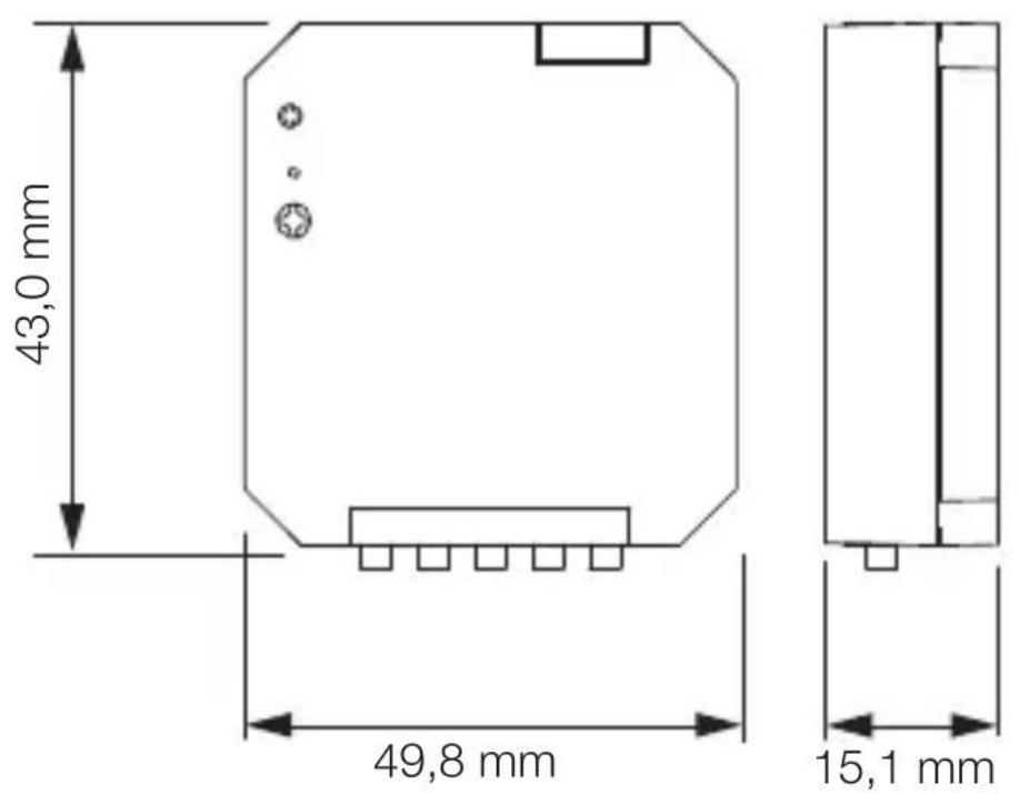
Produktmaße

3.2
Geräteübersicht
3.3

A Anschlüsse Taster
B DALI-2-Eingang
4. Elektrischer Anschluss
Schaltpläne
4.1



Die Netzzuleitung besteht aus einem mehradrigen Kabel:
L = Phase (meistens schwarz, braun oder grau)
N = Neutralleiter (meistens blau)
DA+ = Anschluss an den DALI-BUS ( braun)
DA- = AnschlussandenDALI-BUS (braun)
Kanäle / Versorgung Taster:
K1 = Kanal 1
K2 = Kanal 2
K3 = Kanal 3
K4 = Kanal 4
COM = Versorgung Taster
Tasterkabel
- Maximal 50 ~m lang.
- Müssen in einer separaten kunststoffmantelten Leitung verlegt werden.
5. Montage

Gefahr durch elektrischen Strom!
Die Berührung von stromführenden Teilen kann zu elektrischem Schock, Verbrennungen oder Tod führen.
- Strom abschalten und Spannungs zufuhr unterbrechen.
- Spannungsfreiheit mit Spannungs prüfer kontrollieren.
- Sicherstellen, dass die Spannungs zufuhr unterbrochen bleibt.
Gefahr von Sachschäden!
Ein Vertauschen der Anschlussleitungen kann zu Kurzschluss führen.
Anschlussleitungen identifizieren.
- Anschlussleitungen korrekt verbinden.
Montagevorbereitung
- Alle Bauteile auf Beschädigung prufen. Bei Schäden das Gerät nicht in Betriebnehmen.
- Machen Sie sich mit der Montagesituation und den zugehörigen Dokumenten vertraut.
Geeigneten Montageort auswahlen.
-Erschütterungsfrei.
-Nicht in explosionsgeführdeten Bereichen.
-Nicht auf leicht entflammbaren Oberflächen.
5.1

- Stellen Sie benöttiges Werkzeug und Material zusammen:
-Schraubendreher.
Montageschritte
Anwendungsbeispel: 1 Taster
5.2



- Sicherstellen, dass die Spannungs zufuhr abgeschaltet ist.
- Netzzuleitung laut Schaltplan anschließen. ,4. Elektrischer Anschluss
Anwendungsbeispel: 2 Taster

5.3



- Sicherstellen, dass die Spannungs zufuhr abgeschaltet ist.
- Netzzuleitung laut Schaltplan anschließen.
,4 .Elektrischer Anschluss
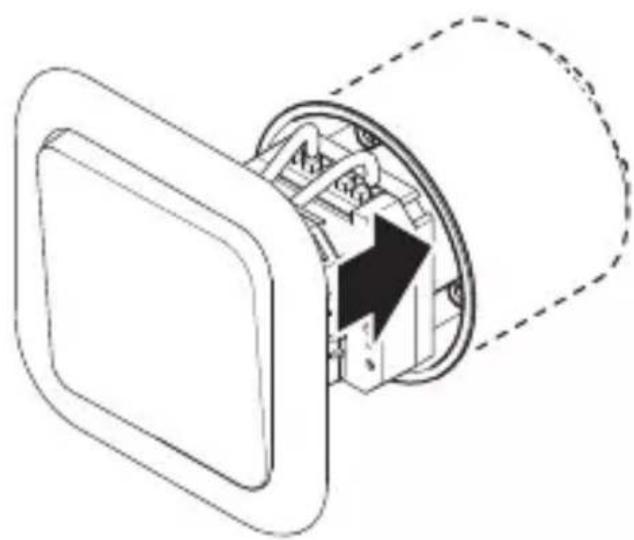
5.4

- Tasterkoppler in die Dose einsetzen.
- Taster auf die Dose aufsetzen.
5.5


- Stromversorgung einschalten.
6. Reinigung und Pflege
Das Gerät ist wartungsfrei.

Gefahr durch elektrischen Strom!
Der Kontakt von Wasser mit stromfuhrenden Teilen kann zu elektrischem Schock, Verbrennungen oder Tod führen.
- Gerät nur im trockenen Zustand reinigen.
7. Entsorgung
Elektrogeräte, Batterien, Zubehör und Verpackungen müssen einer umweltgerechten Wiederverwertung zugeführrt werden.

Werfen Sie Elektrogeräte und Batteriennicht in den Hausmüll!
Nur für EU-Länder:
Gemäß der geltenden Europäischen Richtlinie über Elektro- und Elektronik-Altgeräte und ihrer Umsetzung in nationales Recht mussen nicht mehr gebrauchsfähige Elektrogeräte und Batterien getrennt gesammelt und einer umweltgerechten Wiederverwertung zugeführrt werden.
8. Konformität
Hiermit erklärt die STEINEL GmbH, dass der Funkanlagen-type Tasterkoppler PC4-DALI-2 2014/53/EU entspricht. Der vollständige Text der EU-Konformitätserklärung ist unter der folgenden Internetadresse verfügbar: www.steinel.de
9. Herstelligarantine
Herstellergarantie der STEINEL GmbH, Dieselstraße 80-84, 33442 Herzebrock-Clarholz
Alle STEINEL-Produkte erfüllen hochste Qualitätsansprüche. Aus thisem Grund leisten wir als Hersteller Ihnen als KundeigeriaeineGarantie gemaB den nachstehenden Bedingungen:
Die Garantie umfasst die Freiheit von Mängeln, die nachweislich auf einem Material- oder Herstellungsfehler beruhen und uns unverzüglich nach Feststellung und innerhalb der Garantiezeit gemeldet werden. Die Garantie erstreckt sich auf sãmtliche STEINEL Professional-Produkte, die in Deutschland gekauft und verwendet werden.
Unsere Garantieleistungen fur Verbraucher
Die nachstehenden Regelungen gelten für Verbraucher. Verbraucher ist jeder natürliche Person, die bei Abschluss des Kaufs weder in Ausübung ihrer gewerblichen noch ihrer selbständigen beruflichen Tätigkeit handelt.
Sie haben die Wahl, ob wir die Garantieleistung durch kostenlose Reparatur, kostenlosen Austausch (ggf. durch ein gleich- oder höherwertiges Nachfolgemodell) oder Erstellung einer Gutschrift leisten.
Die Garantiezeit für Ihr erworbenes STEINEL Professional-Produkt beträgt bei Sensoren, Strahlern, Außen- und Innenleuchten 5 Jahre jeweils ab Kaufdatum des Produkts.
Wir tragen die Transportkosten, jedoch nicht die Transportrisiken der Rücksendung.
Unsere Garantieleistungen für Unternehmer
Die nachstehenden Regelungen gesten für Unternehmer. Unternehmer ist eine natürliche oder juristische Person oder eine rechtsfähige Personengesellschaft ist, die bei Abschluss des Kaufes in Ausübung ihrer gewerblichen oder selbständigen beruflichen Tätigkeit handelt.
Wir haben die Wahl, ob wir die Garantieleistung durch kostenlose Behebung der Mängel, kostenlosten Austausch (ggf. durch ein gleich- oder hoherwertiges Nachfolgemodell) oder Erstellung einer Gutschrift leisten.
Die Garantiezeit für Ihr erworbenes STEINEL Professional-Produkt beträgt bei Sensoren, Strahlern, Außen- und Innenleuchten 5 Jahre jeweils ab Kaufdatum des Produkts.
Im Rahmen der Garantieleistung tragen wir nicht ihre zum Zwecke der Nacherfüllung erforderlichen Aufwendungen und nicht ihre Aufwendungen für den Ausbau des mangelhaften Produkts und den Einbau eines Austauschprodukts.
Gesetzliche Mängelrechte, Unentgeltlichkeit
Die hier beschriebenen Leistungen gelten zusammen zu den gesetzlichen Gewährleistungsansprüchen – einschließlich besonderer Schutzbestimmungen für Verbraucher – und beschränken oder ersetzen diese nicht. Die Inanspruchnahme ihrer gesetzlichen Rechte bei Mängeln ist unentgeltlich.
Ausnahmen von der Garantie
Ausdrücklich ausgenommen von dieser Garantie sind alle auswechselbaren Leuchtmittel.
Darüber hinaus ist die Garantie ausgeschlossen:
- bei einem gebrauchsbedingten oder sonstigen natürlichen Verschleib von Produktteilen oder Mängeln am STEINEL Professional-Produkt, die auf gebrauchsbedingtem oder sonstigem natürlichen Verschleib zugruckzuführen sind,
- bei nicht bestimmungs- oder unsachgemäßem Gebrauch des Produkts oder Missachtung der Bedienungshinweise,
- wenn An- und Umbauten bzw. sonstige Modifikationen an dem Produkt eigenmächtig vorgenommen wurden oder Mängel auf die Verwendung von Zubehör-, Ergänzungs- oder Ersatzteilen zurückzuführn sind, die keine STEINEL-Originalteile sind,
-
wenn Wartung und Pflege der Produkte nicht entsprechend der Bedienungsanleitung erfolgt sind,
-
wenn Anbau- und Installation nicht gemäß den Installationsvorschriften von STEINEL ausgeführrt wurden,
-
bei Transportschäden oder -verlusten.
GeltungdeutschenRechts
Es gilt deutsches Recht unter Ausschluss des Übereinkommens der Vereinten Nationen über Verträge über den internationalen Warenkauf (CISG).
Geltendmachung
Wenn Sie die Garantie in Anspruchnehmen wollen, senden Sie Ihr Produktitte vollständig mit dem Original-Kaufbeleg, der die Angabe des Kaufdatumss und der Produktbezeichnung enthalten muss, an ihren Handler oder direkt an uns, die STEINEL GmbH - Reklamationsab-teilung-, Dieselstraße 80-84, 33442 Herzebrock-Clarholz (AT: STEINEL Austria GmbH - Hirschstettnerstraße 19/G/1/1, AT-1220 Wien, CH: PUAG AG, Oberebenestrasse 51, CH-5620 Bremgarten). Wir empfehlen Ihnen dazu, ihren Kaufbeleg bis zum Ablauf der Garantiezeit sorgfältig aufzubewahren.
10. Technische Daten
- Abmessungen (H × B × T): 49,8 × 43,0 × 15,1 mm
- Spannungsbereich: 9,5 VDC-22,5 VDC (gemäß IEC62368-101)
- Typ. Stromaufnahme DALI (bei 16,5 V): 2,7 mA
- Max. Stromaufnahme DALI (Einschaltstrom bei 22,5 V): 9 mA
DALI-2 Adressen: 1 - Eingabe über: Potentialfreier Taster/Schalter
- Anzahl der Eingänge: 4
- Kennzeichnung der Eingangsklemmen: K1, K2, K3, K4
- Max. Leitungslänge: 50 m
- Max. Gehäusetemperatur: 75 °C
- Schutzklasse: II. bei bestimmungsgemäß Verwendung
- IP-Schutzart: IP 20
- Umgebungstemperatur: -20 °C bis +50 °C
11. Störungsbehebung
Gerät ohne Spannung.
-
Sicherung nicht eingeschaltet oder defekt.
-
Sicherung einschalten.
Defekte Sicherung austauschen. -
Leitung unterbrochen.
- Leitung mit Spannungssprüfer überprüfen.
- Kurzschluss in der Netzzuleitung.
Anschlüsse überprüfen. - Eventuell vorhandener Netzschalter aus.
- Netzschalter einschalten.
GB
Contents
3. Description de l'ordinateil
Utilisation conforme aux prescriptions
10. Technische gegevens
Nedanstäende bestammelser gäller für foretagare.
- Sikringen/DD:innkoblet/defekt.
Koble inn sikringen.
- Skift ut defekt sikring.
Tootja garantii STEINEL GmbH, Dieselstraße 80-84, DE-33442 Herzebrock-Clarholz, Saksamaa
Gamintojo garantija STEINEL GmbH, Dieselstraße 80-84, DE-33442 Herzebrock-Clarholz, Vokietija
制造商保修 STEINEL GmbH, Dieselstrasse 80-84,

110086317 10/2023 Technische Änderungen vorbehalten. / Subject to technical modification without notice.
Notice-Facile