PC4 - 订书机 STEINEL - 免费用户手册
免费查找设备手册 PC4 STEINEL PDF格式.
下载您的设备说明 订书机 免费PDF格式!查找您的手册 PC4 - STEINEL 并重新掌握您的电子设备。本页发布了使用您的设备所需的所有文档。 PC4 品牌 STEINEL.
用户手册 PC4 STEINEL
- 关于本文件 399
- 一般安全性提示 399
- 设备说明 400
- 电气连接 404
- 安装 405
- 清洁与保养 410
- 废弃物处理 410
- 一致性 410
- 制造商担保 411
- 技术参数 412
- 故障排除 413
1. 关于本文件
- 版权所有。未经我方批准禁止翻印或摘录。
- 保留技术更改的权利。

危险警示!

警告电流危险!
2. 一般安全性提示

不遵守使用说明书会发生危险!
本说明书中包含安全使用设备的重要信息。其中特别指出潜在的风险。不遵守使用说明可导致死亡或严重的人身伤害。
- 请仔细阅读使用说明。
·遵守安全提示。 -
存放在随时可用的位置。
-
处理电流时可能造成危险情况!如果触碰到带电的零部件,可能会遭受电击,导致烧伤或死亡。
- 只允许具备相关资质的专业人员对电源电压进行操作。
- 请务必遵守各个国家的安装规定和接线条件(比如,
德国:VDE0100;奥地利:OEVE-OENORM
E8001-1;瑞士:SEV 1000)。
- 只能使用原装备件。
- 只允许专业机构进行维修。
3. 设备说明
按规定使用
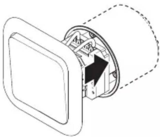
- 标准安装按钮的接口。
- 适用于安装到深度至少为 60mm 的暗线插座中。
违规使用
- 按钮耦合器上的接口不适合连接电网电源。
工作原理
- 该按钮耦合器将额外的按钮集成到DALI照明系统中。
- 每个按钮耦合器最多可以连接八个标准安装按钮。
- 该按钮耦合器通过DALI将信号转发给应用程序控制器(APC)/控制单元。
- 在调试期间,可随意设定按钮的功能。
供货范围
3.1

1x

1x

-1个按钮耦合器
-1份安全数据单
-1份快速启动说明
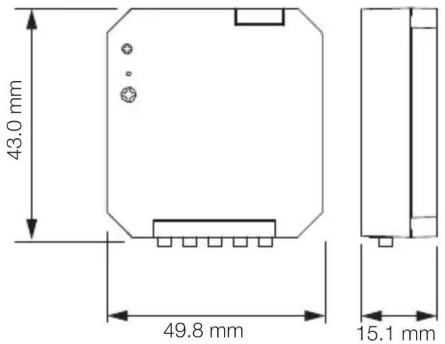
产品尺寸

3.2
设备概览
3.3

A 按钮的接口
B DALI-2-输入端
4. 电气连接
电路图
4.1



主电源由多芯电缆组成:
L = 相位(通常是黑色、棕色或灰色)
N = 零线(通常为蓝色)
DA+ = 连接到DALI总线(棕色)
DA- = 连接到DALI总线(棕色)
按钮的信道/电源:
K1 = 通道1
K2 = 通道2
K3 = 通道3
K4 = 通道4
COM = 按钮的电源
按钮电缆
-
最多 50 ~m 长。
-
必须铺设在单独带有塑料套的管线中。
5. 安装

触电危险!
接触导电部件可能造成电击、燃烧或死亡。
- 切断电流并断开电源。
- 用试电笔检查是否存在电压。
- 确保电源保持中断状态。
存在财产损失风险!
混淆连接导线可能导致短路。
- 辨别连接导线。
- 正确连接接口导线。
安装准备
- 检查所有构件是否受损。一旦出现损坏,就停止运行设备。
- 请您熟悉安装情况及其对应的文件。
-
选择合适的安装地点。
-
无振动且平稳。
-避免存在爆炸危险的区域。
-避免放在易燃的表面上。
5.1

-
将所需的工具和材料摆放在一起:
-
螺丝刀。
安装步骤
应用范例:1个按钮
5.2



- 确保已切断电源。
- 按照电路图连接电源引线。
“4. 电气连接”
应用范例:2个按钮

5.3

- 确保已切断电源。
- 按照电路图连接电源引线。 “4. 电气连接”
5.4

- 将按钮耦合器放入插座中。
- 将按钮装到插座上。
5.5


- 接通电源。
6. 清洁与保养
设备免维护。

触电危险!
如果水与带电零部件发生接触可导致电击、烧伤或死亡。仅在干燥状态下清洁设备。
7. 废弃物处理
必须将电器、配件和包装采用可回收的环保方式处理。

不得将电子设备投入生活垃圾!
仅针对欧盟国家:
根据适用的关于废旧电子设备和电子元件欧盟指令及其在国家法律中的实施规则,必须将无法再使用的电子设备分开收集在一起并根据环保要求寻求再次利用。
8. 一致性
STEINEL GmbH公司特此声明,无线电款式的按钮耦合器PC4-DALI-2符合指令2014/53/EU。有关欧盟一致性声明的完整文本请参阅以下网址:www.steinel.de
9. 制造商担保
DE-33442 Herzebrock-Clarholz, 德国
作为购买方相对销售商具有法定的免费修换权和保修权。如果您所在国家具有相关法律规定,该权利不受我们质保声明而缩短或任何限制。我们为施特朗专业传感器产品的完好性能和正常功能提供5年质保。我们保证此产品不含材料、生产和结构方面的缺陷。我们保证所有电子部件和电缆的功能可靠性以及所使用的材料及其表面无任何缺陷。
质保索赔:
如需提出产品索赔,则请您将完整的原始购买凭证(必须包含购买日期和产品名称的说明)自费邮寄给您的经销商或直接邮寄给我们:Rm.25AHuaduMansion,No.828-838ZhangyangRoad,200122Shanghai,PRChina。
为此,建议您妥善保存购买凭证,直至质保期到期。施特朗对寄回过程中的运输费用和风险不承担任何责任。质保索赔的相关信息请参见我们网站的主页www.steinel.cn如果您对质保或产品有任何疑问,敬请垂询:服务热线+862158204486。
5年
厂商质保
CN
10. 技术参数
-尺寸(高 × 宽 × 深): 49.8× 43.0× 15.1mm
- 电压范围:9.5 VDC-22.5 VDC(依据IEC62368-101)
- 型号DALI的耗电量(电压为 16.5V 时): 2.7mA
- DALI的最大耗电量(电压为 22.5V 时的通电电流): 9 mA
-DALI-2地址: 1
- 输入方式:无电势按钮/开关
- 输入端数量: 4
- 输入端的标记:
K1、K2、K3、K4
- 导线最大长度: 50m
- 外壳最高温度: 75℃
-防护等级:合规使用的时候达到Ⅱ级 -
IP防护等级: IP20
-
环境温度: -20℃至+50℃
11. 故障排除
设备上无电压。
-
保险装置未接通或已损坏。
-
打开保险装置。
-
更换损坏的保险装置。
-
线路中断。
-
使用试电笔检查电线。
-
电源线路短路。
-
检查接头。
- 电源开关可能已关闭
- 打开电源开关。
RU
OrlaBJIeHne
- O6 ΘOM ДOKумente 415
- Onincanhe n3delen 416
- 3JIeKtpnueckoe nOdkJIIOUeHne 420
- MoHTax 421
- Ynctka n yxod 426
- ytni3aun 426
- COOTBETCTBNE 426
9.「apaHTnI npOn3BODnteJI 427 - Texnueckne daHHbIe 428
- YcTpaHHe nE c6oEB 429
PpimHeHne no Ha3NaueHnIO
- INHTeppeicdIy IMeHouXcB PpOdaKe MOHTaXhblkHOPOK.
-ПодходNTДЯУCTaHOBKNВКОРбkyСКрыTOROMOHTаЖСМнИмальНОгТуБиHО60MM.
Notice-Facile