PC4 - Sešívačka STEINEL - Bezplatný návod k obsluze
Najděte návod k zařízení zdarma PC4 STEINEL ve formátu PDF.
Stáhněte si návod pro váš Sešívačka ve formátu PDF zdarma! Najděte svůj návod PC4 - STEINEL a vezměte svůj elektronický přístroj zpět do rukou. Na této stránce jsou zveřejněny všechny dokumenty potřebné k používání vašeho zařízení. PC4 značky STEINEL.
NÁVOD K OBSLUZE PC4 STEINEL
- Ktomuto dokumentu 237
- Vseobecné bezpečnostní poukyny 237
- Popis pristroje 238
- Elektrické pripojení 242
- Montáž 243
- Čišění a udžržba 248
- Likvidace 248
- Shoda 248
- Záruka výrobce 249
- Technické parametry 250
- Odstranéni poruch 251
1. K tomuto dokumentu
- Chráněno autorským prámem. Dotisk, i Částečné, jens naším souhlasem.
- Změny, které slouží technickémuPokroku, vyhrazeny.

Varovani prd nebezpecim!
Varování prěd ohrožením elektrickým proudem!
2. Všeobecné bezpečnostní poukyny

Nebezpeci vyplyvajici z nedodržovani námodu k použití!
Tento námod obsahuje duležité informace pro bezpečnou manipulaci s prístrojem. Na možné nebezpečí je upozorněno zvlást. Nedodržování můze věst ke smrti nebo tězkým poraněním.
- Pozorné si prečíst námod.
- Rídit se bezpečnostními pokyny.
-
Musí byt stale pristupné.
-
Zacházení s elektrickým proudem může věst k nebezpečnám situacím. Při kontaktu s vodivými díly může dojit k urazu elektrickým proudem, popálenínám nebo smrti.
- Práce na sítovém napěti může provadět pouze kvalifikovany personal.
- Je třeba dodržovat prědpísy pro instalaci elektrickych zařizení a podmínky jejich prípojenídle CSN (např. DE: VDE 0100, AT:ÖVE-ÖNORM E8001-1, CH: SEV 1000).
- Používat Jen originální náhradní díly.
- Opravy mohou provadět jen specializované provozy.
3. Popis pristroje
Používáni v souladu s určením
- Rozhrani pro obvyklá instalacni tlacitka.
-Vhodné pro montáž do krabice pod omítku s minimálné hloubkou 60 mm.
Používáni, které není v souladu s určením
- Přípojky na tlacitkovém vazebním Členu nejsou vhodné pro sǐtové napěti.
Princip fungce
- Tlačitkový vazebníčlen integruje dodatečná tlačitka do osvětlovacího systému DALI.
- Ke kaźdému tlacítkovému vazebnímu chenu lze pripojit až Čtyři bězná instalacné tlacítka.
- Tlačitkový vasební Člen prědáva signály Application Controller (APC) / rédicímu prístroji prostřednictvím DALI.
- Volné lze naprogramovat funkci tlacitek pri uvaděné do provozu.
Rozsa h dodávky

3.1

1x

1x
- 1 tlacitkovy vasební Člen
- 1 bezpečnostní list
- 1 rychly start
CZ
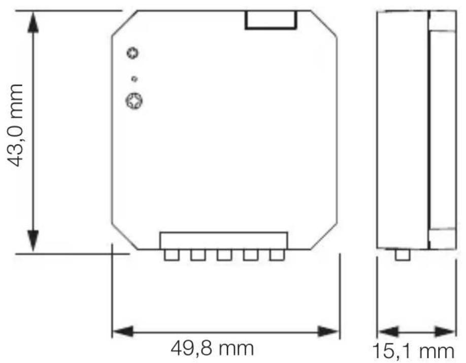
Rozměry vyrobku

3.2
Přehled zařizení
3.3

A Přípojky tlačiték
B Vstup DALI-2
CZ
4. Elektrické pripojení
Schémata zapojeni
4.1



Privodni siové vedení je tvoreno vicevodičovým kabelem:
L = fázový vodič (většinou Černý, hnědý nebo šedý)
N = neutrálni vodič (většinou modrý)
DA+ = pripojení ke sběrnici DALI (hnědý)
DA- = pripojenikesberniciDALI(hnedy)
Kanály / napajeni tlacitek:
K1 = kaná 1
K2 = kaná 2
K3 = kaná 3
K4 = kaná 4
COM = napajeni tlačitek
Kabel tlačitka
Při kontaku s vodivymi díly může dojít k urazu elektrickým proudem, popálenínám nebo smrti.
Vypnout proud a prerusit privod napeti.
- Zkousečkou napěti zkontrolovat, zda je vedení bez napěti.
Zajistit, aby privod napeti zustal preruseny.
Nebezpeci věcnych skod!
Zámea prípojovacích vedení mûze vestre ke zkratu.
- Zkontrolovat poskozeni u vsech konstrukcnich dlû. Pri poskození pristroj nepouživat.
- Seznámit se s montážní situác a souvisejícimi dokumenty.
- Vybrat vchodné misto montáze.
-Bez otrésù.
-Ne do oblastí ohrożenych vybuchem.
-Ne na povrchy, které patři mezi snadno vznítitelné.
5.1

- Pripravte potřebné nastroje a material: -Sroubovák.
Postup pri montázi
Příklad použití: 1 tlacítko
5.2



- Přesveděcte se, zda je vypnutý privod napěti.
- Prívodní sítové vedení prípojit podle schématu zapojeni. →,4. Elektrické prípojení
Příklad použití: 2 tlacítka

5.3



- Přesveděte se, zda je vypnutý privod napěti.
- Prívodní sítové vedení prípojit podle schématu zapojeni. →,4. Elektrické prípojení
5.4

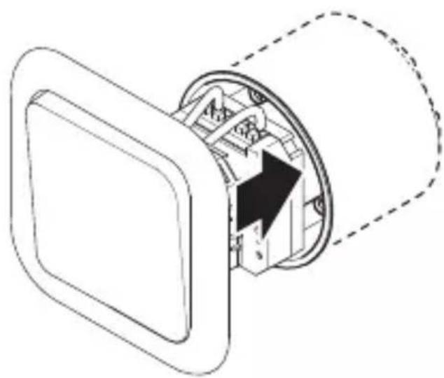
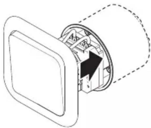
Vložte tlačitkový vazební Člen do krabice.
- Nasadte tlacitko na krabici.
5.5


- Zapnout napajeni elektrickym proudem.
6. Čištění a udrzba
Přistroj je bezúdržbový.

Ohrożeni elektrickYM proudem!
Kontakt vody s vodivymi dily mûze vest k urazu elektrickým proudem, popálenínám nebo smrti.
- Prístroj Čistěte pouze, když je suchý.
7. Likvidace
Elektrická zařizení, príslušenstvá a obaly musí byt odvezeny k ekologickému opětovnému zhodnocení.

Nevyhazujte elektrická zařizení do domovniho odpadu!
Jen pro zeme EU:
V souladu s platnou evropskou smernicí o odpadnich elektrickych a elektronickych zařizenich a jejím prevedení do národního práva musí byt nepoužitelná elektrická zařizení separována a odevzdána k ekologickému opětovnému zhodnocení.
8. Shoda
Tímto společnost STEINEL GmbH prohlasuje,Že typ radiosvý zařizení, tlacitkový vasební Člen PC4-DALI-2 odpováda 2014/53/EU. Üplné text prohlášení o shodě EU najdete na následujíci internetové adrese: www.steinel.de
9. Záruka vyrobce
Záruka vyrobce STEINEL GmbH, Dieselstrasse 80-84, DE-33442 Herzebrock-Clarholz, Německo
Jako kupujícímu vám vúči prodávajícímu prínáleží zákonem
prédepsáná práva. Pokud tato práva ve vaší zemi existují,
nejsou naším prohlášením o záruce zkrácena ani omezena.
Poskytneme vám 5 letou záruku na bezvadné provedeni a rádnou funkčnost vašeho profesiónánlího senzorického vyrobku značky STEINEL. Ručime za to, ze tento vyrobek něma materiálové, vyrobní a konstrukční vady. Ručime za funkčnost všech elektronicích součástek a kabelů, i za nezávalnost všech použitích materiálů a jejich povrchů.
Uplatnováni záruky:
Chcete-li vás vyrobek reklamovat, zašlete jej nedemontovany a vyplacené s originálím dokladem o koupi, který musí obsahovat datum koupě a název vyrobku, vašemu prodejci nebo prímo nám, na adresu STEINEL Technik s.r.o. Rumunská 655/9, 460 01 Liberec 4. Doporučujeme vám, abyste doklad o koupi do uplynutí záručné doby pečlive uschovali. Společnost STEINEL neruci za prepravní náklady a rizika týkajíci se zpětného zaślání.
Dalsí informace k uplatnováni záruky jsou uvedeny na naší webové stránce www.steinel.cz
Jestlje budete uplatnovat reklamaci nebo mate
nějaké dotazy týkajćí se vyrobku, můžete nám kdykoli
zavolat na servisné horkou linku +420 485 253 271.
10. Technické parametry
- Rozměry (v × š × h): 49,8 × 43,0 × 15,1 mm
- Rozsah napěti: 9,5 VDC-22,5 VDC (dle IEC62368-101)
Typ. prikon DALI (pri 16,5 V): 2,7 mA
- Max. príkon DALI (zapínací proud pri 22,5 V): 9 mA
- Adresy DALI-2: 1
- Zadávání prostřednictvím: bezpotenciálová tlacítka/spinače
- Počet vstupů: 4
- Označeni vstupnich svorek: K1, K2, K3, K4
- Max. délka vedení: 50 m
- Max. teplota tělesa: 75 °C
- Trida ochrany: II. pri používání v souladu s určením
- IP kryti: IP 20
- Teplota prostředí: -20 °C až +50 °C
11. Odstranění poruch
Přistroj bez napěti.
-
Pojistka není zapnutá nebo je poškozená.
-
Zapnout pojistku.
Vymenit poškozenou pojistku.
Vedeni prerušene.
- Zkontrolovat vedení pomoci zkousečky napěti.
- Zkrat v privodním sítovém vedení.
Zkontrolovat pripojeni.
- Eventuálne vypnuty stavajíci sǐtový vypínač.
- Zapnout sǐovy vypínač.
SK
Obsah
- O tomando 253
- Vseobecné bezpečnostné poukyny 253
- Popis vyrobku 254
- Elektrické pripojenie 258
- Montáž 259
- Čistenie a udrzba 264
- Zneškodnenie 264
- Zhoda 264
- Záruka výrobcu 265
- Technické udaje 266
- Odstrańovanie poruch 267
1. O tomando
Varovanie pred nebezpečenstvom v dösledku zásahu elektrickým prudom!
2. Všeobecné bezpečnostné pokyny

Nebezpečenstvo v dösledku nedodrozania námovu na obsluhu!
- Rozhranie pre tlacidlové vypínače integruje dalsie tlacidlové vypínače do systému osvetlenia DALI.
- Ku kaźdému rozhraniu pre tlačidlovie vypínače možno pripojit až štyri bežne dostupné instalačné tlačidlovie vypínače.
- Rozhranie pre tlacidlove vypinace prenaśa signály prostrednictvom DALI do aplikačného ovládača (APC) / riadiacej jegnotky.
- Funkcia tlacidlovych vypinačov je volné programovatelné počas uvadzania do prevádžky.
Rozsa h dodávky

3.1

1x

1x
4. Elektrické pripojenie
Schemezapojenia
4.1



DA+ = Zapojenie na zbernicu DALI ( hnedá)
DA- = ZapojenienazbernicuDALI(hnedá)
Kanály/napájanie tlacidlovych vypínačov:
K1 = Kanál 1
K2 = Kanál 2
K3 = Kanál 3
K4 = Kanál 4
COM = Napajanie tlacidlovych vypinačov
Káble k tlačidlovým vypínačom
- Dlžka max. 50 m.
- Musia byt'ulożené v samostatnom vedení s plastovym plástom.
5. Montáž

Nebezpečenstvo zásahu elektrickým prudom!
Priklad použitia: 1-tlačidlový vypínač
5.2



SK
- Uistite sa, Či je odpojený privod napătia.
- Pripojte napajacie vedenie podla schémy zapojenia. ,"4. Elektrické pripojenie"
Priklad použitia: 2-tlačidlový vypínač

5.3



Uistite sa, ci je odpojeny privod napatia.
- Pripojte napajacie vedenie podla schémy zapojenia. ,4. Elektrické pripojenie"
5.4

Vložte rozhranie pre tlačidlové vypínače do instalačnej krabice.
- Nasadte tlacidlovy vypinač na instalačnu krabicu.
5.5


- Zapnite napajanie elektrickym prudom.
6. Čistenie a udrzba
Vyrobok nevyžaduje udrzbu.

Nebezpečenstvo zásahu elektrickým prudom!
Informácie o možnostiach uplatenia záručného pripadu najdete na našej stránke www.neco.sk
Ak u vás došlo k záručnému pripadu alebo ak mate otázky týkajúce sa vyrobku, možete nás kedykolívek Telefonicky kontaktovat na našej servisnej linke: +421/42/4 45 67 10.
Notice-Facile