PC4 - Nitoja STEINEL - Ilmainen käyttöohje ja opas
Löydä laitteen käyttöohje ilmaiseksi PC4 STEINEL PDF-muodossa.
Lataa ohjeet laitteellesi Nitoja PDF-muodossa ilmaiseksi! Löydä käyttöohjeesi PC4 - STEINEL ja ota elektroninen laitteesi takaisin hallintaan. Tällä sivulla julkaistaan kaikki laitteidesi käyttöön tarvittavat asiakirjat. PC4 merkiltä STEINEL.
KÄYTTÖOHJE PC4 STEINEL
- Tämä asiakirja 157
- Yleiset turvaohjeet 157
- Laitteen kuvaus 158
- Sähköliitäntä 162
- Asennus 163
- Puhdistus ja hoito 168
- Havittäminen 168
- Yhdenmukaisuus 168
- Valmistajan takuu 169
- Tekniset tiedot 170
- Viankorjaus 171
1. Tämä asiakirja
- Tekijänoikeudellisesti suojattu. Jälkipainatus (myös ositainen) sallittu vain, mikäli annamme sihen luvan.
- Oikeudet teknistä kehitystä palveleviin muutoksiin pidätetaän.

Vaaroista ilmoittava varoitus!

Sähköstä aiheutuvista vaaroista ilmoittava varoitus!
2. Yleiset turvaohjeet

Käytöohjeen laiminlyönnista aiheutuva vaara!
Tämä käyttoohje sisältaa laitteen turvalliseen käsittelyyn liittyvä tärkeitä tietoja. Mahdollisiin vaaroin viitataan erikseen. Ohjeden noudattamatta jättäminen voi johtaa kuolemaan tai vakaviin vammoin.
- Lue käyttoohje huolellisesti.
-
Huomioi turvaohjeet.
Sälytä helposti saatakilla. -
Sähkövirta voi johtaa vaarallisiin tilanteisiin. Sähköä johtavien osien koskettaminen voi johtaa sähköiskuun, palovammoihin tai kuolemaan.
- Vain ammattaitoinen henkilokunta saa tehdä verkkojännitettä koskevat työt.
- Voimassa olevia asennus- ja liitäntäohjeita on noudatettava.
- Käytä ainoastaan alkuperäisiä varaosia.
Vain ammattiyritykset saavat tehdä korjauksia.
3. Laitteen kuvaus
Käytötarkoituksen mukainen käytto
- Liittymä tavallisille asennuspainikkeille.
- Soveltuu asennettavaksi upporasiaan, jonka vahimmässyvyys on 60 mm.
Käytötarkoituksen vastainen käytto
- Kytkinmoduulissa olevat liitannät eivät sovellu verkkojännitteelle.
Toimintaperiaate
- Kytkinmoduuli integroi lisäpainikkeita DALI-valojärestelmaän.
- Jokaiseen kytkinmoduulän on mahdolista liittä enintään neljä tavallista asennuspainiketta.
- Kytkinmoduuli toimittaa signaalit eteenpäin DALI-liittymän kautta Application Controllerille (APC) / ohjauslaitteelle.
- Painikkeen toiminta on ohjelmoitavissa vapaasti käytöönoton yhteydessä.
Toimituslaajuus

3.1

1x

1x
-1 kytkinmoduuli
- 1 käytöturvallisuustiedote
- 1 Quick start -opas
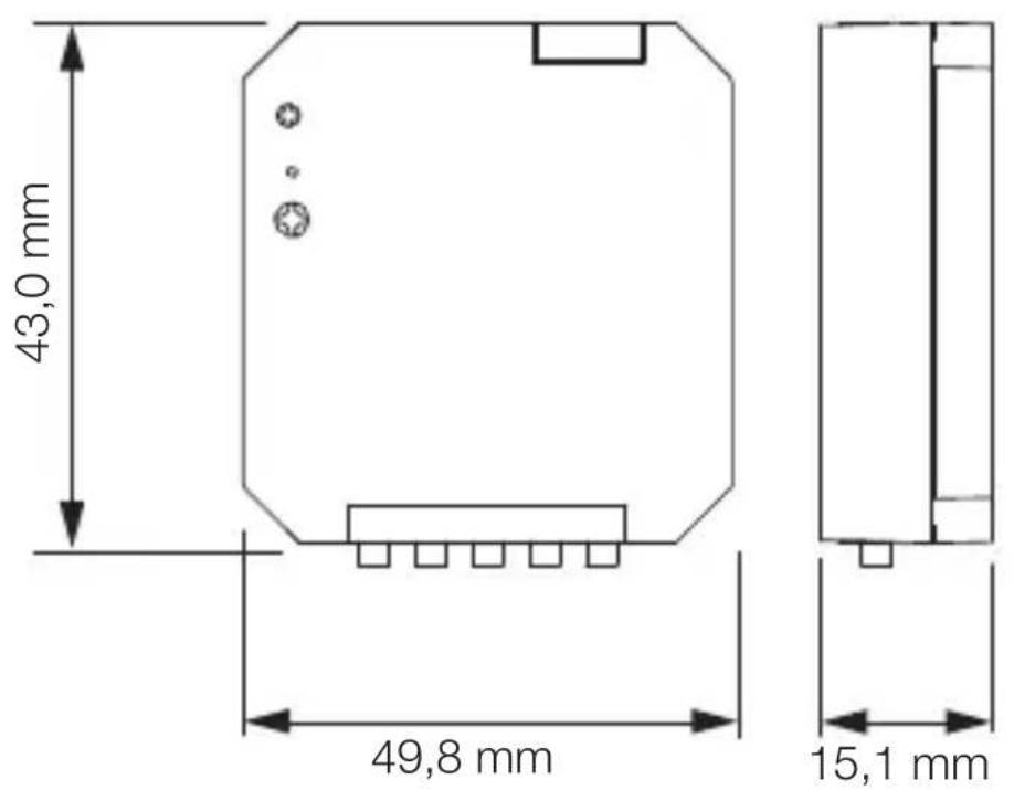
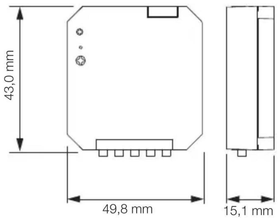
Tuotteen mitat

3.2
Laitteen yleiskuva
3.3

FI
A Painikeliitannät
B DALI-2-tulo
4. Sahkoliitäntä
Kytkentäkaaviot
4.1



Verkkjohtona käytetään useampijohtimista kaapelia:
L = vaihe (useimmiten.musta, ruskea tai harmaa)
N = nollajohdin (useimmiten sininen)
DA+=liitäntäDALI-väylään(ruskea)
DA- liitäntäDALI-vaylaan(ruskea)
Kanavat / painikkeen syöttö:
K1 = kanava 1
K2 = kanava 2
K3 = kanava 3
K4 = kanava 4
COM = painikkeen syöttö
Painikekaapelit
- Pituus enintään 50m
- On asennettava erilliseen muovipäellysteiseen putkeen.
5. Asennus
Sähkövirran aiheuttama vaara!
Sähköö johtavien osien koskettaminen voi johtaa sahkö-iskuun, palovammoihin tai kuolemaan.
- Katkaise virta.
- Tarkista jännitteettömyys jännitteenkoettimella.
- Varmista,ettyvirtaei palaudu.
Aineellisten vahinkojen vaara!
Liitäntäjohtoen vaihtuminen keskenään voi johtaa oikosulkuun.
FI
Tunnista liitäntäjohdot.
- Yhdistä liitäntäjohdot oikein.
Asennuksen valmistelu
- Tarkista, etta missaan componentissa ei ole vaurioita.
Alä ota laitetta käyttoön, jos siinä on vikoja. - Tutustu asennuspaikkaan ja tuotteen asiakirjoihin.
- Valitse sopiva asennuspaikka.
-Tärinätön paikka.
-Ei rajahdysvaarallisille alueille.
-Ei herkästi syttyville pinnoille.
5.1

- Ota esille tarvittavat tyokalut ja materiaalit: -Ruuvitalta.
Asennuksen vaiheet
Käytöesimerkki: 1 painike
5.2



Varmista,etta virta on katkaistu.
- Liitä verkkjoho to kytkentäkaavion mukaisesti.
"4. Sahkoliitantä"
Käytöesimerkki: 2 painiketta

5.3



Varmista,etta virta on katkaistu.
- Liitä verkkjoho to kytkentäkaavion mukaisesti.
"4. Sahkoliitantä"
5.4

FI
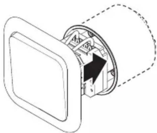
- Aseta kytkinmoduuli rasian sisään.
- Aseta painike rasiaan.
5.5


- Kytke virta paallee.
6. Puhdistus ja hoito
Laite on huoltovapaa.

Sahkövirran aiheuttama vaara!
Veden pääseminen kosketuksiin sahköä johtavien osien kanssa voi johtaa sahköiskuun, palovammoihin tai kuolemaan.
- Puhdista laite vain kuivana.
7. Havittäminen
Sähkölaitteet, tarvikkeet ja pakkaukset on toimitettava ympäristöystävälliseen kierrätykseen.

Äläheitä sähkölatteita talousjätteiden sekaan!
Koskee vain EU-maita:
Voimassa olevan eurooppalaisen sähkö- ja elektroniikkaromua koskevan direktivin ja sen kansalliseen lainsäddantöön saattamisen mukaisesti kayttökelvottomat sähkölaitteet on kerättäva erikseen ja toimitettava ympäristöystävälliseen kierrätykseen.
8. Yhdenmukaisuus
STEINEL GmbH vakuuttaa taten, etta radiolaitetyppi kytkinmoduuli PC4-DALI-2 vastaa direktiiviä 2014/53/EU. EU-vaatimustenmukaisuusvakuutuksen teksti on luettavissa kokonaan seuraavassa osoitteessa: http://www.steinel.de
9. Valmistajan takuu
Valmistajan takuu STEINEL GmbH, Dieselstraße 80-84, DE-33442 Herzebrock-Clarholz, Saksa
Ostajana sinulla on oikeus omassa maassasi voimassa oleviin lakisäateisiin takuuoikeuksiin. Tämä takuuilmöitus ei lyhennä tai rajoita niitta. Myönnämme sinulle STEINEL-Professional-tunnistintekniikan tuotteen moitteetomia ominaisuksia ja asianmukaista toimintaa koskevan 5 vuoden takuun. Takaamme, ettei tassä tuotteessa ole materiaali-, valmistus- ja rakennevikoja. Takaamme kaikkien elektronisten rakenneosien ja johtoen toimintakyvyn sekä kaikkien käytettyjen raaka-aineiden ja niiden pintojen virheettömyyden.
Vaatimuksen esittäminen:
Jos haluat tehdä tuotteestasi reklamaation, toimita tuotetäydellisenä ja rahti maksettuna yhdessä ostotositteen (sisällettävä tiedot OSTopaiväyksestä ja tuotenimikkeestä) kanssa ostopaikkaan. Suosittelemme siksi ostotositteenuholellista säilyttämistä aina takuuajan päättymiseen asti.STEINEL ei vastaa palautukseen liittyvistä kuljetuskuluiista ja -riskeistä. Tietoja vaatimuksen esittämestä takuutapauksessa löytyy kotisivuil-tamme www.steinel-professional.de/garantie
5 VUODEN VALMISTAJAN TAKUU
10. Tekniset tiedot
-Mitat (K× L× S) .. 49,8× 43,0× 15,1mm
- Jännitealue: 9,5 VDC -22,5 VDC
(standardin IEC62368-101mukaisesti)
-Tyypill. ottoteho DALI (16,5 V): 2,7 mA
- Maks.ottoteho DALI (kytkentävirta 22,5 V:ssa): 9 mA
-DALI-2-osoitteet: 1
- Syöttö: Potentiaalivapaalla painikkeella/kytkimellä
-Tulojen lukumaa: 4
-Tulolittimien merkintä: K1, K2, K3, K4
- Johdon maks.pituus: 50 m
- Kotelon maks.lampötila: 75 °C
- Sujoausluokka: II. märäysten mukaisessa käytössä
- IP-kotelointiluokka: IP 20
- Ympäristölampötila: -20 °C ... +50 °C
11. Viankorjaus
Laitteessa ei ole jannitetta.
-
Sulaketta ei ole kytketty paälle tai se on vialinen.
-
Kytke sulake paallee.
Vaihda viallinen sulake. -
Katkos johdossa.
- Tarkasta johto jannitteenkoettimella.
- Oikosulku verkkojohdossa.
Tarkasta liitannat. - Valo sammutetu mahdollisesti verkkokytkimellä.
- Kytke verkkokytkin pälle.
NO
Innhold
- Om dette dokumentet 173
- Generelle sikkerhetsinstrukser 173
- Beskrivelse av encheten 174
- Elektrisk tinkobling 178
- Montering 179
- Rengjaring og stell 184
- Avfallsbehandling 184
- Samsvarserklaering 184
- Produsentgaranti 185
- Tekniske spesifikasjoner 186
- Utbedring av feil 187
-1 lulitisidesti
- 1 ohutuskaart
-1kiirjuhend
EE
Toote mõõdud

3.2
Seadme ülevaade
3.3

A Luliti ühendused
B DALI 2 sisend
EE
Notice-Facile