PC4 - Grapadora STEINEL - Manual de uso y guía de instrucciones gratis
Encuentra gratis el manual del aparato PC4 STEINEL en formato PDF.
Descarga las instrucciones para tu Grapadora en formato PDF gratis! Encuentra tus instrucciones PC4 - STEINEL y toma tu dispositivo electrónico nuevamente en la mano. En esta página están publicados todos los documentos necesarios para el uso de su dispositivo. PC4 de la marca STEINEL.
MANUAL DE USUARIO PC4 STEINEL
- Acerca de este documento 91
- Descripción del aparato 92
- Conexión electrica 96
- Montaje 97
- Limpieza y cuidados 102
- Eliminación 102
- Conformidad 102
- Garantía de fabricante 103
- Datos&Tecnicos 104
- Reparación de averías 105
1. Acerca de este documento
- Protegido por derechos de autor. Queda terminamente prohibida la reimisión, ya sea total o parcial, salvo con autorización expresa.
- Sujeto a modificaciones en función del progreo técnico.

jAdvertencia depeligos!

jAdvertencia de peligros por corrente electrica!
2. Indicaciones generales de seguridad

iPeligro por la no observacion de las instrucciones de uso!
Estas instrucciones contienen informacion importante sobre el manejo seguro del aparato. Se advierte especialmente de posibles peligros. La no observancia能把 causar la muerte o lesiones graves.
- L'éanse las instrucciones detenidamente.
- Cumplanse lasindicaciones deseguidad.
-
Manténgase al alcance.
-
El manejo de la corriente electrica puede causar situaciones peligrosas. El contacto fisco con piezas conductoras de electricidad pueda causar shocks electricos, quemaduras o la muerte.
- El trabajo en la tension électrique deberá ser realizado exclusivamente por personalístico especializzato.
- Se cumplirán las normativas de instalación y los requisitos de acometida espécíficos de cada País (p. ej., DE: VDE 0100, AT: ÖVE-ÖNORM E8001-1, CH: SEV 1000).
- Utilice solo piezas de repuesto originales.
- Las reparaciones solo está permitidas a entreprises especializadas.
3. Descripción del aparato
Uso previsto
- Interfaz para pulsadores de instalacion convenciones.
- Apto para la instalación en una caja empotrable con una profundidad minima de 60 mm.
Uso no previsto
- Las conexiones en el acoplador pulsador no son aptas para tension de red.
Principio functional
- El acoplador pulsador integra pulsadores adiconiales en un sistema de luz DALI.
- Se pueda conectar hasta在哪 pulsadores de instalación convenciones a cada acoplador pulsador.
- El acoplador pulsador transmite las senales via DALI al Application Controller (APC) / dispositivo de control.
- La funciona de los pulsadoreses puede programarse libremente en lapellsta en marcha.
Volumen de suministro

3.1

1x

1x
- 1 acoplador pulsador
- 1 hora de datos de seguridad
-1 guia rapiida
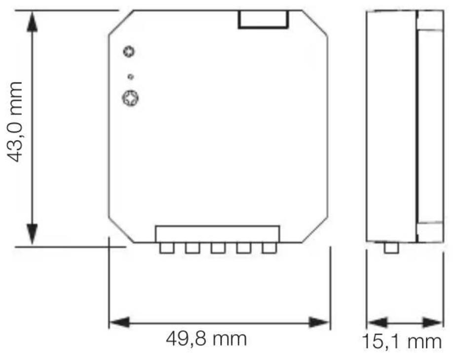
Dimensiones del producto

3.2
Visión general de los equipos
3.3

ES
A Conexiones pulsadores
B Entrada DALI 2
La linea de alimentacion de red consta de un cable multifilar:
L = fase (generalmente negro, marrón o gris)
N = neutro (generalmente azul)
DA+ = conexión al BUS DALI (marrón)
DA- = conexión al BUS DALI (marrón)
Canales / abastecimiento pulsadores:
K1 = Canal 1
K2 = Canal 2
K3 = Canal 3
K4 = Canal 4
COM = abastecimiento pulsadores:
Cable de pulsador
- Longitud maximizing 50 ~m .
- Han de tenerse en un cable separado revestido de plástico.
5. Montaje

El contacto fisico con piezas conductoras de electricidad puede causar shocks electricos, quemaduras o la muerte.
- Desconectar la corriente e interruptir la alimentacion electrica.
- Controlar la ausencia de tension con un comprobador de tension.
- Asegurar que la alimentacion electrica permanezca interruppida.
Pelicro de daños materiales!
Los cables invertidos peuvent cause cortocircuitos.
- Identificar los cables de connexion.
- Conectar correctamente los cables de connexion.
Preparación de montaje
- Asegurar de que todos los componentes se encuentran en perfecto estado. No poder en servicios el aparato si presente daños.
- Familiaríçese con las circunstancias del montaje y los documentos asociados.
Elegir un lugar de montaje adecuado.
-Sin vibraciones.
- No en zonas con peligro de explosión.
- No sobre superficies fácilmente inflamables.
5.1

- Prepare las herramrientas y el materialrequireidos: -Destornillador.
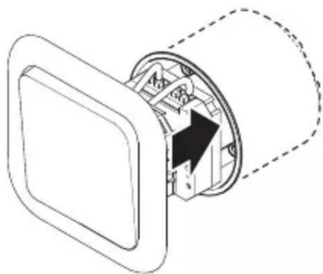
El montaje por pasos
Ejemplo de aplicacion: 1 pulsador
5.2



- Asegurar que la alimentación de tension estároneconectada.
- Conectar el cable de alimentación conforme al diagrama electrónico.
"4. Conexión electrica"
Ejempio de aplicacion: 2 pulsadores

5.3



- Asegurar que la alimentación de tension está desconectada.
- Conectar el cable de alimentacion conforme al esquema de conexiones.
"4. Conexión electrica"
5.4

ES
Montar el acoplador pulsador en la caja.
- Colocar el pulsador sobre la caja.
5.5


- Conectar la alimentacion electrica.
6. Limpieza y@cuidados
El aparato está exento de mantenimiento.

El contacto del agua con piezas conductoras de electricidad puede causar shocks electricos, quemaduras o la muerte.
- Limpiar el aparato solo en estado seco.
7. Eliminación
Aparatos electricos, baterías, accesorios y embalajes han de someterse a un reciclaje respetuoso con el medio ambiente.

jNo eche los aparatos electricos ni baterias a la basura domestica!
Solo para paises de la UE:
Según la Directiva europea vigente sobre residuos de aparatos electricos y electrónicos y su transmisión al derechoño nacional, aparatos electricos y baterías fuera de uso han de ser recogidos por分开ado y sometidos a un reciclaje respetuoso con el medio ambiente.
8. Conformidad
Por la presente, STEINEL GmbH declara que el modelo de instalacion inalámbrica acoplador pulsador PC4-DALI-2 se correponde con 2014/53/EU. El textoplete to de la declaracion de conformidad UE esta disponible a trovés de la?singular direccion de Internet: www.steinel.de
9. Garantía de fabricante
Garantía de fabricante STEINEL GmbH, Dieselstraße 80-84, DE-33442 Herzebrock-Clarholz, Alemania
Austed, el comprador, le asisten ciertos derechos legalesrente al vendedor. En la medida en que这些东西arethosexistan en su paises, ellos no se veran acortados ni limitados por nuestro Certificado de garantia. Le ofrecemos 5 años de garantía sobre el estado y el functionamento impecables de su producto STEINEL Professional con技术水平de senseores. Garantizamos que este producto carece dedefectos derivados del material, la fabricacion o Construccion. Garantizamos laplenafuncionalidadde todos los cables y piezas electrónicas, asi como la ausencia de defectos enequalquier material empleado o en su superficie.
Reclamación:
Siusted desea reclamar su producto, envíelo, por favor, todo completo y a porte pagado junto con el tíquet de compra original que deben indicar la Fecha de compra y la denominación del producto a su vendedor o directamente a nuestra dirección, SAET-94 S.L. - C / Trepadella, n° 10, Pol. Ind. Castellbisbal Sud, E-08755 Castellbisbal (Barcelona). Recommendamos, por ese, guardar bien el tíquet de compra hasta que haya expirado el periodo de garantía. STEINEL no responderá porastos orriegos de transporte con motivo del envío.
Información para hacer constar un caso de garantía la obtendrá a工程技术 de vuestra págrina web www.steinel-professional.de/garantie
Para cadaquier caso de garantía o duda referente a su producto, nosgue llamar al número del Servicio Técnico +34 93 772 28 49.
10. Datos tíncinos
- Dimensiones (alt. x anch. x prof.): 49,8 x 43,0 x 15,1 mm
-
Rango de tension: 9,5 VCC -22,5 VCC (según IEC62368-101)
-
Tip. consumo de corriente DALI (con 16,5 V): 2,7 mA
-
Consumo de corriente max. DALI (corriente de cierre con 22,5 V): 9 mA
-
Direcciones DALI 2: 1
- Control via: pulsador/selector sin potencial
- Cantidad de entradas: 4
- Identificacion de los Bornes de entrada: K1, K2, K3, K4
- Longitud de cable max.: 50 m
- Temperatur de carcasa max.: 75 °C
- Clase de aislamento: Il. con el uso previsto
-Índice de protección: IP 20 - Temperatura ambiente: -20 °C a +50 °C
11. Reparación de averías
Aparato sin tension.
-Fusible desactivado o defectuoso.
- Activar fusible.
-
Cambiar el fusible defectuoso.
-
Linea interruppida.
- Comprobar la linea de alimentacion con un comprobador de tension.
- Cortocircuito en el cable de alimentación.
- Comprobar las conexiones.
- El interruptor de alimentación está desconectado (si lo hay)
- Poner el interruptor en ON.
PT
Índice
Principio de funciona
- 1 acoplador de interruptores
- 1 ficha de dados de segurarca
- 1 guia=rápido
A:ÖVE-ÖNORM E8001-1, CH:SEV 1000).
AT:ÖVE-ÖNORM E8001-1, CH:SEV 1000).
- Naudokite tik originalias atsargines dalis.
- Remontagali atlikti tik specializuotos jmones.
3. Prietaiso aprasymas
AT:ÖVE-ÖNORM E8001-1, CH:SEV 1000).
- Izmantojiet tikai originalas detalias.
- Remontu dríkst veikt tikai specializetas darbīcas.
ManualFacil