PC4 - Tűzőgép STEINEL - Ingyenes használati útmutató
Találja meg az eszköz kézikönyvét ingyenesen PC4 STEINEL PDF formátumban.
Töltse le az útmutatót a következőhöz Tűzőgép PDF formátumban ingyenesen! Találja meg kézikönyvét PC4 - STEINEL és vegye vissza elektronikus eszközét a kezébe. Ezen az oldalon közzé van téve az eszköze használatához szükséges összes dokumentum. PC4 márka STEINEL.
HASZNÁLATI ÚTMUTATÓ PC4 STEINEL
- ÁltalánosBiztonsági utmutatások 221
- A keszülk ismertetese 222
- Elektromos csatlakozás 226
- Szerelés 227
- Tisztlatas es apolas 232
- Artilmatlanitás 232
- Megfeleloség 232
- Gyárigarancia 233
- Muszaki adatok 234
- Hibaelháritas 235
1. Tudnivaló a dokumentummal kapcsolatban
- Szerzői jogvédelem alatt áll. Sokszorosítani, kivonatosan is,Csak az engedélyunkel szabad.
- A muszaki fejlodest szolgalo valtoztatasok jogat fennartjuk.

Figyelmeztétés veszélyekre!
Figyelmeztetes aram miatti veszelyekre!
2. Általános biztonsági utmutatások

A használati utmutató figyelmen kívül hagyásanak veszélye!
Az utmutató fontos informaciókat tartalmaz a keszülékBiztonságos kezeléséhez. Kiemelten figyelmeztet a lehetséges veszelyekre. A figyelmeztetések figyelen kivül hagyasa halálos vagy súlyos serülsekhez vezethet.
-
Figyelmesen olvassa el az utmutatót.
Hajtsa végre aBiztonságióvintézkedeseket.
Tartsa azokat jol hozzaférhétó helyen. -
Áram alatt vegzett munka veszelyes helyzetek kialakulá-sahoz gezethet. Áram alatt levő alkatrészek megérintése áramütéshez, égési serülsekhez vagy halálos baleset-hez gezethet.
- Hálózati feszültsegen munkátCsak szakképzett szakemberek végezhetnek.
- Tartsa be az adott országban hatályos villanyszerelési előirásokat és bekötesi felteteleket (pl. DE: VDE 0100, AT: ÖVE-ÖNORM E8001-1, CH: SEV 1000).
- Csak eredeti pótalkatrészeket használjon.
- Csak szaküzemek öltali javitás megengedett.
3. A keszülék ismertetése
Rendeltetésszerú használat
- Interfész szokványos szereleşi érzekelőhöz.
- Legalabb 60 mm mély süllyesztett dobozhoz alkalmas.
Nem rendeltetésszerú használat
- Az érzekelókapcsoló csatlakozásai nem alkalmasak a halózati feszültseghez.
Mukodési elv
- Az érçékelőkapcsoló további érçékelőket tartalmaz egy DALI-fenyrendszerben.
- Minden érzekelőkapcsolóhoz további maximum négy szerelési érzekelő csatlakoztatható.
- Az érzékelőkapcsoló a DALI-n keresztül adja le a jeleket az Application Controller (APC) / vezérlokészülék felé.
- Az érzékelő működése üzembe helyezéskor szabadon programozhato.
A csomag tartalma

3.1

1x

1x
- 1 érzekelő kapcsoló
- 1 biztonsági adatlap
- 1 gyorsinditási utmutató
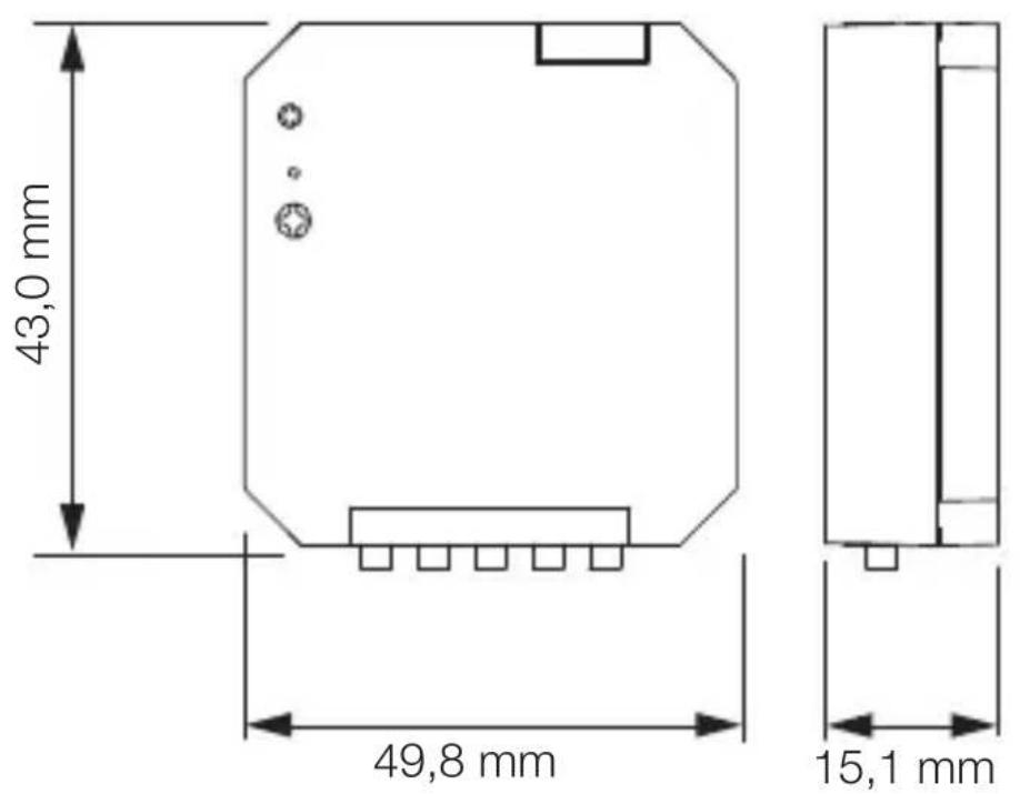
Termékméretek

3.2
A keszülék atttekintése
3.3

HU
A Erzekelő csatlakozók
B DALI-2 bemenet
4. Elektromos csatlakozás
Kapcsolasi rajzok
4.1



A halózati betápvezéték egy többerú kabelból áll.
L = fázis (leggyakrabban fekete, barna vagy szürke)
N = nulla gezető (többnyire kék)
DA+=csatlakozásDALI-BUS-hoz(barna)
DA- = csatlakozásDALI-BUS-hoz(barna)
Csatornák / Érzekelő ellatása
K1 = Csatorna 1
K2 = Csatorna 2
K3 = Csatorna 3
K4 = Csatorna 4
COM = Erzekelő ellatása
Érzekelőkabel
Maximum 50 m hosszú.
- Egy elkūlönītett muányagbevonatú vezétékben kelli helyezni.
5. Szerelés

Áramütes veszélye!
Áram alatt lévo alkatrészek megerintése áramütéshez, égési sérülèsekhez vagy haláos balesethez vezethet.
- Kapcsolja le az áramot és szakítsa meg a ráadott feszültseget.
- Feszültsegjelzövel ellenörizze, hogy a készüléken tényleg nincs feszültseg.
Gondoskodjon rola, hogy ne kapcsolhassak vissza a feszultsegellatast.
Anyagi károk veszélye!
A halózati kábelek felcserelèse rovidzárlathoz vezethet.
- Azonosítsa be a csatlakozóvezetékeket.
- Helysen kõsse össze a halózati kábeleket.
Előkészületek a szereles megkezdésé előtt
- Minden alkatrészt Ellenőrizen sérului szempontjábl. Sérulések esétén ne vegye használatba a berendezést.
- Ismerje meg a szerelesi körülmenyeket és a csatolt dokumentumokat.
- Valasszon ki egy alkalmas felszerelési helyet.
-Rázkódásmentes.
-Ne szerelje fel robbanásveszélyes területre.
-Ne helyezze gyúlékony felületekre.
5.1

- Keszítse elő a megfelelo szerszámokat és anyagokat: -Csavarhúzó
A szerelés lépései
Alkalmazásipélda:1érzékelő
5.2



HU
- Győződjön meg róla, hogy a típfeszültseg lekapcsolt állapotban van.
- Csatlakoztassa a halózati gezetéket a kapcsolási rajz szerint.
,4 .Elektromos csatlakozas"
Alkalmazásipélda:2érzekeló

5.3



- Győződjön meg róla, hogy a típfeszültseg lekapcsolt állapotban van.
- Csatlakoztassa a halózati gezetéket a kapcsolási rajzszerint.
→,4. Elektromos csatlakozás"
5.4

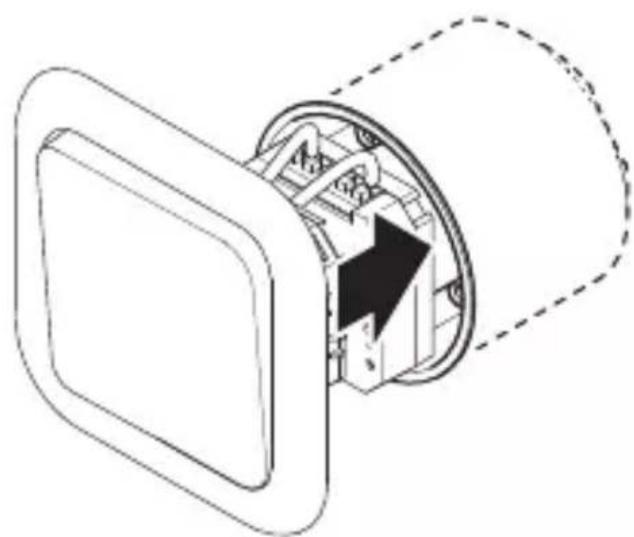
- Helyezze az érzékelokapcsolót a dobozba.
- Az érzekelôt helyezze el a dobozon.
5.5


- Kapcsolja be az aramellatast.
6. Tiszítás és ápolas
A berendezés nem igényel karbantartást.

Áramütes veszélye!
Áram alatt lévo alkatrészek vizzel való érintkezése áramütéshez, égési sérülësekhez vagy haláos balesethez vezethet.
- A berendezéstCsak szaraz allapotaban tisztitsa.
7. Ártalmatlanítás
Gondoskodjon az elektromos keszülékek, a tartozékok és a csomagolás környezetbarat úrahasznosításáráól.

Ne dobjon elektromos keszülékeket a házartási szemétbe!
Csak az EU-országok esetében:
A használt elektromos és elektronikus berendezésekre vonatkozó hatályos europai irányelvek értelmében és azok nemzeti jogrendszerbe történő átultetese szerint a mars nem működókepes elektromos berendezéseket külön keggyüjteni és gondoskodni kell környezetbarát uyrahasznóstásukráól.
8. Megfelelośég
A STEINEL GmbH ezennel nyilatkozik, hogy a PC4-DALI-2 érzékelőkapcsoló adóberendeźes megfelel a 2014/53/EU irányelv követelményeinek. Az EU megfelelőségí nyilatkozat teljes szövege a következő internetcímen található: www. steinel.de
9. Gyári garancia
Gyartói garancia STEINEL GmbH, Dieselstrasse 80-84, DE-33442 Herzebrock-Clarholz, Németország
Önnek, mint a termek vevöjének, adott esetben jogában áll az eladóval szemben érvényesīteni az Önt törvenyesen megilteǒ hiánypótlái-, ill. termékszavatossági jogokat. Amennyiben léteznek ilyen jogok az On lakohelye szerinti országban, jelen jotállái nyilatkozatunk semmiben sem szúkiti és korlátozza azokat. A magunk részéröl 5 év jotállast adunk arra, hogy az On által vásárolt STEINEL professzionális érzekelő termek kifogástalan minóségú és rendesen működik. Szavatoljuk, hogy ez a termek mentes az anyaghíktól, a gyártási és szerkezeti hibáktól. Szavatoljuk továbbá, hogy az összes elektronikus alkatrész és kabel működóköpes, továbbá, hogy/GLEN alkalmazott szerkezeti anyag és azok felülete hibátlan.
Jotallasi igenyek ervenyesitese:
Amennyiben a termékével kapcsolatban reklamációval kiván élni, kérjuk, hogy a terméket hiánytalanul és bérmentesítve kuldje vissza a kereskedöjének vagy kozvetlenülnekünd a DINOCOOP Kft, Radvány u. 24, H-1118 Budapest címre, mellekelve az eredeti vásárlási bizonylatot, amelyen rajta kell lennie a vásárlás datumának és a termék elnevezésének. Ezert a garancia idő végéig ajánlatos gondosan megöriznie a vásárlásiBizonylatát. A visszaküldés során keletkező szállítási költségekér és kockázatokér t STEINEL nem vallal felelosséget.
A jotallás érvényésétéséról a www.steinel-professional.de/ garantie honlapunkon kap tajékoztatást.
Aennyiben a garancia körébe eső esemény következett be, vagy a termékével kapcsolatban szeretne kérdezni valamit, bármikor felhívhat pennünket a +36/1/3193064 szervizvonal számon.
5 ÉV GYARTOIGARANCIA
10. Mészaki adatok
- Méretek (Ma × SZ × Mé): 49,8 × 43,0 × 15,1 mm
-Feszültsegtartomány 9,5 VDC-22,5 VDC (IEC62368-101 szerint) - Áramfelvétel típusa DALI (16,5 V-nál): 2,7 mA
- Max. áramfelvétel DALI (Bemeneti áramerósség 22,5 V-nál): 9 mA
DALI-2 cimek: 1 - Bevitel: Száraz érzekelón / kapcsolón keresztül
-Bementek szama: 4
-Bemeneti sorkapcsolj jelolesei: K1, K2, K3, K4 - Max. gezetékhossz: 50 m
- Doboz max. hómér séklete: 75 °C
- Érintésvédelmi osztály: II. rendeltetésszerú használat esétén
- IP-védelmi osztály: IP 20
- Környezeti hómér séklet: -20 °C és +50 °C kozott
11. Hibaelhárítás
A berendezés nem kap feszültseget
-
Abiztositék nincs bekapcsolva vagy hibás.
-
Kapcsolja be a biztositékot.
Cserelje ki a hibasBiztositekot.
-A gezetek megszakadt.
Ellenőrìzze a vezétéket feszültsegvizsgáloval.
- Róvidzárlat a halózati betápvezétékben.
Ellenorizze a csatlakozásokat.
-Az esetleges halozati kapcsoló ki van kapcsolva.
- Kapcsolja be a halózati kapcsolót.
Notice-Facile