PC4 - Häftapparat STEINEL - Gratis bruksanvisning och manual
Hitta enhetens manual gratis PC4 STEINEL i PDF-format.
Ladda ner instruktionerna för din Häftapparat i PDF-format gratis! Hitta din manual PC4 - STEINEL och ta tillbaka ditt elektroniska enhet i hand. På denna sida publiceras alla dokument som behövs för att använda din enhet. PC4 av märket STEINEL.
BRUKSANVISNING PC4 STEINEL
- Om detta Dokument 123
- Allmanna sakerhetsanvisningar 123
- Produktbeskrivning 124
- Elektrisk anslutning 128
- Montage 129
- Rengöring och skötsel 134
- Avfallschantering 134
- Forsakran om overensstammelse 134
- Tillverkargaranti 135
- Tekniska data 138
- Åtgårdande av störningar 139
1. Om detta dokument
- Upphovsrättsligt skyddat. Eftertryck, även delar av texten, bara med vårt samtycke.
- Ändringar som görs p.g.a. den tekiska utvecklingen, forbehålles.

Varningforall!

Varning ffor fara genom elektrisk ström!
2. Allmännsa sakerhetsanvisningar

Fara om bruksanvisningen inte följs!
Bruksanvisningen innehåller viktig information För en saker hantering av armaturen. Särskild uppmärksamhet riktas mot eventuella faror. OmBruksanvisingen inte följs kan det leda till dödsfall eller allvarliga persorskador.
- Läs bruksanvisningen noggrant.
Följ sakerhetsanvisiningarna. -
Förvara den tillgangligt.
-
Hantering av elektrisk ström kan leda till farliga situationer. Kontakt med strömforande delar kan medforalelektrisk chock, brännssår eller leda till döden.
- Arbeten på nitspanninger fär endast genomföras av kvalificerad yrkespersonal.
- Installationsforeskrifter och anslutningskrav som gäller i respektive land skä iakttas (t.ex. DE: VDE 0100, AT: ÖVE-ÖNORM E8001-1, CH: SEV 1000).
- Använd endast originalreservdilar.
- Reparationer fär endast genomföras av professionella foretag.
3. Produktbeskrivning
Ändamälsenlig användning
- Gränsnitt für standard-installationsknapp.
- Lämpar sig für inbyggnad i en infälld dosa med ett minimidjup på 60 mm.
Icke andamalsenlig anvandning
- Anslutningarna på trycknappsenheten lämpar sig inte for natsponning.
Funktionsprincip
- Trycknappsenheten integrerar extra knappar i ett DALI ljuussystem.
- Upp till fyra standard-installationsknappar kan anslutas till varje trycknappsenhet.
- Trycknappsenheten ger signalen vidare über DALI till Application Controller (APC) / styrapparaten.
- Knapparnas Funktion kan programmeras fritt vid driftsättningen.
Leveransomfattning

3.1

1x

1x
-1tryckknappsenhet
-1sakerhetsdatablad
- 1 quick-start
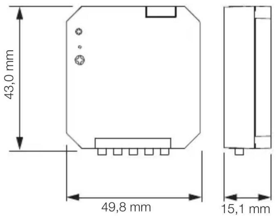
Matt
3.2

Översikt über encheter
3.3

SE
A Anslutningar knappar
B DALI-2-ingång
4. Elektrisk anslutning
Kopplingsschema
4.1



Nätanslutningen bestär av en fierledarkabel:
L = Fas (oftast svart, brun aller grä)
N = Neutralledare (oftast blå)
DA+ = Anslutning till DALI-buss (brun)
DA+ = Anslutning till DALI-buss (brun)
Kanaler / spanning knappar:
K1 = Kanal 1
K2 = Kanal 2
K3 = Kanal 3
K4 = Kanal 4
COM = spanning knappar
Knappkabel
- Maximalt 50 m lang.
- Måste laggas i en Separate plastmantlad ledning.
5. Montage

Fara p.g.a. elektrisk ström!
Kontakt med strömfürande delar kan medföra elektrisk chock, brännssår eller döden.
- Slå ifràn strömmen och avbryt spanningsförsörjningen.
- Kontrollera med spanningsprovare att alla ledninger ar spänningsfria.
- Set till att spanningen inte kan slås tilligen.
Risk for materiella skador!
En forvaxling av anslutningarna kan leda till kortslutning.
- Identificera anslutningsledningarna.
- Sammankoppla anslutningsledningarna korrekt.
Montageforberedelser
- Kontrollera samtiga delar med avseende på skador. Är armaturen skadad fär den inte tas i bruk.
Gör dig förtrogen med montagesituactionen och tillhörande dokument.
Välj en lämpig monteringsplats.
-Vibrationsfritt.
-Inte i explosionsfarliga miljoer.
-Inte på lättantändliga underlag.
5.1

- Ställ samman de verktyg och material som behövs: -skruvmejsel.
Montageordning
Användningsexempel: 1 knapp
5.2



- Kontrollera att spanningen ar franslagen.
- Anslut nätkabeln enlicht kopplingsschemat.
"4. Elektrisk anslutning"
Användningsexempel: 2 knappar

5.3



- Kontrollera att spanningen ar franslagen.
- Anslut nätkabeln enlicht kopplingsschemat.
"4. Elektrisk anslutning"
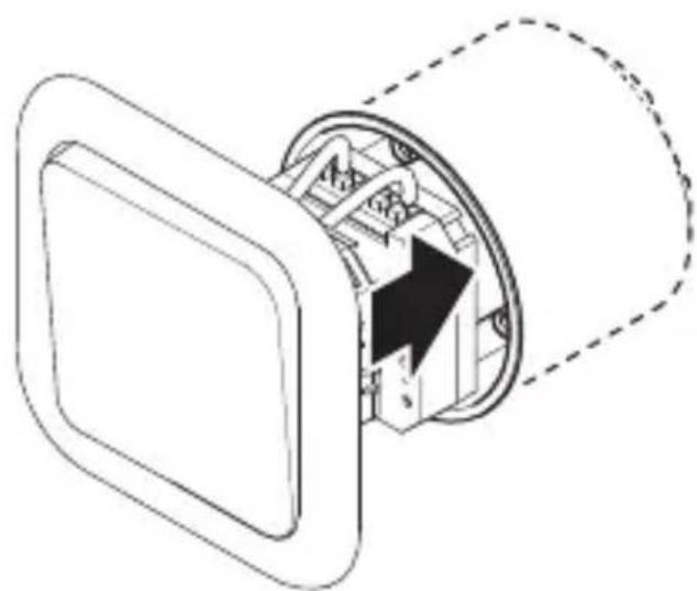
5.4

SE
Satt in tryckknappsenheten i dosan.
Satt pa knappen pa dosan.
5.5


- Slà till spanningen.
6. Rengöring och skötsel
Apparaten ar underhallsfri.

Fara p.g.a. elektrisk ström!
Om vattenkommen i Kontakt med strömforande delar kan det medföra elektrisk chock, brännsr erler dödsfall.
- Rengör bara apparaten när den ar torr.
7. Avfallshantering
Elapparater, tillbehör och Förpackning måste lämnas in till miljövänlig Återvinning.

Kasta inte elapparater i hushållssoporna!
Gäller endast EU-länder:
Enligt det gällande europeiska direktivet om uttjänta elektriska och elektroniska apparater och dess omsätting i nationell lagstiftning, måste uttjänta elapparater lämnas in till miljövänlig Återvinning.
8. Försakran om überensstammelse
Härmed förklarar STEINEL GmbH, att radioanlaggnings- typen tryckknappsenhet PC4-DALI-2 motsvarar 2014/53/ EU. Den fullständiga texten till EU-försakran om överensstammelse finns på följande internetadress: www.steinel.de
9. Tillverkargaranti
Tillverkargaranti STEINEL GmbH, Dieselstraße 80-84, DE-33442 Herzebrock-Clarholz, Tyskland
Allaprodukter från STEINEL uppyller högsta kvalitetsanspråk. Av den anledningen tillhandahäller vi som tillverkare dig som kund gärna en garanti enligt nedanstående villkor:
Garantin omfattar frihet fran brister, som bevisligen beror på att material- eller tillverkningsfel och omgående meddelas oss after att det konstaterats och inom garantitiden.
Garantin omfattar samtiga STEINEL Professional-produkter som kops och anvands i Tyskland.
Vår garanti För konsumenter
Nedanstäende bestammelser gäller für konsumenter. En konsument ar varje naturlig person som vid köptransaktionen varken utövar sin industriella eller självständiga yrkesverksamhet.
Du kan välja, om vi sca fullgöra garantin genom en gratis reparation, gratis utbyte (evtl. genom en lik- eller mervärdig, nyare modell) aller genom ett tillgodohavande.
Garantitiden for den STEINEL Professional-produkt som du köpt ar for sensorer, strålkastare, utomhus- och inomhus-belysning 5 ar alltid frän produktens inköpsdatum.
Vi Åtar oss transportkostnaderna För retursändningen men inte transportriskerna.
Vår garanti För foretagare
Företagare ar en naturlig aller juridisk person eller attät rättskapabelt personbolag som vid köptransaktionen utövar sin industriella eller självständiga yrkesverksamhet.
Vi avgör, om vi sca fullgöra garantin genom gratis Åtgårdande av bristerna, gratis utbyte (evtl. genom en lik- eller mervärdig, nyare modell) eller genom att tillgodohavande.
Garantitiden for den STEINEL Professional-produkt som du kocht ar for sensorer, strålkastare, utomhus- och inomhusbelysning 5 ar alltid frän produktens inköpsdatum.
Inom ramen for garantin ersätter vi inte dina utgifter som krävs vid en kompletterande prestation och inte dina utgifter vid utbyggnaden av den bristfälligaprodukten och inbyggnaden av en utbytesprodukt.
Garantirattigheter, kostnadsfrihet
De tjänster som beskrivs har gäller utöver de lagliga garantianspräken - inklusive särskilda skyddsbestammelser for konsumenterna - och begränsar eller ersätter inte dessa. Att utöva sina lagliga rättigheter vid brister arkostnadsfritt.
Undantaget fran garantin
Uttryckligen undantagna是从denna garantiär alla utbytbaraljuskallor.
Därutöver bortfaller garantin:
- vid normal Förslitning p.g.a. användning eller annan naturlig Förslitning på produktdilar erler brister på STEINEL Professional-produkten, som beror på normal Förslitning p.g.a. användning eller annan naturlig Förslitning,
- vid användning av Produkten für ändamål den inte är avsedd eller vid osakkunnig användning aller om bruksanvisningen ignoreras,
- om till- och ombyggnader resp. andra modifikationer på Produkten genomförs egenmaktigt aller om brister kan hänforas till att tillbehörns-, kompletterings- aller reservdeler inte ar STEINEL originaldeler,
- om unterhäll och skötsel av Produkten inte motsvarat bra克斯anvisningen,
- om montering och installation inte utförs enligt installationsbestämmlerserna från STEINEL,
- vid transportskador eller -forluster.
Tysk lags giltighet
Tysk lagstiftning gäller och undantaget År överenskommenelsen med Förenta Nationerna om avtal För den internationella varuhandeln (CISG).
Gora gallande
Om du vill ta din garanti i anspråk, sä skickar du din produit fullständig tillsammans med originalkvittot,)där köpedatum och produktbeteckning maste framgå, till din Återförsäljare eller direkt till oss, Karl H Ström AB, Verktygsvägen 4, SE-55302 Jönköping. Därfor rekommenderar vi att du sparar kvittot väl tills garantitiden har gätt ut.
10. Tekniska data
- Mått (H × B × D): 49,8 × 43,0 × 15,1 mm
-
Spanningsområde: 9,5 VDC -22,5 VDC (enligt IEC62368-101)
-
Typ. strömfürbrukning DALI (vid 16,5 V): 2,7 mA
-
Max. strömfürbrukning DALI (inkopplingsström vid 22,5 V): 9 mA
-
DALI-2 adresser: 1
-Inmatning over: Potentialfri knapp/brytare -
Antal ingångar: 4
-
Ingångsansluttingens märkning: K1, K2, K3, K4
- Max. ledningslangd: 50 m
- Max. hystemperatur: 75 °C
- Isolationsklass: II. vid korrekt användning
- IP-skyddsklass: IP 20
- Omgivningstemperatur: -20 °C till +50 °C
11. Åtgårdande av störningar
Apparatenutan spanning
-
Säkringen inte pāslagen eller defekt.
-
Tillkoppla sakringen.
- Byt ut den defekta sakringen.
-Avbrottikabel.
- Kontrollera kabeln med spanningsprovare.
-Kortslutning i nataanslutningen.
- Kontrollera anslutningarna.
- Eventuellt befindlig nätströmbrytare FRÄN
- Slå till strömbrytaren.
DK
Indhold
- Indsæt kontaktsammenkobleren i dåsen.
Sæt kontakten på dåsen.
5.5


Nettledningen bestär av en flerledet kabel:
11. Utbedring av feil
- Brudd på ledningen.
- Kontroller ledningen med spenningstester.
-Kortslutning i nettledningen. - Kontroller koblingene.
- En eventuell ledningsbryter er slätt av.
- Slå på nettbryteren.
Notice-Facile