PC4 - Segtuvas STEINEL - Nemokama naudojimo instrukcija
Raskite įrenginio instrukciją nemokamai PC4 STEINEL PDF formatu.
Atsisiųskite instrukciją savo Segtuvas PDF formatu nemokamai! Raskite savo instrukciją PC4 - STEINEL ir vėl perimkite savo elektroninį įrenginį. Šiame puslapyje skelbiami visi dokumentai, reikalingi jūsų įrenginio naudojimui. PC4 prekės ženklo STEINEL.
NAUDOJIMO INSTRUKCIJA PC4 STEINEL
- Autoriu teisès saugomos. Perspaasdinti, taip pat ir atskiras ištraukas, leidžiama tik gavus mūsù sutikimā.
- Pasiliekama teisi daryti pakeitimus techninio tobulinimotikslais.

Ispejimas apie pavojus!

Ispejimas apie elektros pavoju!
2. Bendrieji saugos nurodymai

Pavojus del naudiojimo instrukcijos nesilaikymo!
Šioje instrukcijoe pateikta saugaus elgesio su prietaisu informacija. Didžiausias demesys kreipiamas j galimus pavojus. Nesilaikant nurodymu galimi mirtini arba sunkūs sužalojimai.
- Kruopschiai perskaitykite instrukcija.
- Laikykitès saugos nurodymu.
-
Laikykite pasiekiamoje vietoje.
-
Dirbant su elektros srove galimos pavojingos situacijos. Prisilietus prie daliu, kuriomis teka srové, galima patirti smūgi, nudegimus arba Žūti.
- Darbus, susijusius su tinklo jtampa, gali atlikti tik kvalifikuoti darbuotojai.
- Būtina laikytis šalyje galiojančiu jrengimo instrukciju ir prijungimo reikalavimu (pvz., DE: VDE 0100,
Naudiojimas pagal paskirtj
- Sasaja jprastiems montavimo mygtukams.
- Tinka montuoti j jleidžiamajá déžute, kurios gylis nažesnis kaip 60 mm.
Naudiojimas ne pagal paskirti
- Mygtukujungiklio juntgys nepritaikytos tinklo jtampai.
Veikimo principales
- Mygtuku sujungiklis integruoja papildomus mygtukus j DALI apšviétrimoSYSTEM.
- Prie kiekvieno mygtuku sujungiklio galima prijungti iki keturiu jprastu montavimo mygtuku.
- Mygtuku sujungiklis perduoda signalus per DALi j taikomuju programu valdiklj (APC) / valdymo bloka.
- Mygtuky funkcijos laisvai programuojamos pirmojo paleidimo metu.
Tiekiamas komplektas
3.1


1x

1x
-1 mygtukujungiklis
- 1 saugos duomenu lapas
- 1 greitojo paleidimo vadovas
LT
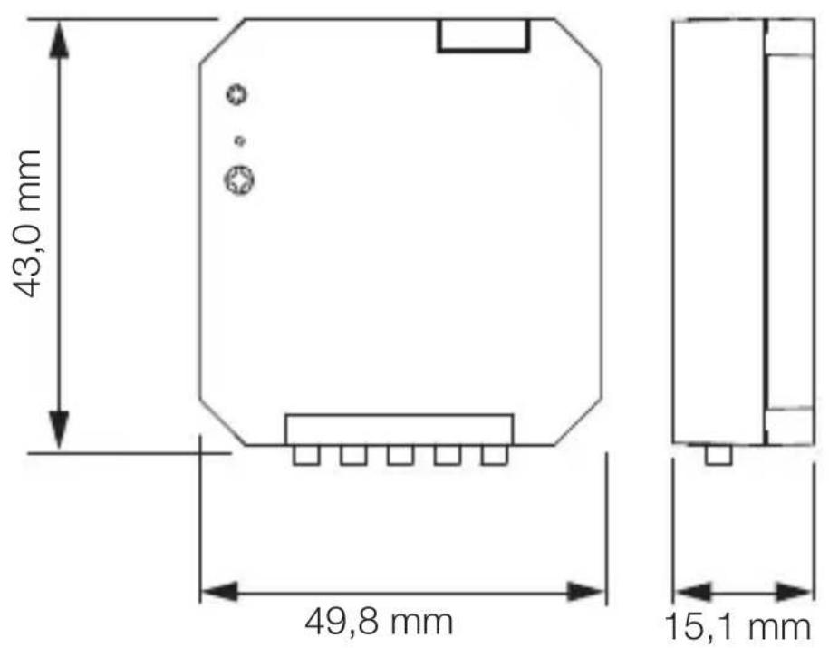
Gaminio matmenys

3.2
Prietaiso apzvalga
3.3

A Mygtukj juntgys
B DALI-2 jvadas
LT
4. Elektros jungtis
Elettros schemas
4.1



Tinklo laida sudaro daugiagyslis kabelis:
L = Fazé (dažniausiai juodas, rudas arba pilkas)
N = Nulinis laidas (dažniausiai melynas)
DA+ = Prijungimas prie DALI magistrales ( rudas)
DA+ = Prijungimas prie DALI magistralès ( rudas)
Kanalai / maitinimo mygtukas:
K1 1 Kanalas
K2 2 Kanalas
K3 3 Kanalas
K4 4 Kanalas
COM = Maitinimo mygtukas
Mygtukkabelis
- Maks. 50 milgio.
- Turi buti paklotas atskiru kabeliu su plastikiniu apvalkalu.
5. Montavimas

Elektros srové kelia pavoju!
Prisilietus prie daliu, kuriomis teka srové, galima patirti smūgi, nudegimus arba Žūti.
- Išjunkite srove ir nutraukite elektros energijos tiekima.
- Jtamos indicatorium patikrinkite, ar nera jtamos.
- Jsitikinkite, kad elektros energijos tiekimas nutrauktas.
Turtiniu nuostoliu pavojus!
Jungiamuju laidu sukeitimas gali sukelti trumpaji jungima.
- Identifikukite jungiamuosius laidus.
- Tinkamai prijunkite jungiamuosius laidus.
Pasiruosimas montavimui
- Patikrinkite visas dalis, ar nera pažeidimu. Jei prietaisas yra pažeistas, jo nenaudokite.
- Susipažinkite su surinkimo situacija ir susijusiais dokumentais.
- Pasirinkite montavimo vieta.
-Be vibraciños.
-Ne potencialiai sprogioje zonoje.
-Ne ant lengvai užsidegančiμ paviršiμ.
5.1

- Surinkite reikiamus jrankius ir medziagas: -Atsuktuvas.
Montavimo eiga
Taikymo pavyzdys: 1 mygtukas
5.2



Užtikrinkite, kad butu atjungtas jtampos tiekimas.
- Prijunkite maitinimo linija pagal elektros schema.
→,4. Elektros jungtis"
LT
Taikymo pavyzdys: 2 mygtukas

5.3



Užtikrinkite, kad butu atjungtas jtampos tiekimas.
- Prijunkite maitinimo linija pagal elektros schema.
4. Elektros jungtis
5.4

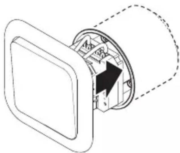
- I dežute jstatykite mygtuku sujungiklj.
- Mygtuka uždékite ant dežutes.
5.5


- Junkite elektros srovës tiekima.
LT
6. Valymas ir priežiūr
Prietaisui techniné priežiūra nereikalinga.

Elektros srové kelia pavoju!
Ant daliu, kuriomis teka srové, patekus vandens galima patirti elektros smugj, nudegimus arbaŽuti.
Prietaisa valykite tik sausos buklles.
7. Šalinimas
Elektros prietaisai, priedai ir pakuotes turi buti perdirbami aplinkai nekenksmingu budu.

Neišmeskite elektros prietaisu kartu su buitinémis atliekomis!
Tik ES šalims
Remiantis galiojanica Europos Sajungos Direktyva del elektros ir elektronikos jrangos atlieku ir jos Perkinsimo j nacionaline teise, nebetinkami naudoti elektros prietaisai turi buti renkami atskirai ir perdirbami aplinkai nekenksmingu budu.
8. Atitiktis
"STEINEL GmbH" pareiskia, kad radijo ryšio jtaisas mygtuku sujungiklis PC4-DALI-2 atitinka Direktyvos 2014/53/ES reikalavimus. Visa ES atitikties deklaracijos tekstá rasite šiuo adresu internete: www.steinel.de
9. Gamintojo garantija
Kaip pirkëjas, priereikus, turite jums jstatymu suteiktas teises, reiskiamas pardavëjui. Jeigu šios teasës egzistuoja jusu šalyje, mūsü garantija ju negalisumažinti arba apriboti. Suteikiame jums 5 metu garantija užtikrindami puikias savybes ir sklandu „STEINEL-Professional“ sensorinio gaminio veikima. Garantuojame, kad šiame gaminye nera medziagos, gamybos ir konstrukciniu defektu. Garantuojame sklandu visu elektroniniu daliu ir kabeliu veikima ir užtikriname, kad visos naudotos medziagos ir ju paviršiai yra be trukumu.
Galiojimas:
jeigu norite pareikstipretenzija del gaminio, atsijskite jj visa, apmokejegabenimo išlaidas, su originaliu pirkimo dokumentu, kuriameturi buti nurodyta pirkimo data ir pavadinimas, pardavejui iš kurio pirkote arba STEINEL atstovui Lietuvoje UAB KVARCAS (Neries krantine 32, Kaunas) arba tiesiaigamintojui šiuo adresu: Neries krantine 32, LT-48463 Kaunas. Todel rekomenduojame pirkimo dokumenta saugoti iki garantinio laiko pabaigos. STEINEL nedengia gabenimo išlaidu ir neatsako už rizika gražinant. Informacijos kaip pasinaudoti garantine teise rasite mūsu svetainéje info@kvarcas.lt.
Garantinio ivykio atveju arba jeigu turite klausimu, susijusiu su šiuo gaminiu, bet kada galite skambinti STEINEL atstovui Lietuvoje UAB KVARCAS (8-37-408030) arba tiesiogiai gamintojui jo aptarnavimo skyriaus budincija linija 8-37-408030.
10. Techninai duomenys
- Matmenys (A × P × G): 49,8 × 43,0 × 15,1 mm
-
I tampos diapazonas: 9,5 VDC-22,5 VDC (pagal IEC62368-101)
-
Tip. elektros suvartojimas DALI (esant 16,5 V): 2,7 mA
- Maks. elektros suvartojimas DALI (jjungimo srové esant 22,5 V): 9 mA
DALI-2 adresai: 1 - lvestis per: bepotencialis mygtukas / jungiklis
- Ivesciug kiekis: 4
- lvesties gnybtu zenklinimas: K1, K2, K3, K4
- Maks. laido ilgis: 50 m
- Maks. korpuso temperatura: 75 °C
- Saugos klase: II. naudoant pagal paskirtj
- IP apsaugostips: IP20
- Aplinkos temperatūrā: nuo - 20 iki + 50 °C
11. Trikciu salinimas
Prietaise nera jtampos.
-
Saugiklis nejjungtas arba sugedes.
-
Junkite saugiklj.
-
Pakeiskite sugedusj saugiklj.
-
Nutrūko laidas.
- Jtamos indicatorium patikrinkite linija.
- Tinklo jvade jvyko trumpasis jungimas.
- Patikrinkite jungtis.
- Issijungé tinklo jungiklis (jei yra).
- Junkite tinklo jungiklj.
LV
Sats
- Par šo dokumentu 367
- Vispareji drošibas noradijumi 367
- Ierices apraksts 368
- Elektriskais pieslęgums 372
- Montaža 373
- Tirisana un kopsana 378
- Utilizacija 378
- Atbilstiba 378
- Ražotāja garantija 379
- Tehniskie dati 380
- Traucejumu noversana 381
1. Par šo dokumentu
- Autortiesibas ir aizsargatas. Pärpublicesana, ari atsevisku izvilkumu veidā, tikai ar mūsu atlauju.
- Paturam tiesibas veikt izmainas, kas saistitas ar tehnikas attistibu.

Notice-Facile