PC4 - Nietmachine STEINEL - Gratis gebruiksaanwijzing en handleiding
Vind de handleiding van het apparaat gratis PC4 STEINEL in PDF-formaat.
Download de handleiding voor uw Nietmachine in PDF-formaat gratis! Vind uw handleiding PC4 - STEINEL en neem uw elektronisch apparaat weer in handen. Op deze pagina staan alle documenten die nodig zijn voor het gebruik van uw apparaat. PC4 van het merk STEINEL.
GEBRUIKSAANWIJZING PC4 STEINEL
- Over dit document 56
- Algemene veiligheidsvoorschriften 56
- Beschrijving van het apparatus 57
- Elektrische aansluiting 61
- Montage 62
- Schoonmaken en verzorgen 67
- Verwijdersen 67
- Conformiteit 67
- Fabrieksgarantie 68
- Technische gegevens 71
- Verhelpen van storingen 71
NL
1. Over dit document
- Rechten uit het auteursrecht voorbehonden.
Vermenigvuldiging, ook van delen van deze handleiding, is alleen met once toestemming geoorloofd.
- Wijzigingen in het kader van de technische vooruitgang voorbehonden.

Waarschuwing voor gevaar!

Waarschuwing voor risico's door elektriciteit!
2. Algemene verilgheidsvoorschriften

Gevaar door nicht naleving van de gebruiksaanwijzing!
Deze gebruiksaanwijzing bevat belongingsrijke informatie inzake een veilige omgang met het apparaat. Er worden in het bijzonder gewezen op möglichke risico's. Indien deze informatatie Niet worden nageleefd, kan dit ernstig lichamelijk letsel en zelfs de dood tot gevolg hebben.
-
Gebruiksaanwijzing zorgvuldig doorlezen.
Veiligheidsvoorschriften naleven.
Toegankelijk bewaren. -
Door de omgang met elektrische stroom{kunnen gevaarlijke situatuies ontstaan. Het aanraken van stroomvoerende componenten kan een elektrische schok, verbrandingen of zelfs de dood tot gevolg hebben.
- Werkzaamheden aan de netspanning mogen uitsluitend door gekwalificeerd vakpersoneel worden uitgevoerd.
- De nationale installmentevoorschriften en aansluitvoorwaarden要去en worden nageleefd (bijv. DE: VDE 0100, AT: ÖVE-ÖNORM E8001-1, CH: SEV 1000).
- Gebruik uitsluitend originele reserveonderdelen.
- Reparaties mogen uitsluitend door een vakbedrijf worden uitgevoerd.
3. Beschrijving van het apparaat
Gebruik volgens de voorschriften
- Interface voor gebruikelijke schakelaars.
- Voor inbound in een min. 60 mm diepe inbounddoors.
Ondoelmatig gebruik
- De aansluitingen op de schakelaarkoppeling zichn nicht geschikt voor netspanning.
Functieprincipe
- De schakelaarkoppeling zorgtervoordatmeer schakelaars geintegreerd worden in een DALI-lichtsystem.
- Er können max. vier gebruikelijke schakelaars worden aangesloten op elke schakelaarkoppeling.
- De schakelaarkoppeling stuart de signalen via DALI verder maar de Application Controller (APC) / het besturingsapparaat.
- De werkung van de schakelaars kan vrij geprogrammeerd worden bij de ingebruikname.
Bij de levering inbegren
3.1


1x

1x
-1 schakelaarkoppeling
-1veiligheidsinformatatieblad
- 1 Quick-Start
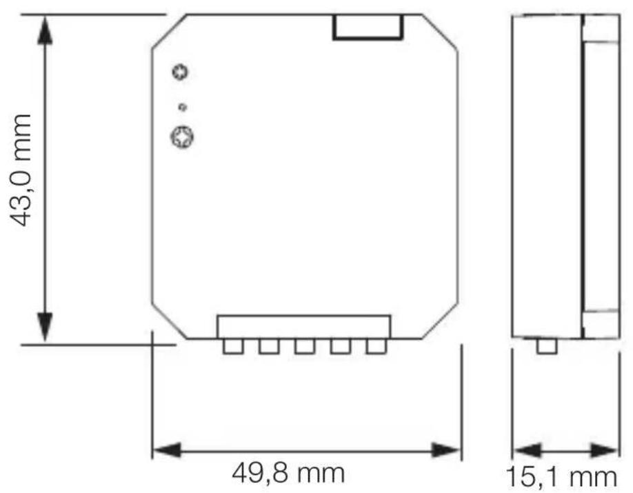
Afmetingen product
3.2

NL
Overzicht apparatus
3.3

A Aansluitingen schakelaars
B DALI-2-ingang
4. Elektrische aansluiting
Schakelschema's
4.1



NL
De stroomtoevoer besteht uit eenmeerpolige kabel:
L = fase (meestal zwart, bruin of grijs)
N = nuldraad (meestal blauw)
DA+ = aansluiting op de DALI-BUS ( bruin)
DA- = aansluitingopdeDALI-BUS(bruin)
Kanalen/voeding schakelaars:
K1 = kanaal 1
K2 = kanaal 2
K3 = kanaal 3
K4 = kanaal 4
COM = voeding schakelaars
Schakelaarkabel
- Maximaal 50m lang.
- Dienen in een afzonderlijke leiding met kunststof ommanteling te worden gelegd.
5. Montage

Gevaar door elektrische stroom!
Het aanraken van stroomvoerende componenten kan een elektrische schok, verbrandingen of zichs de dood tot gevolg hebben.
- De stroom uitschakelen en de spanningstoevoer onderbreken.
- Controller m.b.v. een spanningstester dat er geen spanning op staat.
- Zorg ervoor dat de spanningstoevoer onderbroken blijft.
Gevaar voor beschadigingen!
Het verwisselen van de kabels kan kortsluiting tot gevolg hebben.
- Identificier de aansluitkabels.
- Aansluitkabels correct verbinden.
Montagevoorbereiding
- Alle onderdelen controleren op beschadigingen. Neem de lamp bij beschadigingen nicht in gebruik.
- Zorg ervoor dat u de montagesitua tie en de bijbehorende documenten goed kent.
- Geschekte montageplaats kiezen.
-Trillingsvrij.
-Niet in een explosieve omgeving monteren.
-Niet oplicht ontvlambare oppervlakken monteren.
5.1

NL
- Stel het benodigde gereedschap en materiaal samen: -schroevendraaier.
Montagestappen
Toepassingsvoorbeeld: 1 schakelaar
5.2



- Zorg ervoor dat de spanningstoevoer isuitgeschakeld.
- Stroomtoevoer volgens schakelschema aansluten.
"4. Elektrische aansluiting"
Toepassingsvoorbeeld: 2 schakelaars

5.3

- Zorg ervoor dat de spanningstoevoer isuitgeschakeld.
- Stroomtoevoer volgens schakelschema aansluiten. "4. Elektrische aansluiting"
5.4

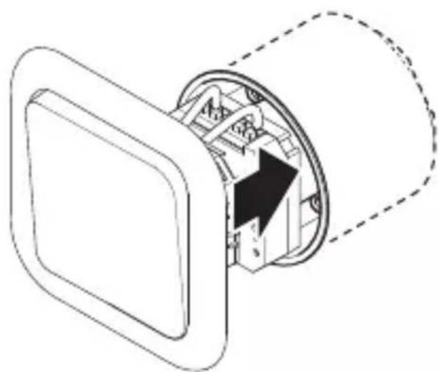
- Plaats de schakelaarkoppeling in de doos.
- Plaats de schakelaar op de doos.
5.5


Schakel de stroomtoevoer in.
6. Schoonmaken en verzorgen
Dit apparaat is onderhoudsvrij.

Gevaar door elektrische stroom!
Het contact van water met stroomvoerende componenten kan een elektrische schok, verbrandingen of zichs de dood tot gevolg hebben.
- Reinig het apparaat alleen in droge toestand.
7. Verwijdersen
Elektrische apparaten, toebehoren en verpakkingen dienen milieuvriendelijk gerecycled te worden.

Doe elektrische apparaten nicht bij het huisvuil!
Alleen voor EU-landen:
Conform de geldende Europese richtlij voor verbruikte elektrische en elektronische apparatuur en hun implementationatie in nationaalrecht, dienen Niet langer bruikbare elektrische apparaten gescheden ingezameld en milieuvriendelijk gerecycled te worden.
8. Conformiteit
Hiermee verklaart de firma STEINEL GmbH dat de draadloze installmentie schakelaarkoppeling aan PC4-DALI-2 2014/53/EU voldoet.
De volledige tekst van de EU-conformiteitsverklaring is beschikbaar onder het volgende internetadres: www. steinel.de
9. Fabrieksgarantie
Fabrieksgarantie van de firma STEINEL GmbH, Dieselstraße 80-84, DE-33442 Herzebrock- Clarholz, Duitsland
Alle producten van STEINEL voldoen aan de hoogste kwaliteitseisen. Daarom geen wij als fabrikant u als klant graag garantie volgens de onderstaande voorwaarden:
De garantie dekt de vrijheid van gebreken die aantoonbaar te wijtenঃ aan materiaal- of fabricagefouten en die onmiddelijk na ontdekking en binnen de garantieperiode aan ons worden gemeld. De garantie geldt voor alle STEINEL Professional-producten die in Nederland worden gekocht en gebruikt.
Onze garantiediensten voor consumpenten
De volgende regelingen zijn van toepassing op consumen- ten. Een consument is iedere natururlijke persoon die bij afsluiting van de koop Niet in uitoefening van zich commerciale of oneselfige beroep handelt.
U heeft de keuze of wij garantie verlenen door het product Gratis te repareren, Gratis te verrangen (eventueel door een opvolgend model van bezelfde of hogere kwaliteit) of een creditnota uit te schrijven.
De garantieperiode voor het door u gekochtte STEINEL Professional-product bedraagt voor sensoren, breedstralers, buiten- en binnenarmaturen 5aar vanaf de datum van aankoop van het product.
Wij nemen de transportkosten voor unsere rekening, maar nicht de transportrisico's van de retourzending.
Onze garantiediensten voor ondernemers
De volgende regelingen zijn van toepassing op ondernemers. Een ondernemer is een tatsächlijke of rechtspersoon of een personenvennootschap metrechtspersoonlijkheid, die bij afsluiting van de koop in uitoefening van zichn commerciale of zichstandige beroep handelt.
Wij hebben de keuze om de garantie te verlenen door de gebreken kosteloos te verhelen, het product kosteloos te verrangen (eventueel door een opvolgend model vandezelfde of betere kwaliteit) of een creditnota uit te schrijven.
De garantieperiode voor het door u gekochtte STEINEL Professional-product bedraagt voor sensoren, breedstralers, buiten- en binnenarmaturen 5aar vanaf de datum van aankoop van het product.
In het kader van de garantieservice dragen wij Niet uw kosten dieoodzakelijk zijn voor de uitvoering achteraf en dragen wij Niet uw kosten voor de verwijdering van het defecte product en de installmentie van een verrangend product.
Wettelijk rechten bij gebreken, kostenoosheid
De hier beschreiben diensten gelden als aanvulling op de wettelijkke garantierechten – met inbegrip van speciale beschemende bepalingen voor consumpenten – en beperken of verrangen deze Niet. De uitoefening van uw wettelijkke rechten in geval van gebreken is kostenoos.
Uitzonderingen op de garantie
Uitdrukkelijk uitgesloten van deze garantie zijn alle verwangbarelichtbronnen.
Verder is garantie uitgesloten:
- bij een door het gebruik veroorzaakte of andere natuurlijke slijtage van productonderdelen of gebreten aan het STEINEL Professional-product, die het gevolg zichn van gebruiksslijtage of andere natuurlijke slijtage,
- bij een nicht regelconform of onjuist gebruik van het product, of indien de bedieningsinstructies Niet werden nageleefd,
-
wonneer aanpassingen en andere veranderingen eigenmachtig werden uitgevoerd bij het product of de gebreken veroorzaakt worden door het gebruik van accessoires, aanvullende onderdelen of reserveonderdelen die geen originele STEINEL-delen zich,
-
indien het onderhoud en de verzorging van de producten Niet conform de bedieningshandleiding werden uitgevoerd,
- wanneer de montage en installationiet nicht volgens de installmentevoorschriften van STEINEL werden uitgevoerd,
- bij transportschade of -verliezen.
Geldigkeit van het Duitserecht
Op deze voorwaarden is Duitsrecht van toepassing, het Weens Koopverdrag (CISG) wordenuitgesloten.
Garantie claimen
Indien u aanspraak wilt make op de garantie, stuur uw product dan samen met het originele aankoopbewijs met vermelding van de aankoopdatum en de productaanduiding maar uw specialzaak ofrechtstreeks waar ons: Van Spijk B.V., De Scheper 402, NL-5688 HP Oirschot. Wij adviseren u waarom uw aankoopbewijs zorgvuldig te bewaren tot de garantieperiode is verlopen.
-Afmetingen (H× B× D) .. 49,8× 43,0× 15,1mm
- Spanningsbereik: 9,5 VDC -22,5 VDC (volgens IEC62368-101)
Typ. stroomverbruik DALI (bij 16,5 V): 2,7 mA
- Max. stroomverbruik DALI (inschakelstroom bij 22,5 V): 9 mA
- DALI-2 adressen: 1
- Invoeren via: potentiaalvrije schakelaar
-Aantal ingangen: 4
-Aanduiding van de ingangsklemmen: K1, K2, K3, K4
- Max. kabellengte: 50 m
- Max. behuizingtemperatuur: 75 °C
- Beschermingsklasse: II. bij doelmatig gebruik
- IP-bescherming: IP 20
- Omgevingstemperatuur: -20 °C tot +50 °C
11. Verhelpen van storingen
Apparaat zonder spanning.
-
Zekering nicht ingeschakeld of defect.
-
Zekering inschakelen.
Defecte zekering verrangen. -
Kabel onderbroken.
- Kabel testen met spanningstester.
- Kortsluiting in de stroomtoevoer.
- Aansluitingen controlleren.
- Eventueel aanwezige netschakelaar UIT.
- Netschakelaar inschakelen.
Notice-Facile