PC4 - Συρραπτικό STEINEL - Δωρεάν εγχειρίδιο χρήσης
Βρείτε δωρεάν το εγχειρίδιο της συσκευής PC4 STEINEL σε μορφή PDF.
Κατεβάστε τις οδηγίες για το Συρραπτικό σε μορφή PDF δωρεάν! Βρείτε το εγχειρίδιό σας PC4 - STEINEL και πάρτε ξανά την ηλεκτρονική σας συσκευή στα χέρια σας. Σε αυτή τη σελίδα δημοσιεύονται όλα τα έγγραφα που απαιτούνται για τη χρήση της συσκευής σας. PC4 της μάρκας STEINEL.
ΕΓΧΕΙΡΊΔΙΟ ΧΡΉΣΗΣ PC4 STEINEL
- Σχετικά με auto to ἔγγραφο 189
- i c UTOδεiEεiC aσφáλεiac 189
- Περιγραφή συσκεύncy 190
- Hλεκτρική σύνδεση 194
- ţuvapμoλóynση 195
- Kaθαρισμός και φροντίδα 200
- AToOpOg 200
- 200
- Eyyunon kataokvaaotn 201
- Tεχνικα δεδομένα 202
- AnokataoTaon 203
1. Σχετικά με αυτό το ἐγγραφο
- KaToxupwEvn TExyovwOia. Avatunwn, akoua ka aOnoanaogataK, mOvo katOniv diknc mac ykpioc.
- Mε επιφύλαξη τροποποιόεων, σι οποίες εξυπηρετούν στην τεχνολογίκή πρόδο.

PpOeIoToiOnn EvWtiov KIVdUvw!

PpOeIoOnoN eVwTIOv KIVduvou λoyw pεúμaTOc!
2. Γενικές Αποδείξεις ασφάλειας

Kivduvoç λóyw μη τήρησης των oδnyiw χρόσης!
Oi npoouc oynic npiexouv onmuavtkc pi npoopiec yia tov aofaun xepioo tnc ouokueuc. Eianmaivetai iiaitepa n npooxn oe duvtikouc kivdvouc. H un npon npopei va npokaesoi thavato n oapouc trauatouc.
- i a a προσεκτικά τις ὅδηγίες.
AkoouthetaTic uno8eiEic a0phaiaac. - u a p o o a o i p o c.
-H xpno n nEKTpiko u pUaTOc mTOpE i va oNynoE i e EpiKivduve c kataotaoic. H ePn npu a tofopwv Eapntmuatow u npokaloei nEKTpko oK, Eyauna ta n kai thavato.
-H epyaia oE nAekptpkn taon npEeI va EKTeIaI aIO i u v o pOoWNIKO.
- Πρέπειν τηρούνται συνήθεις προδίayραφές
- εγκατάστασης και σόροι συνδεόης που ἀχύουν στην
- εκάστοτε χώρα (π.χ DE: VDE 0100, AT: ÖVE-ÖNORM E8001-1, CH: SEV 1000).
- Xpnooioiεiε muo yvnoia avtaaakiká.
- OI επιδιορθώσεις επιτρέπονται μόνο από αρμόδιους TΕχνικΟύς.
3. Περιγραφή συσκεύης
Xpno n oμωva με touc kavovioouc
- Δεπαφή γία πλήκτρα εγκατάστασης του εμπορίου.
- Kaṭáλληλo για ενοωμάτωση σε ενδοτοίχο κουτί με ελάχιστο βάθος 60 mm.
Xpno n oxi ouoova e touc kavovioouc
- OI ouvóéoεic oε ouζéuktn Επaφων δεν εívai katáληλες γia táση δικτύου.
Apxñ λειτουργίας
- O σύζεύκτης επαφών ενοωματώνει πρόσθετα πλήκτρα σε σύστημα φωτός DALI.
- Mπopoύν va συνδεθουν ἔως και τέσοερα πλήκτρα εγκα-táστασης του εμπορίου σε κάθε σύζεύκτη Επαφών.
- O συζεύκτης επαφών μεταβίβάζει σήματα μέοω DALI σε Application Controller (APC) / συσκεύη.
- H λειουργία του πλήκτρου μπορείνα προγραματιοτεί κατά τη θέση σε λειουργία.
περιεχόμενο συσκευασίας

3.1

1x

1x
-1 ouεukntnc επaφωv
-1Φuλáδio δεδομένων aσφáλεια
-1 ypnyopn EKKivnon
Δiaστáσεις προίόντος

3.2
Eπιοκόπηση συσκεύncy
3.3

GR
A u v i c πλήκτρο
B DALI-2-εισοδοι
4. Hλεκτρική σύνδεση
Σχέδια συνδεσμολογίας
4.1
1
0
O aywyoc trophiobosiaac anotelitai ano kaalwio nolawv oupuatow:
L = Φáση (συνήθως μαύρο, καφέ ἡ γκρι)
N = Ouδéτερος αγωγός (συνήθως μπλε)
DA+ = Σúδvεση σε DALI-BUS ( καφέ)
DA- UvδεσησεDALI-BUS(kaΦε)
Kaváλia / τροφοδσσία πλήκτρο:
K1 = Kaváλι 1
K2 = Kaváλι 2
K3 = Kaváλi 3
K4 = Kaváλι 4
COM = TpoΦoδσία πλήκτρο
Kaλωδio πλήκτρού
- Méyiσti μήκος 50 m.
- Πρέπεινα τοποθετηθείσε μεμουωμένο αγώγό με πλαστικό περιβλημα.
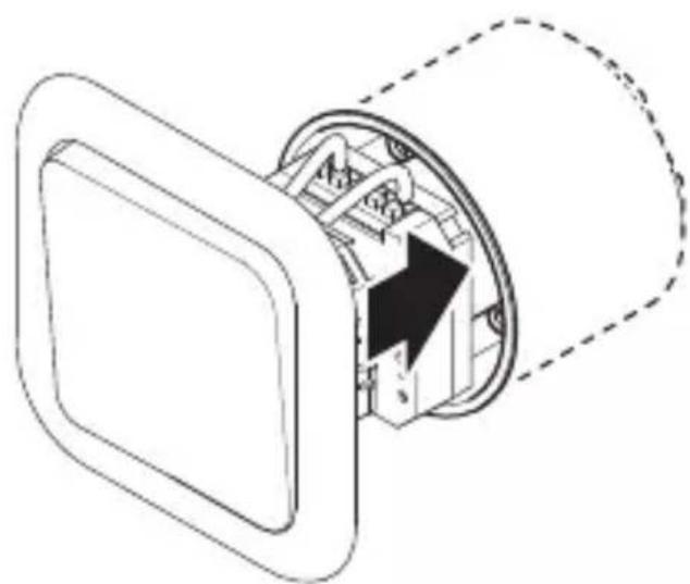
5. ţυναρμολόγηση

Kivduvoç λóyw ηλεκτρικού ρεύματος!
H επαφή ρευματοφόρων εξαρτηματων μπορείν α προκα-λεσει ηλεκτρικό σοκ, εγκαύματa ἡ και θάνato.
- Anévεpyoioiετο ηλεκτρικό ρεύμα kal διακόπτετην τροφοδσία τάσς.
- Eλέγχετε με δοκιμαστικό τάοης av ἐχει διακοπείη τροφοδοσία τάοης.
Bεβαιωθείτε οτι η τροφοδοσία τάοης παραμένει διακεκομενη.
Kivouoc uikow znmuov!
H avioptpofn twv aywyw ouvdsoc mnpεi va npokalε-σεβpaxukkλωμa.
- Ppooδiopioε Touc aywyouc ouvδεοηc.
- Συνδεοτε σωστα touc ayωγους αύνδεοης.
- Eλέγχετε ολa Ta εξαρτήμata για Tuxóν ζημίες. Σε περίπτωση βλαβών δεν επιρέπεται ηλειτουργία της συοκεύncyς.
- Eξοικειωθείτε με την κατάσταση συναρμολόγησες κατα οχετικά ἔγγραφα.
- Eπιλέγετε κατάληλο σημείο εγκατάσταοής. -Xωρίς κραδασμούς.
-Ox i oE περioXéC nou npouoiáOuv kivduvo ekpnIeNc. -Ox i επávw oE eUΦλEKTEC eπiΦavEIEc.
5.1

- Συγκεντρώσε τα απαραιτητα εργαλεία και υλικά: -Κατοαβίδι.
Bnmuata ykataoTaonc
Papáδειγμα εφαρμούης: 1 πλήκτρο
5.2



GR
BεβaiwveoTe oTn trophiobooia tao n c iva anevepyo- ToinμEvn.
- ţuvδεετε Tov aywyó peúmuatoç σύμφωva με TÓ σχέδio συνδεσμολoyiac.
→«4. Hλεκτρική σύνδεση»
Papáδειγμα εφαρμούης: 2 πλήκτρο

5.3



BεβaiwveoTe oTn Tpofoobooia Taonc Eiva aEvpyo- Toinμevn.
- Συνδέετε TOV aywyó ρεύμaTOC σύμφωVA με TO σχέδIO
συνδεσμολoγίας.
→«4. Hλεκτρική σύνδεση»
5.4

- u v Tov u a v p i a .
ToioeTeTe To nKtpo otnv npizca.
5.5


- Evεργοποιείτε τήν τροφόδσα ρεύματος.
6. Kaθαρισμός και φροντίδα
H ouokεuδev xpeiaετai ouvtnpon.

Kivduvoç λóyw ηλεκτρικού ρεύμaτος!
H επaφή τουνερού μερευματοφόρα εξαρτήματα μπορείνα προκαλέσει ηλεκτρικό σοκ, εγκαύματαή και θάνato.
Kaθapiotε tη σωκευήσε οτεγνή κατασταη.
7. Aπόσυροη
Oi nεκτρικές συοκεύές, ta εξαρτήματa καιοι συοκεύασες πρεπείνανακικλώνονται με τρόπο φιλικό προς το περιβάλλον.

επιτρέπεται va πετάτε ηλεκτρικές συσκεύές στα oiklaκα απορρίματa!
Móvo yia xwρεç EE:
Σúφωva με Νγνιχύουσa Eupωπaikή Μδηγία με αχροτες Μλεκτρικές και Μλεκτρονικές συακευές και Κγν εφαρμογή Κης εθυκό δικαι πρεπειού αχροτες πλέον Μλεκτρικές συακευές va απούρονται ἐχωριστά και να δηγούνται σε ανακύλωση φιλική προς το περιβάλλον.
8. Συμόρφωση
H εταρεία STEINEL GmbH δηλώνει ὄτιο τύπος εγκατάστασης παδίουκοινωνίας συζέμκτη επαφών
PC4-DALI-2 avtanokpivεtai σην Oδnyia 2014/53/EK.
To πλήρες κείμενο της Δήλωσης Συμύρφωσης της EE εἶν διαθέσιμο στην ακόλουθη διεύθυνη Διαδικτύου:
www.steinel.de
9. Eyyúnon kataoKεuaστή
Eyyúnón κατακευαστή STEINEL GmbH, Dieselstraße 80-84, DE-33442 Herzebrock-Clarholz, ερμavia
ayopaaontc mnpetv va kavte xpnoT wv voumuw
eyyuntikwv diakaiwpatwv evavtiou wnt. Efoov ta
diakaiwata auta 1oxouv otn xwaoc, dsv ouvtepuvotai
oute nepiopiocvtai ano tn dikn mac dnlambdaen yyyunoc.
Zac napexoupe 5 etn eyyunon yia tnv aoyn kataokuen
kai tnv kavovikn lertoupyia tou npoiovtoc STEINEL
Professional-Sensorik. Napexoupe tnv eyyunon otiauto
to npoiov dev npouiazci elattwmaTa ulikou, kata-
okuenc n oxdeltaanc. Napexoupe eyyunon lertoupyiknc
ikavotntac oawv twv nektpovikwv dopootoxieiw kai
kaawdiwv, onwc eianc elambdaipnc ophaalpaTsw OAWV TOWV
xpoiaopointhevtwv uikwv kaiTwv epiaveiw auowv.
PpOBoLn aEiwoeWv:
Eav θέλετε va διατυπωετε παράσνα σχετικά με το προίόν που αγοράσατε, παρακαλούμε ὄπως το απο-σείλετε σε πλήρη κατάσταοῦκαι ατελώς μαζί με την auθεντική απόδειξη αγοράς, η σοία πρέπεινα αναφέρει την ημερομηνία αγοράς και την oνμασία του προίόντος, στου αντιπρόσωπό σας ἡσην εSTAIPΕία μας ANTΠΡΟΣΩ-ПОI-EΙΣΑΓΟΓΕΙΣ ΓΙΑ THN EΑΑΑΔΑ Π.Λύγκωνης & Yιοι oε / Apioτοφavouc 8 Aθηνα 10554. Σaç συνιστούμε λοιπόν Απως διαφυλάξετε προδεKTικά την απόδειξη αγοράς ἡως την παρέλευση της διαρκείας ἀγγύŋος. Γιa τα ἐξόδa και τους κινδύνους μεταφοράς στα πλαισία επιοτροφής του προίόντος η STEINEL δεν αναλαβάνει καμία ευθύνη.
Tia πληροφόριες σχετικά με την προβολή αξίωσης σε περίπτωση εγγύŋος απευθυνθείτε στη δίαδικτuaκή πύλη www.steinel-professional.de/garantie
Eav vopiετε οτι προκειαγία περίπτωση εγγύŋος ἡ εάν εχετε στολδήποτε απορία σχετικό με το προίον σας, μπορείτε va μας τηλεφωνόσετε avá πάσα στιγμή στη γραμή THΛΕΦΩΑΝΑ YΠΟΣTHPIΕΗΣ & ΣΕPΒΙΣ ΓΙΑ, THN ΕΑΑΔΑ / 2103212021 / 2103218558 / Φαξ: 2103218630.

10. Tεχνικά δεδομένα
- Διαστάσεις (Y × Π × B): 49,8 × 43,0 × 15,1 mm
- 'Opiα τάσης: 9,5 VDC -22,5 VDC (σύμφωνα με IEC62368-101)
- Túπoç ηλεκτρικής κατaváλωσης DALI (σε 16,5 V): 2,7 mA
- Méy. ηλεκτρική κατανάλωση DALI (ρεύμα εἰσόρμησης σε 22,5 V): 9 mA
- DALI-2: 1
- Kaataxwpnon .. IAnkTpo/deltaKoTTnc xwpiC duvapiko
-ApiOoC EIOo8wv:4 - Σημανογακροδεκτών εισόδου: K1, K2, K3, K4
-Mey. uKoC aywou: 50 m
-Mey. 0eepoekpaoia πεpiβλημatoC: 75 °C - Kλαση προστασίας: II. στο πλαισιο χρήσης
- χρήσης σύμφωνα με τους κανονισμούς
-Eiδoc προστασίας IP:IP 20 - Θερμοκρασία περιβάλλοντος: -20 °C ἀως +50 °C
11. Aπokatáσtaση βλαβης
Σuokεuñ xωpiç táσn
-Aophiia n eVepyoioiuev n eAaTomegaataikn.
EvpyoioTε Tny aαφáλεia.
- AvtikataoTnoTe Tnv EλaTTwμatikn aσφáλεia.
- ΔiaKóπηκε TO KúKλωμa.
- Eλέγειε Στο κύκλωμα με δόκιμασικό τάοης.
- Bpaxukukλωμa στο δικτuo τροφοδσίας.
- Eλέγξτε τις συνδέσεις.
-Evδεxóμévwç δiaKóPTnç δIKTóU εKTóC. - Evεργοποίστε tov διακόπτη δικτύου.
Notice-Facile