PC4 - Capsator STEINEL - Manual de utilizare gratuit
Găsiți gratuit manualul dispozitivului PC4 STEINEL în format PDF.
Descărcați instrucțiunile pentru Capsator în format PDF gratuit! Găsiți manualul dvs. PC4 - STEINEL și luați din nou în mână dispozitivul dvs. electronic. Pe această pagină sunt publicate toate documentele necesare pentru utilizarea dispozitivului dvs. PC4 mărcii STEINEL.
MANUAL DE UTILIZARE PC4 STEINEL
- Despre acest document 287
- Instrueti generale de sécurité 287
- Descrierea dispositivului 288
- Conexiune electrica 292
- Montaj 293
- Curățareași ingrijirea 298
- Eliminarea ca de seu 298
- Conformitatea 298
- Garantia de producutor 299
- Date tehnice 300
- Remedierea defeciunilor 301
1. Despre acest document
- Protejat prin Legea drepturilor de autor. Reproducerea, inclusiv in extras, este permisă numai cu aprobarea noastră.
- Ne rezervám dreptul de a face modificári care servesc progresului tehnic.

Atentie, pericole!

Atentie, pericole din cauza curentului electric!
2. Instruktiuni generale de securitate

Pericol din cauza nerespectarii instructiunilor de utilizes!
Aceste instruţiuni contin informaţi importante despre Utilizarea sugură a aparatului. Se atrage atenţia în mod deosebit asupra pericolelor posibile. Nerespectarea poate duce la deces sau la vătamări corporale grave.
Citi ci cu atentie instru cunile.
- Respectați instrucțiunile de siguranta.
- Păstrați la indemână.
- Manipularea componentelor conducţoare de current electric poate duce la situţii periculoase. Atingerea pieselor conducţoare de current poate duce la soc electric, la arsuri sau deces.
- Lucrările la tensiunea de rețea se pot realiza numai de câtre personal calificat de specialitate.
- Se vor respectsa normele de instalareși condițiile de racordare uzuale înțara respectivă (de ex. DE: VDE 0100, AT: ÖVE-ÖNORM E8001-1, CH: SEV 1000).
- Folosiţi numai PIESE de schimb originale.
- Reparatiile se vor efectua numai de câtre firme de specialitate.
3. Descrierea dispositivului
Utilizare conform destinatiei
- Interfă pentru butoane de instalatai disponibile în comert.
- Adecvat pentru montarea într-o przyă sub tenuculă, cu o adâncime minimă de 60 mm.
Utilizare neconformă destinăției
- Conexiunile de la cuplorul de butoane nu sunt adecvate pentru tensiunea de retea.
Principiul functionarii
- Cuplorul de butoane integrează butoane supplementare intr-un systemd de iluminat DALI.
- La fiecare cuplor de butoane se pot conecta până la patru butoane de instalatai disponibile în comert.
- Cuplorul de butoane transmite semnale prin DALI la Application Controller (APC) / aparatul de comanda.
- Functia butoanelor este liber programabila la punerea in functiune.
Volumul livrãarii

3.1

1x

1x
- 1 cuplor de butoane
- 1 fişa tehnica de securitate
- 1 ghid rapid de initiere
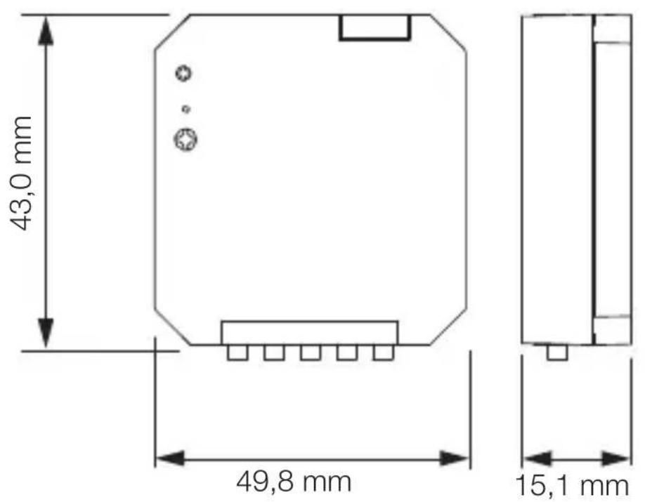
Dimensiunile produsului

3.2
Prezentare generală a aparatului
3.3

A Conexiuni buton
B Intrare DALI-2
RO
4. Conexiune electrică
Scheme
4.1



Circuitul de alimentare este format dintr-un cablu multifilar:
L = Conductor de fază (de obicei negru, maro sau gri)
N = Conductor neutru (de obicei albastru)
DA+ = Conexiune la DALI-BUS ( maro)
DA- = ConexiunelaDALI-BUS(maro)
Canale / alimentare butoane:
K1 = Canal 1
K2 = Canal 2
K3 = Canal 3
K4 = Canal 4
COM = Alimentare buton
Cablu buton
Maximum 50 m lungime.
- Trebuie pozate intr-un tub separat cu mantou din material plastic.
5. Montaj

Pericol din cauza curentului electric!
Atingerea pieselor conducţoare de current poate duce la soc electric, la arsuri sau deces.
- Opriti curentul Şi intrerupeti alimentarea cu tensiune.
- Verificati absentata tensiunii cu ajutorul unui creion detensiune.
- Asigurați-vă că alimentarea cu tensiune rămâne intre-ruptă.
Pericol de daune materiale!
O eventuală inversare a cablurilor de conexiune poate duce la scurtcircuit.
Identificati caburile de conexiune.
- Conectati corect caburile de conexiune.
Pregătirea montajului
- Verificazioni toate componentele pentru a constata dacă prezintă deteriorari. Nu puneti in functiune aparatul dacă prezintă deteriorari.
- Familiarizati-vă cu situata de montajși cu documentele aferente.
- Alegei un loc de montaj adecvat.
-Fara vibratai.
- Nu in zone cu pericol deexplozie.
-Nu pe suprafete uesor inflamabile.
5.1

- Puni tlaolaltaculele si materialele necessities: -Surubelniţa
Etapele montàrii
Exemplu de'utilizare: 1 buton
5.2



- Asigurat-vá că alimentarea cu tensiune este oprită.
- Conectați cablul de alimentare conform schemei de conexiuni.
,4 . Conexiune electrica"
Exemplu de'utilizare: 2 butoane

5.3



- Asigurat-va cã alimentarea cu tensiune este oprita.
- Conectați cablul de alimentare conform schemei de conexiuni.
,4 . Conexiune electrica"
5.4

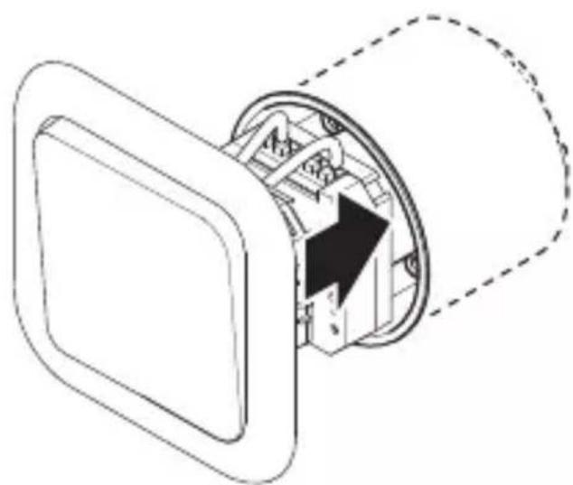
- Introduciţi cuplorul de butoane în cutie.
Puneti butonul pe cutie.
5.5


- Porniti alimentarea cu current.
RO
6. Curățarea și ingrijirea
Aparatul nu necessities intreinere.

Pericol din cauza curentului electric!
Contactul apei cu pieselor conducţoare de curent poate duce la soc electric, la arsuri sau deces.
- Nu curățați aparatul decât în stare uscata.
Aparatele electrice, accesoriile 山 ambalajele trebuie sa faca obiectul unei reciclari ecologice.

Nu aruncați aparatele electrice la gunoiul menajer!
Numai pentru tările UE:
In conformitate cu directiva europeana privind eliminarea deseurilor electrice si electronice in vigoare si transpunerii ei in legislata nationa, aparatele electrice care nu mai pot fi utilizetrebuie sa fie colectate separat si sa facă obiectul unei reciclari ecologice.
8. Conformitatea
Prin preventa STEINEL GmbH Declareă că tipul de echipament hertzian cuplor de butoane PC4-DALI-2 corespunde directivei 2014/53/UE. Textul complet al Declaratiei de conformitate UE este disponibil la următoarea adresă de internet: www.steinel.de
9. Garanta de producutor
Garantia de producator STEINEL GmbH, Dieselstr. 80-84, DE-33442 Herzebrock-Clarholz, Germania
In calitate de cumpañator va bucurati dupa caz de todo drepturile prevázute prin lege privind garanta s i reclama-rea defectelor impotrivava vanzatorului. In măsura in care acesto drepturi există in tara dumneavoastră, declarata noastră de garantție nici nu le restrânge s i nici nu le reduce durata de valabilitate. Vă acordam 5 ani de garantție pentru functiOnarea ireprosabilită s i corespunzătoare a produsului dumneavoastră cu senzor din gama STEINEL ProfessiOnal. Garantãm ca incest produs nu prezinta niciun fel de erori de material, de produție s i de proiectare. Garantãm functionalitatea tuturor componentelor electronice s i a cablurilor, precum s i caracterul ireprosabil al tuturor materiaIelor utilize s i al suprafetelor acestora.
Solicitarea garantiei:
Dacă aveți o reclamataie referitoare la produsul dvs., va rugăm să Îl trimiteți intregși cu taxele de expediere platite, impreună cu chitanța originală care trebuie săContină data cumpărăriș denumirea produsului, distribuitorului dvs. Sau direct nouă, la adresa STEINEL Distribution SRL; 505400 Rasnov, jud.Brasov; Str. Campului, nr.1; FSR Hala Scularie Birourile 4-7. Din acest motiv va recomandam să păstrați cu grijă chitanța până la expirarea termenului de garantție.
STEINEL nu suportă costurile de transport și nu îsi asumă riscurile associate transportului pentru returnarea produselor. Informații privind solicitarea unei prestații în garantie găsiți pe pagina noastră web
http://steinelshop.ro/termeni-si-conditionii#answer10
Dacă doriti și să solicitate și prestație în garantiei sau aveți o intrebare despree produsul dvs., ne puteti contacta la +40(0)268 - 530000.
- Dimensiuni (h × l × A): 49,8 × 43,0 × 15,1 mm
- Interval de tensiune: 9,5 VDC -22,5 VDC (conform IEC62368-101)
- Consum tipic deurrent DALI (la 16,5 V): 2,7 mA
- Consum Maxim deurrent DALI (current de pornire la 22,5 V): 9 mA
- Adrese DALI-2: 1
- Introduçere prin: buton/intrerupător fără potențial
- Numărul intrărilor: 4
- Marcajul bornelor de intrare: K1, K2, K3, K4
- Lungimea maxima a cablului: 50 m
- Temperatura maxima carcasă: 75 °C
- Clasa de protecţie: Il. cu condiţia utilizării conforme
- Tip de protectie IP: IP 20
- Temperatura ambientală: -20 °C până la +50 °C
11. Remedierea defeciunilor
Aparat fãrã tensiune.
-Siguranța necuplata sau defecta.
-
Cuplati siguranta.
Dacă este defectă, schimbați siguranta. -
Cablu intrerupt.
- Verificati cablul cu un testor de tensiune.
- Scurtcircuit in cablul de retea.
Verificati conexiunile. - Intrerupătorul de rețea eventual existent este decuplat.
- Cuplate intrerupatorul de retea.
SI
Vsebina
- O tem dokumentu 303
- Splošna varnostna navodila 303
3.Opis naprave 304 - Elektrichi priključek 308
- Montaža 309
- Čišćenje in nega 314
- Odstranjevanje 314
- Skladnost 314
- Garancija proizvajalca 315
- Tehnici podatki 316
- Odprava motenj 317
1. O tem dokumentu
- Zašciteno z avtorskimi pravicami. Ponatis v celoti ali pod delih je dovoljen le z našim soglasjem.
- Spremembe zaradi tehničega napredka so pridržane.

Opozorilo pred nevarnostmi!
Opozorilo pred nevarnostmi zaradi elektrike!
Notice-Facile