PC4 - Телбод STEINEL - Безплатно ръководство за потребителя
Намерете безплатно ръководството на устройството PC4 STEINEL в PDF формат.
Изтеглете инструкциите за вашия Телбод в PDF формат безплатно! Намерете ръководството си PC4 - STEINEL и вземете отново електронното си устройство в ръце. На тази страница са публикувани всички документи, необходими за използването на вашето устройство. PC4 на марката STEINEL.
РЪКОВОДСТВО ЗА ПОТРЕБИТЕЛЯ PC4 STEINEL
Посnéователноct 3a монтж
Приимер за у鞘тpe6a: 1 Клиу
5.2



-Да ce посигурп пpeкьсване на habржениTo.
- Мржов rat ka6e Na ce CBbpxe cnopec xemata.
→,4.Електуеско CBbp3BaHe"
Приимер за уnotpe6a: Двоен Клич

5.3



- Да се посигурипpeкьсване на habржени.To.
- Мржов rat ka6e Na ce CBbpxe cnopei cxemata.
"4.Електуеско CBbp3BaHe"
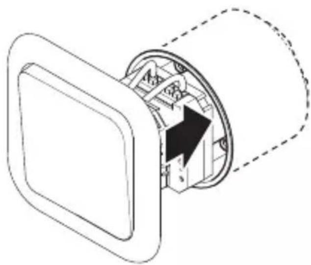
5.4

KJIIOUOBnIHTeppeic Da Ce NocTaBn B KyTna.
KloubT da ce noctabn Bbpxy Kytnra.
5.5


- EneKtpo3axpaHbAHeTo Da Ce BKnIOuN.
Notice-Facile