PC4 - Klammerdaja STEINEL - Tasuta kasutusjuhend
Leidke seadme juhend tasuta PC4 STEINEL PDF-formaadis.
Laadige alla juhend oma Klammerdaja PDF-formaadis tasuta! Leidke oma juhend PC4 - STEINEL ja võtke oma elektrooniline seade uuesti kätte. Sellel lehel on avaldatud kõik teie seadme kasutamiseks vajalikud dokumendid. PC4 kaubamärgi STEINEL.
KASUTUSJUHEND PC4 STEINEL
- Käesoleva dokumendi kohta 335
- Üldised ohutusjuhised 335
- Seadme kirjeldus 336
- Elektriline uhendamine 340
- Montaaž 341
- Puhastamine ja hooldus 346
- Utiliseerimine 346
- Vastavus 346
- Tootja garantii 347
- Tehnilised andmed 348
- Törgete körvaldamine 349
1. Käesoleva dokumendi kohta
- Autoriöigusega kaitstud. Järeltrükk, ka väljavöttliselt, ainult meie nõusolekul.
- Öigus muudatusteks tehnilise täustamise eesmärgil reserveeritud.

Hoiatus ohtude eest!

Hoiatus vooluga seotud ohtude eest!
2. Üldised ohutusjuhised

Kasutusjuhendi mittejärgimisest tulenev oht!
Juhend sisaldab olulist teavet seadme turvaliseks kasutamiseks. Eriti juhitakse tahelepanu voimalikele ohtudele. Mittejärgimine vöib kaasa tuua surma vōi rasked vigastused.
Lugege juhendit hoolikalt.
- Järgige ohutusjuhiseid.
- Hoidke kattesaadavas kohas.
- Elektrivooluga ümberkäimine vöib tuua kaasa ohtlikke olukordi. Elektrit juhtivate osade puudutamine vöib pöhjustada elektrilööki, põletusi voi surma.
- Vörgupingel tõid tohivad teha ainult kvalitseeritud spetsialistid.
- Tuleb järgida riigiseseseid installatsioonieeskirju ja ühen-damistingimusi (nt DE: VDE 0100, AT: ÖVE-ÖNORM E8001-1, CH: SEV 1000).
- Kasutage ainult originaalvaruosi.
- Parandustöid tohivad teha ainult spetsialistid.
3. Seadme kirjeldus
Nōuetekohane kasutus
-Liidesed tavaparastele paigalduslulititele.
- Sobib paigaldamiseks suvispaigaldatavasse pessa, mille minimaalne sugavirus on 60 mm.
Mittesihipärane kasutamine
- Lülitisidestite ühendused ei sobi vörgupingele.
Töopohimõte
- Lulitisidestis on täiendav lüliti DALI-valgustisüsteemile.
- Iga lülitisidestiga saab ühendada kuni neli tavapärast paigalduslülitit.
- Lülitisidesti annab DALI kaudu signaali rakenduse juhtseadmele (APC) / juhtseadmele.
- Lüliti talitlust saab kasutuselevötu korral vabalt programmeerida.
Tarnekomplekt

3.1

1x

1x
4. Elektriline ühendamine
Lulitusskeemid
4.1



Vörgutoitejuhe koosneb mitmesoonelisest kaablist:
L = Faas (enamasti must, pruin või hall)
N = Neutraaljuht (enamasti sinine)
DA+ = Ühendus DALI-SIINIGA ( pruun)
DA- = ÜhendusDALI-SIINIGA(pruin)
Kanal / toiteluliti:
K1 = Kanal 1
K2 = Kanal 2
K3 = Kanal 3
K4 = Kanal 4
COM = Toiteluliti
Luliti kaabel
- Maksimaalselt 50 m.
- Peavad olema paigaldatud eraldi plastümbrisegakaabis.
5. Montaaž

Elektrilögi oht!
Elektrit juhtivate osade puudutamine võib põhjustada elektrilööki, põletusi või surma.
Lulitage vool valja ja katkestage pingetoide.
- Kontrollige pingetestriga pingevabadust.
- Tehke kindlaks, et pingetoide jäab katkestatuits.
Materiaalsete kahjude oht!
Uhendusjuhtmete omavaheline aravahetamine voib luhise pohjustada.
Identifseerige ühendusjuhtmed.
- Ühendage korralikult ühendusjuhtmed.
Paigalduse ettevalmistus
- Kontrollige kõiki koostedetailse kahjustuste suhtes.
Kahjustuste korral arge võtke seadet kasutusse. - Tutvuge paigaldusolukorra ja kaasasolevate dokumentidega.
Valige sobiv paigalduskoht.
-Vibratsioonivaba.
-Ei ole plahvatusoftlik piirkond.
-Ei ole kergesti suttiv pind.
5.1

- Pange vajalikud toöriistad ja materjalid valmis. -Kruvikeeraja.
Montažisammud
Kasutusnäide: 1 lüliti
5.2




Veenduge, et pingetoide on valja lulitatud.
- Ühendage vörgutoitejuhe vastavalt elektriskeemile.
"4. Elektriline ühendamine"
Kasutusnäide: 2 lüliti

5.3



Veenduge, et pingetoide on valja lilitatud.
- Ühendage vörgutoitejuhe vastavalt elektriskeemile.
→“4. Elektriline ühendamine”
5.4

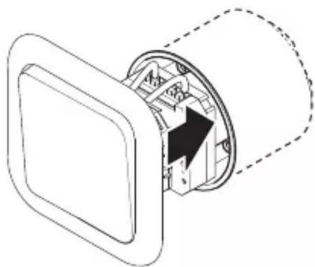
- Pange lulitisidesti pessa.
- Asetage luliti pesa peale.
5.5


Lulitage voolutoide sisse.
EE
6. Puhastamine ja hooldus
Seade ei vaja hooldamist.

Elektrilögi oht!
Elektrit juhtivate osade kokkupuude veega võib põhjustada elektrilööki, põletusi või surma.
- Puhastage seadet ainult siis, kui see on kuiv.
7. Utiliseerimine
Elektriseadmed, lisatarvikud ja pakendid tuleb suunata keskkonnateadlikku taaskasutusse.

Arge visake elektriseadmeid olmejätmete hulka!
Ainult ELi riikidele:
Vastavalt vanu elektri- ja elektronikaseadmeid puudutavale kehtivale Euroopa määrusele ja selle rakendamisele rahvusvahelises öiguses tuleb kasutuskölmatud elektriseadmed koguda eraldi ning suunata keskkonnateadlikku taaskasutusse.
8. Vestavus
Siinkohal kinnitab STEINEL GmbH, et raudiosideadme lülitisidesti PC4-DALI-2 vastab märusele 2014/53/EL. ELi ühilduvusdeklaratsiooni täisteksti leiate alljärgnevalt internetiaadressilt: www.steinel.de
9. Tootja garantii
Ostjana on teil muūja suhtes samuti seadusega sātestatud puuduste kōrvaldamise ōigusi vōi vastavalt pretensio-niōigusi. Kui teie asukohariigis on need ōigused olemas, siis meie garantiideklaratsoon neid ei kärbi ega piira. Me anname teie STEINELi Professional sensortootele laitmatute omaduste ja nōuetekohase talitluse kohta 5-aastase garantii. Me garanteerime, et kōnealune toode on vaba materjali-, valmistamis- ja konstruktsionivigadest. Me garanteerime kōigi elektroniliste koostedetailide ja kaablite talitluskōlblikkuse ning et kasutatud valmistamismaterjalid ja nende pealispind on puudustevabad.
Kaebuste esitamine:
kui soovitete toote kohta esitada reklamatsiooni, siis palun saatke see komplektensa ja tasutud tarnega koos originaolostutsekiga, mis peab sisaldama ostukuupäeva andmeid ning toote nimetust meie edasimüüjale voi otse meile, Fortronic AS, Tööstuse tee 7, 61715, Törvandi. Me soovitame teil ostutsekki seetöttu kuni garantiiaja mödumiseni hoolikalt alal hoida. STEINEL ei vastuta tagasisaatmise raames esinevate transpondikulude ja -riskide eest. Informatsooni garantijuhtumi kehtestamiseks saate meie kodulehelt www.fortronic.ee voi www.steinel-professional.de/garantie
Garantiijuhtumi esinemise või mõne toote kohta küsimuste tekkimise korral võite meile esmaspäävast reedeni 9.00-17.00 vahemikus teeninduse numbril +372 7 475 208 helistada.
5 AASTAT TOOTJA GARANTIID
10. Tehnilised andmed
- Mõötméd (K × L × S): 49,8 × 43,0 × 15,1 mm
- Pingevahemik: 9,5 VDC-22,5 VDC (vastavalt standardile IEC62368-101)
-Tuup.DALI voolutarve (16,5 V korral): 2,7 mA
DALI max voolutarve (sisselulitusvool 22,5 V korral): 9 mA
-DALI-2 aadressid: 1
- Sisestus: potentsiaalivaba luliti / klahv
- Sisendite arv: 4
- Sisendiklemmide tähistus: K1, K2, K3, K4
- Max kaabli pikkus: 50 m
- Korpuse max temperatuur: 75 °C
- Kaitseklass: II, sihipärase kasutamise korral
- IP kaitselik: IP 20
- Keskkonnatemperatuur -20 °C kuni +50 °C
11. Tõrgete kõrvaldamine
Pingeta seade.
- Kaitse ei ole sisse lulitatud voi on rikkis.
Lulitage kaitse sisse.
Vahetage rikkis kaitse valja.
- Juhe katkenud.
- Kontrollige juhet pingetestriga.
- Lühis vörgutoitejuhtmes.
- Kontrollige ühendusi.
- Voimalik olesasolev vorgululiti valjas.
Lulitage vorgululiti sisse.
LT
Turinys
- Apie šj dokumenta 351
- Bendrieji saugos nurodymai 351
- Prietaiso aprasymas 352
- Elektros jungtis 356
- Montavimas 357
- Valymas ir prieziura 362
- Salinimas 362
- Atitiktis 362
- Gamintojo garantija 363
- Techninai duomenys 364
- Trikciu salinimas 365
Notice-Facile