PC4 - Skavotājs STEINEL - Bezmaksas lietošanas instrukcija
Atrodiet ierīces rokasgrāmatu bez maksas PC4 STEINEL PDF formātā.
Lejupielādējiet instrukcijas savam Skavotājs PDF formātā bez maksas! Atrodiet savu rokasgrāmatu PC4 - STEINEL un atgūstiet kontroli pār savu elektronisko ierīci. Šajā lapā ir publicēti visi dokumenti, kas nepieciešami jūsu ierīces lietošanai. PC4 zīmola STEINEL.
LIETOŠANAS INSTRUKCIJA PC4 STEINEL
- Darbošanās ar elektrisko strāvu var izraisīt bistamas situacijas. Pieskaršanās strāvu vadošām dalle mvar izraisīt šoku, apdegumus vai nāvi.
- Darbu ar elektrotíkla spriegumu jäveic profesiónali kvalificētam personalām.
- Jäievērō viētējo instalēsanas un pieslēgšanas tehnisko priekšrakstu prasības (piem., DE: VDE 0100,
- Saskarne pardošana pieejamiem intalacijas sledžiem.
- Piemērots zemapmetuma Rozetes ar minimālo dzilumu 60 mm iebūvei.
Nepareiza lietošana
- Pieslēgumi manipulatoru savienotājam nav piemēroti tīkla spriegumam.
Darbības princips
- Manipulatoru savienotājs integre papildslēdžus DALI gaismas sistēmā.
- Katram manipulatoru savienotājam var pieslēgt lidz Četriem pardošana pieejamiem instalacijas sledžiem.
- Manipulatoru savienotajs dod signalu caur DALI Application Controller (APC) / vadibas iericei.
-Tausti nfu kci jirbrivi programejama iedarbinot.
Piegades apjoms

3.1

1x

1x
- 1 Spiedpogu savienotājs
- 1 Drošības dati lava
- 1 Atrais starts
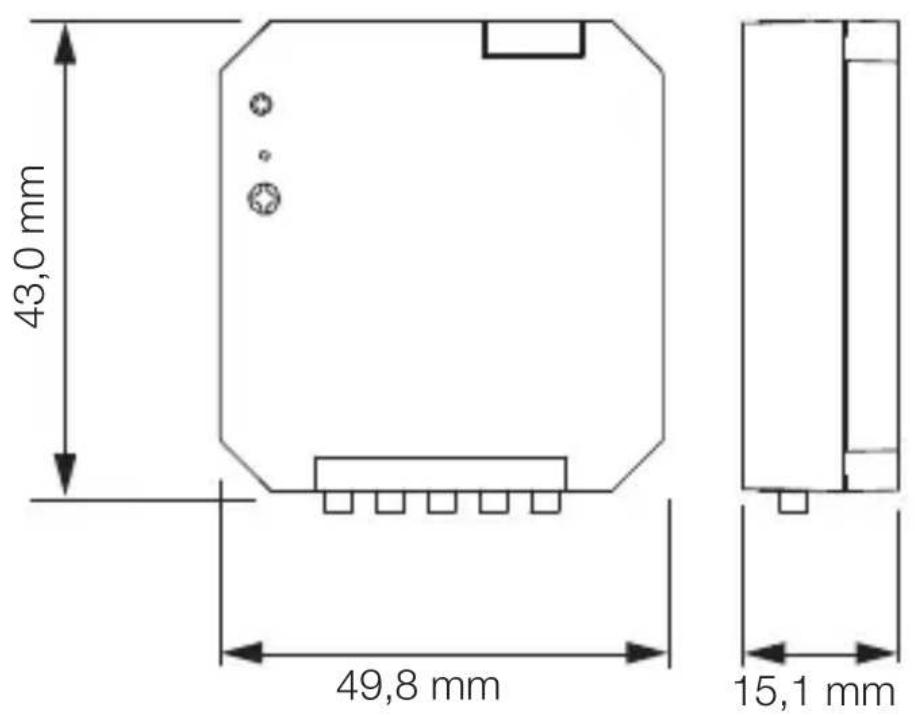
Izstrādājuma izmeri

3.2
lerices komplektacija
3.3

A Pieslegumu sledzis
B DALI 2 ieeja
LV
4. Elektriskais pieslęgums
Slēguma plāni
4.1



Tikla pievadvadu veido vairaku dzislu kabelis:
L = Faze (parasti melns, bruns vai peleks)
N = Nulles vads (parasti zils)
DA+ = Pieslēgums DALI BUS (brūns)
DA- = Pieslēgums DALI BUS (brūns)
Kanali / apgades sledzis:
K1 = 1. kanāls
K2 = 2. kanals
K3 = 3. kanāls
K4 = 4. kanāls
COM = apgades sledzis
Slédža kabelis
- Maks. 50 m garš.
- Jāmontē atseviška, pastmasas ieskauta vada.
5. Montaža

Risks saistibā ar elektrisko strāvu!
Pieskarśanās strāvu vadosām dallevar izraisit šoku, apdegumus vai navi.
- Atslēdziet strāvu un pārtrauciet sprieguma padevi.
- Parbaudiet ar sprieguma testeri, vai sprieguma vairs nav.
- Pärliecinieties, ka sprieguma padeve paliek partraukta.
Bojājumu risks!
Piesleguma kabelu sajauksana var izraisit issavienojumu.
- Identificējiet pieslēguma kabelus.
- Savienojiet pieslēguma kabelus pareizi.
Sagatavošanās montăžai
- Parbaudiet visas detalias, vai tās nav bojatas. Bojāumu gadījumā nelietojiet ieri ci.
- lepazistieties ar montăžas situaciju un attiecigajiem dokumentiem.
- Izvělieties piemérotu montážas vietu.
-lzvairieties no vibracijas.
-Gaismekli nedrikst montet spradzienbistamas zonas.
-Nemontējiet ierici pie viegli uzliesmojosam vircmam.
5.1

- Nokomplektējiet vajadžīgos instrumentus un materialiu: -Skrūvgriezis.
Montážas soli
Lietosanas paraugs: 1 sledzis
5.2



- Parbaudiet, lai strvas pievade butu partraukta.
- Piesledziet tikla kabeli atbilstoši slegumu planam. →“4. Elektriskais pieslegums”
Lietosanas paraugs: 2 sledzis

5.3



- Pärbaudiet, lai strāvas pievade būtu pārtraukta.
- Piesledziet tikla kabeli atbilstoši slegumu planam.
"4. Elektriskais pieslęgums"
5.4

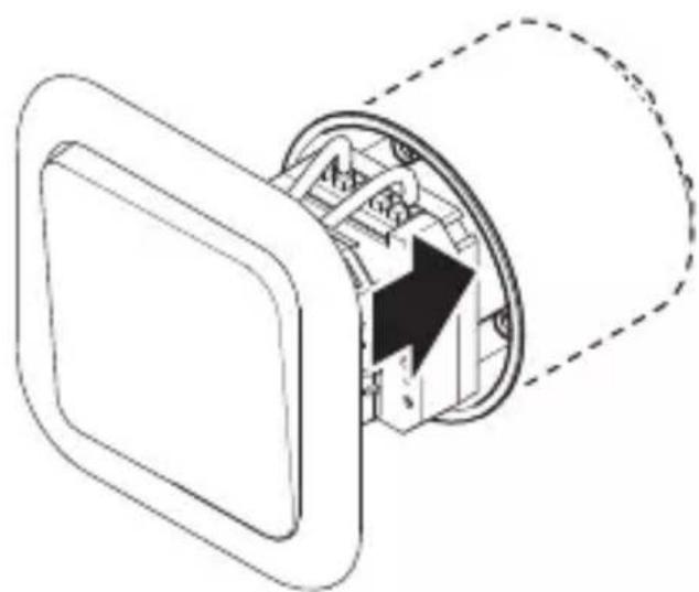
levietojiet taustu savienotaju Rozet.
Uzlieciet sledzi uz Rozetes.
5.5


- lesledziet elektribas apgadi.
6. Tīrīšana un kopsāna
Izstrādājumam apkope nav nepiecišama.

Risks saistibā ar elektrisko strāvu!
Udens kontakts ar stravu vadošam daß var izraisit šoku, apdegumus vai navi.
- Tiriet tikai sausu ierici.
7. Utilização
Elektroierces, piederumi un iepakojumi janodod dabai draudzigai atkartotai pärsträdei.

Nemetiet elektrierices parastajos atkritumos!
Tikai ES valstim:
Atbilstoši Eiropas vadlinijam par vecām elektroiericēm un elektroniskām ionicem, un to lietojumam nacionalastiesibās, nefunkcejosas elektroierices jasavac atseviski un tās JANodod dibai draudzīgai atkārtotai pārstrādei.
8. Atbilstība
Ar šo STEINEL GmbH pazino, ka radioiekárta taustušu savienotājs PC4-DALI-2 atbilst direktivai 2014/53/ES. Visu ES atbilstības deklaracijas tekstu Jūs varat izlasit: www.steinel.de
9. Ražotāja garantija
Ražotāja garantija STEINEL GmbH, Dieselstraße 80-84, DE-33442 Herzebrock-Clarholz, Väcija
Kā pircejam Jums attiecībā pret pārdevēju ir spekā likumā paredzētās garantijas tiesības. Mūsu garantijas saistības nesamazina un neierobežo šīs tiesības, ciktāl tādas pastāv Jūsu valsti. Mēs pieškiram 5 gadu garantiju nevainojamām Jūsu STEINEL profesionalā sensorikas produkta ipašibām un darbībai. Mēs garantējam, ka šim produktam nav materiaīla, rǎzošanas un konstrukcjjas defektu. Mēs garantējam visu elektronisko būvdaμu un kabeiμeksplaatacijas drošumu, kā ari visu izmantoto materiaiμu un to virsmu nevainojamību.
Sudzibu iesniegšana:
Ja vēlaties reklamēt Jūsu iegādāto produktu, lūdzu, nosūtiet to pilnā komplektācījā, apmaksājot pasta izdevumus, pievienojot origināo Čeku, kā aīnorādot pirkuma datumu un produkta apzimējumu, Jūsu pārdevējam vai tiesi mums: SIA Ambergs, Brīvības gatte 195-20, LV-1039, Rīga. Tādel mēs iesakām rūpīgi saglabāt pirkuma Čeku līdz garantijas laika beigām. STEINEL nenes atbildūb u partransporta bojājumiem un atpakašutisanas riskiem.
Informaciju par garantijas pieteikumu Jus atradisiet musu majas lapa www.steinel-professional.de/garantie
Ja Jums ir garantijas gadijums vai Jums ir jautajumi par Jusu iegadato produktu, Jus jebkurlaikavarat verversisservisa dienesta: 00371 29460997.
10. Tehniskie dati
- Izmēri (A x P x Dz): 49,8 x 43,0 x 15,1 mm
- Strāvas zona: 9,5 VDC -22,5 VDC
(atb. IEC62368-101)
- Tips. Strāvas uzverter DALI (pie 16,5 V): 2,7 mA
- Maks. strāvas uzverter DALI
(ieslegsanas strava pie 22,5 V): 9 mA
DALI 2 adresses: 1
- levade caur: Bezpotenciala taustiŋu / sledzi
-leeju skaits:4
-leejas spailu atzimes: K1, K2, K3, K4
- Maks. kabela garums: 50 m
- Maks. korpusa temperatura: 75 °C
-Aizsardzibas klase: II. izmantojot atbilstoši
- IP aizsardzības klase: IP 20
- Apkārtējā temperatūrā: -20 °C |dz +50 °C
11. Traucejumu novarsana
lericei netiek pievadita strava.
-
Drošinātājs nav ieslēgts vai ir bojats.
-
lesledziet drošinātāju.
-
Nomainiet bojato drošinātāju.
-
Bojats kabelis.
- Parbaudiet kabeli ar sprieguma testeri.
- Issavienojums tikla pievadvada.
- Parbaudiet pieslēgumus.
- lespejams izslegtstikla sledzis, ja tads ir ierikots.
- lesledziet tikla sledzi.
BG
CbDbpxkaHne
- 3a To3n DokymeHT 383
- 06и уka3aHЯ 3a 6e3oNaCHOCT 383
- Onincanhe ha yctpoicTBOTO 384
- EneKtpnuecko Cbbp3BaHe 388
- MoHTax 389
6.Почистван e ngра 394 - OTeTpaHЯBaHe 394
- CbOTBcTCTBnE 394
- rapaunca ot npon3bOndteIa 395
- TexHnueckn daHHN 396
- OtrctpaHЯBaHe Ha noBpei 397
1. 3a To3n DoKymeHT
-Всичкп параза заразен.Прениотван,дори OTKьслесно, само с наше разршени.
- 3aana3BaMe cn npaBOTO 3a npomeHn, KOINTO cIyKaT Ha TexHnueCKOTO pa3BNTne.

IpeynpejdeHne 3a onacnoctn!

PpeDynpexKdEHe 3a onacnoCTn ot eI. Tok!
2.Овциуka3аняза6e3опасноCT

Notice-Facile