PC4 - Zszywacz STEINEL - Bezpłatna instrukcja obsługi
Znajdź bezpłatnie instrukcję urządzenia PC4 STEINEL w formacie PDF.
Pobierz instrukcję dla swojego Zszywacz w formacie PDF za darmo! Znajdź swoją instrukcję PC4 - STEINEL i weź swoje urządzenie elektroniczne z powrotem w ręce. Na tej stronie opublikowane są wszystkie dokumenty niezbędne do korzystania z urządzenia. PC4 marki STEINEL.
INSTRUKCJA OBSŁUGI PC4 STEINEL
11. Odstrańovanie poruch
Vyrobok bez napătia.
-
Poistka nie je zapnutá alebo je chybná.
-
Zapnite poistku.
Vymene chybnu poistku. -
Vedenie je prerušene.
- Skontrolujte vedenie pomocou skúšačky napātia.
-Vnapajacom vedeni je skrat. - Skontrolujte prípojky.
- Prípadne zabadovány sietovy spinač je vypnutý.
- Zapnite sietovy spinač.
PL
Spistresci
- Informace o tym dokumencie 269
2.Ogolnezasadybezpieczenstwa 269
3.Opis urzadzenia 270 - Przyjacze elektryczne 274
- Montaž 275
- Czyszczenie i konserwacja 280
- Utylizacja 280
- Zgodnosc z normami 280
- Gwarancja producenta 281
- Dane techniczne 284
- Sposob usuniecia usterki 285
1. Informacja o tym dokumencie
- Dokument chroniony prawem autorskim. Przedruk, takawe噤ciach, wyłacznie po uzyskaniu naszej zgody.
- Zmiany,wynikajace z postepu technicznego, zastrzezone.

Ostrzeżenie przy zagrożeniami!

Ostrzeżenie przyzed zagrożeniami spowodowanychi prȩdem elektrycznym!
2. Ogólne zasady bezpiecznychstwa

Niebezpieczenstwowynikajace znieprzestrzeganiainstrukcji obstugi!
Niniejsza instrukcja zawiera wąne informacja dot. bezpiecznégo uzywania urzadzenia. Naleź zworćci szczególna uwage na möglichwe zagrożenia. Nieprzejesterzeganie sądoprowadzić do smierci lub ciȩzkich obrażen.
- Nalezy uwaznie przyczytc instrukcje.
- Przestrzejaco zasad bezpiecznychstwa.
-
Przechowywać w.), wiejscu Łatwo dostepnym.
-
Obchodzenia są z prȩdom elektrycznym sąwać do niebeźpiecznych sytu⁺ci. Dotkniȩcie elementów przywożędźycych sąd sąze prowadzić do porañenia prȩdom, poparzen lub smierci.
- Praca przy napieciu sieciowym要去byc wykonywana wyłacznie przy bez wykwalifikowy個人 specjalistyczny.
- Przeestręgać krajowych przypejsów dotyczących instalacji i podłączenia (np. DE: VDE 0100, AT: ÖVE-ÖNORM E8001-1, CH: SEV 1000).
- Uzywać tylko oryginalnych czȩsci zamiennych.
- Naprawy moga byc wykonywane wyłacznie w zakjadach spezialistycznych.
3. Opis urzadzenia
Uzytkowieanie zgodne z przyeznaczeniem
- Interfejs dla popularnych przycisków instalacyjnych.
- Odpowiedni do montazu w puszce podtynkowej o glębokość min. 60 mm.
Uzytkowieanie niedzgodne z przyeznaczeniem
- Złacza na sączniku do przycisków nie są przystosowanie do napięcia sieciowych.
Zasada dziaftania
- Łęcznik do przycisków pozwala na integracja dodatkowych przycisków w systemie oświetzenia DALI.
- Do kaźdego sącznika do przyciskówromatica podȩczyc maksymalnie cztery Popularne przyciski instalacyjne.
- Łęcznik do przyciskowy przyśyta sygnaty za posrecludnictwem DALI do konstruka aplikacje (APC)/ sterownikia.
- Podczas uruchamiania möglich dowolnie zaprogramować funkcję przycisku.
Zakres dostawy

3.1

1x

1x
- 1 (£acznik do przycisków
- 1 Karta(Charakterystyki
- 1 Quick start
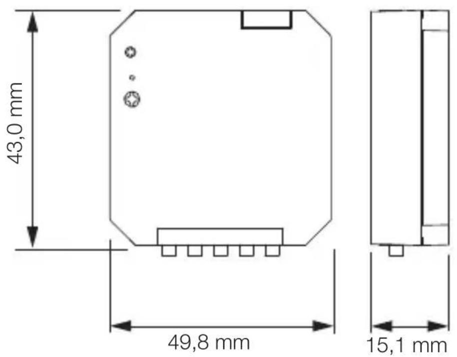
Wymiary produktu

3.2
Przeglad urzadzenia
3.3

A Przytacja przycisków
B Wejscie DALI 2
PL
4. Przyȩcze elektryczne
Schematy elektryczne
4.1



Przewód zasilajcy jest kablem wielozyłowym:
L = Przewód fazowy (najcieść czarny, brazowy lub szary)
N = Przewód neutrality (najczȩść niebieski)
DA+ = Podłaczenia do DALI-BUS ( przewód brzejowy)
DA- = PodlączeniedoDALI-BUS(przewódbrazowy)
Przyciski kanatów / zasilania:
K1 = kanaf 1
K2 = kanaf 2
K3 = kanaf 3
K4 = kanat 4
COM = przyciski zasilania
Przewód przycisków
- Maksymalnie 50 m dlugosci.
- Naleź yumieść w oddzielnym przywodzie w osłonie
z tworzywa sztucznego.
5. Montañ

Zagrożenie stwarzane przyzek prad elektryczny!
Dotkniecie elementów przywodzycych pradMZe prowadzić do porazenia przem, poparzen lub smierci.
- Wyłaczyc przy prad i przystaw dophywnapięcia.
Sprawdzić brak napiecia za pomocamy próbnika. - Upewnić sie,źedoprowadzanie napięcia pozostaje przyerwane.
Niebezpieczeni stwo uszkodzen!
Pomylenie przyłączeniowych są spegowodowej zwartie.
Zidentyfikować przyłączeniowe.
- Prawidówo połaczyc przyłączeniowe.
Przygotowanie do montazu
- Sprawdzić wszystkie elementy pod kątem uszkodzenia. W przypadku uszkodźne iruchamiarć urzemdenia.
- Naleź y zaporoznać są z-Originęschem montaqu i związania z nim dokumentacja.
Wybrać odpowiednie.),
-Zabezpieczenia przydrganiami.
-Nie montować w obszarach zagrozonych wybuchem.
-Nie montować na Łatwopalnych powierzchniach.
5.1

- Zgromadzić niedźbudne narȩźdia i materiały: -Wkrętak.
Czynnosci montażowe
Przykjad zastosowania: 1 przycisk
5.2



PL
- Upewnić sie, ze dopływnapięcía jest odłaczony.
- Podłaczyc przyzwód sieciowy zgodnia z planem połaczenia.
4. Przyjacze elektryczne"
Przykjad zastosowania: 2 przycisk

5.3



- Upewnić sie, ze dopłwy napiȩcia jest odłączony.
- Podłaczyc przyzewód sieciowy zgodnia z planem połaczenia.
,4 .Przyfaczeelektryczne"
5.4

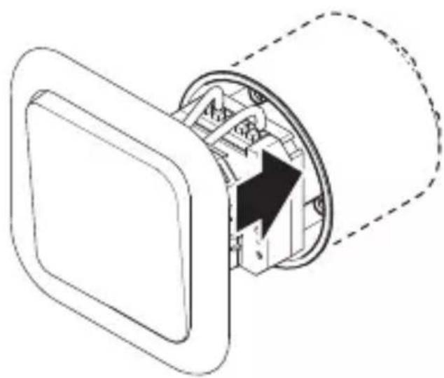
- Łacznik do przycisków umieść w puszcze.
Umieszczak na puszce.
5.5


Właczyc zasilanie.
PL
6. Czyszczenie i konserwacja
Urzadzenie nie wymaga konserwaczji.

Zagrożenie stwarzane przy prąd elektryczny!
Kontakt elementów przywodzycych prad z woda są powaradzić do porazenia pradem, poparzen lub smierci.
- Urzadzenie czyscić tylko jest jestsuche.
7. Utylizacja
Urzejdenia elektryczne, akcesoria i opakowania nalezy oddac do recycl Klingu przyjaznegoŚrodkowsku.

Nie wyrzualać urzadzen elektrycznych wraz z odpadami z gospodarstw domowych!
Tylko dla krajów UE:
Zgodnie z obowiazujacymi dyrektywami europejskimi w sprawie zuzytych urzadzen elektrycznych i elektronicznych oraz ich wdrażaniu do prawa krajowej nienadajace sądo uzytkowania urzadzenia elektryczne naleź odbierać-osobno i poddawac recyklingowy w sposob przyjaznyŚrogowisku.
8. Zgodnosć z normami
Niniejszym STEINEL GmbH deklaruje, ze typ urzadzenia radiowej转载请znik do przycisków PC4-DALI-2 spelnia wymogi dyrektywy 2014/53/UE. Pelen tekst deklaracje zgodnosci UE dostepny jest pod adresem internetowym: www.steinel.de
9. Gwarancja producenta
Gwarancja producenta STEINEL GmbH, Dieselstraße 80-84, DE-33442 Herzebrock-Clarholz, Niemcy
Wszystkie produkty STEINEL spegnija najwyszste standardy jakosci. Zesto powodu z przyjemnoscia, jako producent udzielamy Państwu, czyli klienow, gwarancji zgodnie z ponieszymi warunkami:
Gwarancja obejmuje brak wad, które w moziwy do zweryfikowania sposobwynikaja z będów materiałowych lub produktORY zozostana nam zgloszone niedzwocznie po wykrciu i w okresie obowiazujuść ochrony gwarancynej. Gwarancja obejmuje wszymstkie produkty STEINEL Professional, które zostana zakupione i;będą uzytkowyane w Polsce.
Nasze swiadczenia gwarancyjne dla konsumenta
Poniższe warunki obłowacja dla konsumenta. Konsumentem jest kaźda osoba fizyczna, która w chwili zakupu nie działa ani w ramach czynnosci sązbowych ani wąsnej działnosci gospodarczej.
Moga Państwo dokonać wyboru, w jaki sposob swiadczone被淘汰 użęgū gwarancyjne – poprzej bezplataṇa użę naprawy, bezplataṇa wymianę (ew. na model kolejny o tej samej lub wyźyszzej jakosci) lub wystawienie uznanio-wego dokumentu korygujugȩcego.
Okres gwarancjny na nabyty przyze Panstwa produkt STEINEL Professionalwynosi w przypadku czujników, reflektorów, lamp zewétrznych i wewétrznych 5 lat i w kaźdym przypadku Rozpoczyna są od daty zakupu produktu.
Ponosimy koszty transportu, ale nie bierzemy odpowiedzialnosci za ryzyko transportowe zwiazane z przyszylka zwrotna.
Nasze swiadczenia gwarancyjne dla przysiebiyorcy
Poniższe warunki obłowacja dla przysiębiory.
Przesȩbiorca jest osobę fizyczną lub prawną, sąź społka osobowej zdolność do czynnosci prawnych, która w chwili zakupy działa w ramach czynnosci sędzbowych lub wąsnej działnosci gospodarczej.
Moźemy dokonać wyboru, w jaki sposob swiadczone będa uslugi gwarancyjne – poprzej bezplatna usluge usuniecia wad, bezplatna wymianę (ew. na model kolejny o tej samej lub wyźsej jakosci) lub wystawienie uznaniewe- go dokumentu korygujugacego.
Okres gwarancjny na nabyty przyze Panstwa produkt STEINEL Professionalwynosi w przypadku czujników, reflektorów, lamp zewétrznych i wewétrznych 5 lat i w kaźdym przypadku Rozpoczyna są od daty zakupu produktu.
W ramach ustugi gwarancyjnej nie przyjmujemy Państwa wydatków niedzych do wykonania swiadczenia naprawczego ani Państwa wydatków poniesionych w związkuz demontaquem wadliwogo produktu i montaquem produktu zastępczoego.
Ustawowe prawa przyȩstuguje w razie występowania wad,Nieodplatnosć
Opisane tu swiadczenia obowiazuja dodatkowo do ustawychroszczenzttytu rkojmi,wczajacszczeugolne przepisy dotyczace ochrony konsumenta,i nie ograniczaja ich aniNie zastepuja.Zustawowychpraw,privsugujacych w przypadku wystapienia wad, korzystaja Państwo nieodplatnie.
Odstepsta od gwarancji
Gwarancja nie są objekte stanowczy czadne wymienialne zarówki.
Poza tym gwarancja nie obejmuje:
-
w przypadku zuźycia częsci produktu uwarunkowanego eksploataczą lub innego naturalnégo zuźycia, sąź wad produktów STEINEL Professional, któreDynikaja z uwarunkowanego eksploataczą lub innego naturalnégo zuźycia,
-
w przypadku uzytkowania produktu niedzne z przyznaczeniem lub w sposob nieprawidowy, sądzNieprzestrzejania wskazowej dotycznych uzytkowania,
-jezeli samowolnie dokonano dobudowy lub przybebudowy, badz innych modyfikacje produktu, lub wadywynikajze stosowania akcesoriow, czeci zamiennych i uzupeñniajacych, które nie są oryginalnymi produktami STEINEL,
-jezeli konserwacja i pielegnacja produktów nie bywa wykonywana zgodnia z instrukcja obstugi,
-jezeli montaizu instalacji nie wykonano zgodnie z wytycznych dotyczymi instalacji STEINEL, - w przypadku szkód lub strat powstałych podczas transportu.
Obrowczywanie polskiego prawa
Obwiatzije polskie prawo z wyłaczeniem Konwencji Narodów Zjednoczonych o międzynarodowej sprezzały towarów (CISG).
Dochodzenie roszczen
Jeźeli chęc Śoństwo skorzystać z gwarancji, prosimy o przystanie produktu w stanie kompletnym, wraz z oryginalnym dowodem zakupy, krómy musi zwiercieć datezakupy i oznaczenia produktu, do swojejego spreżawcy lub bezposrechnio do nas: „Lę” Spółka z agraniczoną odpowiedzialnosci sp. k. dawniej „Lange Łukaszuk" spółka jawnaByków, ul. Wroclawska 43, 55-095 Mirków, Poland. Z this go powodu zapecamy staranne przechowywanie dowodu zakupy aż do momentu upływu okresugwarancyjniego.
10. Dane techniczne
-Wymiary (wys. szer. gt.): 49,8× 43,0× 15,1mm
-Zakresnapiecia:9,5VDC-22,5VDC (zgodnie z IEC62368-101)
Typ pradu podieranego DALI (przy 16,5 V): 2,7 mA
- Maks. kobór prȩdu DALI (prȩd wączeniowy przy 22,5 V): 9 mA
- Adresy DALI-2: 1
-Wprowadzenie za pomocag: bezpotencjatowy przycisk/ przy.§acznik
-Liczba wejsc:4
- Oznaczenia zacisków wejsciowych: K1, K2, K3, K4
- Maks. dęgosc przyzewodu: 50 m
- Maks. temperatura obudowy: 75^ C
- Klasa ochronnosci: Il w przypadku uzytkowania zgodnego z przyznaczeniem
- Stopien ochrony IP:
- Temperatura otoczenia: -20 °C do +50 °C
11. Sposob usuniecia usterki
Urzadzenie bez napiecia.
- Bezpiecznik nie wączony lub uszkodzony.
Włączyc bezpiecznik.
- Wymienić uszkodzony bezpiecznik.
- Przerwany przywód.
Sprawdzić przywód probnikiem napiecia.
-Zwarcie w przywodziezasilajacym.
Sprawdzić przyłącza. - Ewentualnie zainstalowy wyłacznik sieciowy jest wyłaczony.
- Wączyc wyłącznik sieciowy.
Notice-Facile