PC4 - Hæftemaskine STEINEL - Gratis brugsanvisning og manual
Find enhedens vejledning gratis PC4 STEINEL i PDF-format.
Download vejledningen til din Hæftemaskine i PDF-format gratis! Find din vejledning PC4 - STEINEL og tag din elektroniske enhed tilbage i hånden. På denne side er alle dokumenter nødvendige for brugen af din enhed offentliggjort. PC4 af mærket STEINEL.
BRUGSANVISNING PC4 STEINEL
- Om dette Dokument 141
- Generelle sikkerhedsanvisninger 141
- Beskrivelse 142
- Elektrisk tilslutning 146
- Montering 147
- Rengoring og vedligeholdelse 152
- Bortskaffelse 152
- Overensstemmelse 152
- Producentgaranti 153
- Tekniske data 154
- Afhjaelpning af fejl 155
1. Om dette dokument
- Ophavrsretligt beskyttet. Eftertryk, ogsa i uddrag, kun med vores tilladelse.
- Vi forbeholder os ret til ændringer af hensyn til den tekniske udvikling.

Advarsel mod farer!

Advarsel mod farer på grund af strøm!
2. Generelle sikkerhedsanvisninger

Fare, hvis brugsanvisningen ikke fjolges!
Denne brugsanvising indeholder vigtige informationer om sikker handtering af enheden. Der gores specifikt opmaerksom på mulige farer. Manglende overholdelse kan medfrole donden eller alvorlige kvæstelser.
-
Laes brugsanvisningen omhyggeligt.
Folg sikkerhedsanvisningerne.
Opbevar brugsanvisningen, sa der er adgang til den. -
Händtering af elektrisk strøm kan medføre farlige situationer. Berøring af strøm f Orende dele kan give elektrisk stød, forbrændinger og medfør dodsfald.
- Arbejde på netspænding mx kun udfores af kvalificeret fagpersonale.
- Overhold det体系建设 lands installationsforskrifter og til Slutningsregler (f. eks. D: VDE 0100,
- Brug kun originale reservedele.
- Reparationer må kun udføres af specialvirksomheder.
3. Beskrivelse
Korrekt anvendelse
- Interface for gaengse installationskontakter.
- Egnet til indbygning i en integreret installationsdase med en minimumsdybde på 60 mm.
Ukorrekt anvendelse
- Tilslutningerne på kontaktsammenkobleren er uegnet til netspænding.
Funktionsprincip
- Kontaktsammenkobleren integrerer yderligere kontakter i et DALI-lyssystem.
- Der kan tilsluttes op til fire gaengse installationskontaktert til hver kontaktsammenkobler.
- Kontaktsammenkobleren videresender signalerne via DALI til Application Controlleren (APC) / styreenheden.
- Kontakternes Funktion kan programmeres frit ved idrifttagningen.
Leveringsomfang

3.1

1x

1x
- 1 kontaktsammenkobler
- 1 sikkerhedsdatablad
- 1 Quick-Start
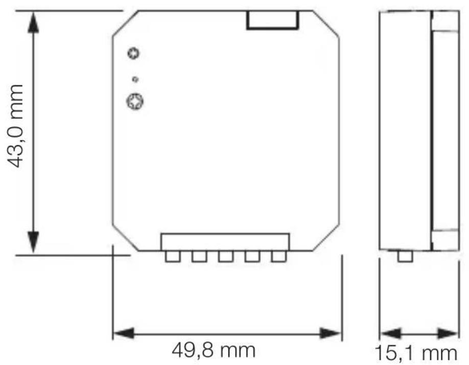
Produktmal

3.2
Oversigt over encheder
3.3

DK
A Tilslutninger til kontakter
B DALI-2-indgang
Netledningen bestär af en ledning med flere ledere:
L = fase (oftest sort, brun aller grä)
Kanaler / forsyning til kontakter:
K1 = kanal 1
K2 = kanal 2
K3 = kanal 3
K4 = kanal 4
Berøring af strømførende dele kan give elektrisk stød, forbrændinger og medfrole dødsfald.
- Slå strømmen fra, og afbryd spændingstilførslen.
- Kontroller med en spændingstester, om spændingen er afbrudt.
- Sørg for, at spændingstilførslen forblinger afbrudt.
Fare for materielle skader!
Ombytning af tilslutningsledningerne kan medfore kortslutning.
- Identificer tilslutningsledningerne.
- Forbind tilslutningsledningerne korrekt.
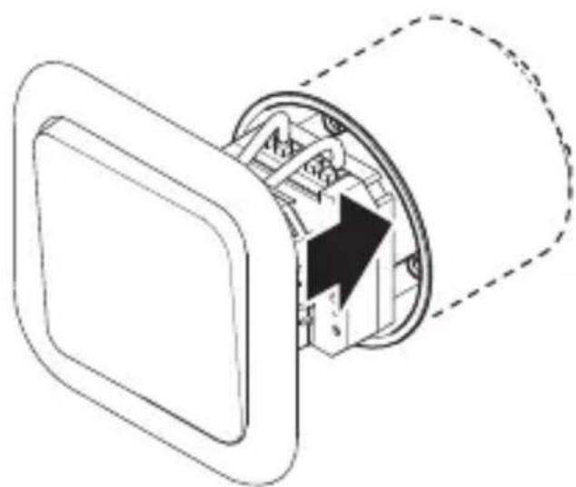
Forberedelse af montering
- Kontroller alle komponenter for beskadigelser. Erenheden beskadiget, på den/DDke tages i brug.
Gør dig fortrolig med monteringssitua tionen og de tilhorende dokumenter.
Vaelg et egnet monteringssted.
-Vibrationsfrit.
-Ikke i eksplosionsfarlige omrader.
-Ikke på let brændbare overflader.
5.1

Find det nødvendige værktøj og materi ale: -Skruetrækker.
Monteringstrin
Anvendeseksenspel: 1 Kontakt
5.2



- Kontroller, at spændings tilførslen er afbrudt.
- Tilslut nettilforslen iht. eldiagrammet.
"4. Elektrisk tilslutning"
Anvendeseksenspel: 2 kontakter

5.3



- Kontroller, at spændings tilførslen er afbrudt.
- Tilsnut nettilforslen iht. eldiagrammet.
"4. Elektrisk tilslutning"
5.4

DK
- Slå strømforsyningen til
Hvis vandkommen i Kontakt med strømførende dele, kan det medføre elektrisk stød, forbrændinger eller død.
- Rengør kun encheden, hvis den er tør.
7. Bortskaffelse
Smid/DD elapparater ud sammen med husholdningsaffaldet!
Kun for EU-lande:
I henhold til det europæiske direktiv om kasserede el- og elektronikapparater skal kasserede elapparater indsamles separat og bortskaffes til miljøvenlig genvinding.
8. Overensstemmelse
Hermed erklærer STEINEL GmbH, at det tradløse anlaeg af typen kontaktsammenkobler PC4-DALI-2 er i overensstemmelse med 2014/53/EU. Du kan læse EU-overensstemmelseserklaeringens komplete tekst under følgende internetadresse: www.steinel.de
9. Producentgaranti
Producentgaranti STEINEL GmbH, Dieselstraße 80-84, DE-33442 Herzebrock-Clarholz, Tyskland
Som køber har du de lovbestemte rettigheder over for sælger. Sæfremt disse rettigheder eksisterer i dit land, hverken afkortes eller begrænses de af vores garantier-klaering. Vi giver 5 árs garanti for fejlfri og korrekt Funktion på dit STEINEL-Professional-sensortechnologi-produkt. Vi garanterer, at dette produit ikke har materiale-,produkts- eller konstruktsfejl. Vi giver garanti for alle elektroniske componenters og kablers funktionsevne og for, at alle anwendte materialer og disses overflader ikke har mangler.
Fremsættelse af krav:
Hvis du vil fremsætte en reklamation over dit produit, bedes du sende produitet komplet og fragtrit med den originale købsdokumentation, som skal indeholde købsdato og produktbetegnelse, til din forhandler Wexøe A/S, Installation Division, Lejrvej 31, DK-3500 Værlose. Vi anbefaler, at du opbevarer din købsdokumentation sikkert, indtil garantiperioden er udløbet. Roliba A/S hæfter ikke for transportomkostninger og risici under returneringen af produitet.
Du finder informationer om gennemførelse af et garantikrav på vores hjemmeside www.wexoe.dk
Hvis du har et garantitilfæle de eller et spørgsmål til dit produit, kan du alto ringe på tlf. (+45) 45 46 58 00.
10. Tekniske data
- Mäl (H × B × D): 49,8 × 43,0 × 15,1 mm
- Spændingsområde: 9,5 VDC -22,5 VDC (iht. IEC62368-101)
Typ. strømforbrug DALI (ved 16,5 V): 2,7 mA - Maks. strømforbrug DALI (indkoblingsstrøm ved 22,5 V): 9 mA
-DALI-2-adresser: 1 - Indtastning via: Potentialfri kontakt
- Antal indgange: 4
- Maerkning af indgangsklemmerne: K1, K2, K3, K4
- Maks. ledningslaengde: 50 m
- Maks. hustemperatur: 75 °C
- Beskyttelsesklasse: II. ved korrekt anvendelse
- IP-kapslingsklasse: IP 20
- Omgivelsestemperatur: -20 °C til +50 °C
11. Afhjælpning af fejl
Enhed Eden spanding.
-
Sikring/DD:
-
Slå sikringen til.
-
Udskift den defekte sikring.
-
Ledning afbrudt.
- Kontroller ledningen med en spændingstester.
-Kortslutning i nettilforslen. - Kontroller tilslutningerne.
- En eventuel netafbryder er slæt fra.
- Slå netafbryderen til.
FI
Sisällysluettelo
1. Om dette dokumentet
- Med opphavsrett. Ettertrykk, ögså i utdrag, kun med vär tillatelse.
- Det tas forbehold om endringer som tjener tekniske fremskritt.

Advarsel om fare!

- Identifiser tikkoblingsledningene.
Koble tilkoblingsledningene korrekt til.
Forberede montering
- Apparatet skal kun rengjores nár det er tört.
Notice-Facile