PC4 - Hefteapparat STEINEL - Gratis bruksanvisning og manual
Finn enhetens veiledning gratis PC4 STEINEL i PDF-format.
Last ned instruksjonene for din Hefteapparat i PDF-format gratis! Finn veiledningen din PC4 - STEINEL og ta den elektroniske enheten tilbake i hendene. På denne siden er alle dokumenter som er nødvendige for bruken av enheten din publisert. PC4 av merket STEINEL.
BRUKSANVISNING PC4 STEINEL
4. Elektrisk til Slutting
Eldiagrammer
4.1



N = nulleder (oftest blå)
DA+ = tilslutnng til DALI-BUS (brun)
DA- = tilslutnngtilDALI-BUS(brun)
COM = forsyning til kontakter
Kontaktkabel
- Maksimalt 50 m langt.
- Skal fores i en separat plastindkapslet ledning.
5. Montering

Fare pga. elektrisk strøm!
6. Rengøring og vedligeholdelse
Produkt er vedligeholdesesfrit.

Fare pga. elektrisk strøm!
Elapparater, tilbehør og emballage skal bortskaffes til miljøvenlig genvinding.

Advarsel om fare på grunn av strøm!
2. Generelle sikkerhetsinstrukser

Fare dersom bruksanvisingen ignoreres!
Denne anvisningen inneholder viktig informasjon for sikker bruk av encheten. Det gjores ekstra oppmerksom på mulige farer. Ignoreresppe, kan dette.fore til død eller alvorlige personskader.
- Les bruksanvisningen nøye.
Folg sikkerhetsinstruksene. -
Oppbevar bruksanvisningen tilgjengelig.
-
Bruk av elektrisk strøm kan före til farlige situasjoner. Berøring av strømførende deler kan före til elektrisk sjokk, forbrenninger eller død.
- Arbeid på nettspenningen skal kun utføres av kvalifisert fagpersonale.
- Følg nasjonale installasjonsforskrifter og tilkoblingskrav (f.eks. D: VDE 0100, A: ÖVE-ÖNORM E8001-1, CH: SEV 1000).
- Bruk kun originale reservedeler.
- Reparasjoner skal kun utfores av fagbedrifter.
3. Beskrivelse av encheten
Forskriftsmessig bruk
- Grensesnitt for vanlige trykkbrytere til installationsjon.
- Egner seg for montering i en innfelt boks med 60 mm minstedybye.
Ikke forskriftsmessig bruk
- Koblingene på trykkbryterkobligen egner seg/DDne for nettspenning.
Funksjon
- Trykkbryterkoblingen integrerer ytterligere trykkbrytere i et DALI-lyssystem.
- Det kan kobles optil fire vanlige trykkbrytere for installationsjon til hver trykkbryterkobling.
- Trykkbryterkoblingen gir signalene videre til Application Controller (APC) / styringsenheten via DALI.
- Trykkbryternes funksjon kan programmeres fritt ved igangsetting.
Leveringsomfang

3.1

1x

1x
NO
- 1 trykkbryterkobling
- 1 sikkerhetsdatablad
- 1 hurtigstart
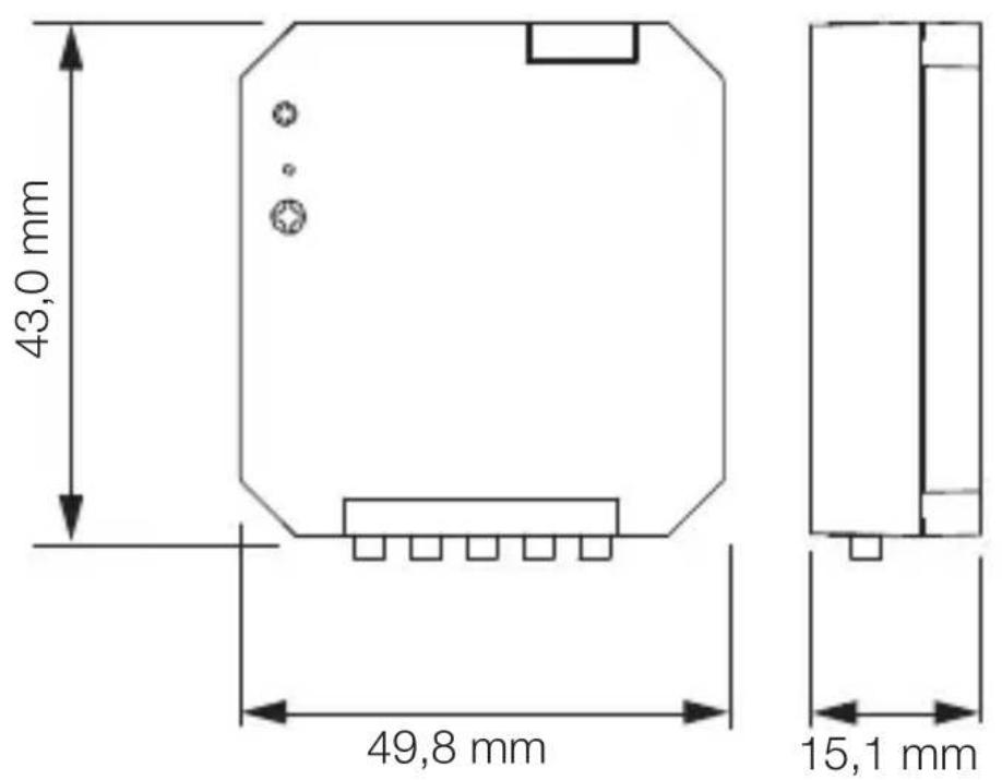
Produktmal

3.2
Oversikt over apparatet
3.3

NO
A Tilkoblinger trykkbryter
B DALI-2-inngang
4. Elektrisk tinkobling
Koblingssskjema
4.1



L = fase (som regel svart, brun eller grå)
N = nulleder (som regel blå)
DA+ = tilkobling til DALI-BUS (brun)
DA- = tilkoblingtilDALI-BUS(brun)
Kanaler / forsyning trykkbryterkobling:
K1 = kanal 1
K2 = kanal 2
K3 = kanal 3
K4 = kanal 4
COM = forsyning trykkbryter
Trykkbryterkabel
- Maks. 50 m lang.
- Ma legges i en separat plastmantlet ledning.
5. Montering

Elektrisk strøm kan utgjore fare!
Berøring av strømførende deler kan.fore til elektrisk sjokk, forbrenninger eller død.
- Slå av strømmen og stans strømtilførlsen.
- Bruk en spenningstester til Å kontrollere at ledningen er stromfri.
Pase at strømtilforselen forblir stanset.
Fare for materielle skader!
Forveksles tikkoblingsledningene, kan dette.fore til kortslutning.
- Kontroller alle komponenter for skader. Ikke ta encheten i bruk hvis den er skadet.
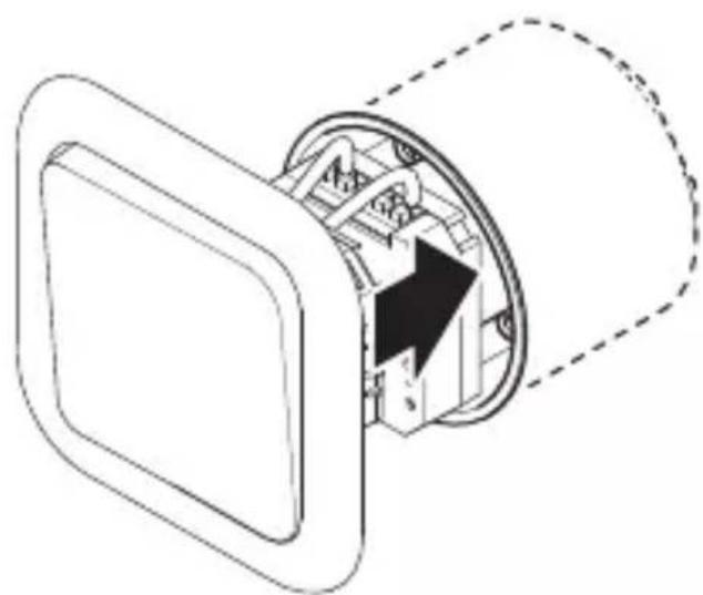
Gjør deg kjent med monteringssituasjonen og de tilhorende dokumentene. - Velg et egnet monteringssted.
-Vibrasjonsfritt.
- Ikke i eksplosive omgivelser.
- Ikke pålett antennelige overflater.
5.1

- Finn fram不同程度 verktøy og materiale: -skrutrekker.
Fremgangsmåte ved montering:
Eksempel på bruk: 1 trykkbryter
5.2



Pase at strømtilforselen er stanset.
Koble nettledningen til iht. koblingsskjemaet.
→«4. Elektrisk tinkobling»
Eksempel på bruk: 2 trykkbrytere

5.3



Pase at strømtilforselen er stanset.
Koble nettledningen til iht. koblingsskjemaet.
→«4. Elektrisk tinkobling»
5.4

NO
- Sett trykkbryterkoblingen inn i boksen.
- Sett trykkbryteren på boksen.
5.5


- Slå på strømtilførşelen
6. Rengjøring og stell
Apparatet er vedlikeholdsfritt.

Elektrisk strøm kan utgjore fare!
Kommer strømførende deler i kontakt med vann, kan dette fore til elektrisk sjokk, forbrenninger eller død.
Elektriske apparater, tilbehør og emballasje skal resirkuleres på en miljøvennlig mæte.

Ikke kast elektriske apparater i husholdningsavfallet.
Gjelder kun EU-land:
I henhold til gjeldende europeiske retningslinjer for elektriske apparater og brukte elektriske apparater, og i samsvar med nasjonal lovgivning, skal elektriske apparater som ikke lenger kan benyttes, samles opp atskilt fra annet soppel og gjenvinnes på en miljøvennlig måte.
8. Samsvarserklæring
Herved erklærer STEINEL GmbH at det tradløse anlegget av type trykkbryterkobling PC4-DALI-2 oppfyller kravene i 2014/53/EU. Du finner EU-samsvarserklæringen i sin helhet på følgende internettadresse: www.steinel.de
9. Produsentgaranti
Produsentgaranti STEINEL GmbH, Dieselstraße 80-84, DE-33442 Herzebrock-Clarholz, Tyskland
Som kjøper har du eventuelt lovfestede mangeellergarantirettigheter overfor selger. I den grad disserettighetene finnes i ditt land, verken innskrenkes ellerforkortes dePGA grunn av vargarantierklæring.Vigir deg fem Års garanti pà at ditt sensorprodukt fra STEINEL Professional er uten mangler og fungerer som det skal. Vi garanterer at dette produitet ikke har material-, produksjons-ller konstruk sjonsfeit. Vi garanterer at allelektroniske deler og kabler fungerer, og at alle materialer og overflater er uten mangler.
Garantikrav:
Dersom du onsker Å reklamere på produitet,@mà du pakke det godt inn, frankere det og sende hele produitet i retur samaen med original kjøpskvittering som viser kjøpsdato og produktnavn. Produktet sendes til forhandler eller direkte til oss: Vilan AS - Olaf Helsets vei 5, 0694 Oslo, Norge. Vi anbefaler deg derfor Å ta godt varre på kjøpskvitteringen til garantiperioden er utlopt. STEINEL tar ikke ansvar for transportkostnader eller risiko i sammenheng med retursendingen. Informasjon om hvordan du gjør garantikrav gjeldende finner du på hjemmesiden vår, www.vilan.no
Ta gjerne kontakt med oss om du har garantikrav ellerspørsmål angændeproduktet ditt.
Du nær oss på +47 22 72 50 00.
10. Tekniske spesifikasjoner
- Mäl (h × b × d): 49,8 × 43,0 × 15,1 mm
- Spenningsområde: 9,5 VDC -22,5 VDC (iht. IEC62368-101)
- Typ. strømuttak DALI (ved 16,5 V): 2,7 mA
- Maks. strømuttak DALI (innkoblingsstrøm ved 22,5 V): 9 mA
- DALI-2 adresser: 1
-Inngang via: potensialfri trykkbryter/bryter - Antall innganger: 4
-Merkingpaa ingangsklemmene: K1,K2,K3,K4 - Maks. ledningslengde: 50 m
- Maks. hustemperatur: 75 °C
- Kapslingsklasse: II. ved forskriftsmessig bruk
- IP-kapslingsgrad: IP 20
- Omgivelsestemperatur: -20 °C til +50 °C
Notice-Facile