Ergojet 3000 - Sesalnik pihalnik GARDENA - Brezplačna navodila za uporabo
Brezplačno poiščite navodila za napravo Ergojet 3000 GARDENA v formatu PDF.
Vprašanja uporabnikov o Ergojet 3000 GARDENA
0 vprašanje o tej napravi. Odgovorite na tiste, ki jih poznate, ali zastavite svoje.
Zastavite novo vprašanje o tej napravi
Prenesite navodila za vaš Sesalnik pihalnik v formatu PDF brezplačno! Poiščite svoja navodila Ergojet 3000 - GARDENA in vzemite svojo elektronsko napravo nazaj v roke. Na tej strani so objavljeni vsi dokumenti, potrebni za uporabo vaše naprave. Ergojet 3000 znamke GARDENA.
NAVODILA ZA UPORABO Ergojet 3000 GARDENA
Natančno preberite navodila za uporabo in upoštevajte podane opombe. S pomočjo teh navodil za uporabo se podrobno seznanite z izdelkom, pravilno uporabo in varnostnimi navodili.

Otroci in osebe, mlajse od 16 let, ter osebe, ki niso dobrosznanjene s temi navodili za uporabo, iz varnostnih razlogov ne smejo uporablji tega izdelka. Osebe z omejenimi telesnimi ali razumskimi sosobnostmi lahko uporabljago izdelek samo, ce jih nadzira odgovorna oseba oz. jih je dobroseznanila z načinom uporabe.
Vsebina:
Ta navodila za uporabo shranite na varnem mestu.
- Podroćja uporabe naprave GARDENA ErgoJet 3000. .217
- Varnostna navodila 218
- Sestavljanje. 221
4.Delovanje 223
5.Shranjevanje. 225
6.Vzdrzevanje. 226 - Odpravljanje težav 227
8.Tehnici podatki 228 - Servis/garancija 228
1. Področja uporabe naprave GARDENA ErgoJet 3000
Pravilna uporaba puhalnika:
GARDENA ErgoJet 3000 se lahko uporablja kot puhalnik za pometanje smeti ali ostankov trave na cestah, pločnikih, dvoriščih itd. in za razpihovanje ostankov trave, blame ali listja na kupe oz. za odstranjevanje smeti iz vogalov, okoli stićnih mest ali med opekami.
Pravilna uporaba sesalnika:
GARDENA ErgoJet 3000 se lahko uporablja kot sesalnik za podiranje suhega materiala, kot so listi, trava, manjse vejice ali koscki papirja.
NEVARNOST! Nevarnost poškoc

Izdelek je lahko nevaren, ce se ne uporablja pravilno. Za zagotovitev varne in učinkovite uporabe izdelka upoštevajte opozorila in varnostna navodila. Uporabnik mora upoštevati opozorila in navodila, ki so zapisana v priročniku in na izdelku. Nikoli ne uporabljaje izdelka, ce šcitniki, ki jih je dobavit proizvajalec, niso v pravlnépoložaju.
2. Varnostna navodila
Upostevajte varmostna navodila na enoti ErgoJet 3000.

OPOZORILO: Delo z enoto je lahko nevarno! Nepremisljena ali nepravilna uporaba lahko povzroci teze telesne poskodbe.

Natančno preberite navodila za uporabo in se prepričajte, da ste pravilno razumeli vse postopke in funkcije upravljanja.

Enote ne izpostavljaje dezju. Izdelka ne pušcajte na prostem,

Izklopite enoto! Pred nastavljan-jem, cischenjem ali v primeru prepletenega ali poškodovanega kabla izvlecite vtic iz omrežne vtichice.

Priporocamo uporabo zašcitnih slušalk in očal.

Opazovalci se ne smejo zadrževati v blizini naprave.
Splošna varnostna opozorila za elektricno orodje

OPOZORILO: Preberite vsa varnostna opozorila in vsa navodila.
Neuostoceanje opozoril in navodil lahko povzroci udar elektricnega toka, pozar in/ali tezejtelesne poskodbe.
Vsa opozorila in navodila shranite za kasnejjsou porabo.
Izraz "elektricno orodje" v opozorilih se nanaša na elektricno orodje, ki ga napaja omrežnanap etost.
1) Varnost delovnega območja
a) Tega izdelka ne smejo uporabljati osebe zzmanjsanimi fizičnimi, zaznavnimi ali mentalnimi sposobnostmi (vkljućno z otroci), razen ce jih glede uporabe pouči ali pri uporabi nadzoruje oseba, ki je odgovorna za njihovo varnost. Otroke je treba nadzorovati, da se ne bi z izdelkom igrali. Starost uporabnika lahko omejujejo lokalni predpisi.
Nikoli ne dopustite, da bi izdelek uporabljali otroci ali ljudje, ki niso seznanjeni z navodili za uporabo.
Elektricna orodja so nevarna, cje jih uporabljaneizurjenao seba.
b) Otroci in opazovalci najBODY v casa dela z orodjem na varni razdalji. Zunanje motnje lahko povzrocijo izgubo nadzora.
c) Nikdar ne pihajte odpadkov v smeri opazovalcev. Upravljavec oz. uporabnik je odgovoren za nesreće ali nevarnosti, povzročene drugim osebam ali njihovi lastnini.
d) Delovno območje naj bo Čisto in dobro osvetljeno. V neurejenih ali temnih prostorih je vecja možnost nasreće.
e) Elektricnega orodja ne uporabljaje v eksplozivnem ozracju, npr. ob prisotnosti vnetljivih tekocin, plinov ali prahu.
Elektricno orodje povzroča iskre, ki lahko vžgejo vnetljiv prah ali hlape.
2) Elektricna varnost
a) Vtič elektricnega orodja mora ustrezati vtčnici. Vtiča na noben način ne spreminjaje. Pri ozemljenih elektricnih orodjih ne uporablajte adapterjev. Uporabljate smo izmenično omrežno napajanze z napetostjo, ki je navedena na nalepki na izdelku. Nikoli ne sme biti ozemljitev priklujcena na katerikoli del izdelka. Nespremenjeni vtči in ustrezne vtčnice zmanjsajo nevarnost udara elektricnega toka.
b) Izogibajte se dotiku ozemljenih povrsin, kot so vodovodna napeljava, radiatorji, stedilniki in hladilniki. Pri ozemljenem telesu se poveca nevarnost udara elektricega toka.
c) Elektricnega orodja ne izpostavljaje dežu ali vlaznemu okolju.
Voda, ki pride v elektricno orodje, poveča nevarnost udara elektricnega toka.
d) Pazite na priključni kabel. Priključnega kabela ne uporabljajte za prenašanje, vlečanje ali izklapljanje elektricnega orodja. Priključnega kabela ne izpostavljajte vročini, olju, predmetom z ostrimi robovi ali gibljivim delom. Pred uporabo preverite kabel glede morebitnih poskodb. Če so na kablu vidni znaki poskodb ali staranja, ga zamenjajte. Vrtnega sesalnika ne uporabljajte, Če so
elektrichi kabli poskodovani ali obrabljeni. Takoj izkljucite elektrichi tok ce je kabel prerezan ali je poskodovana izolacija. Ne dotikajte se elektrichega kabla dokler ne izkljucite elektrichega toka. Prerezan ali poskodovan kabel ne popravljaje. Zamenjate ga z novim. Poškodovan ali prepleten kabel poveča nevarnost udara elektrichega toka.
e) Elektrichi kabel mora biti odvit. Naviti kabli se lahko pregrejejo in s tem poslabšajo učinkovitost izdelka. Kabel vedno navijajte previdno, da se ne preplete.
f) Pri uporabi elektricnega orodja na prostem uporablajte podaljsek, ki je primeren za zunanjo uporabo z namesceno spojnicov skladu z IEC 60320-2-3. Uporaba primernega podaljska zmanjsa nearnost udara elektricnega toka.
g) Ce se ne morete izogniti delu z elektricnim orodjem v vlaznem okolju, uporabite napajanje, ki je zavarovano z zašcitno napravo na diferencěni tok. Priporočamo uporabo stikala za napačni tok z nazivno vrednostjo napčnega toka ≤ 30 mA. Tudi z uporabo varnostne naprave 100% varnost ne more biti zagotovljena, zato se pri vsaki uporabi kosilnice držite navodil za varno delo. Neoporečnost varnostne naprave R.C.D. preverite pred vsako uporabo.
Uporaba zaščitne naprav na diferencni tok zmanjsa nevarmost udara elektricnega toka.
3) Osebna varnost
a) Pri delu z elektricnim orodjem bodite pozorni in uporabljaje zdraz razum. Elektric- nega orodja ne uporabljaje, kadar ste utrujen iz pod vplivom drag, alkohola ali zdralil. Trenutek nepazljivosti pri delu z elektricnim orodjem lahko povzroci resno telesno poskodbo.
b) Uporabljaje osebno zašcitno opremo. Vedno nosite zašcitna očala in zašcitne slusalke. Zaradi preprečitve vdihovanja prahu, Vam priporoćamo uporabo zašcitne maske za usta in nos.
Namenska uporaba zašcitne opreme (kot so zašcitna očala, zašcitne slušalke, protiprašna maska, nedrseča zašcitna obutev ali zašcitnoPokrivalo) zmanjsa stevilo telesnih poskodb.
c) Preprecite nenamerni vklop. Pred priklujci-tvijo na napajalno napetost, dviganjem ali pred prenašanjem orodja preverite, ce je stikalo izkljuceno.
Prenašanje elektricnega orodja s prstom na stika-lu ali priklop elektricne napetosti na elektricno orodje z vklučenim stikalom poveça možnost nesreće.
d) Z orodjem ne segajte predalec. Vedno zanesljivo stopajte in pazite na ravnotezje. Na pobocjih morate biti še zlasti previdni in nositi obuvala, ki ne drsijo. Med kosnjo ne hodite vzvratno, lahko se spotaknete. S kosilnico hodite počasi, ne tekajte. Med uporabo izdelka ne uporabljajte lestev.
e) Primerno se oblecite. Vedno nosite ustrezno obleko, rokavice in moche necevlje. Ne nosite ohlapnih oblačil ali nakita. Las, obleke in rokavic ne priblizujte gibljivim delom. Ohlapna oblačila, nikit ali dolgi lasje se lahko zapletejo v gibljive dele.
4) Uporaba in vzdrrzevanie elektricnega orodja a) Izdelek uporablajte samo na nacin in za funkcije, opisane v teh navodilih. Kabel naj bo vedno usmerjen nazaj, vstran od izdelka. Elektricnega orodja ne preobremenjute. Uporablajte ustrezno orodje.
Delozustreznim orodjem je učinkovitejse in varnejse, Če ga uporabljate do predpisane obretenitve.
b) Pred uporabo se vedno prepričajte, da je sesalec varen za obratovanje. Elektricnega orodja ne uporabljajte, Če ga ni možno vključiti in izključiti s stikalom. Poznati morate postopekitetz austavitve izdelka v sili.
Elektricno orodje, ki ga ni mogoce vklopiti in izklopiti s stikalom, je nevarno in ga je potrebno popraviti.
c) Rotor se vrti še nekaj Časa po izklopu naprave.
Motor mora biti zaustavljen, lopatie rotorja pa se ne smejo več vrteji, da ne pride do težijh poskodb zaradi vrtečih lopatic.
d) Napravo izklopite iz omrežne napetosti:
pred odstranjevanjem ali zamenjavo povsem sestavljene zbiralne vrečke;
- pred zapuschanjem naprave brez nadzora za poljuben cas;
pred odstranjevanjem blokade;
pred preverjanjem, cišcenjem ali delu na napravi;
- ce začne izdelek neobiciajno vibrirati. Takoj preverite. Premočno vibriranje lahko povzroči telesne poskodbe.
- preden napravo izročite drugi osebi.
e) Elektricno orodje hranite izven dosega otrok ter ne dovolite uporabe orodja ljudem, ki nisoseznanjeni z navodili za uporabo in z delovanjem orodja.
Elektricna orodja so nevarna, ce jih uporablja nei-zurjena oseba.
f) Orodje redno vzdrujte. Preverite morebitno ukrivljenost ali neravnost gibljivih delov, razpoke na sestavnih delih ter katerokoli drugo stanje, ki lahko vpliva na delovanje elektricnegara orodja. Elektricno orodje v primeru poskodbe odnesite v popravilo.
Vsi vstopi za zrak naj bodo Čisti. Veliko nesreč se pripeti zaradi slabo vzdřevanega orodja.
g) Elektricno orodje in opremo uporabljaje v skladu s temi navodili. Pri tem upostevajte trenutne delovnye pogoje in delo, ki ga morate opraviti. Orodje uporabljaje samo pri dnevni svetlobi ali dobri razsvetljavi.
Nenamenska uporaba elektrichega orodja lahko pripelje do nevarnih situacij.
5)Vzdrzevanje in shranjevanje
Elektricno orodje Naj popravljaismo strokovno usposobljena oseba z uporabo identiichn nadomestnih delov. Tako zagotovite, da se ohrani varnost elektricnega orodja.
-Vse matice, sorniki in vijaki morajo biti dobro priviti, da so zagotovljeni varni pogoji delovanja.
Zaradi varnosti zamenjaje obrjene ali poskodovane dele.
- Uporabljaje samo originalne nadomestne deli in opremo.
- Redno pregledujte zbiraln ovrecko. Ce se zbiralna vrecka obrabi ali poškoduje, jo zamenjaje.
- Enoto hranite v suhem, hladnem prostoru, izven dosega otrok. Ne shranjujte je na prostem.
Varnostna opozorila za puhalnik
Pred vklopom enote preverite delovno obmoce. Odstranite vse smeti in trde predmete, npr. skele, steklo, zico ipd., ki se med delovanjem lahko odbijejo, izvrzejio ali na drug način povzroćijo poskodbo oseb ali okvaro orodja.
- Enote nikoli ne zaženite brez priključene ustrezne opreme. Ko enoto uporabljate kot puhalnik, vedno namestite cev puhalnika. Uporabljaje samo priporočene priključke, da preprečite poškodbe.
- Puhalnika ne uporabljaje v blizini gorecega listja ali dračja, ognjišć, Žarov, pepelnikov itd. S pravilno uporabo puhalnika pomagate pri izogibanju razširjanja požara.
V cevi puhalnika nikoli ne vstavljaje predmetov. Smeti, ki jih razpihavate, vedno usmerite stran od ljudi, zivali, stekel in masivnih predmetov, kot so drevesa, avtomobili, stene itd. Moč izpihanega zraka lahko povzroči izmet ali odboj kamnov, umazanje oz. palic in povzroči poskodbe ljudi ali
živali, razbije steklo ali povzroci drugačne poskodbe.
- Orodja nikoli ne uporabljajte za razprševa-nje kemikalij, umetnih gnojil ali drugih snovi. Na ta način preprečite razprševaanse strupenih snovi.
Varnostna opozorila za sesalnik
- Ne poskusajte sesati vode ali drugih tekocin.
Pred odpiranjem vratc za dovod zraka ali pred vstavljanem oz. odstranjevanjem sesalnih cevi zaustavite motor in odklopite podaljsek.
Motor mora biti zaustavljen, lopatie rotorja pa se ne smejo vecrvteti, da ne pride do tezjih poskodb zaradi vrtecih lopatic.
Pred vklopom enote preverite delovno območje. Trdi predmeti se lahko izvržejo skozi zbirnalno vrečko ali ohišje in postanejo nevarni izstrelki, ki lahko povzročijo težje telesne poškodbe uporabnika ali drugih oseb.
- Ne sesajte kamnov, proda, kovine, zlomljenega stekla itd. S pravilno uporabo enote se zmanjsa moznost telesnih poškodb in/ali poškodb enote.
Voda ali druge tekocrine, ki pridejo v elektricno orodje, povecajo nevarnost udara elektricnega toka.
- Enote nikoli ne zaženite brez prikljucene ustrezne opreme.
Ko enoto uporabljate kot sesalnik, vedno namestite sesalne cevi in sestav zbiralne vrečke. Med delovanjem enote mora biti sestav zbiralne vrečke povsem zaprt, da se prepreci izmet smeti. Uporabljajte samo priporočene priključke. - Ne sesajte odvrzhenih vzigalic, cigar, cigaret ali pepela iz ognjišc, zarov, gorecega dračja itd. Izogibajte se situacijam, ki bi lahko povzročile vžig zbiralne vrečke.
Puhalnka ne uporablajte v blizini gorecega listja ali dračja, ognjiš, zarov, pepelnikov itd., da preprecîte razširjanje ognja.
Pri sesanju vedno uporablajte naramni pas. To zagotavlja bolji nadzor elektricega orodja. - Odprtine za vstopni zrak, cevno koleno in sesalne cevi redno preverjaje - vedno pri zaustavljeni enoti, odklopljeni od elektricne napetosti.
V zračnih odprtinah in ceveh se ne smejo nabi- rati smeti, ki lahko preprećijo ustrezen pretok zraka. Enote ne uporabljaje, Če je blokirana katerakoli odprtina. Odstranite prah, vlakna, lase in vse, kar bi lahko zmanjsalo pretok zraka.
3. Sestavljanje

OPOZORILO: Pred odpiranjem vchodegaPokrova oz. pred namestitvijo ali odstranjevanjem cevi puhalnika ali sesalnih cevi zaustavite enoto in odklopite podaljšek.
Motor mora biti zaustavljen, lopatie rotorja pa se ne smejo vecrvteti, da ne pride do težijh poškodb zaradi vrtecih lopatic.
Namestitev cevi puhalnika:

- Utore na cevi puhalnika poravnajte ① z utori na izhodu puhalnika ②.
- Cev puhalnika potisnite na izhod puhalnika, dokler se ne zaskovi na svoje mesto; cev je pritrjena na puhalnik z gumbom za sprostitev cevi ③.
- Za odstranitev cevi puhalnika pritisnite na gumb za sprostitev cevi ③ in pri tem vlecite cev.
OPOMBA: Varnostno stikalo preprečuje zagon enote,Če cev puhalnika ni pravilno namesčena.
Namestitev sesalnih cevi:

- Za odpiranje vhodnegaPokrova ④ sprostite zaporo ⑤ ,kot je prikazano, ter pomožni ročaj za sesanje ⑥ premaknite navzgor.

- Pocakajte, da se zapora zaskovi v zadnji ročaj puhalnika ⑦. Priključni kabel ⑧ mora ostati prosto gibljiv.

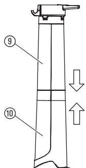
OPOMBA: Prisotni sta 2 sesalni cevi: zgornja ⑨ in spodnja cev ⑩ . Zgornja cev ima tečaj in kaveljčke na enam koncu, na obeh koncih pa je naravnost odrezana. Zgornja cev je pritrjena na puhalnik. Spodnja cev ima ukrivljen konec, ki ga med sesanjem usmerite proti tlom. Spodnja cev je pritrjena na zgornjo cev.
- Za pritrditev spodnje sesalne cevi ⑩ na zgornjo cev ⑨ najprej poravnajte brazde na obeh ceveh. Nato stisnite obe cevi skupaj, da se spodnja cev do konca namesi v zgornjo cev.

- Tečaj ② na zgornji cevi namestite v kaveljček ⑪ na spodnji stranie note.
- Z uporabo tal za 18 oporo zavrtite puhalnik, dokler se cev ne zaskovi v zapore na pritrdilnih drogovih 14 puhalnika.
OPOMBA: Varnostno stikalo preprečuje zagon enote,Če sesalni cevi nista pravlino nameščeni.
"Zaskok"

Prikljucitev zbiralne vrečke:

- Utore na cevnm kolenu ⑤ poravnajte z utori na izhodu puhalnika ②.
- Cevno koleno potisnite na izhod puhalnika, da se zaskovi na svoje mesto; koleno je zavarovano z gumbom za sprostitev cevi ③.
- Zbiralno vrečko 16 pritrdite na zanke na zgornji sesalni cevi 9 in na spodnji sesalni cevi 10.
OPOMBA: Varnostno stikalo preprečuje zagon enote, Če cevno koleno ni pravilno namešćeno.
Pritditev naramega pasu:

Za dodatno podporo pri uporabi enote za sesanje je enoti prilozen naramni pas. Pas pritrdite na enoto pred uporabo. Kaveljcek vstavite v zadrzevalnik, da se zaskovi ①
Postopek spremembe sesalne enote v puhalnik:
- Zaustavite enoto in odklopite podajšek.
- Odstranite cevno koleno in zbiralno vrečko.
- Odstranite sesalne cevi - sprostite zaporo na vchodnemPokrovusesalne odprtine in zavrtitePokrov, dokler se cevi ne sprostita izzapor na pritrdilnih drogovih.
- Zaprite vhdni Pokrov in preverite, ce je zapora zaphta.
- Ponovno namestite cev puhalnika. Za opis postopka pritrditve glejte poglavje NAMESTITEV CEVI PUHALNIKA.
OPOMBA: Varnostno stikalo preprečuje zagon enote, Če vhodniPokrov ni dobro zaprt.
4. Delovanje

OPOZORILO: Ne uporabljaje enote brez cevi ali pravilno priključene zbiralne vrečke, da preprečite izmet smeti in/ali stik z rotorjem, ki lahko povzroči težje telesne poškodbe.
Vedno nosite rokavice in zašcitna očala, da zašcitite obraz in oči pred odpihanimi ali obitimi kamni in delci smeti, ki bi lahko povzročili slepoto oz. težje telesne poskodbe.
Kabli:
Kabel prereza 1,00 mm² uporablajte samo do dolzine največ 40 metrov.
Največja moč:
Kabel prereza 1,00 mm²
3000 W
Priključni kabli in podaljski so na voljo v vašem najblžjem pooblašćenem servisem centru. Uporabljaje tam podaljške, ki so načrtovani za zunano uporabo.
Priklucitev enote - zapora za kabel/podaljski:
Na podaljsku oblikujte zanko in jo vstavite v zaporo za kabel 19.
Na ta način preprečite nehoteno prekinitev prikljucitve na elektrčno napetost. Nato enoto prikljucite na prikljucni kabel.
0


Zagon puhalnika:

Delovni položaji:



OPOZORILO: Ce se enota zamaşi, jo zaustavite in odklopite podaljšek. Pocakajte, da se rotor popolnama zaustavi, nato odstranite sesalne cevi. Previdnosezite v sesaln odprtino in odstranite zamašene smeti. Na tanačin zmanjsate možnost telesnih poškodb z rotorjem.
Vklop puhalnika:
Za vklop enote premaknite stikalo za vklop/izklop ⑧ v položaj za vklop (I).
OPOMBA: Hitrost motorja lahko višate ali nižate z regulatorijem hitrosti (21).
PREVIDNOST: Za preprečitev poškodbe enote lahko regulator hitrosti uporabljate samo v načinu puhalnika. Regulatorja hitrosti NE uporabljaje med uporabo v načinu sesanja. Nižje hitrosti med sesanjem lahko povzroćijo nabiranje smeti, zastoj motorja in okvaro enote.
Izklop puhalnika:
Enoto zaustavite s preklopom stikala za vklop/izklop 20 v položaj za izklop (0).
Način puhalnika
Enota se lahko uporablja kot puhalnik za pometanje smeti ali ostankov trave na cestah, pločnikih, dvoriščih itd. ter za razpiho-vanje ostankov trave, slame ali listja na kupe oz. za odstranjevanje smeti iz vogalov, okoli stićnih mest ali med opekami.
Regulator hitrosti lahko uporabljate za visanje in nizanje hitrosti motorja med uporabo enote za puhalnik. Pretok zraka usmerite takto, da cev puhalnika usmerite navzdol oz. v eno stran.
Pri delu se vedno pomikajte stran od masivnih predmetov kot so stene, veliki kamni, vozila in ochaje.
Vogale očistete takto, da začnete v vogalih in se pomikate navzven. Na ta način preprećite nabiranje smeti, ki bi lahko odletele v obraz. Bodite previdni, ko delate v blizini rastlin. Moč zraka lahko poškoduje občutljive rastline.
Način sesanja
Enoto lahko uporabljate kot sesalnik za poubiranje suhega materia-la, kot so listi, trava, manjsce vegice ali koscki papirja.
Zajboljši realizat sesanja uporabljaje enoto z majvisjo hitrostjo. Med sesanjem se počasi pomikajte naprej in nazaj prek materiala. Enote ne pomikajte na silo v kup smeti, ker se lahko zamaši.
Zajnboljse rezultate nj bo sesalna cev priblizno en palec (2,5 cm) nad tlemi.
5. Shranjevanje
Shranjevanje:
Enoto shranite izkljuceno na mestu izven dosegao otrok.
- Zaustavite enoto in jo izklopite iz omrežne napetosti.
- Pred shranjevanjem in transportom počakajte, da se motor ohladi.
- Enoto shranite s pravilno nameschenimi šcitniki. Enoto postavite takto, da noben oster predmet ne more nikogar nakljucno poškodovati.
Prezimovanje:
Enoto priapravite za shranjevanje ob koncu vsakesezone oz. ce je ne boste uporabljali majmanj 30 dni.
Shranjevanje puhalnika za daljse obdobra:
- Zaustavite enoto in jo izklopite iz omrežne napetosti.
- Enoto pred daljsim shranjevanjem dobro očistite.
- Odpritv hovdnikPokrov in odstranite nabrano umazanijo, travoz. smeti.Preglejtpeuhalnik in vse cevi.Zaprite in seprepriçaje, da jePokrov zaklenjen.
- Z mehko krtačo odstranite smeti iz ventilacijskih rež in odprtin za dovod zraka. Ne uporabljajte vode.
- Enotoin podaljsek po moznosti shranjujte v dobro prezračenem,Pokritem prostoru, da preprećite nabiranje prahu in umazanje. NePokrivajte je s plastiko. Plastika ne diha ter lahko povzroci nastajanje kondenza in morebitno rjenje oz. korozijo.
- Preglejte, ce so na enoti popusčeni vijaki. Zamenjate poskodovane,OCRatljene oz. zlomljene dele.
- Za lażje shranjevanje odstranite cev(i).
Odstranjevanje:
(v skladu z direktivo EU 2002/96/ES)

Tega izdelka ni dovoljeno odlagati skupaj z obicajnimi gospodinjskimio dpadki.
Odstraniti ga morate v skladu z lokalmimi predpis i varstvu okolja.
6. Vzdrževanje

OPOZORILO: Pred nastvljanem, menjav opreme ali vzdhrzevalnimi deli zaustavite enoto in odklopite podaljšek.
Ti preventivni varnostni ukrepi zmanjišajo nevarnost nakljucnega vklopa elektricnega orodja.
PRED VSAKO UPORABO
Preverite, ce so vsi pritrdilni elementi in sestavni deli dobro pritrjeni:
Vse matie, sorniki in vijaki morajo biti dobro priviti, da so zagotovljeni varni pogoji delovanja. Vsi sestavni deli morajo biti pravilno sestavljeni.
- VhodniPokrov
- Cev puhalnika
- Sesalne cevi
Zbiralna vrečka
Preverite, ce so deli poskodovani aliOCRbljeni:
Za zamenjavo poskodovanih ali obrabljenih delov se obrnite na pooblašćeno servisno službo.
- Stikalo za vklop/izklop - preverite pravilno delovanje stikala za vklop/izklop: stikalo preklopite v položaj za izklop. Preverite,Če se je motor zaustvil, nato ga ponovno zaženite in nadaljujtce.
- VhodniPokrov - enoto prenehajte uporabljati,Če se vhodniPokrov ne zapre pravilno oz. je okvarjen.
PO VSAKI UPORABI
Preglejte ter očistite enoto in nalepke:
- Po vsaki uporabi preglejte celotno enoto glide morebitnih popusčenih ali poškodovanih delov. Enoto očistite z vlžno krpo.
- Enoto obrisite s cisto suho krpo.

Očistite zbirnalno vrečko:
POMEMBNO: ZBIRALNA VREČKA MORA BITI PRAVILNO IZPRAZNJENA.
Zbirnalno vrecko je potrebno pravilno prazniti in vzdrževati, da ne pride do poslabšanja in oviranja pretoka zraka.
- Zbiralno vrečko po vsaki uporabi odstranite z enote in jo izpraznite. Vrečke ne shranujte brez predhodnega praznjenja njene celotne vsebine (trave, listja, ...).
Vrečko enkrat letno operite. Vrečko odstranite s puhalnika in jo obrmite navzven. Vrečko operite z vodo s cevjo. Pred ponovno uporabo jo obesite in počakajte, da se povsem posuši.

OPOZORILO: Ce se enota zamaşi, jo zaustavite in odklopite podaljšek. Pocakajte, da se rotor popolnama zaustavi, nato odstranite sesalne cevi. Previdnosezite v sesaln Odprtino in odstranite zamašene smeti.
Na ta nacin zmanjšate moznost telesnih poskodb z rotorjem.
Odstranjevanje predmeta iz odprtine za vstopni zrak:
- Odstranite sesalne cevi.
- Previdnosezite v sesalno odprtino in očistite območje odprtine za vystopni zrak. Z rotorja odstranite vse smeti.
- Preglejte rotor glede morebitnih razpok. Če je rotor razpokan ali poskodovan, ne uporabljaje enote. Sestavndele naj zamenja pooblascen serviser. Ne poskušajte jih zamenjati sami.
7. Odpravljanje težav

OPOZORILO: Pred izvajanem vseh priporočenih ukrepov za odpravljanje napak (z izjemo ukrepov, ki zahtevajo delovanje enote) vedno zaustavite enoto in odklopite podaljšek.
Motor mora biti zaustavljen, lopatie rotorja pa se ne smejo vec vrtei, da ne pride do težijh poskodb zaradi vrtečih lopatic.
| Težava | Možen vzrok | Odpravljanje |
| Enota ne deluje. | 1. Stikalo preklopite v položaj za izklop (0). | 1. Stikalo preklopite v položaj za vklop (l). |
| 2. Podaljšek je odklopljen. | 2. Podaljšek ponovno priklopite. | |
| 3. Sprožil se je odklopnik oz. varovalka je pregorela. | 3. Ponastavite odklopnik oz. zamenjaje varovalko. | |
| 4. Cev puhalnika, cevno koleno in/ali sesalna cev niso pravilno namešćeni. | 4. Preverite napeljavo cevi. | |
| 5. Zbirnalna vrečka je polna. | 5. Izpraznite zbiralno vrečko. | |
| 6. Mehanska napaka. | 6. Obrnite se na pooblašćeno servisno službo. | |
| Enota neobičajno vibrira. | 1. Mehanska napaka | 1. Obrnite se na pooblašćeno servisno službo. |
| Rotor se ne vrti neovirano. | 1. V območju odprtine za vstopni zrak so smeti. | 1. Očistite enoto. Odstranite vse smeti. |
| 2. Mehanska napaka. | 2. Obrnite se na pooblašćeno servisno službo. |

Za ostale motnje v delovanju se obrite na servisno sluzbo podjetja GARDENA. Popravila lahko izvajao samo tehniki servisnega oddelka GARDENA oz. serviserji pooblascnih prodajalcev GARDENA.
8. Tehnični podatki
| Motor - priključna moč | največ 3000 W max. |
| Omrežna napetost | 220 – 240 V |
| Frekvenca | 50 Hz |
| Sesalni pretok | 170 l/s |
| Razmerje drobljenja | 16:1 |
| Hitrost pihanja | največ 310 km/h |
| Masa puhalnika/ sesalnika | največ 4,5 kg |
| Prostornina zbiralne vrečke | 45 l |
| Nivo hrupa na delovnem mestu | 82,6 dB(A), KpA: 3,0 dB(A) |
| Nivo hrupa LWA2) | izmerjen 99 dB(A) / zagotovljen 102 dB(A) |
| Vibracije rok avhw1) | 3,92 ms2, K: 1,5 ms2 |
9. Servis/Garancija
Garancija:
V garacijskem primeru so servisne storitve za Vas brezplačne.
GARDENA daje za ta izdelek dve leti garancije (od datuma nakupa). Ta garancijska storitevt se nanaša na občutne pomanjkljivosti naprave, ki se dokazljivo nanašajo na tovarniške napake ali pomanjkljivosti materiala. Garancijska storitevt se po nasi izbiri opravi z nadomestitvijo z brezhibno napravo ali brezplačnim popravilom poslane naprave, če so izpolnjene naslednje prepodstavke:
- Z napravo ste ravnali strokovno in v skladu s priporočili v Navodilih za uporabo.
- Niti kupec niti kaksha tretja oseba ni skušala popravljati napravo. Cev puhalnika in sesalne cevi so obrabni deli, za katere ne velja garancija.
Ta garancija proizvajalca ne zadeva obstojće jamstvenih zahtevkov med trgovcem/prodajalcem.
V primeru, da je potrebna servisna storitev, pošljitePokvarjeno napravo, skupaj s kopijo računa in opisom napake v posiljki zznamko, na naslov najblžega servisa, ki so našeti na zadnji strani. Ko bo naprava popravljena, Vam jo bomo brezplačno posalina zaj.
GARDENA ErgoJet 3000 (EJ3000)

Sigurnosna upozorenja za puhač
Isklučivanje puhača:
za zaustavljanje Jedinice, pomaknite prekidač UKLJUCENO/ ISKLJUCENO 20 u položaj ISKLJUCENO (0).
Radni položaji:

LahkaNavodila