Ergojet 3000 - Dulkių siurblys pūstuvas GARDENA - Nemokama naudojimo instrukcija
Raskite įrenginio instrukciją nemokamai Ergojet 3000 GARDENA PDF formatu.
Naudotojų klausimai apie Ergojet 3000 GARDENA
0 klausimas apie šį prietaisą. Atsakykite į tas, kurias žinote, arba užduokite savo.
Užduokite naują klausimą apie šį prietaisą
Atsisiųskite instrukciją savo Dulkių siurblys pūstuvas PDF formatu nemokamai! Raskite savo instrukciją Ergojet 3000 - GARDENA ir vėl perimkite savo elektroninį įrenginį. Šiame puslapyje skelbiami visi dokumentai, reikalingi jūsų įrenginio naudojimui. Ergojet 3000 prekės ženklo GARDENA.
NAUDOJIMO INSTRUKCIJA Ergojet 3000 GARDENA
Atidžiai perskaitykitne naudojimo instrukcija ir laikykites nurodymu. Naudojimo instrukcija naudokite norédami susipažinti su gaminiu, tinkamu jo naudojimu ir saugos nurodymais.

Saugumo sumetimais vaikams ir jaunesniems nei 16 metu asmenims, nesusipazinusiems su sia naudojimo instrukcija, neleidziama naudotis siuo gaminiu. Ribotu fiziniu ar protiniu sugbebëjmu asmenys gali naudotis gaminiu, tik jei juos prižūrī arba pataria atsakingas asmua.
Turinys:
Šia instrukcija laiky kite saugioje vietoje.
- "GARDENA ErgoJet 3000" naudojimo paskirtis. 328
2.Saugos instrukcijos. 329
3.Montavimas 332 - Naudojimas. 334
- Saugojimas 336
6.Prieziura 337
7.Gedimaiirjušalinimas 338 - Techninai duomenys 339
- Technine prieziura/garantija. 339
1. "GARDENA ErgoJet 3000" naudojimo paskirtis
Pustuvo paskirtis:
"GARDENA ErgoJet 3000" tinka naudoti kaip pustuva liekanoms ar zaolés likuciams nuo kelio, saligativo, vidinio kiemo ir pan. nupusti bei zaolés likuciams, siaudams ar lapams supusti j krivas arba liekanoms, susikaupusioms kampuose, sandurose ir tarp plytu pašalinti.
Siurblio paskirtis:
,GARDENA ErgoJet 3000 tinka naudoti kaip siurblj, kai reikia surinkti sausas medziagas, pavyzdziui, lapus, zole, smulkias sakeles ir popieriaus gabalelius.
PAVOJUS! Pavojus nusidegint!

Gaminj naudoti netinkamai gali buti pavojinga. Būtina laikytis jspējμ ir saugos nurodymu, kad naudojantis šiu gaminiu butu saugu irjis veiktu efektyviai. Naudotojas yra atsakingas už toliau šiame vadove ir ant gaminio pateikiamu jspējμ ir nurodymu laikymasi. Gaminiu naudokités tik tada, kai visos apsaugos priemonés, kurias pateikia gamintojas, yra reikia-moje padétyje.

2. Saugos instrukcijos
→ Atidžiai perskaity kite saugos nurodymus ant „ErgoJet 3000".

ISPEJIMAS: Sis jrenginys gali buti pavojingas! Aplaidziai ar netinkamai naudojantis galima sunkiai susiigeisti.

Išjunkite! Pries reguliodami, valydami arba kabeliui esant paazeistam ištraukite kištuka iš maitinimo lizdo.

Atidžiai perskaltykite naudojimo instrukcija ir jsitikinkite, kad suprantate, kaip naudotis visais valdikliais ir kokia fungcija jie atlieka.

Rekomenduojama naudoti
apsauginius akinius ir ausines.

Ant kabelio neturi lyti. Nepalikite gaminio lauke per lietu.

Pašaliniai turi laikytis atokiau.
Bendri saugos jspejimal dirbant su elektriniaisir ankiais

ISPEJIMAS: Perskaitykite visus saugos jspejimus ir nurodymus. Jei nevykdysite siu jspejimu ir nurodymu, iskils elektros smugio, gaisro ir (arba) sunkaus suzaoljimo pavojus.
Isshagokite visus jspejimus ir nurodymus, kad galétumete juos bet kada véliau paskaityi. Jspejimuose naudojamas terminas „elektrinis jrankis“ taikomas jrankiams, kurie maitinami naudojant elektros tinkla (laidiniaj).
1) Suga darbo vietoje
a) Sis produktas nera skirtas naudoti asmenims (jskaitant vaikus) susumażejusiais fizinials, jutimo ar protiniais gebèjimals, arba tiems, kurie neturi pakankamai patirties ar ziniu, išskyrus tais atvejais, kai uz ju saugumà atsakingas asmuo supazindina juos su naudojimo instrukcjomis ir prižiuri juos, kol jie juo naudojasi. Vaikus reikia nuolatos prižiureti, kad jie nezaistu su produktu. Operatoriaus amzius gali buti ribojamas vietiniu standartu nuostatu. Niekada neleiskite vaikams ar su siomis instrukcjomis nesusipažinusiems asmenims naudotis gaminiu.
Elektrinai jrankiai yra pavojingi, jei patenka j neismokyto naudotojo rankas.
b) Nenaudokite jrankio, jei netoliese yra vaiku ar pašalinių asmenu. Jei kas nors atitrauks jusy demesj, galite NESuvaldyti jrankio.
c) Niekada nepuskite atlieku pašaliniu asmenu buvimo kryptimi. Operatorius arba naudotojas yra atsakingas už nelaimingus
jvykius ir traumas, sukeltas kitiems zmonèms, arba uz ju nuosavybès sugadinima.
d) Darbo vieta turi buti švari irGERAI apsviesta. Užgriozdinimas ar tamsa gali tapti nelaimingo atsitikimo priežastimi.
e) Nenaudokite elektrinij irankij aplinkoje, kurioje kyla sprogimo pavojus, pvz., jei netoliese yra lengvai užsiliepsnojanci medziagu, duju ar dulkiu. Elektriniaj irankiai sklearnidziaziežirbas, kurios gali padegti dulkes ar dūmus.
2) Elektros saugos reikalavimai
a) Elektrinić jrankiu kišukai turi tiki lizdui, j kurj bus kišami. Niekada nebandykite kokiu nors budu perdaryti kišuko. Draudžiama naudoti kišukinius adapterius jezemintiems elektriniams jrankiams jungt. Naudokite tik kintamosios srovès jtampa, nurodyta gaminio techniniu duomenu etiketéje. Jokiu budu negalima jezeminti ne vienos šo produkto dalies. Nepakeisti kišukai ir juos atitinkantys lizdai mažina elektrós smugio pavoju.
b) Venkite kūnokontaktosu jzemintais paviršiais,pvz.,vamzdžiais,radiatoriais, viryklémis ir šalytuvais.Elektros smugio pavojus padidéja, jei jus kunas yra jzemintas.
c) Neleiskite, kad ant elektriniğ iranki lytu arba jie butu laikomi šlapioje vietoje. I elektrini jrankj patekes vanduo padidins elektros smugio pavojaus galimbye.
d) Laida naudokite tik pagal paskirtj. Niekada netempkite už laido, jei norite elektrinj jrankj perkelti j kita vietá, jj patraukti ar isjungti. Laidas turi buti kuo toliau nuo ugnies, tepalu, astriu briaunu ar judanciu daliu. Pries naudodami patikrinkite, ar laidas nepaazeistas.

Jei yra kokiu nors laido pazeidimo ar susidévèjimo pozymiu, pakeiskite jj. Nenaudokite laidu, jiie jye rya paazeisti, ar nusidévèje. Greitai isjunkite iš elektros šaltinio, jei laidas perpjautas, ar yra sugadinta jranga. Nelieskite elektros laido, kol neisjungtas elektros šaltinis, Netaiskykite ir nepjaukta paazeisto laido. Pakeiskite jj nauju. Pazeisti ar susipainiojé laidai didina elektros smugio pavoju.
e) Elektros laidas turi buti nespiralinis.
Spiraliniai laidai gali perkaisti ir pabloginti gaminio veikima. Visada rupestingai suvyniokite laida, vengdami mazgu.
f) Naudodamiesi elektriniu jrankiu lauke prijunkite ilginimo laida, kuris tinkamas naudoti lauke ir prie kurio prritvirtinta jungtis, atitinkanti IEC 60320-2-3. Darbui lauke tinkantis laidas sumazina elektros smugio pavoju.
g) Jei elektrinj irankj butina naudoti aplinkoje, kur daug drégmès, naudokite liekamosios srovës jrenginiu (RCD) apsaugotä elektros tiekimo šaltinj. Rekomenduojame naudoti nuotékio srovës apsauginj jungiklj esant nuotékio srovei ≤ 30 mA. Net jei ir yra jrengtas R.C.D., 100% apsauga néra garantuojama, todél visada reikia stengtis dirti saugiai. Patikrinkite R.C.D. kiekviena karta ja naudojantis. RCD naudojimas sumazina elektros smugio pavoju.
3) Asmens sauga
a) Dirbdami elektriniu jrankiu budrus, sekite, kā darote, ir vadovaukitès sveiku protu. Nenaudokite elektrnio jrankio tada, kai esate pavarge arba vartojate narkotikus, alkoholi ar vaistus.
Viena neatidumo akimirka dirbant elektriniu jrankiu, ir jus galite sunkiai susizaloti.
b) Naudokite asmenines apsaugos priemones. Visada devekite akiu ir klausos apsauga. Norint isvengti suerzinimo dulkemis, rekomenduojama nešioti veido kauke.
Jei naudosite konkreciai situacijai tinkancias apsaugos priemonés, pavyzdjiui, akinius, ausines, nuo dulkiu saugancaia kauke, neslystancius apsauginius batus arba šalma, sumažes galimbyius usizeisti.
c) Saugokités, kad jrankio nejungtumete netycia. Pries jungdami jrankj j elektros tinkla arba pries keldami ar noredami nunesti jj kitä vieta, patikrinkite, ar jungiklis yra isjungimo padetyje.
Elektros jrankio nešimas laikant pirstā ant jungiklio arba jrankio judinimas, kai jungiklis yra padetyje „jungta“, gali tapti nelaimés priežastimi.
d) Per placiai neužsimokite. Tvirtai stověkite, laikykite pusiausvyra. Bukite ypatingai atsar-gus ant šlaitu, nešiokite nesystančia avalanche. Pjaunant neikite atbulomis, nes galite suklupti. Visada eikite, o ne běkite. Dirbdami su jrenginiu nasinaudokite kopěciomis.
Tik taip galesite suvaldyti elektrinj jrankj iskilus netikétoms aplinkybëms.
e) Tinkamai apsirenkite. Visada devekite tinkama apranga, pirstines ir tvirtus batus. Venkite deveti palaidus drabuzius ir papuosalus Ziurekite, kad jusu plaukai, drabuziai ar pirstinés butu kuo toliau nuo judanci diu.
Judancios dalis gali jsukti palaidus drabuzius, papuosalus ar ilgus plaukus.
4) Elektriniu jrankiu naudojimas ir prieziura a) Gaminj naudokite tik taip ir tokiais tikslais, kaip nurodyta siose instrukcjose. Laida visada nukreipkite j galo, toliau nuo gaminio. Nenaudokite jegos. Savo darbui atlikti pasirinkite tinkama elektrini jrankj.
Tinkamas elektrinis jrankis atliks darba geriau bei saugiau ir tokiu tempu, koks numatyas jj projektuojant.
b) Pries naudodami visada jsitikinkite, kad gaminj saugu naudoti. Nenaudokite elektrinio irankio, jei neveikia jo jungiklis. Zinokite, kaip greitai sustabdyti Irenginj, esant pavojingai situacijai.
Bet kuris elektrinis jrankis, kurio jungiklis neveikia, yra pavojingas ir turi buti taisomas.
c) Rotoriaus sraigtas toliau sukasi ir ijsungus jirenginj.
Variklis turi buti sustojes, o rotoriaus
sraigtas nebesisukti, kad isvengtumete sunkiu suzeidimu.
d) Atjunkite nuo elektros maitinimo lizdo:
- pries nuimdami arba uzdedami visiskai surinkta surinkimo maiq;
- pries ilgam palikdami jrenginj;
- pries pašalindami strigtj;
- pries tikrindami, valydami ar dirbdami suprietais;
- jei irenginys pradeda nejprastai vibruoti. Nedelsdami patikrinkite. Per didelè vibracija gali sužeisti.
- pries perduodami kitam asmeniui.
e) Nenaudojamus elektrinius jrankius laikykite vaikams nepasiekiamoje vietoje ir neleiskite su siuo jrankiu ar siais nurodymais nesusipazinusiems asmenims juo dirbti.
Elektrinia irankiai yra pavojingi, jei patenka j neismokyto naudotojo rankas.
f) Elektrinićj rjancić priežiūra. Patikrinkite vietas, kuriose judancios dalys turi sutapti, taip pat sudūrimus, ar nera jtrukimu ar kitu pažeidim, del kurić jrankis gali blogai dirbti. Jei aptiksite gedimu, pries naudodami būtinai juos pašalinkite. Visas jejimo angas laikykite švarias nuo atlieku.
Daug nelaimiy atsitinka del netinkamos elektriniy jrankiu prieziuros.
g) Naudodami ši elektrjin jrankj ir priedus vadovaukitës šiais nurodymais; taip pat atsižvelkite j darbo salygas ir darbo, kurj reikia atlikti, povudj. Dirbkite tik dienos šviesoje arba esant geram dirbtiniam apšvietimui.
Pavojinga naudoti šj elektrinj jrankj kitais tikslais nei numatytjiej.
5) Prieziura ir saugojimas
Jusu turimaglektrinj jrankj leidziama remontuoti tik kvalifikuotam specialui, kurisdetales keisty tik tokiomis pat detalémis.
Taip bus uztkrintas elektrinio prietaiso saugumas.
-Visos verzlis ir varztai turi buti gerai priverzti, kad gaminiu butu saugu dirbti.
- Kad butu saugu, pakeiskite susidévèjusias ar sugadintas dalis.
- Naudokite tik originalias atsargines dalis ir priedus.
- Regulariai patikrinkite surinkimo maiša.
Jei surinkimo maišas susidévi arba pažeidži-mas, pakeiskite jj.
-Laikykite vessoje sausoje patalpoje,vaikams nepasiekiamoje vietoje. Nelaikykite lauke.
Pries naudodami jrenginj, patikrinkite darbo vieta.
Pašalinkite visas šiukšles ir kietus objektus, pavyzdžiu, akmenis, stiklá, laidus ir kt., kurie darbo metu gali atšokti, būti sviedžiami arba kaip hors kitaj sužeisti arba padaryti Žalos.
- Niekada nenaudokite jrenginio, kai prie jo neprijungta visa reikiama jranga.
Kai jrenginj naudojate kaip pustuva, visada uzddekite pustuvo vamzdi. Naudokite tik rekomenduojamus priedus, kad isvengtumete suzeidimu.
Nenaudokite pustuvo salia deganciu lapu ar krumu, zdiniu, kepsninès, peleniniu ir pan.
Tinkamai naudodami pūstuvā neleisite ugniai plisti.
I pustuvo vamzdzius niekada nedekite jokiudaiktu; ispuciamu siukshliu srauta visada laikykite nukreipta nuo zmoniu, gyvuliu, stiklo
ir kietu objektu, pavyzdziui, medziu, automobiliu, sienu ir kt. Oro srauto jega gali sviesti akmenis, nešvarumus ir pagalius arba atšokti ir suzeistižmones ar gyvulius, sudaužyti stikla arba padaryti kitokios Žalos.
- Niekada nenaudokite cheminéms medziagoms, trăsoms ar kitomys medziagos paskleisti. Taip neleisite pasklisti nuodingomsmedziagoms.
Siurblio saugos jspejimal
- Nesiurbkite išmestu degtuku, cigaru, cigareci ar pelenu nuoŽidinio, kepsninés, krumu krvu ir pan.
Pries atidarydami oro jtraukimo angos dureles arba bandydami jstatyti ar isimi siurbio vamzdzius sustabdykite variklj ir atjunkite ilginamaji laida. Variklis turi buti sustojes, o rotoriaus sraigtas nebesisukti, kad isvengtumete sunkiu suzeidimu.
Pries naudodami irenginj, patikrinkite darbo viet. Kieti daiktai gali buti issviedziami per surinkimo maia arba korpusar tiapti pavojingais skrijanicais daiktais, kurie gali sunkiais suzeisti naudotojaritus.
- Nesiurbkite akmenu,Žvyro, metalo nuolaužu, stiklo duženu ir pan. Irrengin naudojant tinkamai galima sumazinti galimu suzeidimu ir (arba) Irrenginio gedimu galimbyes.
- Nebandykite siurbti vandens ar kitu skysciu.
I elektrinj jrankj patekes vanduo ar kiti skysciai padidins elektros smugio pavjoaus galimbye.
- Niekada nenaudokite irenginio, kai prie jo neprijungta visa reikiama iranga. Kai irenginji naudojate kaip siurblj, visada uzdékite siurblio vamzdžius ir surinkimo maiša. Kai irenginys veikia, patikrinkite, ar surinkimo maišas yra iki galo užtrauktas, kad is je nobúty issviestos nuolaužos. Naudokite tik rekomenduojamus priedus.
Venkite situaciju, kurioms esant surinkimo maias gali uzsidegti. Kad ugnis neplsti, nenaudokite pustuvo deganciu lapu ar krumu, zdiniu, kepsniniu, peleniniu ir pan.
- Siurbdami visada naudokite peties juosta. Taip bus lengviau valdyti elektrinj jranki.
Daznai tikrinkite oro jtraukimo angas, alkuninj vamzdj ir siurblio vamzdzius; tai darykite, kai jrenginis yra sustabdutas ir atjungtas nuo maitinimo saltinio. Prizurkite, kad angose ir vamzdziuose nebuty nešvarumu, kurie gali susikaupti ir trukdyti tinkamam oro srautui. Nenaudokite, jei užsikemsa bent viena anga. Saugokite nuo dulkiu, puku, plauku ir kity dalyku, kurie gali pabloginti oro srauta.
3. Montavimas

ISPEJIMAS: Pries atidarydami oro jtraukimo angos dangtelj arba bandydami jstatyti ar isimi pustuvo vamzdj arba siurblio vamzdzius sustabdykite variklj in atjunkite ilginamajj laida.
Variklis turi buti sustojes, o rotoriaus sraigtas nebesisukti, kad isvengtumete sunkiu suzeidimu.
- Pustuvo vamzdžio iispjovas ① sulygiukite su iispjovomis ant pustuvo angos ②.
- Spauskite pūstuvo vamzdj ant pūstuvo angos, koljis užsifiksuos; vamzdis prie pūstuvo yra tvirtinamas vamzdžio atlaisvinimo mygtuku ③.
- Jei norite nuimti pūstuvo vamzdj, traukdami paspauskite vamzdžio atlaisvinimo mygtuka ③.
PASTABA: Saugos jungiklis neleis jrenginio jjungti, jei pustuvo vamzdis bus uždétas netinkamai.
Siurblio vamzdji tvirtinimas:

- Atidarykite oro jtraukimo angos dangtelj ④ atlaisvindami fiksatoriü ⑤, kaip parodyta, ir patraukdami pagalbiné siurblio rankena ⑥ aukstyn.

- Leiskite fiksatorui jsistatyi galinéje pustuvo rankenoje ⑦. Patikrinkite, ar maitinimo laidas ⑧ nera prispaustas.

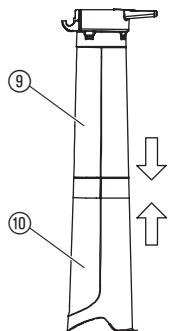
PASTABA: Yra 2 siurblio vamzdziai - virsutinis ⑨ ir apatinis ⑩ Viename virsutinio vamzdzio gale yra lankstas bei kabliukai ir abu galai yra lygiai nupjauti. Virsutinis vamzdis jungiamas prie pustuvo irenginio. Apatinis vamzdzio galas yra lenktas, kur naudodami siurblnukreipiate zemyn. Apatinis vamzdis jungiamas prie virsutinio vamzdzio.
- Jei viršutinio siurblio vamzdj 10 norite prijungti prie apatinio siurbliova mzdžio 9, pirmiausia sulygiuokite abiej vamzdžiu užlankas. Tada suspauskite abu vamzdžius, kad apatinis visiskai jsistatytu j viršutinj.


- Apatinio vamzdžio lankstę ⑫ užkabinkite už jrenginio apatinés dalies kabliuko ⑩.
- Atrème j'zemé ⑱ sukite pustuvo jrenginj tol, kol vamzdis užsifiksuos ant pustuvo jrenginio tvirtinamuju fiksatoriu ⑭.
PASTABA: Saugos jungiklis neleis jrenginio jjungti, jei siurblio vamzdziai bus užděti netinkamai.
Funkija „Snap"

Surinkimo maišo tvirtinimas:

- Alkūninio vamzdžio išpjovas ⑤ sulygiuokite su išpjoyomis ant pūstuvo angos ②.
- Spauskite alkūnīj vamzdj ant pūstuvo angos, koljis užsifiksuos; alkūninis vamzdis yra tvirtinamas vamzdžio atlaisvinimomyg tuku ③.
- Užkabinkite surinkimo maiša 16 uz kilpu ant viršutinio 9 ir apatinio 10 siurblio vamzdžiu.
PASTABA: Saugos jungiklis neleis irenginio jjungti, jei alkuninis vamzdis bus uždétas netinkamai.
Peties juostos tvirtinimas:

Kad būtú tvirčiau, kai jrenginys naudojamas kaip siurblys, jsigyjant prie jrenginio pridedama peties juosta. Pries naudodami jrenginí prie jo pritvirtinkite juostá. Užkabinkite kabliuka ant laikiklio ①.

Kaip perjungti jrenginio siurbimo ir putilo rezimus:
- Sustabdykite jrenginir atjunkite ilginamaji laida.
- Nuimkite alkūnīj vamzdī ir surinkimo maiša.
- Paspausdami ant siurblio oro jtraukimo angos dangtelio esanti fiksatoriiu ir sukdami dangtelj tol, kol vamzdžiai atsijungs nuo tvirtinamujfiksatoriu, nuimkite siurblio vamzdžius.
- Uždarykite oro jtraukimo dangtelj ir patikrinkite, ar užsifiksavo fiksatorius.
- Vél użdekite pustuvo vamzdj. Nurodymus, kaip pritvirtinti šj elementa, rasite skyriuju PUSTUVO VAMZDŽIO TVIRTINIMAS.
PASTABA: Saugos jungiklis neleis jrenginio jjungti, jei nebus uždarytas oro jtraukimo angos dangtelis.
4. Naudojimas

JSPEJIMAS: Jrenginio nenaudokite be tinkamai pritvirtintu vamzdziu ar surinkimo maio - taip apsisaugosite nuo skrijanciu nuolauzu ir (arba) neprisiliesite prie rotoriaus sraigto, kuris gali sunkiai suzeisti.
Visada mūvěkite pirstines ir apsauginius akinius, kad apsisaugotuméte nuo nuolaužy ir šiukšliu, kurios gali būti jpūstos ar atšokti j akis ir veidā bei apakinti ar sunkiai sužeisti.
Laidai:
Naudokite 1,00 mm² storio laida, iki 40 metru ilgio.
Didžiausias storis:
1,00 mm²
3000 W
Maitinimo laidu ir ilgintuvu galima jsigyti jusu vietiniame jgaliotajame technines prieziuros centre.
Naudokite tik ilginamuosius laidus, specialiai skirtus naudoti lauke.
Irenginio prijungimas - laidofiksatorius / ilginameji laidai:
Padarykite ir ilginamojo laido kilpa 18 ir jstatykite jj laido fiksatoriu 19.
Tai neleis netycia atjungti laido nuo maitinimo saltinio.
Tada prijunkite jj prie maitinimo laido.


Pustuvo paleidimas:

Pustuvo jungimas:
Kad irengini jungtumete, nustaty kite jjungimo/ijungimo jungikli 20 j padetj LJUNGTA (I).
PASTABA: Variklio apsukas galima padidinti arba sumažinti naudojant greicio regulivimo valdiklj ②.
DÉMESIO: Kad nesugadintuméte jrenginio, greicio reguliavimo valdiklj naudokite tik jrenginiui veikiant pustuvo režimu.
NEBANDYKITE naudoti greicio reguliavimo valdiklio, kai jrenginys veikia siurblio rezimu. Del mazesni apsuku, kai jrenginys veikia siurblio rezimu, gali pradeti kaupitis nešvarumai, uzstricti variklis ir sugesti jrenginys.
Pustuvo isjungimas:
Jei norite irenginj sustabdyti, nustatykite jjungimo/issjungimo jungiklj 20j padeti ISJUNGTA (0).
Darbinés padéts:

Putimo rezimas
Irengin naudokite kaip pustuva liekanoms ar zoles likuciams nuo kelio, saligativo, vidinio kiemo ir pan. nupusti bei zoles likuciams, siaudams ar lapams supustj krivas arba liekanoms, susikaupusioms kampuose, sandurose ir tarp plytu pašalinti.
Greicio reguliarimo valdiklj naudokite variklio apsukoms padidinti ar sumazinti, kai jrenginys veikia pustuvo rezimu.
Pustuvo vamzdizu zemyn arba j šalj nukreipkite oro srauta.
Visada dirbdami eikite toyn nuo kietu objektu, pavyzdziui, saligatiu, dideliu akmenu, automobiliu ir tvoru.
Kampus valykite pradédami valtyi kampe ir judédami link iðrès. Taip nesusikaups nešvarumu, kurie galétu lékti jumsj veida.
Dirbdami arti augalu, bukite atsargus. Oro srauto jega gali pazeisti silpnuus augalus.

Siurblio režimas
Irengin naudokite kaip siurblj, kai reikia surinkti sausas medziagas, pavyzdjiui, lapus, zole, smulkias sakeles ir popieriaus gabalélius.
Jei norite pasiekti geriausiý rezultatu, kai jrenginys veikia siurblio režimu, jj naudokite nustate dideles apsukas.
Pusdami Iš lěto juděkite atgal ir pirmyn. Nenukreipkite jrenginio j kruva, nes taip jj galite užkimsti.
Siurbli laiky kite mazaug per colj nuo zenes.

ISPEJIMAS: Jei jrenginys užsikemša, sustabdykite jj ir atjunkite ilginamaji laida. Palaukite, kol visiskai sustos rotoriaus sraigtas, tadu nuimkite siurblio vamzdžius. Atsargiaj ikiškite rankaj siurblio angir pašalinkite strigtj.
Taip apsisaugosite nuo galimu suzeidimu, kuriuos gali sukelti rotoriaus sraigtas.

5. Saugojimas
Saugojimas:
Atjungta jrenginlaiky kite vaikams nepasiekiamoje vietoje.
- Sustabdykite jrenginj ir atjunkite jj nuo maitinimo saltinio.
- Priesaugodami arba transportuodami leiskite varikliui atvesti.
- Irenginj saugokite su uzdétomis visomis apsaugomis. Irenginj padekite taip, kad joke astrus objektai atsitiktinai nesuzeistu.
Laikymas per ziema:
Irengin saugoti ruoskite gezono pabaigoje arba jei jo neketinate naudoti 30 dienu ar ilgiau.
Jei jrenginys bus saugomas ilga laika:
- Sustabdykite jrenginj ir atjunkite jj nuo maitinimo saltinio.
- Priesaugodami jrenginj ilga laika nuvalykite ji.
- Atidarykite oro jtraukimo angos dangtelj ir išvalykite susikaupusius nešvarumus, zoje ar likučius. Patikrinkite pustuva ir visus vamzdžius. Uždarykite dangtelj ir patikrinkite, arjis užsifiksavo.
- Naudodami minkstā šepetěli išvalykite oro angose ir oro jtraukimo angoje susikaupusius nešvarumus. Nenaudokite vandens.
- Jei jmanoma, jrenginj ir ilginamaji laida saugokite uzdengerge gerai ventiliujoamoje patalpoje, kad ant jo nesikauptu dulkés irnešvarumai. Nedenkite plastiku. Plastikas neleidžia védintis, todél gali susikaupti kondensatas ir jrenginys pradeti rudyti.
- Patikrinkite visà i'rengini, ar jamé néra atsilaisvinusiu varžtu.
Pakeiskite pazeistas, susidévégusias arba sulžusias dalis. - Kad būtú patogiau saugoti, nuimkite visus vamzdžius.
Ismetimas:
(laikantis ES direktyvos
2002/96/EB)

Sio gaminio negalima iismesti su jprastinemis buitinemis atliekomis.
Ji reikia ismesti laikantis vietiniu aplinkosaugos taisykliu.

6. Priežiūrā

ISPEJIMAS: Pries reguliodami, keisdami priedus ar atlikdami remonto darbus sustabdykite irenginj ir atjunkite ilginamajj laida.
Sios atsargumo priemones mazina pavoju, jog elektrinis jrankis jsijungs netycia.
PRIŠ KIEKVIENÁ NAUDOJIMA
Patikrinkite, ar neatsilaisvinusios tvirtinimo detales ir dalys:
Visos verzès ir varztai turi buti gerai priveržti, kad gaminiu būtu saugu dirbti. Isitikinkite, kad visos dalys prittvirtintos tinkamai.
- Oro jtraukimo angos dangtelis
Pustuvo vamzdis - Siurblio vamzdžiai
Surinkimo maiyas
Patikrinkite, ar nera pazeistuyar susidévésusiy daliu:
Kreipkitës i jgalotaji technines priežiūros centra, kad būtú pakei-stos sugedusios arba susidévējusios dalys.
- Ijungimo / iśjungimo jungiklis - nustatydami jungiklj i ŚJUNGIMO padétj patikrinkite, arjis veikia tinkamai. Isitikinkite, kad variklis sustojo; tada vél ji paleiskite ir tskite.
- Oro jtraukimo angos dangtelis - jei oro jtraukimo angos dangtelis néra tinkamai užfiksuoatas arbajis yra kaip hors pazeistas, Irenginiobebenaudokite.
PO KIEKVIENO NAUDOJIMO
Patikrinkite ir nuvalykite
jirenginji bei uzaresus:
- Po kiekvieno naudiojimo atidzai apziurékite jrenginir patikrinkite, ar nera atsilaisvinusi ar pazeistu daliu. Nualykite jrenginir dregnasa luoste.
- Nušluostykite jrenginj švaria sausa šluoste.
Surinkimo maišo valymas:
SVARBU: SURINKIMO MAISA REIKIA TINKAMAI ISTUSTINTI.
- Kad surinkimo maiisas nesidevétu, o oro srautui nebūtu trukdoma, turite tinkamai išustinti surinkimo maiṣa.
- Po kiekvieno naudiojimo nuimkite surinkimo maiša nuo jrenginio ir istuystinkite jj. Nesaugokite maišo neištuštinje visiskai (žolés, lapu ir pan.).
- Karta per metus maiša išplaukite. Nuimkite maiša nuo pūstuvo ir iśverskite i blogajā puse. Nuplaukite maiša vandens Žarna. Maiša pakabinkite ir pries naudodami leiskite visiškai išdžūti.


JSPÉJIMAS: Jei jrenginys užsikemša, sustabdykite jj ir atjunkite ilginamaji laida. Palaukite, kol visiskai sustos rotoriaus sraigtas, tadu nuimkite siurblio vamzdžius. Atsargiaj kiskite rankaj siurblio angir pašalinkite strigtj.
Taip apsisaugosite nuo galimu suzeidimu, kuriuos gali sukelti rotoriaus sraigtas.
Oro jtraukimo angos sankaupu valymas:
- Nuimkite siurblio vamzdžius.
- Atsargiai jkiiskite ranka i siurblio angir isvalykito orjtraukimo anga. Pašalinkite visas sankaupas nuo rotoriaus sraigto.
- Patikrinkite, ar rotoriaus sraigtas nera sutrukes. Jeijis sutrukes ar pazeistas, Irenginio nenaudokite. Pasirupinkite, kad dalis pakeisti igaliotasis technines prieziuros centras. Nebandykite daliu keisti patys.
7. Gedimai ir jusalinimas

ISPEJIMAS: Pries atlikdami bet kokius toliau pateikiamus rekomenduojamus gedimu salinimo veiksmus, išskyrus tuos, kuriems reikia, kad jrenginys veiktu, visada jrenginj sustabdykite ir atjunkite ilginamaji laida.
Variklis turi buti sustojes, o rotoriaus sraigtas nebesisukti, kad išvengtuměte sunkiž sužeidimu.
| Problema | Galima priežastis | Spendimas |
| Irenginys neveikia. | 1. Jungiklis nustatyas j padétj ISJUNGTA (0). | 1. Nustatykite jungiklj j padétj JUNGTA (l). |
| 2. Atjungtas ilginamasis laidas. | 2. Prijunkite ilginamajl liajd. | |
| 3. Išjungtas grandinès pertrauki-klis arba perdegè saugiklis. | 3. Vél jjunkite grandinès pertraukiklj arba pakeiskite saugiklj. | |
| 4. Netinkamai pritvirtintas pūstuvo vamzdis, alkūninis vamzdis ir (arba) siurblio vamzdis. | 4. Patikrinkite, ar tinkamai pritvirtintasvaMZdis. | |
| 5. Surinkimo maišas pilnas. | 5. Ištuštinkite surinkimo maiša. | |
| 6. Mechaninis gedimas. | 6. Kreipkitës j igaliotaji techninës priežiūros centra. | |
| Irenginys nejprastai vibruoja. | 1. Mechaninis gedimas | 1. Kreipkitës j igaliotaji techninës priežiūros centra. |
| Rotoriaus sraigtas nesisuka laisvai. | 1. Sankaupos oro jtraukimo angoje. | 1. Išvalykite jrenginj. Pašalinkite sankaupas. |
| 2. Mechaninis gedimas. | 2. Kreipkitës j igaliotaji techninës priežiūros centra. |

Jei susiduriate su kitokiu netinkamu jrenginio veikimu, kreipkites j GARDENA techninés priežiūros skyriu. Remontas turi buti atliekamas tik GARDENA techninés priežiūros centruose arba pas igaliotaji specializuota GARDENA prekybosa tstova.
8. Techniniai duomenys
| Variklis - energijos sanaudos | Maks. 3000 W |
| Itampa | 220 – 240 V |
| Dažnis | 50 Hz |
| Siurblio srautas | 170 l/s |
| Smulkinimo dažnis | 16:1 |
| Pūtimo greitis | Maks. 310 km/h |
| Pūstuvo /siurblio svoris | Maks. 4,5 kg |
| Surinkimo maišo talpa | 45 l |
| Darbo vietos emisijos lygis | 82,6 dB(A), KpA: 3,0 dB(A) |
| Triukšmo lygis LwA2) | Išmatuotas 99 dB(A) / garantuojamas 102 dB(A) |
| Vibracija rankai avhw1) | 3,92 ms2, K: 1,5 ms2 |
9. Technè priežiūra / garantija
Garantija:
GARDENA šiam gaminuii suteikia 2 metu garantija (nuo pirkimo die-nos). Garantija taikoma visiens esminiams prietaiso defektams, kurie akivaizdžiai kil del medziagos defektu ar gamybos klaidu. Isipareigojama pasirinktinai atsiusti kita kokybiška prietaisa arba atlikti atsiusto prietaiso nemokama remonta, jei ivykdytos sios salygos:
- Prietaisas buvo naudojamas tinkamai ir laikantis šioje vartojimo instrukcijoe nurodytu taisykliu.
- Nei pirkéjas, nei trečiasis asmuo nebandé taisyti šio prietäiso.
Pūstuvo ir siurblio vamzdžiai yra dalys, kurios dévisi, todél joms garantija netaikoma.
Ši gamintojo garantija neliečia garantinių pretenziju, reškiamų prekybos a stovui/ pardavéui.
Atsiradus garantiniam gedimui, prašome gražinti sugedusi
prietaisa kartu su pirkimo Dokumento kopija ir gedimo aprasymu
igaliota serviso centra, nurodyta garantiniame talone.

GARDENA ErgoJet 3000 (EJ3000)

Lietosanas noradijumu tulkojums no anglu valodas.
LengvasVadovas