Ergojet 3000 - Пылесос воздуходувка GARDENA - Бесплатное руководство пользователя
Найдите руководство к устройству бесплатно Ergojet 3000 GARDENA в формате PDF.
Вопросы пользователей о Ergojet 3000 GARDENA
0 вопрос об этом устройстве. Ответьте на те, что знаете, или задайте свой.
Задать новый вопрос об этом устройстве
Скачайте инструкцию для вашего Пылесос воздуходувка в формате PDF бесплатно! Найдите своё руководство Ergojet 3000 - GARDENA и возьмите своё электронное устройство обратно в руки. На этой странице опубликованы все документы, необходимые для использования вашего устройства. Ergojet 3000 бренда GARDENA.
РУКОВОДСТВО ПОЛЬЗОВАТЕЛЯ Ergojet 3000 GARDENA
Изделе GARDENA ErgoJet 3000 может Испьзоватьсь в Качесные пьлесора дя сбopa тakoro cyxoro мycopa, кадоства, Трава, Мелкne ВETКИ 6умжные образки.
ONACHO!
Pnck
TpaBMnpOBaHna!

B clyuae nCnoIb3OBAHnH He no Ha3NaueHmIO daHHOe I3JeIne MoXeT npEcdTabIb onaChocTb. Heo6xOdIMO co6IIOdaTb npEynPexKaIOUne yka3AHnI INHCTpyKcIIN NO TeHXnke 6e3OaNacHOCTn dJIr OBeCNEeHN JOcTaTOHOr HADEXHOCTn I3ΦΦeKTNBHOCTn pRn EKcnIyatauIN3DeJIIn. Opeatop Hecet OTBeTcBeHNOCtB 3a co6IIODeHHe npEynPexDaIOUx yka3AHn I INHCTpyKcIIN, pINBeDEHbIX B DAHHOM pyKOBoDCTBe H a N3DeJIIn. 3aIpeSeHOb IOJb3OBAbTcBcra N3DeJIInEM, ecnn npEdoCTabJIeHHbIe PpON3BOIDTeJIe MzUINTHbIe 3JIeMeHTbI He HAXOJaTcB I PpaBNbHom NIOJOKeHHn.
2. Иструкции по Т电商ке 6e3oNaChoctn
→Приимпе К Саведенью Инструкции по Тхениke бezонасточи на устpoистBE ErgoJet 3000.

PNEyPEXDEHNE:
daHHoe yCTpoCTBO ppeCTabJIAeT onaChOCTb! He6peXHoeIIN HnepaBnJIbHOe pImMeHHeMOxET npVBECTN K TjaXeJIbIMTpaBMam.

BceIa BbIKIOuayTe yCTpoiCTBO! BbIHMaIe BnIKy n3 po3ETKn nepeH hAcTPOKO, uCtKOJI6oB CcLyae cNtBbAHnI nn nobpeXdHnKa6eJ.

Д)Запшениюльбовсялжктунчтрументами BOВБзьIBOONACHыX30Hax,Налример,БлИЗи ЛergКOBОСпаменю-циХСУЖДКOSTЕ,ГАЗВИЛ ПБИ.
3JNeKTpOnHCTpyMeHTbI npOn3BOJrT NCKpbI, KOTOpBle MOrY 3aXeUy PbIb IINI nap.
Опасноctь поражени злелктуческIM TOKOM NOвышаETС, ECSIN BAWE TEJO 3a3eMJIeHO.
B) HeДоускайтЕ подангь ЗлжТронСтум entob по дождь ИИВ ВлaxHyO cpeу.
ПОНИКHOBEHNE BOДБВ 3ЛЕКТPOUHCTPyMeHT NOBbIaeT OAnCHOCTb NOPaXeHnI 3JIeKTPnueCKUM TOKOM.
r) He donyckaite He npabnIbHoro 6OpaueHna co uHypom.He nepenochte,He TAHnTe H He BbIeprInBaIte 3JIeKTPoHNCTpymEnTn3 po3ETkn 3a shnp. He np6bnkaite wHyp K nCTOuynKaM TeIIa,Macny,OCptbIM yrrAm IIN DnBxUcMc qacTm.PpeE 3KcnIyataune npOBepbTe OTCYCTBnNE NOBPEXDeHn Ka6eJI.3aMeHnTe Ka6eJI npn HnIu npN3HaKOB NOBPEXDeHn INn M3HOca. He nCnoB3yIte ra3OHOKOsIKy,ecn 3JIeKTPnuCeCKne Ka6eJI NOBPEXDeHb IIN n3HOseHb.I He MeDLeHHO OTcoEdNHITE ra3OHOKOsIKyOT 3JIeKTPnuCeCKoCtEHn, ECNI Ka6eJI pa3pe3An IIN NOBPEXDeHa n3OJlaua. He DoTpaRNaBTEcB DO 3JIeKTPnuCeCKOro Ka6eJI, Noka Ra3OHOKOsIKa He bdyet OTcoednHena O t cEtN.He cnHtPe p3pe3aHnhI INI NOBPEXDeHHb Ka6eJI. 3aMeHnTe erO HObIM Ka6eJIem.
Поврждений спуннышур NOвьшает onachocь поаренье щелктуескUM TOKOM.
Д) 3NeKtpnueckn Ka6eJb Heo6xOuMo pa3MOTaTb.
CMOTAHbIKa6eJIbMOKeTnepeRpeTbCnCH3NTb npOn3BOJnteJIbHOCTb N3denn. Bcerda npOraBnIte OTOPOXHOCTb npc CMaTbIBaHnN Ka6eJIa, CNeIeTIte 3a OTCyTCTBnEM nepeRn6OB.
e) EcIn Bbl pa6oTaete C 3JIeKtponHCTpyMeHToM Ha yInue, npImeHnIte CneuaJIb-HbIyDINHHTeJbHbI uHyp dJa yInuHOrO NOJB3OBAHnC COeINHnTeJem B COOTBETCTBnC HOpMoI IEC 60320-2-3.
Приименецшура,празнадаЗнayehногоДлгулиногоИСПОЛБ3OBAHЯ,CHINKAETОNaCHOCTbnopaxенялелкт pineckm TOKOM.
J) EcIn Heun36eXHo Tpe6yeTc npImHeHne 3IeKTPoHnCTpyMeHTa BO BnaxHOi Cpe,NCIOb3yIte NCTOCHM NITAHN3aUINuEHHbYcTPOcTBOM 3aUINTHOROTKJIIOUeHNA (Y30).MbI peKoMeHydEM NCIOb3OBA Tb 3aUINTHBIE BbIKIOUaTeNPeAHPYIOUne Ha YTeUKN TOKA,C HOMHaJIbHBIM TOKOM ≤ 30 mA.DaKe c yCTaHOBJIeHHbIM YcTPOcTBOM 3aUINTbI OT TOKOB3aMbIKAHNA Ha 3eMIO He MOxET 6bITb rapaHTnpOBaHa 100% 6eONACHOCTb IN OToTMy BCerDa Heo6XODmO CJeDObaTb npABnAm 6eONACHOpaOtbl. PpOBepaTe BaWe yCtPOcTBO 3aUINTbI OT TOKOB 3aMbIKAHNA Ha 3eMIO KaXdbI pa3,KOrda Bbyero nCNoB3yeTe.
Приименец у30 Chижает onachoctь пораженя злект pinecknIM TOKOM.
3) INHINBNUyalaBna 3aunTa
a)БудьTe 6ДNTeMbHbI,Слдnte 3a CBOMM deiCTBnAIMN IN pOraBIAJIte 3dPaBbI CMbICJI npn pa6Ote C 3JNeKTPoHnCTpyMeHTOM. He nOlb3yIteC bIeKTPoHnCTpyMeHTOM, ecIn Bbl cYbCTByete yCTaNoCTb Nll haxoNTeCb NOD BO3dEiCTBnEM HApKOTnKOB, aKNO- TOrla NII MEduNcKHNKnPpeNaPATOB. MMo- LIETHOE OTBJIeueHnE BHIMAHNBO BPemr pa6O- TbI C 3JNeKTPoHnCTpyMeHTOM MOKET PnPBECTN K TЯKeJIbIM TEJIeCHbIM NOBPExKDeHnIM.
6) NcnoIb3yIe cpeIcTBa HnDnBnDyaJIb-HoH 3aunTbI. BcerDa HaeBaIte 3aunTHbIe OuchN HuyuHNKn. PekomeHdyetcHocntb Macky dIra 3aunTbI OT IIbl.
Примен能在ВзавсимостиОБСТОТЕЛСТВ TAKNX CpeДСТВ 3aUNTbl, KaOK OYKN, HayUHNIK, ПьлЕЗAUHTHЯ MACKA, ПOTИВOCKOLBJ3AJIa3aUHTHЯ OByb bIIN KACKa CHNkaET ONaCHOCTb ПОЛУЧENЯ TELECHы NOBPEXDEHNI.
B)Ппдунржденин He npdнamepeHHoro BKluoehn. Перд покluoehнem KИСТОчнky nHTaHnI,poJbEOMиN INpehoCOM yCTpoINCTBa y6eINTeCb,чTO nepeKluoyateJIh haoDInTCB B BVkLUoeyHOMNoLOXeHN. Ecnn BiHecetseJIeKtpOINHCTpymEt,Дерka пaleuHa nepeKluoyaTeNe,ИлпоКluoyaeteЗЯkeTpOnHCTpyMeHТКЛeKTPOnTnAHI, KOrda nepeKluoyaTeJIb BKluoyen, pUCK abapnIOBbIaETcR.
r) He 3aHMaIte HeyDo6Hoe NoloxeHne. Bcerda coxpaHnIte paBHOBeCne n yctOuNo CTABTbe HOrn. Ha cKIOHax 6yDbTe OC06eHNO OCTOpOXHbI, qTO6bI He NOCKoJIb3-HyTbcR, n HOCtNE O6ByBa Hn HECKoJIb3KOJ noDooBHe JHe daIte WaROB Ha3aD BO BvPem pa6Otbl. Bbl MoXeTe CNOTKHytbcR. XoNDTE, HNKOrDa He 6Bernte. 3anpeSeHo
HaxoDntbCnHa CTrpeMnHKe BO BpEm 3Kc- nIyataunn3denn. 3TO N03BOJNT Lyuwe KOHTPOINPOBaT bJIeKTPOnHCTpyMeH T CJIyae BO3HNKHOBENH HeNpeDbUeHHO CNTuaynn.
d) HaedeBaIte COOTBeTCTByIOUyIO OeJy. Bcerda HaedeBaIte NOxOJaUyIO OeJy, nepuAtkn npOCHyIO o6yBb. He haedeBaTe cBo6OHyO JeDy nIn yKpaSeHn. He donyckaIte np6bnKeHn BOJoc, OeJdbn I nepcaTOK K DBNXyUHMc YACTRM.
Cbo6oHna OJexJa, yKpaSeHn IInIiHHbIe BOIOcblMOrT NOnaCTb B DvNcxUxneCeY aactn.
4) 3KcnIyatauia n o6cnyxHBaHne 3JIeKtpOnHCTpyMeHTa
a)Ha3naueHne n cncoc6 3KcNpyataunn
m3JeJnIy DoJnxHbI COOTBeTCTBOBaTb yka3a-
HnM daHoro pyKOboJcTa. Bcerda
hAnpabJnIe Ka6JIb Ha3ad, B OTdaneHn
OT m3JeHn. He nepeprpyXaIIte 3NeKTponHCTpyMeHT. NcNoJIb3yIte Tako 3NeKTponHCTpyMeHT, KOTOpBI COOTBeTCTByET YCLOBnIM npImHeHn. PpaBnIbHO noDobpanHbI 3NeKTponHCTpyMeHT JUyWe I NaJeXHee CnpaBNTc4 C3Jaaue, COOTBeTCTByIOuEi erO KOHCTpyKTINHBIM XapaKTePNCtUKam.
6)Поберяп Te BaW caObBи nbIeCoc
ErgoJet nepeK kaxdbIM nCnoJIb3OBaHnEM.
3anpeSeHo pa60TaTb C nHCTpyMeHToM,
ecIn erO nepeKIOUaTeB He BKIOUaETcR
HIn He BbIKIOUaTeC.R. BblDOnXbHI 3HaTb,
kak 6bICTpo OCTaHOBHT pa6Oy n3dJIma
BekCTpeHHo CnTuacn.
Любоулэпектponнстумент с Неработюцим пегкlioчatelem педставягет OnaCHOCTь и Требут ремонта.
B) KpbIbUbaTka npOdoJXaet BpaAaTbc8 daXe NocLe BbyKJIIOUeHnN 3dEInn.
Bo n36eJahne TjXeJIbIX TpaB M B pe3yIbTaTe BpaUeHnI JOnaTOK KpbIbYaTKn DBrIgTeNb DOJIxE HcTaNHOBUTbcra, a JOnaTkn IpePcTaTb BpaUaTbcra.
r) OTKIouaIte oT cETn 3JIeKtpoNtTaHn:
-пегд сгтпем пл замень сero bloka mycopocборнka;
- IpeTeM, KaO OCTaBtBu 3dJeNne 6e3 npncMOtpa Ha JIObOE Bpemr;
- nepei ydaJIeHHeM 3acopeHnra;
-пегд поверков, чсTkо Ил Вьллн HeHnEM KaKx-JI6O Opepaци C pni6bopom;
- B C Lyuae HexapaKTePnoB O Bn6pnpoBaHnna 3dJeIy. Cpa3y BbIPOJIHne OCMOTp. 4pe3MepeHoe Bn6pnpoBaHne MoKeT HaHeCTN TpaBMbl;
-пегд Tem, кад пегдаь устюctво дуromу человек.
Д) HeucnoIb3yEmble 3JeKToHcTpyMeHTbl DOnJxHbI HAnOdInTBcB R HeNoCTynHOM dIЯ DeTei MeCte. He No3BoJIe TJIuam, He O3NaKOMJIeHHbIM C DaHHbIM pyKOBoIDCTBOM NO 3KcPINyataun 3JeKToHcTpyMeHTa, pa6oTaTb c HnM.
3JNeKTpOINHCTpyMeHTb BY pykax He 6ObyehnblX NJIb3OBaTeJe IpeIcTAbJIOT ONaCHOCTb.
e) 3NeKtpOnHcTpymEntbI Tpe6yIOT texnueckoro yxoda. IpoBepaTe ToUHOctb HAcTPOKn N OTCytCTBnE 3aeDaHNy DVBXkyuXxCraYacteN, OTCytCTBnE NOLOMaHHbIX 3AnpacteN INhBx HenCnpaBHocTe, KOTOp bIe MOrTy HApUHT pa6O TYeKtpOnHcTpymEtBA.CbVaye NoBPexDeHNy NounHtte 3NeKtpOnHcTpymENT nepeD opePeHbIM NcNoIb3OBaHnEM. DePKeITe BCE OTBepCTnR CBO6oHNbIMN OT Mycopa.
He naIeXaIy TeXnueckn yXoI cTal npuHNOH MHOINx aBapn.
K)Пи рабоTe c элктponнстурм entom n пиразджховctгIMPykoBoDCTByTecb dAnHbIMn yKa3aHnRIMy,уNTbIbAЯ pa6OuHne ycIobNи 3адayn,КOTOpbIe HxKHO BbINOJI- HnTb.РабоТaTe c и3dJIeNem TOnIbKO пri dHeBOM nIи XopoWem NCKycCTBeHHOM OCBeueHInN.
Птуал.
5) Texnueeckoe o6cnyxmbaHne n xpaHeHne
CepBnchoe 06cIyXnBaHne 3JeKtpOnH-CTpyMeHTA D0JIxHbI BbIOnJIHrTb KBaJIINuIpoBaHHbIe CNeUNaIncTbI NO pEMOHTy 06OpYoBaHnC uCnOJb3ObaHnEM ToJbKO nJEHTNuHbIX 3aNactei.
3To rapaHTnpyET coXpaHHe 6e3OpaCHOCTN 3JIeKTPoHnHCTpyMeHtA.
-Bceraikn,6oNTbI BNHTbI OJXHbI 6bITb HaedxHO 3aTAYtBc CEJIbIO 0eCneueHnE 6eOanchoHpaObToI 3dEInr.
-ИЗношенийплловрждений DeТалДОЛЖнБбltьЗаменВцелях 6e3oNaChOCTN.
IcnoJb3yTe TOJIbKO OpiuHaJIbHbIe 3aIpaCTn I npHaIeXHOCTN.
-PeryIyIrpHO OcMaTpRuBaIte MyCOpOscBOpHnK. B cIyueae ero n3Hoca nn IIOBpeXdEHHa -3aMeHNTe.
-XpaHnTe B cyxom, npoxnaHOM n HeIOcTynHOM IJIaIeTei MeCTe. 3anpeueHo xpaHnTb Ha yInCe.
Mepb npedoctopoxhoctn npn pa6oTe C BO3dyXOyBkoI
- Ppea3anyckom yctpoiCTBa npoBepbTe yuaCTOK, rde bbl 6ynde taobatb. YdaJIte BeCb MyCop n TAKne TBePdIe IpeD MeTbI, KAK KaMHN, CTKeIIO, IpOBOJOKa N T.I.. OHMOrYT CtTa BPNuHNOH TpaBMbl ININ NOBpeXJeHn, OKa3aBUsncB IpoUcCE C3KcIIyatauNOn TBPOUeHNbIM HaPpMyIO ININ pIKoWETOM BCTOPOHY.
3aPpeHno pa60TaB c yctpoiCTBOM 6e3 npIMHeHnHaJLexaUeO OChAuSeHn. IJI npIMHeHn yCtpoIcTBa B KaueCTBe BO3dYxOyBKN Heo6XoDmO O6ra3aTeNbHO yTaHOBnTb HaHHeTaTeNHyU Tpy6Ky. NcNoJIb3yIte ToIbKO peKOMeHdyEmbie HacaIKN BO N36ExaHne TeJeChbIX NOBpex-DeHn. - He pa6oTaIe C BO3dyXOyBKOI BO3Je CxNIGaEMbIX IINCTbeB ININ XBOPOCTA, KOCTPOB, MaHraIOB, 30JIb I np. IpaBnIbHOe NcPOnJIb3OBAHne BO3dyXOyBKN He dOnyCTIT paCnPoCTpaHeHn OrHJ.
- He nomeuai Te HnkaKe Ne pEmtB I B HArHeTaTeIbHbIe Tpy6Kn; Heo6xOaIMo BCErDa BblyBaTb MycOp B CToPOHy, rDe HET LIODeJ, XIBOTbIx, CTekNa I TaKIX TBePdIbX O6BeKTOB, KAc DepeBbBy, ATOmOBuII, CTeHbI N.T.I. HanpaBLeHHa BO3DyUHaN a Ctpy MoKet npNBECTN K OT6paCbIbAHIO HaIprMyIO UIN PNIKOwEtOM KaMHeI, TpR3N UIN PaNOK, YTO MOKET npNBECTN K TpaBIMPoBAHIO LIOeIN MIn XJBOTbIX, NOBpeJeEHNO CTekOI IN HaHeCTN INOH yUep6.
3anpeheNO hCnOJIb3OBaTb ycTpoIcTB0 Dnpa pacblileHnXHMuecknx npOdyKTOB, ydo6peHn nn dpynx BeueCTB. TaKoe paCnblneHne MOKeT OKa3aTb TOKCuyeCKOE BO3DeIcTBVE.
Mepbl npedoctopoxkno npn pa6oTe C nbilecOCOM
-Перед Tem кak OTkpbIBaTb KpbIshky BcCbBAIOUeO OTBepCTn JIN60 NbITaTbCByCTaBtB ININ CHrTb BCaCbIBaIOUe Tpy6-KN, OCTaHOBInTe DBNrAteJb NOTKlIOuHInTe WHyp-ydlnHHTeJb.
Bo n36bexaHne TjXeJIbIX TpaBM B pe3yIbTaTe BpaUeHnI JOnaTOK KpbIbYaTKn DByrAteJIb DOJIxHeOCTaHOBUTbcra, a JOnaTkn IpePcTaTb BpaUaTbcra.
-ПередзanyckomустpoctBa npobepbte yuctok,гдБыбдerte pa60TaB.ИЗсборнkaилКОрпуcaMOryТВыЛeТаTb TBERdIe ПpeДmetы,IpeДCTaBЯОпac-HOCt bHaHeceHЯСерьe3HbIXТраBMОпаTOpуилДугIMЛЮДМ.
3anpeueho co6npaTb nbJneCOCAMHn, rpaBn, MeTaI, OCKoNk CTeKla n np. IpaBnIbHoe npImeHene yCTpoiCTBa CHnJaet ONaCHOCTb HaHeCEHn TaNEChbIX NOBpeXJeHn N/NNI NOLOMKn yCTpoiCTBa.
- He npoH3BOJnTE nonbIToK c6paTb PbIeCOCOM BODy nII dpyrHe BnDbI XnIDKOCTN. IpoHnKHOBeHne BOJI nII npyro JxNkOcTn B 3JeKTPoHnCTpymEHT NObblaet ONaCHOCTb NOPaxEHN3JeKTPuYeCKIM TOKOM.
3anpeheo pa60TaTb c yctpoiCTBOM 6e3 npimehenna Hndlexaueero Ochauehenra. Iyprnpimehenya yctpoiCTBa BVkaeeTbe nbIIEcOca Heo6xOdmo 683aTeIbHO yCTaHOBnTb BCaCbIBaUOuNE Tpy6Kn u 3eN C6OpHnKa. Y6eIITecb, qTO BO Bpemr pa60tbyC7POCTBa 3AcTeKk-MONHnCA6OpHnKa nIOJHOCTbO 3aKpbIta BO N36exAHne Bbleta MyCopa. NcNoB3yTe ToJIbKO peKomeHnyeMble HacaKn.
3anpeeHcO6npaTb nblieCocOM BbIbpoeHHbIe CnUckN, CnIrapbI, CnIrapTeBII INI INeIOT KOCTpa, MaHraJIa, KUY XbOpocTa I np. He donyckaIte cnTuayni, B KOTopbIX BO3MOxHO BO3rOpaHne C6OpHNka. Bo n36exaHne paNpOcTpaHEnHa ORHa He paBoTaIte C BO3dYxOyBKOI B6n3n CxHraE-MoJ NICTbI bINX XbOpocTa, KOCTPOB, MaHraJIOB, 30JIb I np.
- 063aTeJbHo HaDeBaIte HAnJIeHbI peMeHb BO BpEma pa6Otbl C nbIeCOCOM. 3TO nOMoKET COxpaHnTb ynpabJIeHne NaI 3JIeKTPoIHCTpyMeHTOM.
- Perylaryno npOBepeIte BCaCbIBAIOUne BO3dYx OTBepCTn, yrOJIbHk Tpy6bl N BCaCbIBAIOUne Tpy6Kn, pnp 3OTOM yCTpOJCTBO DOJXHO 6bITb OCTAHOBJeHO n OKJIIOUHO O T3JIeKTPoNTAHn. He DOnyckaIte CKOpJIeHnMycopa B BeHTNIJIaONHHbIX KaHaJAX n Tpy6KaX: OH MOKeT IpnEYCTBOBaT DoJHXOMy BbIXOy NOTOKA BO3dYxa. 3aIpeSeHa paBoTa, eCNI KAcOeJIbIo 60TBPcTHe 3aKynOpEno. He DOnyckaIte COnPJIeHnI PbInu, BOPCa, BOJIoc u dpyrOro MYCOPa, KOTOpB MoXeT CHN3NTb INHTEHCNB-HOCtB BO3dUShORO NOTOKa.
3. C6opka

PNEpyPExKDeHHe: nepeTtem KaK OTKpbIbA Tb KpbIshky BCacsbIaOuIero OTBepCTnJIIO BO nbITcBcR BCTaBNTb NJI CHrTb HArHeTaTeNbHyIO Tpy6Ky IIN BCacsbIbAOUe Tpy6Kn, OCTaHOBnte pa6Oty yCTpOcTBaN OTKJIouHTe ShHyp-ydInHnTeIb.
Bo n36bexaHne TjXeJIbIX TpaBM B pe3yIbTaTe BpaUeHnI JOnaTOK KpbIbUaTkN DvuratJIb DoJxHeOCTaHOBUTcB, a JOnaTKn IpeCeTaTb BpaUaTbc.
UctahOBka HargHeTaTeIbHOI Tpy6Kn:

- COBmecHTe na3bl Ha haHrHeTaTeIbHOI Tpy6Ke ① c n3aMn Ha BbIXoIHOM OTBepCTMN BO3DyXOyBKN ②
2.3aBnBHe TaHrHeTaTeNbHyTo py6ky Ha OTBepCTne BO3DyXoDyBKn, NOKa OHa He 3aUeJIKNET B IpaBnIbHOM NIOJKeHN; Tpy6Ka KpeNITcR K BO3DyXoDyBKe C NOMOuBo 6LokIpOBoOHo KHOnKn Ha Tpy6Ke ③.
3.ДяСЯТЯнHaHrHeTaTeIbHoN Tpy6Kn HaxMnTe 6IoKIpOBoUHyIO KHOKNy Ha Tpy6Ke ③,CTaRnBaJ IOcJIeNDIO.
ПРИМЕЧАНЕ:предохразнеловий Вьклочатуль He Донуст IV BKLOUЧЕНИУ CTPOJСТВ, ecn HaHHeTeBJHЯ Трубka He yctaHOBJIeHa npaBnJIbHo.
Дяобсесеня долоннельноустуювoc'tи ри Испьзовани усточь в Качесные посocа в КOMплekt поставки Вкlioун Налочьий ремь. Пprnkpenite erо К усточьу пered началом paobы. 3aшилknite кюок На Кренихим заlemente ⑦.
IpehenalaKa yctpoiCtBa c pexm nblncoca B pexm BO3dyXoYBKN:
- OctaHOBIne pa6OToy yCTpoiCTBa n OTKLIouHIne 7Hyp-ynHInHInTeIb.
- OToeHInHe Te yroJIbHnK co c6OpHnKOM.
- OToeHnHTe BCaBbAIOUne Tpy6Kn, OTKpbIb 3aUeJIky Ha KpbIuKe BCaCbIBaIOUeO OTBepCTnN IOBOpauHBaKpbIuKy DO OCBO6XJDeHnT py6OK n3 aUeJok KpeIeXhblx 3JeMeHToB.
- 3akpoIte KpbIshky BCacbIbAIOuIeO OTBepCTnI y6eIITecb, YTO OHa 3akpyTa Ha 3aueJIky.
- Choba yctahOBIne HaHHeTaTeNbHyIO Tpy6Ky. INcTpyKUnn NO KpeJIeHmIO daHHOrO 3JeMeHtA CM. B IyHKTe "YcTaHOBKaHaHHeTaTeNbHoI Tpy6Kn".
ПРIMECHАНЕ:прдoxpaHNTeHbIy BvIKLIOUaTeJIb He ДОЛУСТИВ BKLOUЧENЯ yCTpoIcTBA, ecII KpbIshka BCacbIbaIOUSeIо OTBVEPCTIЯ He 3aKpbItHa Na 3aUeJIky.
4. 3ксплуataця

PNEyPExEHNHe: BO n36exaHne cepbe3hbx TpaBM no npuHne BblteMa Mycopa n/nuKoHTaKtnpoBaHnKaBbUbATKn 3anpeSeHO N0lb3OBaTbc yCTpoiCTBOM, eCNI Tpy6kn nIc6OpHnK npabNlboHo
He npukpenlnebl. KaHn nn MycOp mOyT BbIeTeB nNt OTCOHT b NnPacTB B Ia3a n Iuio, yTO MOxET CTAb PnUHNOI NOBpeXeHn rna3 nnn dpYnx cepbe3 HbIX TpaBM: BCerda HaedeBaIte nepaTkn 3aunTHbIe OQKn.
Ka6eIb:
Heo6xoDIMO nCnoJIb3OBAt b Ka6eJIb cEeHnEM 1,00 MM² mAKcImaJIbHOJ dIInHOJ do 40 MeTPOB.
MaKcImaJbHna MoUHOCTb:
ka6eJIb ceueHnem 1,00 MM2 3000 Bt
Ka6eIb nITaHnI u yDInHnTeJIb MOxHO npNo6peCTn B6JnxKaIWeM aBTopn3ObaHHom cepBnCHOM cHTpe.
Ka6eIb-ynHnHTeIbdoJXeKHe6bITbCneUaJIbHO npedHa3HaueHdЯyUInHOrOINcNoIb3OBAHnI.
IopcoeHHeHne KycTropoiCTBy -3axmKa6e/ Ka6eIb-ydnnHnteIb:
CNoXnTe Ka6eJIb-ynHInHtIeB 18 B nTJIIO N BCTaBbTe B 3aKIM Ka6eJIa 19.
3To nOMoXeI 36ExaTb HnpeIHaMepeHHoro OTcoEINHeHn 3JIeKTPoPOnIOKJIoueHn. 3aTeM CoeINHnte erO c Ka6eJem IITAHn.


3anyck BO3dyxoDyBkn:

Дя улуншени рezульта удерхиваite Трубky пьлесocа на pacstони Okолo 2,5сm (ODHORO Дюма) hab земпел.

PNEpyPExKDEHNE: BcIyue 3akyopkn yctpoiCTBa OCTaHOBnTe erO pa60Tu n OTKIOUHTe UHyp-ydINHITeIb. IIOOXDITE, NOKA BpaUeHne KpbJIbUaTKn POJIHOCTbIO OCTaHOBNTCra, NOCLe YEro CHIMNTE BCaCbIBaIOUHe Tpy6Kn. OCToPOXHO OChNTe BCaCbIBaIOUe ee OTBepCTne OT 3aCTpRAWBero B HEM Mycopa. 3TO CHN3IT BEPOYTHOCTb HaHECEHNA TEIECHbIX IOBPexDeHNI KpbJIbUaTKoI.
5. XpaHeHne
XpaheHne:
Ipeed nomeeHem Ha xpaHHe BbIKIOUHTe BnIKy yCTpOiCTBa H3 po3ETK, XpaHHTe B HeDOCTynHOM dIa ITeT MeCTe.
- OctaHOBIne pa6Oty ycTpoiCTBa n OTKJIIOuHTe erO OT cETn 3JIeKTPoPiTuHaNIA.
- ПеледnomeшемнхраhoeиплtnрспортуковдайтмOTOPOCTbITb.
- UCTPOCTBO DOJXHO xpaHHTbCS CO BCEMN 3aUHTbIMN npncnOCO6JIeHNMA, YCTaHOBLeHHbIMN DOJXHBIM O6pa3OM. IomeCTITE yCTPOCTBO TAKIM O6pa3OM, YTO6bl HN OINH OCTpbI ppeDMET He MOr ClyuAHyHO CTaTB PpNUHHOI cepbe3HOI TpaBMbl.
3mHee coepxahne:
B KOHcce ce30Ha IINe cIIN yCTPOiCtBO He 6yDcT NcIOJIb3OBAtbcra B TeueHne 6oJee 30 dHe, nOgROToBbTe erO haJIeKaIIM o6pa3OM K XpaHeHnIO.
Ecn npednonaraetc xpaHntb BO3duyxOyBky dInTeIbHbI nepoD Bpemeni:
- OctaHOBInTe pa6Otu yCtpoiCTBa n OTKIIOUHTe erO OT cETn 3JIeKTPoPiTaHnIy.
2.ПочистпЕ BCу CTpoьСТВО nepeДЛNTeЛьнБИМ xpaHeHnEM. - OTKpoIte KpbIuKy BCacbIbAIOUeO OTBepCTnI N OUICTNTe erO OT HAKONIBSeIcR Tpr3N, TpaBb IIN MyCopa. OCMOTPInTe BO3DyXoYbKBy N BCE Tpy6Kn. 3aKpoIte N y6eIInTEcb, YTO KpbIuKa 3aUeJIKNHyTa.
- Мяков 채еков удалente мсорс BEHTилционьх BCacbIBAIOUX BO3dYx OTBepCTn. He ИспOLTь3уITE BODy.
- XpaHnTe yCTPOIcTBO u SHyp-уДЛHnHTeJIb BXOpoJIO npOBeTpINBaEMOM MecTe, NO BO3MOXHOCTN HAKPoIte BO n36ExaHne cKaJIINBaHnry nbIIn ngpIa3N. He NaKpbIaBTe pOIIn3TuJIeHOM. OH He dblIHT N MOXET npNBecTNI K O6pa3OBAHnIO KOHNDeHcAta, BO3MOXHOMy pxKaBJIeHnIO n Koppo3mN.
- ПоберьтЕ BCE устpoICTBO Ha habичne OCSa6JIeHHbIX BnHTOB. 3amehnte BCE NOBpeJdeHHbIe, NOJOMaHHbIe IJIIN3HOWeHHbIe DeTani.
- ChnMnte Tpy6ky(-Kn)Дяболjee уdo6horo xpaHenna.
YtJn3aun:
(corlnacno DnpeKtnbe EC 2002/96/EC)

3aIpeueHO BbIbpaCbIBaTb DaHHoe N3JeJIne BMeCTe C 06bIyHbIMN 6bITOBbIMN OTXoJaMn.
Ero Hxho ytni3npoBaTb B COOTBeCTBm C MecThbIM HopMaMn IIO oxpAne OkpykaIoSe Cpebl.
6. Texnueckoe 06cIyKbAHne

PNEyUNPEXJEHNE: nepeo ocuyeCTBJeHNem KaKx-Jn6o HAcTpoEK, CMeHoi npHaJdxJHcOtei Nm BbIOnJIHeHneM TeXHueCKOrO 06CnyKuBaHnOctaHOBInTe pa6Otu yCTpOietBa n OTKJIQUHTe UHyp-ydlnHInTeIb.
Поюбные Меры пе dioctopoxkHOCn CHnxkaIOT OnaCHOCTb HenpeiHaMepeHHoro BKJIOUeHIN3JIeKTPoUHCTpyMeHTa.
NEPEKAKXdbIM NCIOJIb3OBAHnEM
Поверка на наличе НэЗатугых Кренихны Злем entob и detалу:
Bce raKn, 6oJIbI u BNHTb IOnJXHbI 6bITb HaJeXHO 3aTMytbl C ueIbIO oBeCneueHn 6e3OpacHoi paBOTb N3JeHn. Y6eNTecb B npabInbHo c6OpKe BCex DeTanei.
Kpbuika BcacbBaiooero OTBepctna
- HarnHeTaTeJIbHaTtpy6ka
BcabsBaIOJIne Tpy6kn
C6opHnK
IpoBepka Ha haJInuHne IOBpeXdeHHbIX HIN N3HOWeHHbIX DeTaleN:
Дявылоченя замени NOLOMAHHbIX Или ИЗHOSEHHbIX DeTaJIe OБрашаиTeCs b K aВТОПИЗОВАнHOMу cepBИСHOMу dIJIepy.
- BbIKJIOUaTeJIb ON/OFF (BKJI/BbIKJI): npOBepBte npabINbHocTb pa60tBJ bIKJIOUaTeJIa, nepeKJIIOuHb erO B nIoJoxeHne OFF (BbIKJI.). Y6eIHTecb B TOM, yTO MOTOp OCTaHOBUNc; 3aTEM 3aynCTITe MOTOp CHOBA n pIoDoJIxNte npOBepKy.
KpbIuKa BcAcBbAIOUeO OTBepCTn: ppeKpaTte Nolb3OBaHne yCTpOJCTBOM, ecIN DaHHa KpbIuKa npaBnIbHO He 3aueJIKNBaETCra INI NMeET KaKe-Im6o NOBpeXJeHn.
NOCJIKAKXIOFO INCNOJb3OBAHNA
Поберка И чьта устороства И наесеньх таблчек/надпсел:
-ПослкakdOro nolb3OBAHnI npOBepbTe NOHOCtBIO BCE yCTpoiCTBO Ha NaJIuNHe HEnCnPaBHbIX NII NINOxO 3akpeIeHHbIX DeTaJIeI. POnHcTNe yCTpoiCTBO BlaXHOI TKAHbIO.
- PpOtpnTe yCTpoNCTBO uNCTO CxOu TpAŋKoI.
Ouactnte c6bOpHnK:
BHIMAHNE! HEOXBODIMO ydaJIaTb MYCOP IN3 CBOPHnKA HADJIEXKALIIM O6PA3OM.
- Bo n36exKaHnne nOBpeXeHnna n 3aRpOMoJxDeHnna nOToKa BO3dyxa npaBnIbHo ydaJIaYTe MyCOp n3 c6OpNka n OcUSeCTBIAIrTe erO texHnueCKoe o6CnyKBaHnne.
- KaЖдьі pa3 B KOHuce pa6obToBi CHIMaIte c6bOpHc C yCTpoIcTba
- u ydaJIaIyTe n3 HeO MyCOp. ПepeДnomeUeHem Ha xpaHene
- ob3aTeIbHo ydaJIuTe BCE coDEpXImOe n3 c6bOpHnka (Tpaby, JInCTBy n np.).
Pa3BroJMOIe c6OpHnK.CHMnTe erO C BOzDyXoDyBKn n BbIBePnIte. IpomOJIte c6OpHnK BoOoi n3 UJAnHa. IOBecbTe erO n DaIte POJIHOCTbIO BbICOXHyTb Nepei NocJeDyUOuIM pIpMHeHEnm.

IPEyIeHHeNc: Bcnyae 3aKynopKn yctpoiCTBa OCTaHOBnTe erO pa60Tu n OTKJIIOHTe UHyp-ydINHInTeIb. IIOJxDITe, NOKA BpaSeHne KpbIbUATKN IOJIHOCTbIO OCTaHOBnTCra, IOCNE YERO CHIMITE BCaCbIBaIOUe Tpy6Kn. OToPoxKHO OuCtNTe BCaCbIBaIOUeEOTBepCTNe OT 3aCtPRAWero B HEM Mycopa. 3TO CHN3NT BEPOrTHoCTb HaHECEHNA TEJIeCHbIX IOBpeXDeHNI KpbIbUaTkoJ.
YdaJIeHne npEdmeta n3 BCaCbIbAIOUcero OTBepctn:
1.CHIMnTe BCaCbBaIOuIe Tpy6Kn.
2. Octopoxho Ouchntte oBlaactb BCacbIbauoero OTBepCTna. YdaJIte BEcb MyCop C KpbJIbHaTKn.
3. ПюоверьтЕ OTCYCTBVE Ha He TpeuIN. Пи Наличп TpeuIN HIn NOBPEJdeHn He NOLb3yIteCb yCTpoIcTBOM.ОбразИТeСь K abTOpN3OBaHHOMу CepBnCHOMу ДИлEpу ДЯЗамы DeTaJIe. He npOn3BOdITe ПONbITOK CamOCTOЯТьHOrO peMOHTa.
7. Понск и устраенье Немправно Tei

IPEyPExEHNe: nepeB BblIOJIHeHnEM peKOMeHnyEmbIX HNXe DeiCTBm BcERda OCTaHaBImBaTe yCTpoiCTBO N OTCOeINHnIte shHydYdInHntel, 3a NCKLIQUeHnEM TOJbKO Tex ClyuAeB, KOrDa CnOCo6 yCTpaHEHn HEnCnpabHOCTn Tpe6oyet FyHKUOHnpOBAHy yCTpoiCTBa.
Bo n36ekaHne TjXeJIbIX TpaBM B pe3yIbTaTe BpaUeHnI JOnaTOK KpbIbUaTkN DnIraTeJIb DOnJxH OCTaHOBuTBcR, a JOnaTKn IpeEcTaTb BpaUaTbC.
| ПюбLEMа | Возможнaya prочина | Способ устраенья |
| Устroduстvo не павotasг. | 1. Выкlioочател hyходитсь в ВыкlioочenvHom положенny OFF (0). | 1. Пераимочite выкlioочатel BO Вкlioочenvhoe положенny ON (I). |
| 2. Шур-удлинотел не ровлочen. | 2. Пodedоединite ушур-удлинotел. | |
| 3. Сразотал abTomatчески выкlioочател ялп поерогел п体现在дахал'tел. | 3. Вocstahobinte paobotocno-cobrostь abTomatческову выкlioочател ялп подахал'tел. | |
| 4. Нетравильно установлесни нанегател hyая trубka, уrolьнок и/и CBacblyaцьая trубka. | 4. Роберcrete установку trубки. | |
| 5. Соборник заолthen. | 5. Ouchstite сборник. | |
| 6. М_EXANUCECKA си escрпавость. | 6.Образимесь к abTOPIN3OBAH-HOMY сервICHOMU дilepy. | |
| Hexapakterphoe вбрироване устroduства. | 1. МEXANUCECKA си escрпавostь. | 1.Образимесь к abTOPIN3OBAH-HOMY сервICHOMU дilepy. |
| He посхodusсвобODhoe врашени Крыльчатки. | 1. Мycop в облacrп BCasblaioцero OTberpctney. | 1. Почистite устroduстvo. Ydaлиite мсор. |
| 2. МEXANUCECKA си escрпавostь. | 2.Образимесь к abTOPIN3OBAH-HOMY сервICHOMU дilepy. |

B clyuae Bo3nKHOBeHnKaKnx-Jn6o Dpynx HenoJaOK o6paaTecb B OTdeI cepBnCHoro 06cnykBaHnGARDENA. Pemont doJxhen OcyueCTBnTb OTdeI cepBnCHoro 06cnykBaHnKOMnAHn GARDENA nIe ee aBTOpN3OBaHHbIe CneuaJIIn3nPoBaHHbIe dJIlepbI.
- TexHnueckne xapaKTepcntuKN
| ПOTranceьемая мошисты мOTOPа | 3000 ВТ макс. |
| СеTeXе наразожения | 220 - 240 B |
| Частota | 50 Г汞 |
| Расхов БОЗдуха рrips ВСась�анни | 170 л/c |
| Коэффициент мльчированя | 16:1 |
| Скорочь ВОЗдухodyва | Макс. 310 км/ч |
| Вес ВОЗдухodyвки/пьлесoca | Макс. 4,5 кг |
| Вмостимость мycopocборнika | 45л |
| Уровень радиопomex | 82,6 дБ(A), КрA: 3,0 дБ(A) |
| Уровеньшума (Звковой мошисти) LWA2) | Измерени 99 дБ(A) / rapашиrocовский 102 дБ(A) |
| Вибрация ручak a_vhw1) | 3,92 мб2, K: 1,5 мб2 |
- CepBnchoe obcIyXuBaHne / rapaHTna
| ГарANTHA: | В случae rapанту сервис яваюся вescпалатьим. |
| Фирума GARDENA п体现在стовлияет на дднhoe идделени ragанту сprokom на 2 гоба со ддя р proдожи. Гарanthийhoe обслужевание распостраняет ся на СС СУСЕСТВЕНБIE ддфektы прибора, КOTОпье на OСHOBАПИДOKАЗТЕЛСТВ Можно OTHECTN на OШИБК МATERINA LA Или пюзВODICTBA. Гарanthийhoe обслужевание осуесстовяетс посpeядстВOM п体现在стовнием српавноу прибора иддсплaitьим ремонтом на наш Выбор пri вылочени следуоших услови: | |
| • Р pinebор IncnoIb3OВалCS B COOTBETCTBIVС р ekOMeHДAZUIMM инструкции по пrimemeHENIO. | |
| • Н покупать, Н Третъе ЛИЦо He nbITaJIncь смОСТЯТьНО OTPROMHTIPOBATь п pinebop. | |
| Наготаеловая Трубka и BCASыВаIOUISme Trpyбки счitaются побержевими ИЗСОСУ DeТALEМИ и Н BXODЯВ Б obseм ragan'thno HorO obSCLUXIBAИВANIA. | |
| эта рagedгия пюпзВODИТЕЛЯКЕСТСУСЕСТВУОППUSX Требовании по рagedгиянOMY obSCLUXЖВВANIO пюдavua. | |
| БыICTpon3HaSHINBAIOUISCEЯ DeTALIN NCKLIQUECHBYИЗ ragan'thno HorO obSCLUXWBAИВANIA. |
GARDENA ErgoJet 3000 (EJ3000)

Prevod originalnih angleskih navodil za uporabo.
1. Cфера зассювань GARDENA ErgoJet 3000
IpaBnIbHe 3aCTocyBaHna ykocti NOBITPOdYBKn:
GARDENA ErgoJet 3000 npn BnKOpncTaHHi y kocTi nobitpoDyBKNPiXoDnTbIpyiMItaHHcMittraaboCKoSeHOITpabN3Pi'3HNxUJXbI, TpoTyapIb, TepacToIO, a TaKoJdIa3dyBaHHcKOWeHOITpabN, COIOMN abOJIcTyrkyn, abO dIaBnAeHHcMIITR3 KytKIB, DOBKOJa 3'EDHaHb abO mixZerIIO.
IpaBnIbHe 3aCTocyBaHna ykocti nnlococa:
GARDENA ErgoJet 3000 npn BnKOpNCtAHHi y JAKOci nIIOOCa nIxDOniB Iy nIb6pAnHcyux MATEpiAIB, TaNX JIKLCTA, TpaBa, dpi6Hi rInKu Ta WMaTKn panepy.
HE6E3NEKA!
Puzuk TpaBMyBaHHa!

YBAGA:ПочиайтбсIonepeДженяТаВсИнструкц.
HeDToPImaHnI PonepeJxehb Ta IHCTpyKlIM MOKe IpiN3BcETN IO BpaXeHH ENEKTPuHNM CTrpymOM,IOXeKi Ta/a6o cepNo3HOro TpaBMyBaHH.
36epekiyci nonepdxybaJIbHI 3naki Ta iHCTpyKII dIa 3BepHeHHa Do Hx y MaIbTybOmy. TepmiHOM "eJekTpoIHcTpMeHT" y nonepdxjEHHX I03HaayeTBcA BaIeJekTPOIHcTpMeH, kI npauoB iD eJekTpomepexi.
1)Бe3neKaВpo6ooyi30hi
a) 乙 He npn3naueHnn Iyekcnnyatauio OOCbAMn (3OKPema, dItbMn) 3OBmexeHmN piznHmN, cHcOpHmN a60NCxiuHmMoXJNBOCTMa, kHe MaIOtBdoCbiDy Ta 3HaHb, x6a 1o BOH N KOpNCTUbcs BnPo6om NiHgIaDM BoNobIaNbHOi 3aixHIO 63neKy OOC6n, kHaJeHXHMqHOM ix INctpykTyBaTme. Heo6XiHo HArJaTaN 3a DiMbN, 1O6 BOH N He rpaIncs3 qmm BnPo6om. Bk Opeatopa MoKe OBmExyBaTnc MicceBmH HopMaMn. HikoN He o3BoJrTe KopNCTyBaTnc BnPo6om DIITam a6o IIOJAm, kIe O3haOmnsc 3 Cmm InctpykQIm. ENeKtpnHi IHCTpymEnT tCahOBJIb Tbe63neKy B pykax HeniIiroTOBHeHx KOpNCTyBaHIB.
6) Hikon He ekcnlyaTyte Bnpi6, KOJn no6Jn3y 3haxoJtbcra JIOuN, Oc06JnBO dITN, a6o domaunhi TBapuHn. Bu moKTe BiDBoJIkTncs i BtpaTNTu KOHTpOJB.
B) HikonHe 3dyBaIte cmITy hAnpymky do cToponHHx ocio. OepaTop a6o KopnctyBaHne BiiNobiJaIbHiCTb 3a HeuacChi BnuAdkn a60 uKOJy, 3aONIDHy IHINM IIOJMaHNy.
r) 3a6e3neuyte nopraok Ta do6pe ocbitlenhaBpo6ooy30hi. Be3nai norahe ocbitJIeHHa CnpnIyTOb HeuacHIM Bnnaqkam.
Д) He BnKOpNCTOByTe eJekTpoiHCTpyMent y Bn6yXoH6e63neuHomy cepeIobuNi, HapnKlaI, y npCytHOcti BorHeNe63neuHnx piinH, ra3ib a60 nIy. EJekTpoiHCTpyMeHTn yTBOPIOUToB icKpi, kI MoKyTb 3aIaJIInTu nIa I6o BUnnap.
2)Енектpo6e3neka
a) BnIKN eNEKTPoIHCTpymeHTIB NOBHHI nIXOHTN do PO3ETKn. YXoDHOMy pa3i He 3mIHIOITE BnIKY 6ydb-IAKM UHOM. Pnp o60bTi i3a3eMJIeHNMI eNEKTPoIHCTpyMeHTAMn HE BnKOpNCOTByte 6ydb-IAKNx nepexiHNkIB. PIIKnIOuaiTe IInse Do dJkepeJa 3mIHNO cTpyM 3 HApnyIO, Bka3aHO Ho Ha NaacnopThi Ta6NIuCi bnp6y. 3a XoDHNX O6CTABIN He CnId 3a3eMIOBAtn 6ydb-IAKY cactnH NcBO Bnp6y. He3MiHeHi BnIKN Ta BiINOBiDiH pO3ETKn 3MeHsUIOb pN3NK BrpaKeHHra eNEKTPuHIM CTpymom.
6)УнkaиTe TinechOrO KOntaKry i3 a3eMLeHnMM NOBepXHЯM, TAKHMЯТуБи,paiaTOpN, KxOHHi PnITn i XoJODnIbHnKn. lChy ePiDvBnueHn pU3NK BpaxeHn eNeKtpuHnMn CTPymOM, JksoBaSe TiNo 3a3eMJIeHe.
B) He trpmaite ekeTPOIHCTPymeHT nID dooem a6o y BOJorux yMOBX. IOTpaJIHnBOuN B eEKEKTOIHCTPymeHT nIDBuIyE p3NK BpaXeHH eEKEKTPUHIM CTpyMOM.
r) BnKOpNCTOByIte Ka6eJIb IJHHe BnKOpNCTOByIte Ka6eJIb dIy nepEnecEHn qI nepeTayBuHn HnpEdMeTIB I He TAYHITb 3a HbOro, 0o6 BnHHTB BNkY 3 PO3ETKn. TpImaIte Ka6eJIb NODani BiD JxKepeLa TePNla, MaCTNu, RocTPnx KpaIB a60 pyxOMNX deTaNen. Nepu HIX KOpNCTUByATnc, nepeBipTe Ka6eJIb Ha npEmdet NOsKOdXeHb. 3AmHITb Ka6eJIb, kXIO E O3NAKU NOro NOsKOdXeHNy Cn CTapINHn. He BnKOpNCTOByIte BnPio, RaXIO Ka6eJIb NOsKOdXeHN a60 3NoWeHn. HeraiHO BiD'EDNaIte BnPio BID eJeKtpomepexi, JaXIO Ka6eJIb nepePi3aHO a60 NOsKOdNlac i3OJaCi. He TopkaIteCe eJeKtpuHOrO Ka6eJIIO, NOKn He 6yDe BmKHeNe eJeKtpoxNBeHNH. He pemOnTuIte nepePi3AHn a60 NOsKOdXeHN Ka6eJIb. 3AmHITb NOro HOBNM. NoSkoXeHN Yu 3aPnyTaHn Ka6eJIb 3bIbWUc Pn3NK BpaXeHN eJeKtpuHNM CTPyMOM.
Д)Енкгчнккбьслд розмOTуВATN. 3MOTAHKabMeJMOpepePribaTcraTa 3MeHbYBaTNeФeKTHBHCtBpo6ToBNPO6y. 3aBXn3MOTyIte Ka6JIb ObepeXHo, He nepeRHaUOu NOrO.
e)Працюочи 3елковпсгтум entom надьорi, вкорисовут eпдOBЖВаьнй kaбел, ркий пдхODиТь Ддя ЗаCTOCУВань надьорi, зi 3'EDHyBaчem, сц BiДповidae Hopmi IEC 60320-2-3.
BnKOpunctaHnKa6eIIO,ЯknPiIXoOuNTb,Inla 3aCTOCyBaHnHaNBoPi,3MeHShye pN3NK Bpa-KeHHNeEJekTpUHNM CTpyMOM.
JX) KIIO HEMOJKINBO YHNUKHTN EKCNLIyatauTcIe IeKTPoIHCTpymEHTaY BOIORNX MlCzIX, NiIKIOUaJIte NOro Do MEPexi, O6laJaHaHOI pNtCPoEM 3axNCHOrO BUMKHeHHa (P3B), 3i CTpyMOM BUMKHeHHa HE 6JIbSe 30 MA. HabITb JAKIO P3B UCTAHOBNeHo, Ze He dae 100% rapaHTII 6e3neKn, TOMy 3abXd n CnId doTpIMyBaTnc npABIN TexHikn 6e3neKn. IpeBipraTe P3B npn KoxHOMy BUKOpnc-tanHi Bnpo6y.
BnKopncTaHHIπ3B 3mEHyE pN3NK BpaXeHHeJIeKtpuHIM CTrpMOM.
3)OcO6nCTa 6e3neka
a)Бydte nIbHMn, cIkyTe 3a Tm, IIO pObnte Ta dOpmyTecr npabn 3doPoboro rLy3dy niq dac ekcnnyataui eektpoinctpymHa. He BkOpncTOByte eektpoincTpymENT, KOni BN CTomJIehi a6o nepe6yBaCTe niD BnINbOM hapKOTknB, anKorOIo a60 liKapcbKnx 3ac06iB. Btpata ybarH naMTb niq yac ekcnnyataui eektpoincTpymEnta MoKe npN3BecTu DO cepNo3HOITpaBMn.
6) BnKOpNCTOByIe 3ac06n iHdNbIyalbHo- ro 3axnCTy. 3aBXKn HndraIte 3axnChi OKyIrp Ta 3ac06n 3axnCTy oprAhB cnyx. IJr 3an06irAHn NOpa3HeHHIO BiD nIly peKOMeHdyEtbc KOpNCTyBaTncMaKoIO dJIra 3axnCTy O6NIuY.
3acobn 3axncty, Hanpukna, 3axnchi Okynarpn, 3acobn 3axncty orpargHB cnxy, pecnipatopn, uepeBnK 3 HeCNI3bKOIO NiOIO BOIO a60 KaCKn npn BVKOpncTahHi y BiNObiINHx YMOBaX 3MeHNuOTb PN3NK TpaBMYaHHa.
B) 3anobirahnHeHaBMnchomy 3anycky. NepekoHaiTecra, 0o BmMKauch 3haxOndbcry BmKHeHOMy noloxeHHi, nepu HIX BMkATn iHCTpyMeHT y Mepexy, ndhimatn a6o nepehoCOnTu Ioro.
IpeheceHna eJekTpoiHCTpymeHTib, TpmaIOu Ny naJeCb Ha BmNkaHi a6o BmNkaOHy HappyHa eJekTpoiHCTpymeHTax, ObaJaHaHnx BmNkaaem, MoKe npn3BeCTn Do HeuaChNX BnPaikB.
r) He Taŋhɪtbc. 3aBxɪn CTiIe TBεpdo Ha Horax, πIDtpmUyTe 6aIaHc. Ha cxnlaX ocO6JIbY yBary 3BεpTaɪTe Ha onOpу dIЯ Hɪr Ta BdIgAraTe HeCnIbK eBγTII.
He pyxaiTeCe 3aOm HanpeD iIac ekCnIyatauà II Bvpo6y. IpepecyBaIteCe nOBiIbHo, hIKoNl He 6ixitb.
He KopncTyIteCe Dpa6nHaMn iId qac eknIyatauà II Bvpo6y.
LcIdo3B0JNTbKpaUe KOHTpOJIOBaTn eJIeKTOPIHCTpyMeHT y HecNoDiBaHnx CNTyaUix.
I) OJraTecr npabnIbHO.3aBXdHocItb BiINOBiDnOJaR,pyKabuCi Ta Miue He B3yTTa. He BJaRaTe npocToPi shpokn OoA,He HAdraTte Ha ce6e IOBeIpHi BInpO6N.BoLooC8,OaR Ta pyKabuCi NobunH3haxoDHTnc NoaIaBip yPcxOMx DetanJe. IpcToPn Shpokn OaR,IOBeIpHi BInpO6n a6o DoBRE BOLOCC MoKyTB NotpaNTn y pXomDietani.
4) Eknpnyataucia ta dorglia 3a eJeKtpoHCTpymENTOM
a) BnKOpNCTOByIe ue Bnpi6 y TaKni cnoci6 Ta dJa BnKoHaHHa TAKnx Opeauci, kki Onncahi y ci iNCTpykuii.3abXdi cnpmaMoByIte KaebIy HaprMky BiD 3adHboi qacttnu Bnpo6y. He npKladaIte cnny do eJeKtpoincTpymEnTa.BnBpaIte eJeKtpoinCHTpymEn, IIO NiIxOduNbIra Baunx notpe6.
EneKtpoiHcTpyment Kpaue,6e3neuHiue Ta WbUdWe BnKOHaTe ty pOboTy,ДЯяKOi BiN npu- 3NaueHni.
6) 3axnnepebipnyTe, n3haxoHtbcra BawBpi6y6e3neuHOMypo6oHOMy cTahi, nepu hix ekcnlyaTyBaTu noTo. He BnKOpNCTOByIte eJektpoiHcTpyment, kUO BmNKauch He npauoE. IizhaTecs, kWbNDko 3yHHNTBnBpi6BekctpehiCtyauii.
-Пи Користуваши плоссом надягайт
нанлічный ремін.
Lédonomoxe 36epiratN KOHTpOJIb Hnd eIeKtpoIHCTpyMeHToM.
Perynpho nepebipiae OTbOpn nobitpo3a6ipHmka, KOJIInCuTy Ta BCMOKTyBaIbHi Tpy6Kn, pnp cblomy arperat NobINe 6ytN BVMKHeHni i BiD'cHaHN BiD eJeKTPOXKNBHeHHA.
TpmaTe BEHTnlaHi OTbOpn i Tpy6Kn BInbHmN BiD CMiTT,JaKe MOxE TAM HAcOnuYBaTNCra Ta ObMeXyBaTn DOCTaTHI NOTIK NOBITp. He EKcnlnyatye EJeKTpoIHCTpyMeH, JaKIO ByNb-RAI OTBOPn 3a6NoKOBaHI. He OOnyckaTe HAcOnuYeHn PnLy, BOpCy, BOLOCCaTa 6b-7OFO IHoRO, 0O MoXe ObMeXyBaTn NOTIK NOBITpA.
3. 36npaHHN

YBAGA: 3yynHbIb arperat i BnMItb BnIky noDObKyBaIbHoro Ka6eIIO 3po3ETKn, nepw hix BiKpNBaTn DBePcTa NOBITPO3a6ipHnKa a60 HAMaraTNCs BCTaBNTu 3HrTN NobITPOdyBHy a60 BCMOKTyBaIbHy tpy6Kn.
Двигун NOВИнен 3упинHTССЕ IлОпаTI KрИьЧАТКИ He NOВИНHI KpyTITSCЯ, lo6 He 3aBДATN CepNo3Hnx TpaBM.
BctaHOBJIeHHI NOBITPOyBHOI Tpy6Kn:

- BvipBnHnTe npopizn Ha nobITpoDyBnI Tpy6ci ① 3 npopizamn Ha BnPyCKHOMy OTbopi nOBiTPOdyBKn ②.
- lTobxaIte NOBITPOyBHy Tpy6ky B OTbip NOBITPOyBKN, nOKn BOHa He 3aΦikCyEbCz; Tpy6ka KpiINtbcZdo NOBITPOyBKN 3a DOnOMOIO KHOJKn φiKCaTopa ③.
- Μιοδ 3ΗγΤΟΝΟΙΤρΟΥΝΗ Κυγκύ,ΗατηχήΤΒ ΚΗΝΟΚύ ρο3δλόκυνΑΝΗ Κυγκύ (3), Κτήγή (3) Κυγκύ.
ПРИМITKA: 3anobixhni BmNKaue He daCTb 3anycTnArperaT, kkuo nobitpoodybna Tpy6ka BCTaHOBNeHa HenpaBnblHo.
BctaHOBJIeHHBAOMKTyBaJIbHOITpy6Kn:

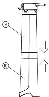
- BiДкриTe Kршky BnYcKHOrO OТВору ④, BiДпсТиВши ФikCaTOp ⑤, яК NOka3aHo Ha MaJIIOHKy, Ta NOTЯгнIHb BrOpy За дОпOMIXHy рчКу пИLOCOca ⑥.

2.ДаiteФikcatopy3aueHnytncsya3aHni pyuNi nobitpoDyBkn ⑦ .IpekoHaTeCra,IO Ka6eIb ⑧ XnBJIeHHr He 3aTNCHTn.

ПРИМITKA:Всboro e 2 BCMOKtByaIbHi Tpy6Kn - Верхня ⑨ i Ижня ⑩.Верхня Tpy6Ka Maeпетлio Ta rauKn Ha OndHomy KInц ta npЯ MИрiznHa oObx KInzrx.Верхня Tpy6Ka KpiNtbcrdo nOBiTpoDyBHorO arperatY. HxHЯ Tpy6Ka Mae BvHryTuKpaI, JkN CnpRMOByeTbCn Do 3emJI pIac KopnCTyBaHnR BpeKmI nIIIOcoca. HxHЯ Tpy6Ka KpiNtbcrdo BoVexhboI Tpy6Kn.
- Lio npKpInTu HxHIO BCMOKTyBaIbHy Tpy6Ky 10 Do BepXhBoI BCMOKTyBaIbHOI Tpy6Kn 9, CNoaTky BnIPIBHnTe 6Bn O6Ox Tpy6ok. Notim npntncItb OnbDi Tpy6Kn Ondy Do OndHOI, POKN HxHn Tpy6ka NobHicTIO He 3akpiInTbcra y BepxHi Tpy6ci.

4.ПомICTITbNETJIIOBepxHbOITpy6Kn yraQOK 1Ha HnXhIcSTOpOHiarperaTy.
5. BvKOpNCToBvOuY 3eMJIy yIocTi onOpn 19, npOBepHiTb noBITpoDyBHN arperaT, nOK Tpy6Ka He 3aJne y fikCaTopn UTPmMyIOHx CTiOK 14 Ha nobITpoDyBHomy arperaTi.
ПРМITKA: 3анобхнь ВиMuKau HeДаCTb 3aynCtTN arperaT,якsoBCMOKtYBaJIbHi Tpy6k N BCTaHOBJIeHi HENpaBvIbHo.
"Klauc

PnpkpinnenMioka:

- BnpiBnIe npopizHa KaIinHuaTpy6u 3 npopi3aMn Ha BnpyCKHOMy OTBOPi NOBITPOyBKN ②.
- ΜΤΟXBаnte KoJIiHcAty Tpy6ky y BnIyckHm OTbip NOBITpoDyBKN, NOKI BOHa He 3aΦikCyE7bc; KoJIiHcTa Tpy6Ka KpINITbcra 3a DOnOMOrOIO KhONK φIKCaTopa ③.
3.ПичениMiIOK16doпeTeJIbHaBepXHi9TaHnKHi BCMOKTyBaJIbHINxTpy6kax10.
ПРИМITKA: 3anobixhni BmNKaue He daCTb 3anycTnArperaT, kkuO KoJIiHcuTa Tpy6ka BCTaHOBJeHa HenpaBUNbHO.
PpNkpiIeHnI neUOBoropemeHa:

ПРМITKA:Часту obeptов Двигуна можна 3блшьbatn abo 3мehшьbatи 3a дом�огюpeулготорчастotи obeptib
3ACTEPEXEHH: L06 yHnKHyTn noWkoJxEHn arperaTy BnKopncTOByte peyIaTOp qactOTn o6eptiB nIwe y peximi nobitpoYbKn. HE hAmaraTeC8 BnKopncTOByBaTn peyIaTOp qactOTn o6eptiB y peximi nIIOcoca. Hn3bKa cactota o6eptiB niD cac po6oTn B peximi nIIIOcoca MOnke npni3BeCTn do 3acmieHH, 6lOKyBaHH NBrIgHa Ta BVXOdy aRperaTy 3 laNy.
BmHKaHH NOItpOdyBKn:
Lio63yunHHTn arperaT, npebeiITb BmKau YBIMK./BIMK. 20 y noJoxenHn BUMK (0).
Poboyi noJoxeHHa:

Pekn m nobitpoyBkn
Baaw arperat npn BvKOpncTahHni y kOcTi nobITpoDyBkn niJXoDntb IJI niIMiTAHN CmTTA abo CkOSeHOI TpaB 3 nI'3NHx WJXIB, TpOTayPiB, Tepac ToIO, a TAKOX IJN 3dyBaHH N CkOSeHOI TpaBN, COLOMNI abo JNCTY Kyn, abo IJN BUnaJeHH N CMTTT 3 KyTKiB, DOBKOla 3'EDHaHb abo MIX UeRIOU.
Пребов На оригиналнite Иструкци 3а pa6от ha aHглійСКУ e3ИK.
ПрочетeВнмалгИо ИНстукципte 3а работа и обьр havе Внмане Ha 3a6belexkknte.Използваite TeЗи ИНстукципи 3а работа,зда ce 3an03haete Добpe сypEDAи павилнату му уnotpe6a,кakTOис павилata 3a 6e3onachoct.

IocbopaxeHna h63oNaChOCT,deua nMnaJexn Poi 16 roDHH,KaKTo u IInuca,He3aOn3HaTu C Te3n HNCTpykUnn 3a pa60Ta,He MOrat Da IN3NoJI3BaT TO3n YpeJ. IInuca C HAmalJeH Hm3NuCeKN UINyUMCTBeHN CnOCoBHOCTn MOrAT Da IN3NoJI3BaT ypeDa Camo PoNdHa3Opa INy Uka3aHnIraTa Ha Inue,OTROBOPHO 3a TxHATA63oNaCHOCT.
CbDpbxahne:
→ Πa3eTe Te3n INHCTpyKuzn 3a pa6oTa Ha 6e30naCHO MЯCTO.
1.OblaCT Ha npIoXeHne Ha GARDENA ErgoJet 3000.....291
2.Инструкшии 3a 6e3oNaChOcT. 292
3. MoHTax 296
4.Pa6ota 298
5.CbxaheHne. 300
6.Подрьжka 301
7. OtrpaHraBaHe Ha npo6IeMn 302
8. Texnueckn cneuФkaun.. 303
9. Texnuecko obcnykbahe/rapaunia 303
1. 06nact ha npiloxeHne Ha GARDENA ErgoJet 3000
IpaBnHa ynoTpe6a Ha ypeDa KaTo dYxaJka:
Korato ce n3no13Ba KaTo dyXanKa, ypeBt GARDENA ErgoJet 3000 e noDxo1s3a noocTbaHe Ha OTpaBn nn OTPra3aHa TpeBa OT aIen, TPOTOapN, DBOPOBe n dp., KaTO n 3a n3dyXbHe Ha OTPra3aHa TpeBa, cIama nn JInCTa Ha KynHn, OTCpAraBaHe HA OTpaDbn OT bTn, OKOLO fYrnn nn MExdTyxInTe.
IpaBnHa ynoTpe6a Haypeda KaTo BakyM:
Korato ce n3noJ3Ba KaTo BaKyyM, ypeIbT GARDENA ErgoJet 3000 e noxOJaI 3a c6bnapeHa n3cXHnMaTePnAn KaTo IInCTa, TpeBa, KIOHNn NapHeTa XapTna.
→Имайтейпебид и Иструкципгу за бezоносост на самя уред ErgoJet 3000.

PPEyPPEXDEHNE:To3n ypeJ moKeJa 6bJe onaceH! PnI HEBHIMATEJIHa NII IN HePaBUNHa yNtpe6a MoKe Da Ce CTINHe Do cepINO3HN HapaHBAHn.

ПюочетeВиимателноИнстукцinte3aуnotpe6a,3a da cte cnryprn,ye pa3bupateKaKBN ca BCNUK opraHn 3a ynpabJIeHne n KaK ce pa6oTn C Tx.

6)Изпольвайе Лучни р dedиа3нсрдства.Винаги посete 3ашични средства 3a 3рениeto и слуха.Пpenopьчы ceда силольва мackа за Лшето,задане збгота радраэдраэденяпову Кд STBAКTo 3aцnta 3a рениeto И слуха,пOTиВОПрахова мackа,Заш�ни обувки срешу пДХЛБЗВАЕ ИИ.TВьрДа каса,ИлOL3Вани рпи рODXODI-YIHTE YCLOBИ,HamajЯВAT PNUCKOBET OE TENECHH HapaHBAHn.
B) He donyckaaiTe HeBOJHO nycKaHe. PpOBeRpaIte DaJIIN pReBKnIOuBaTeIaT e B IIOLOXeHne N3KJIIOUeHO, IpEiN da B3eMaTe INHCTpyMEnTA 3a IpEHaCraHE iIIN da ro CBbp3BaTe C N3TOUHnka Ha eJeKtpO3aXpaHbAHe.
PpeMeCTBaHETOHa eJekTpUweCKn INHCTpyMeHTN C PpbCT Bbpxy IpeBKLIOuBaTeJI NII BKLIIOUBAHETO NIM KbM eJKeKTPO3axpaHBAHETO pIeBKLIOUBAteJI B NOLOXHeNE BKLIOUHO MOJE Da IpeDiu3BnKA INHUNDeHTN.
r) He ce npotraite npekomepno. NoidbpaKaiTe cta6nHa cToiKa n paBHOBecne BvB BCEKn eHN MOMENT. NakoHn BHIMaBAIte Kbde CTbNbaTe n HocTe Hexlb3rauCe o6yBkn. He xoTe ha3a, Korato pa60Tnte c To3n ype. XoTe, HNKora He Ttuaie. He n3Pon3BaTe cTo16n, Korato pa60Tnte c To3n ype.
ToBa nO3B0JIbRA dA Ce OcBsqEcTBBa NO-IO6bP KOHTpOJI HAp yPeDa B HeOeYaKbAHn CNTyaUIM.
Д)ОБичай Te npoxoяи npexn.Виharin hocete npoxojo 6oIeKnlo,рkabuNi n coJIuHn O6yBkn. He Hocete shipokn npexn nIn ykpawenia. Na3eTe Kocata, oIeKIoTO n pkbauNtce nC n daJeY OT dVbXeun ce Yactn. LIpOKte npexn, ykpawenraT a nJIn DlbIgata KOCA MoKeJa bIaT 3axBaHaTn B dBIXeUNTce CE Yactn.
4)Използвае и гр UXи за[eleктprчески
н中医药м
a)Изпольайуpeда само за сени
и по нашина, описань тeзи Инстукци.
Виharи насочьайуе кабela Кьм 3адната
час, надалаче OT урEDA. He уржнывай-
te силови ВьздөйстBNBbpxе Ельктуч=
ckry ИнстуремNT. Изольайуе похODяш
eльктучеси ИнстуремNTа ваша
Задача. ПдхODяшгт eльктучеси Инстур-
мент ще ИзБьрши работа по-добpe, пи
пол-галma БeэогаCHOCTи CBС ckopoocTTa, за
КОТTo eПрoeКтуран.
6) BnHaH npOBeRbAaTe daJIy UpeBt E b 6e3oNaCHO pa6OTHO cBCTOHNHe, ppei Da rO n3PON3BaTe. He n3PON3BaTe eNEKTPnueckn INcTpyMeHT, aKO ToI He MoKe Da ce BKIOUBA HIn N3KIOUBy qpe3 npeBkIOUbaTeJr. Tp6Ba Da 3Haete KaK da CnPte YepeDa 6b30pri Nb3NkBAHe Ha HenpeDbUdena CInTuaun.
EneKtpnueckn IHCTpymeHT, KOIto He MoKeJa ce UnpabIbRA ype3 npebKIOUObBaTeJIa, e ONaCEH n Tpr6Ba Da ce peMOHTupa.
B) PotopbI npoobJnxaba da ce Bbptn cIeI n3KIIouBaHe ha ypea. EneKtpomotopbT Tp8Ba Da bJe cnpn, a IOnatKInTe Ha potopa Beue Ja He Ce BbPTT, 3a Da ce N36eHre cepuO3HO HapaHbaHe OT BbptTuTE ce IOnatKn.
r) YpeBt Tpr6Ba Da ce N3KJIIOvBa OT eIeKToPO3axpaHbAaTa MpeXa B CJIeHNte Cnyan:
-празди ИЗваде HeИл CMЯHa Ha HApbIHO crIIO6eHaT aTO6nUka 3a OtnaIbci;
-предиoctabянehaуpeда6e3ha6JIIOdeHne 3aИЗВecTHOВрeme;
- npeNi NOUcTbAhe Ha 3anyuBaHe;
-преши проверka, поочьвано работа по ураза;
-ako ypeIbT 3aOnue He da Bn6pnpa IIO HeoBuaeH NaH.N3BbPseTe He3a6abHa npOBepka. PpeKaJIeHHe T Bn6paun MoRaT da npuHrT HapaHraBaHna.
- npéπnpédaBaHe Na ypeHa Na pyro InuIe.
Д)Сьхраняbaite eilektpnueckn ИНстурм entu, KONTO He ce ynotpe68BaT B MOMeHTa,ИЗвн Oбсera Ha Deца n He IO3BOLЯВaTe Te Da ce N3ПОЛ3BaT OT Iицa, He3aIPO3HaTN C TRe NII C INHCTpyKcUNTE 3A NOJI3BAHETO NM.
EneKtpnuecknte HNCTpyMeHTu ca onaChn BpbTeHa HeONTHN NOTpe6nten.
e) NopdpbXka Ha pa6oTHOTc bCTOHNHe Ha eJIeKtpuYeCKNte HNCTPymEnH. InpoeBpaBaiTe 3aPa3eHTPOBaHE nn 3aDnpuHa HdBnHexIeCeTAcH, CUYNBaanHa enMeHTN nn Dpyr cCTOHNH, KOHO MOrat
da ce OTPa3rHa pa6oTaHa eNeKtpuecknnaHcTpyment.B clyaaha nobpeda eNeKtpueecknHaHcTpyment Tpr6Ba da ce pemOHtnpa, npEa Da eN3noJ3Ba OTHOBO. PoIdIbPkaIte BcUKNBxOHNOTBOpn 3a OXJaDaIu Bb3dyux NcTnOtONaDlbu. IogJam b6po3NoJOnykuNc DeBjNxat Ha NoVa oNdoPbXkHa eNeKtpueeCKnTe INcHcTpymeHTn.
J)ИЗнолзВаиTe eIeKtpnuecknI INHCTpyMENT ИnpINHAДлEXHOCTNTE B CbOTBETCTBNEC Te3N INHCTpyKcIM, KaTO OTHTate pa6OTHNTe YCSIOBnI NECTBOTO Ha pa6OTATA,KoYTO Tp8Ba Da ce I3BbPm.ИЗнOL3Вa-Te ypeDa CamO Na DHeBHa CBETJIHa UNHa Do6Po I3KcYtBeHo OCBtLEHne.I3NoL3BaHETo Ha eIeKtpnuecknI INHCTpyMEnT 3a ONepaZIM,pa3JIuHnOT Te3N,3a KOnTO e IpeDHa3HaYeH,MOKeJa IOBedeI GoONACHN CuTyAaIM.
5)Подрьжкmaисхраненe
TexnueckoTo 06cnykBaHe Ha Baunna eJekeKTPnueckn INHCTpymEnT Tp8oBa Da ceM3BbPbWA OT KBaJINoΦuNpaHO JInCe, KaTOce N3NOI3BAT CaMo IeHTNuHn pe3epBHNqactn.ToBa 7pe rapaHTnpa 6e3OpacHocCTTaHaEJEKeTpncckn INHCTpymEnT.
-Полльржайт BCNUKи 6ОЛTOBE,ВИNTOBe n raй КДобpe 3aTeHATn,3aДа 6bДeTe CnrypHn,Че урдьт EВ 6e3OЯнсHo pa6OTHO CBCTOЯHne.
-3aMeHnTe n3HoCeHnTe nIIN IOBpeEnHuactnNo CbO6paKeHnHa 6e3OnaChoCT.
-ИЗползваitecamo opигиhalнpezeрвнич actи и пинадлесхости.
-PeIOBHO OrljEaIte TopbUcKaTa 3a OTnAbu. Ako TOp6NcKaTa 3a OTnAbu NOKa3Ba Prn3Haun Ha n3HOCBaHe IIN NOBpeNi, Tp8Ba Da Ra 3aMeHITe.
- CbxaHЯBaIte Ha xHaIHO n cyXO MrcTo, daJeU OT o6cera Ha deca. He cbxaHЯBaIte To3n ypeJHa OTKpnto.
PpeynpexkdeHna 3a 6e3oNaChocT npn pa60ta c dyxankata
-
Празд Вклочвае на урета наразовete orleн ha yuctbka.
OTCTpaHeTe BCnKu OTnAdbuN TbbpDn
PpeMeTn, KaTO KAmbHn, CTbKnla, XNuHa Np..
KoNTO MoRat Da pIKoUHpaT, Da Ce N3XbBpJr
HIN NO Dpyr HauH DA pNCHr HapaHBA-
HNA IN NOBpeDN Bnpocca Ha pa60ta.
Hnkora He nyckaTe ypeDa,6e3 da cTe noctabuHn Heo6xodmOTO 6OpdyBaHe. Korato ypeIbT Ue Ce H3No13Ba KaTo DyxaJa Ka, Tpb6aTa Ha dyxaKata BUnHar Tpr6Ba Da 6bJe MOHTnpaHa. H3No13BaIte Camo npepoPbYuAHTE PrnHaDJIeXHOctH, 3a Da npedeTbPaTIte TeneCHN HapaHraBaHn. -
He n3noI3BaIte duXaIkaT a B 6nI3OcT da 3aIaJIeHn Xpactn, orHnIua, MeCTa 3a 6ap6ekIO, 3a TIOTHOnyUSeHe n dp.
- Пи работа с Bavум винаги n3noJ3BaI-Te peMbka 3a paMo.
Taka BUNaHn Iue IMaTe KOHTpoJ HaI eJIeK-TPuYeCKN INCTpyMeHT.
-Пюоверяваite cheTo BXOIOBete 3a Bb3-dyx, KOJIЯHOBATA Tpb6a ИлвВakyyMHnTe Tpb6u, BUNHArnpn cnpn ypei nIpeKbCHaTa Bp3ka KbM eJeKtpo3axpaHbAheTO.
Подьржайе OTвориte 3а ВENTиалция n Трьби-te чicitи OT OTпадыци, KOUNTO може д се НатураNT И да ORPANHuaT Вьзdyшни notOK. He Изплэвайе урда, AkО Няков OT OTвориte My eЗakрИ. He Д氧нскайе наслагВаня OT прах, Мьх, KOCMи и другИ OTпадыци, KOUNTO могат да ORPANHuaT Вьзdyшни NOTOK.
3. MoHTax

ПРЕДУПЕХДЕНЕ: СпраиTeурEDAиИЗКЛЮЧВаTEуДьЖИТЕнЯ Kaбел, пда за OTваряTe KanakaHa BXODa 3a Вьздух Илду правиTe ONИТи 3a NOCTавяHe Илп ИЗВaxДанe Ha TpbБаТаHa duxAnkATAИл TpbБNTe 3a BaKyyM.
EneKtpomotopbT Tp6BaJa 6bJe CnpH, a IonaTknte Ha potopa Beue Ja He Ce BbptT, 3a Da ce N36berHe cepno3HO HapaHraBaHe OT BbptIuNTe Ce IonaTkN.
IocTaBHe Ha Tp6aTa Ha duXaKata:

1.Подравн electжлбоветаНтрьарази духалкота ① Cжлбовета НИЗХОДАн духалкота ②
2. TlaChHeTe Tpb6aTa Ha dYxaJIkata No n3XoJa Ha dYxaJIkata, DOKaTO UpaKHe Ha MrcTOTO cN; Tpb6aTa e oBe3OnaceHa KbM dYxaJIkata Upe3 ByToHa 3a OcBo6OxJDaBaHe Ha Tpb6aTa ③
3. 3a Na ɪЗbaʌnTe Tprb6aTa Ha ἀύχαλίKaTa, HaɪncHæte 6byToHa 3a OcBo6OxJaBaAne ③, KaT O cbʌeBpeMeHHO nɪdɒpNaTe Tprb6aTa.
3A6EIXKKA: Ako Tpb6bata Ha duxaIkaTHe e nocTaBeHa npabuHNO, nuCKaHTo Ha duxaIkaTtSe 6bJe ppeDoTbpaTeHO OT npedna3eH ppeKbCBAq.
IocTabHeHa Tpb6nte 3a Bakyym:

- OTbOpTe Kanaka Ha BxOda ④, KaTo OCbo6oJnte npyKHaTa ⑤, KaTo e NOKa3aHo, И n3IbPnaTe Harope NOMOuHaTa DpbKka 3a BaKayyM ⑥.

- Octabete npyknHata Da upaKHe B 3aHaT a DpbkKa Ha duXaJkata ⑦ . PpOBepTe daJIIN 3axpaHbaunr Ka6e ⑧ e Cbo6oJHO pa3nOJoxhen.

3A6EJIEXK4:Има 2Трби 3a BaKyUМ - Горна ⑨и Долна ⑩. Горна Трба e OKаЧЕн ha паHTA B eДИНЯ Краи n e OTPЗАHA дOKраи OT ДВаTA си Края. Горна Трба ce 3akpenBa KbM duXaIkaTа.ДOLHATA Tрба Има ИЗВNT Краи,КоИTO CE HACOVA KbM 3eMЯТа, KORATO CE ИЗПОЛЗВa BaKyUМ.ДOLHATA Tрба ce 3akpenBa KbM Горна.T
- 3a da 3akpenite doJHata Tpb6a 3a Bakyym ⑩ KbM rOpHaTa ⑨, Hau-Hanpei noDpaBHeTe ueBOBeTe Ha DBeTe Tpb6n. CJeI TOBa npTnCHeTe DBeTe Tpb6n eHa KbM npyra,doKaTo DOJHata Tpb6a HaNBJHO CE HameCTN B rOpHaTa Tpb6a.

4.Пoctabete NaHTATA ⑫Ha rohpata Tpb6a B Kykata ⑪OTДолнота CTpaHa Ha ypeda.
5. KaTo n3NoJ3BaTe 3eMra 3a onOpa (13), 3aBbPteTe DyxaIkaTa, DOKaTO Tpb6aTa UpaKHe B npyXnHInTe Ha npuNbPkaUInTe UnΦTOBe 14 Ha ypeJa.
3A6EJIEXK: Ako Tpb6nTe 3a BaKyym He ca nocTaBEN npabINHO, nyckaHTo Ha ypeJa 6bJe npedOTbpaTeHO OT npedna3en npekcbau.

"UpaKaBaHe"

3aKpenBaHe Ha Top6nUkata 3a Cb6npahe:
1.Подравн electжлобетeHaКоляноваТТьбa⑤СжлобетeHaИЗХODaHaДухалкata ②.
2.ТлacheteКоляноваТгьбапиЗхдаHaДухалкata,ДOKATO
ЧракнеHaМЯСТОТС;КOLЯноваТгьбаeOБЕЗOnaceHa
Чрз6уToHA3aOCBбoxДаваHeHaTgьбаТ ③.
3. 3aüπηte TopbnykaTa 15 3a cbbnpaHe KbMaJknte HaTophata 9 ndoJIHaTa Tpb6a 3a BaKyyM 10.
3A6ELEKKA: Ako KoJIAHObA Ta TpB6a He e nocTaBeHa npabuHIO, nuCKaHETo Ha ypeJa ige bJe npedOTbPaTeHO OT npedna3e HpeKbCBaY.

3aKpeBbHe Ha peMbKa 3a paMo:
3aДольнгелна устоньовс пи ИЗпОзВанeto Ha ypeda KaTO BAKyUM C HeRo CE DoCTABЯ n peMbK 3a paMo. 3akpenete peMbKa KbM ypeDa,прдЯда залоче работа с HeRo. KykaTa Tpr6Ba DA uшрakHe Na prindьржuaшя сиФТ ①
Ipeo6pa3ybaHe Ha ypea ot Bakyym 3a n3noJ3BaHe KaTo dYxJaKa:
- Cnpete ypea n npekbcheTe ydbJxntenHna Ka6eJ.
2.Изва对接е Колянова Трьба и Торбункata за сбираhe.
3.ИЗБАДЕТрьбИТезВakуМ,КATOOCBOБОДNTe npуЖинITE HaKanakaHaBXOДa 3aBakyyMи3aBbPITeKaNaka,IOKaTO TрьбИТe ceOCBOБОДЯТ OTnpуЖинITEHa npiNbbpXaUNTe 申nФTOBE. - 3aTbopeTe kanaKa Ha BxOda n Ce yBepTe, Ye e 3akJIIOueH ue3 npyJHHte.
- NocTabete OTHOBO Tpb6ata Ha duXaJIkata. Bx. NOCTABJHE HA TPhbATA HA DuXaJIkATA 3a INHCTpyKcun 3a 3akpenBahe Ha TO3n eIeMeHT.
3A6ELEKKA: Ako KaapanbTa Hn BxOJa He e 3aKJIoueH ue3 npyXHHte, nycKaHeTo Ha ypeDa Iue 6bIe npedOTBpaTeHO OT npedna3eH npekcbaY.
4. PABOTA

IPEyPExEHNe: He n3non3BaIte ypea 6e3 npabuHNo 3akpehenn Tpb6n nn TopoUka 3a cb6bpahe, 3a da He dOnpChete n3XbBpnaHe na OTnAbTu N/nn KOtAeTc pOToPA, KoTe OMOxe Da DOBeNe DO CepNO3HO HapAHBaHe. BuHn HocTe pBkABuCn nn 3nON3BaIte 3aUHTa 3a 3peHneTO, 3a da He dOnpyche Te JETaun BbB Bb3dYa uNn PNKOUIpaNN KambTe A Nn OTnAbTu Da IonoJadH B OHTe NIO NIO NIO ToBA MOKe Ja DOBede Do OCenPbHaHe Nl CepNo3Hn HapaHbAHa.
Ka6eIi:
Излзваисамокабелсразмерdo1,00mm²cMACImajnaдьжина40metpa.
3aДа спгете урета, поставете пьевковая теля вклочвае/ n3клочвае 20В поожене (0).
Pa60THN NOJIOKeHnI:

Pekim "dyaXaIka"
Korato ce n3noI3Ba KaTo dyXaJIka, ypeIbTe neoXoJaI 3a nOuHCTBaHe Ha OTpaIbIcI INIIN OTpIaHa TpeBa OT aIeN, TpoTOapN, IdbOpBE N dP., KaKTo n 3a n3DyXbaHe Ha OTpIaHa TpeBa, cIama IIN IInCTa Ha KynHIn, OTCTpaHЯBaHe Ha OTpaIbIcI OT bIIn, OKOJIo FOYn INI MEXdTyXJIte.
CperylnipaHToHaCKOpocTtMaMOKeTe Da yBéIuHabTe Nn HamaJIbAte CkOPOCTTa Ha eJekTpOMOTopa No BpeMe Ha pa60Ta CdyxaKata.YnpaBIABaTe B3dUyHnI NOtOK,KATO HAcOuBaTe Tpb6aTa Ha dYxaKATA NaDOny NnHnHacTpHa.
BnHa n pa6oTe He hactpaHn OT MacuBn IpEaMeTn KaTO CTeHn, rOJIeMn KAmbHn, aBTOMo6nIu IOrpaI.
bIInTe ce nouHCTBaT OTBbTpHe HaBbH. Taka ue ce n36eHHe HATpyINBAHe Ha OCTaTbU, KOITMO MoTaJa OTXBPbKHaT KbM IInceto BN. BHNMaBaIte, KOrato pa60tne B 6n3oCTdo pactehn. CInlata Ha Bb3dUwHnTa CTpy MoKe da nobpeDn KpxkInTe pactehn.

Pexum"BaKyym"
Korato ce n3noJ3Ba KaTo BaKyyM, ypeIbTe eoJxOJaU 3a Cb6npaHe Ha n3cbXHaI MaTePnA1 KaTo JInCTa, TpeBa, KIOHKn I napYe taXapTna.
3a ha-IO6pn pe3yItaTn npn n3noJI3BaHTo Ha BaKyyM, pa6oTeC ypeJa npn BnCOkN o6opOTn.
Движete ro 6abHо Ha3aIи Happe Bd Bbpxy MaTePnIa, KoITO 3acMyKbAte.ИЗБЯВaITE Da NOCTaBYe UpeJa Dbl60KO B Kyn OTNaIbU,Ты KaTO TaKa TOI MoKe Ja Ce 3aIpbCTN.
3a Na-IO6pnpezynTaTn,IpbXTe Tpb6aTa 3a BaKyym Ha OKOLO2,5cmHa nI3eMraT.

IPEyIeKJHHe: Ako ypeBt ce 3aDpBCTn, cnpeTe ro n ppeKbChte UybIJIKeJIHnKa6eI. N3quakaiTe, DOKATO potOpBT cnpe da CE BbptN i CneT TOBa I3BaIe Te Tpb6nte 3a BaKyM. BHIMATEJIHO BKapaIte Pbkata CN B OTBopa 3a BaKyM IN ONUCTe HATpyNAJInte Ce OTNaIbci.
Taka ige hamaJIte pUCKOBeTe OT npuINHbAhe Ha TelenCHn HapaHbAHn OTOTOPa.
5. CbXpaHne
CbxaheHne:
CbXpaHraBaIte ypea n3KJIIOueH OT MpexKaTn daJeU O6cera ha deua.
- Cnpete ypea n ro n3KIOUeTe OT eIeKtpo3axpaHbauata Mpeka.
- Octabete eJekTpOMToPA da ce oxlaDN, npeDN da npnbepTe ypeDa 3a cxbxpaHHe NIN da rTO TpaHCnOpTnpaTe.
- CbXpaHЯBaIte ypea c BCNUKn ppeJna3nteJN nocTaBeHIn. NocTabeTe ypea Ha TaKoBA MrcTo, Ye HrOBA OcTpa YacT da He MoKe Da npuHHN CJIyauHNO HapaHЯBaHe.
3aummaBaHe:
IoiDrTOBte UpeJa 3a CbXpaHHeNcIe 3aBbPbVABe Ha Ce3OHa IInA kO ToHЯMa Da ce N3PON3Ba 30 dHn INIn NOBce.
Ako ypeIbT Bn Tpr6Ba da ce npi6epe Ha cbxpaHne 3a onpeJeIen cpoK:
- Cnpete ypeda n ro n3KIOUHeTe OT eIeKtpo3axpaHbauata Mpexa.
2.Ппдпnpodьлжнтелносьхранени поочи-teецля урд. - OTbopete KaNaKa Ha BxOda n NouchTe TpeBaTa, 3aMbpcBaHnraT a NIOCTaTbCtNe, KOINTo Ca CE Hacb6paJIN. OrJeJaTe dYxaJIkata n BCNUKn TpB6N. 3aTbOpTe r npobepe TaI KanaKbTe 3aKJIuOyen.
- Използва对接 мека чека 3а поочистваши на OTворитес вен,在лался и BXODа 3a Вьздух OTOTпадын. He Използва对接 BOДа.
5.CbXpaHЯBaIte ypea n yIbJnxITeHnKa6eB DIObe npOBeTpRaBaHO pOcTpaHCTBO n, aKO e Bb3MOxHO, NOKpNT, 3a Da He IOnyChTe HaTpynBaHe Na pax N 3aMbpcBaHn. He NOKpBaIte ypea C pIactMacobn NOKpNTn. PIACTMaocBnTE NOKpNTn HE npONyCKaT Bb3dUx N MOrAT Da IO BOHdeH3aunN IOcNeDBAuO pbJxraCBAhe N KOPo3nI. - Побере Тцля урд 3а разлбени винтоve. 3amehete BCNUK NIOBpeHEN, ChyPEN HIN N3HOCEH YuactN.
7.ИЗbaTeTe Tpb6aTa(nte)3a no-лесHo cБханeHne.
Pn u3xBbprJHeTo Ha ypea:
(B CbOTBETCTBME cДиЕрТБИBA HA EC 2002/96/EC)

To3n ypeI He Tp86Ba Ia Ce n3xBbPJI 3aEJHO C O6nKHOBeHInTe 6nTOBn OTnabu.
ToT Tp86Ba Da Ce I3XBbPJI B CbOTBcTCTBHe C MeCTHITe pa3nOpEbn 3a ekOJOrOcbo6pa3HO I3XBbPJIrHe Ha OTnJaDbU.
6. NopdApbXka

PNEyPNEKDEHNE: Cnpete ypea n ppekbcHeTe yIbJIxuTeJIHHa Ka6eJ, npdeI da npedpneMaTe peryIinahe, cMaHa na npnHaIaeXHOCTn IJI deiHOCTn no NOdRpBxKaTa.
Te3n IpeBaHTNtBn MepKn 3a 6e30nacHcOCT HamaJIbAT PnCKOBeTe OT CnyauHo nyckaHe Ha eJNEKtpuYeCKnI NHCTpyMeHT.
PPEINBCRAYNLOTPE6A
Поберете заразхлабенификатори част:
IopdbpkaTe BCNUKn 6oJTOBe, BINTOBe n raIKn Do6pe 3aTeHnatn, 3a Da 6bJeTe CnryPn, Ye ypeDbE B 6e3oNaCHO pa60THo CbCTOHaHe. PpOBepaBte DaJIIN BCNUKn qactn Ca cTIObeHn npabUJIHO.
- Kanak Ha BXOda
Tpb6aHa dyxaIkaTa
Tp6n3aBakyyM - Topbnyka 3a csbipahe
Поберете за по breastn Иин ИЗносян част:
O6bPheTe Ce KbM yNbJIHOMOueH cepBn3 3a 3amHa Ha NOBpeDEHNTe INIIN N3HOCEHN YactN.
- П repвклioчbaTe 3a ВклioчBaHe/N3KlIOUhaHe - YbepeTe ce, ye npврьклioчbaTeЯ 3a ВклioчBaHe/N3KlIOUhaBe e N3npaBeH, kaTo ro nocTaBnTe B noLoXeHne N3KJI. YbepeTe ce, ye eIeKtpOMOTOpbTe cnpra; cNeI TOBa rno yChete OTHOBO n npoDbJIxKeTe.
- Kanak Ha BxOa - Ako kanakbHa BxOa He MoXe Da ce 3akIIOvBa npabUNHO nnAko e NOBpeH, npeKbCHete N3NoJ3BaHETo Ha ypeA.
CJIED BCRAKAYNOTPE6A
Поверяваиные постваиныеураи ectкente:
CneB CbKa ynoTpe6a npOBepBaIte ype3a pa3xJa6eHn IIN IOBpeHn YactN. POnCTBaIte ypeA c BLnXHa KbPna.
- ɪəsʌbɒpcaɪte ypeədɑ cʌnctə cyxa kɒpna.
Почистваши Торбункata 3 a сбширанe:
BAXKHO: TOP6NUHKATA 3A Cb6NPAHE TPR6BA DA CE U3PNA3BA IO6PE.
Tp6BaJa n3npa3BaTe Do6pe n Da npDlbpxaTe TOp6uKaTa 3a Cb6puHaNE B Do6po CbCToHHe, 3a Da npEoTbpaTnTe N3HOC- BaHTo N OrpaHnUaHBe H A B3dUshnI NOtOK.
- I3BaJdaIe TOp6UHkata 3a Cb6bIpaHe OT ypeJa I n H3npa3BaIte CJIeD BCaKO H3NoJI3BaHe. He np6bIpaIe TOp6UHkata 3a CbXpaHHe, IpEi Da CTe Y H3PpA3HnLIIN OT cJrIoTo N cbIbPxHnE (TpeBa, JInCTa I np.).
- I3nnpaTe Top6uKata BeDnBx roDnUHO. I3BaJeTe Top6uKata OT duXaJIkata n o6bPheTe C liueBaTa CTpaHa HabbTpe. I3nepeTe Top6uKata .C nOmoTu Ha Mapky. Okaete J HabbH n o octaBeTe Da n3cbxHe HaIbJIHo, ppeDu Ja n3noJ3-Bate OTHOBO.

IPEyIpeKJEHNE: Ako ypeBt ce 3aDpBCTn, cnpTe ro n ppeKbCHeTe ydbJIknteJIHHa Ka6eJ. N3aKaaiTe, DOKaTO poTOpBT cnpe da ce BbPTn I cIeT TOBa n3BaJeTe Tpb6nte 3a BaKyyM. BHNMaTeJIHO BkapaTe pKaTa Cn B OTbopa 3a BaKyyM n IOuNCteTe HATpyNaJInte ce OTnaDbuN.
Taka ige HamaJInte pUCKOBeTe OT npUChnHApaHbHaNr OTO potopa.
N3BaXdaHe Ha npEaMeT OT BXoHnY OTBOp 3a Bb3dYx:
1.ИЗbaDETeТрБиTe 3a BaKyyM.
2. BhimateJHO BkapaTepKaTa CN B OTBopa 3a BaKyym I noHCTeTe yHaCTbKa 3a HABIn3aHe Ha Bb3dYx. IooHCTeTe BCnKn OTnAbbUn OT potopa.
3.OrledaIte poTopa 3a eBentyaJIHn HanyKBaHnIA.Ko nO hero
Ima HanyKBaHnI INIO NobpeNi,He N3NOJ3BaIte ypeJa.
Yactnte Tpr6Ba Da ce 3aMeHrT OT YpJIbHOMOuE Hen cepBn3.
He ce ONITBaIte Da rN 3aMeHrTe CamOCTOJTeJIHO.
7. OTeTpaHЯBaHe Ha npo6JIeMn

ПРЕДУПЕХДЕНЕ: Виharу спраite урда и прексайт eудлжгелня Кабл, п徳да Изпьлгаве прорьчанITE NO-ДOLу KokeKTINBн DeiCTBn, сИЗКЛЮЧЕнe Ha KokeKUHNTe, KONTO ИЗИСКВaT ypeEbT da pa6OTn.
EneKtpomotopbT Tp86Ba Da 6BJe CnpH, a IOnaTKnTe Ha potOpa BeYe da He Ce BbPTaT, 3a Da ce n36eRHe cepno3HO HapaHraBaHe OT BbPTaTnTe Ce IOnaTKn.
| HEN3ПРABHOCCT | ВьзMOЖHA ПИЧИHA | KOPEKTIBHО ДЕICTВЕ |
| Урémonг не павOTи. | 1.Превкlioчbatелей в поло- жение икlioчelines (0). | 1.Превес Artepe prевкlioча- тугя в положениe Вкlioчelines (I). |
| 2.Ydьлжителниот кабел e пекьсат. | 2.Cвьрхete OTНОВу удьлжи- туня кабел. | |
| 3.Превкьсвачт на сенькове- ската Верига се изкlioчelines или певпaitelя систоргел. | 3.Заменete prевпазителя или Вкlioчete OTНОВO пекьсвача на ВеригаТa. | |
| 4.Tрьбата на духалкata, Коляновatable Трьба и/nii Трьбата за Вakум се са правилно монтирани. | 4.Прobерete каса moHTирани ТрьбITE. | |
| 5.Topбунчата за сьбиранe e nbЛнa. | 5.NзпраЗнete Topбунчата за сьбиранe. | |
| 6.Mexaнчна Ненизправнocct. | 6.OБьрнete ce КьМ Ваши ульл"HOMOшЕСерВИЗ. | |
| Урémonг Вибрип рosity пимобочаен начinn. | 1.Mexaнчна Ненизправнocct | 1.OБьрнete ce КьМ Ваши ульл"HOMOшЕСерВИЗ. |
| Potopьг не сьврtni свобODио. | 1.B усан'tka 3a habлиизе на Вьздухиima OTпадыци. | 1.Pочис Arteуда. OTстра- нete BCИЧКИ OTпадыци. |
| 2.Mexaнчна Ненизправнocct. | 2.OБьрнete ce КьМ Ваши ульл"HOMOшЕСерВИЗ. |

3a BcKaKbN dpyrH HeN3npabHocTn Ce 06bpHeTe KbM cepBn3Hn oTdeHa GARDENA. PemOHNTe Tpr6Ba Da ce N3BbPWBat cepBn3Hn OToJeHa GARDENA nIu OT cneuaJIIN3npaHn cepBn3n, yIbJIHOMOseHn ot GARDENA.
- Texhnueckn cneuФнkaци
| Еlektrомотор - eheprotonotpeблие | 3000 W maкc. |
| Нарlexене на мрека}); | 220 - 240 V |
| Чecтоа | 50 Hz |
| ПOTOK на вakумиранe | 170 l/s |
| СьOTHOSEнe Ha paэпьсвае | 16:1 |
| Сkopocт на Издунванe | мак. 310 km/h |
| Тergло на духалкata/вakума | мак. 4,5 kg |
| Вмостимост на topбчката за OTпадыц | 45 l |
| Ниво на радиосмучения | 82,6 dB(A), КрA: 3,0 dB(A) |
| Ниво нашил MWA2) | Измервае 99 dB(A) / rapаNTирано 102 dB(A) |
| Вибрацни на далпта/рькatinga vhw1) | 3,92 ms2, K: 1,5 ms2 |
9. Texhnuecko 06cnykBahe/rapaHczna
Tapaun:
Фирma GARDENA Дава 3a тозnpodykT 2 roДин rapaцья (OT дтата на пдажб).Това rapaионно obслужвае ce OTHACЯ BCINCHСьшпстveи DeфкгпHa ypeDA, KOMTO MОжда се дokakxe, Ze ca npuHneHи OT rpeSHA B MaTepruaIaNII npOIN3BODCTBEHa rpeSHA. ГаранцIHHOTo obcIyЖBaHe ce OCSbUeCTBЯ NOcpeIdCTBOM ppeIOCTaBHyETo Ha n3PpAbeH ypeD nIi 6e3ПЯteH peMOHT nHaaw n3BOp, aKo Ca cIeJdNITe YCNOBIA:
- YpeIbTe 6bnI n3nOJI3BaH npaBUNHO IN CbOTBETCTBNE C npenOpbknte B INHCTpyKUmaTa 3a EKcNlOaTau.
- He e npabeh onnt ot kynybaa nii TpeTo Iiue da 6bnde peMOHTnpanh ypeJa.
Tp6bata Ha duxaJIkata N Tp6bnte 3a BaKyyM nOJnIeXaT Ha n3HOCBaHe N He CE nOKPnBAT OT rapaHcIyra.
Ta3n rapaHcna Ha npOu3BOUnteHa Ce OTHac 3a CbIeCTByBaUNTe H3NCKBaHnNo rapaHcUNOHHTO 06ClyXbaHe Ha TbproBeua/npoDaBaHa.
Molra, B clyaH na rapaHcnoHHO6cIyXbaHe n3npateTe 3a Haa CMeTKa NOBpeHnYpei 3aeHNO C KOIIe OT KACOBATA 6JIeJka N OINCAHne Ha NOBpeJaTa, Ha aDpeCa Ha cepBn3HaTa 0mpMa IN3PiSCan Ha O6paTHaTcTpHa.
GARDENA ErgoJet 3000 (EJ3000)

Pörkthim i manualit original tě pērdorimit nga gjuha angleze.
Ju lutemi lexoni me kujdes udhézimet e pērdorimit dhe věrni shěnimet e dhěna. Me ndihmén e kětyre udhézimeve tě pērdorimit, familjarizohuni me produktin, pērdorimin e tij tě sakté dhe udhézimet e siguríse.

ПростаяИнструкция