Ergojet 3000 - Aspirador soprador GARDENA - Manual de utilização gratuito
Encontre gratuitamente o manual do aparelho Ergojet 3000 GARDENA em formato PDF.
Perguntas dos utilizadores sobre Ergojet 3000 GARDENA
0 pergunta sobre este aparelho. Responda às que conhece ou faça a sua.
Faça uma nova pergunta sobre este aparelho
Baixe as instruções para o seu Aspirador soprador em formato PDF gratuitamente! Encontre o seu manual Ergojet 3000 - GARDENA e retome o controlo do seu dispositivo eletrónico. Nesta página estão publicados todos os documentos necessários para a utilização do seu dispositivo. Ergojet 3000 da marca GARDENA.
MANUAL DE UTILIZADOR Ergojet 3000 GARDENA
Tradução do manual de instruções original em ingês.
Leia atentamente o manual de instruções e respeite as notas dadas. Utilize este manual de instruções para se familiarizar com o produits, a sua utilização correcta e as instruções de segurarça.

Por razões de segurar, crianças e jovens com menos de 16 anos, bem como pessoas que não esteyam familiarizadas com este manual de instruções, não pode usar este produto. Pessoas com capacidades ficas ou mentalis reduzidas podem usar o produto apenas se forens supervisionadas ou instruções por uma和个人a responsavel.
Conteudo:
Guarde este manual de instruções num local seguro.
- Área de aplicação do seu GARDENA ErgoJet 3000. 128
- Instruções de segurança 129
3.Montagem. 133 - Funcionamento 135
- Armazenagem 137
6.Manutenção 138 - Resolucao de avarias 139
- Dados技术和 140
9.Assistencia/garantia. 140

1. Área de aplicação do seu GARDENA ErgoJet 3000
Utilização correcta como soprador:
O GARDENA ErgoJet 3000 é adequado para ser uso como soprador para varrer detritos ou aparas de erva de ruas, passeios, pátios, etc. e para jintar aparas de erva, palha ou folhas em montes ou retirar detritos dos cantos, de volta das juntas ou de entre tijolos.
Utilização correcta como aspirador:
O GARDENA ErgoJet 3000 é adequado para ser uso como aspirador para apanhar materiais secs, tais como folhas, relva,��enos ramos e padações de papel.
PERIGO! Risco de ferimentos!

Este produto pode ser perigoso se não for uso correto-mente. Siga os avisos e as instruções de segurarça para garantir uma segurarça e eficácia aceitáveis quando utilizes o produto. O operador é responsavel pelo cumprimento das instruções e avisos que se encontrar no produits e no manual. Nunca utilize o produto se as proteções foramecidas pelo fornecedor não estiverem na posição correcta.
2. Instruções de segurança
Observe as instruções de segurarça no ErgoJet 3000.

AVISO:Esta máquina pode ser perigosa! Uma'utilisation impropria ou descuidada pode provocar ferimentos graves.

Desligue! Retire a ficha da corrente antes de afinar, limpar ou se o cabo estiver entalado ou danificado.

Leiacretuidosamenteas instruções deutilização para secerticulardeque compreendeto dos os controlos e a função dedaca um.

Recomenda-se a utilização de proteção para os olhos e ouvidos.

Não exponha à chuva.
Não deixe o aparelho no exterior quando estiver a chover.

Mantenha terreiros afastados.
Avisos de segurarca gerais para ferramentas electricas

AVISO: Leia todos os avisos de segurar e todas as instruções.
O não cumprimento dos avisos e das instruções podem resultar emCHOque electrico, incendio /ou ferimentos graves.
Guarde todos os avisos e instruções para referencia futura. O termo "ferramento eletrica" nos avisos refere-se à ferramenta operada ligada à corrente (com fio).
1) Segança na area de trabalho
a) Este produit não pode ser realizado por pessoas (incluindo crianças) com deficiências fisicas, sensoriais ou mentalis, ou não com falta de experiência e acontecimentos, a menos que sejam supervisionadas ou recebam instrção relativamente à utilização do produits por uma pessoa responsavel pela respetiva segança. As crianças devem estar sob vigilência com o intuito de se garantir que as vezes não façam do produit um brinquedo. Os regulamentos locais poderão impor restrúções à idade do operador. Nunca permita que crianças ou pessoas que desconhecam estas instrções realizem o equipamento.
As ferramentas electrolyicas são perigosas nas mês de pessoas sem formação.
b) Mantenha crianças e terreiros afastados enquanto opera una ferramenta electrica.
As restracções podem originar a perda do controlo.
c) Nunca deixe a boaquina SOPRAR os detritos sobre os observadores.
O operador ou utiliser é responsable pelos acidentes ou perigos que possam afectar autres pessoas ou os seu's bens.
d) Mantenha a area de trabajo limpa e bem iluminada.
Áreas desorganizadas ou escuras atraem acidentes.
e) Não opere ferramentas electricas em ambientes explosivos, como está na presence de liquidos, gases ou poira inflamçavel.
As ferramentas electrolyticas criam faíscas que podem inflamar poeiras ou fumos.
a) A ficha da ferramenta électrique deve ser compativel com a tomada. Não modifique a ficha. Não utilize fchas adaptadoras com ferramentas electrolycas ligadas à terra.
Utilize apenas a voltagem de alimentacao AC indica na etiqueta de classificacao do produits. Em caso algo teme deve ser feita a ligationao a terra de qualquer peca do aparelho.
Fichas originaise tomadasspondentes reduzem orisco dechoqueelectrico.
Existe um maior risco deCHOque elctrico que o corpo estiver ligado a terra.
c) Não exponha as ferramentas electricas à chuva e à humidade.
A entrada de agua numa ferramenta electrica aumenta o risco deCHOque electrico.
d) Não utilize o cabo de forma abusiva. Nunca use o cabo para transporte, puxar ou deslugar a ferramenta eletrica. Mantenha o cabo afastado de fontes de calor, oleo,arestas vivas ou peças em movimento. Antes deutilizar,verifique se o cabo apresenta danos.Substitua o cabo perante indicios de danos ou desgaste. Não use a maquina se os cabos electricos estiverem danificados ou desgastados.So o cabo eletrico se cortar ou se a isolação se danificar desluge immediamente da electricida. Não toque no cabo eletrico até que esteja desligado da electricidade. Não repar um cabo danificado, substitua-o.
Cabos danificados ou emaranhados augmentam o risco deCHOque electrico.
e) O cabo来电crico tem de estar.desenrolado.
Os cabos enrolados podem sobraquecer e reduzir a eficiência do aparelho. Enrole sempre o cabo cuidadosamente, evitando torque-lo.
f) quando operar uma ferramenta eletrica no exterior, utilize um cabo de extensão adequado para utilizesão no exterior, equipao com uma uniao de acordo com a CEI 60320-2-3. A utilizaao de um cabo adequado para utilizesao no exterior reduz o risco deCHOque eletrico.
g) Se não for possível fazer a utilização da ferramenta electrica num local humido, utilize a alimentação de energia protegida por um dispositalo de corrente residual (RCD). Para a utilização de apareiros mover os ar livre, recomenismos a instalação de um disjuntor de corrente de defeito com uma corrente de avaria ≤ 30mA . Mesmo com um dispositalo de corrente residual instalado não épossível garantir 100% de seguranca, devendo adoptar-se sempre prácticas de trabalho seguras. Verifique o seu dispositalo de corrente residual sempre que o utilizes. A utilização de um RCD reduz o risco dechoque electrico.
3) Segurarça pessoal
a) Mantenha-se alerta, tenha atençao ao que faz e use do senso comum quando operar uma ferramenta eletrica. Não utilize umaferramentaleletrica se estivercansado ou sob a influencia de droga,alcool ou medicamente.Uma falta de atençao durante a operacao de umaferramentaleletrica pode originar ferimentos graves.
b) Use equipoamento de proteção pessoal. Utilize sempre proteções para
os olhos e para os ouvidos. Para fazer que a poeira cause irritação, recomenda-se usar uma máscara facial.
Equipamento de proteção, como óculos de proteção, proteção auditiva, mascar, calculado de segurar antiderrapante ou capacete, uso nas condições correctas reduzem a correência de ferimentos.
c) Evite o arranque accidental. Certifique-se de que o interruptor se encontrar na posicao desligada antes de ligar a ferramenta à fonte de energia, de a apanhar ou de a transporte.
O transporte de ferramentas électricas com o dedo no interruptor ou ligar ferramentas électricas à但现在e électrica com o interruptor ligado atrai acidentes.
d) Não se estique. Mantenha sempre a estabilitadé e o equilibrio. Em declíves, equilibre-se com cuidado e use calçado antiderrapante. quandoURTAR a relva não recue, pode tropeçar.Caminhe,nunca corra. Não utilize escaças quando estiver a operar o aparelho.
Isso permite um melhor controlo da ferramenta eletrica em situacoes inesperadas.
e) Vista-se adequamente. Utilize sempre vestuário adequado, luvas e sapatos resistentes. Não use roupa larga ou joias. Mantenha o cabelo, roupa e luvas afastados de peças em movimento.
Roupa larga, joias e célico comprido podem ser apanhados pelas peças em movimento.
4) Utilização eeguardidas com a ferramenta eletrica
a) Utilize o produit apenas do modo e para as funções descritas nestas instruções. Passe sempre o cabo pela parte deTRS, afastado do aparelho. Não force a ferramenta eletrica. Utilize a ferramenta eletrica correcta para a sua aplicação.
A ferramenta eletrica correcta travahta melhor e de forma mais segura ao ritmo para o qual foi concebida.
b) Verifique sempre se o Triturador de Folhas ErgoJetunga com segurarca antes de o utilizear. Não utilize a ferramenta eletrica se esta não puder ser ligada ou desligada pelo interruptor. Saiba como desligar o produto rapidamente em caso de emergência.
Qualquer ferramenta eletrica que não possa ser controlada pelo interruptor é perigosa e tem de ser reparada.
c) O impulsor continua a rodar(before do aparelho ter sido desligado.
O motor deve estar parado e a lâmina do impulsor não deve estar a rodar, para evitar ferimentos graves provocados pelas lâminas em movimento.
d) Desligue da alimentacao de corrente eletrica:
-antes de retiring ou substituir o saco de residuosmo ntado;
- antes de deleiar o produits sem vigilência durante algo um tempo;
- antes de eliminar uma obstruição;
- antes de efectuar a verificacao, limpeza ou travaños no aparecido;
- se o produitscomedaravibrarde forma anomal.Verifique imeditamente.
Uma vibração excessiva pode provocar ferimentos.
- antes de passar o aparecido para outras pessoas.
e) Guarde as ferramentas eletricas nao usadas fora do alcance das crianças e nao permita que pessoas nao familiarizadas com a ferramenta ou com estas instruções operem a ferramenta eletrica.
As ferramentas electrolyicas são perigosas nas mês de pessoas sem formação.
f) Faça a manutenção às ferramentas electricas. Verifique se está desalinhamento ou ligation de peças moveris, peças partidas ou qualquer窗外 condição que possa afectar a operação da ferramenta electrica.
Se a ferramenta electrica estiver danificada,
mande-a reparar antes de a utiliser.
Mantenha todos os orificios de entrada de ar sem detritos.
Muito acidentes são causados por ferramentas electrolyticas com ma manutenção.
g) Utilize a ferramenta eletrica e os acessórios de acordo com estas instruções, tendo em consideração as condições de trabalho e找工作 a ser effectuado. Utilize-a sempre à luz do dia ou com uma boa luz artificial.
Autilização da ferramenta eletrica para operações differsentes das previstas podem resultar numa situação perigosa.
5) Manutenção e armazenamento
Mande a sua ferramenta eletrica ser reparada apenas por um专业技术o qualicoar utilizes apenas peças de substituicao identicas.
Isso irá garantir que a segurarca da ferramenta electrica é mantida.
- Mantenha porcas, pernos e parafudos apertados, para ter a certeza de que o produits está em condições de trabalho com segurar.
- Para maior segurarca, substitua as peças gastas ou danificadas.
- Utilize apenas acessórios e peças originais.
- Inspeccione regularamente o saco de resíduos. Substitua o saco de resíduos se estiver gasto ou danificado.
- Guarde num local fresco, seco e fora do alcance das crianças. Não guarde o aparecido no exterior.
Avisos de segurarca do soprador
- Inspecciona a area antes de utiliser aquina.
Retire todos os detritos e objectos rígidos, tais como pedras, vidros, arames, etc., que possam fazer ricochete, ser atirados ou, de qualquer modo, provocar ferimentos ou danos durante o funciona.
- Nunca opere a boaquina sem o equipoamento adequado ligado.
Quando utilizar a这其中 como soprador, instale sempre um tubo de sopr.
Utilize apenas acessórios recomendados para evaporar ferimentos.
- Não utilize o soprador perto de queimadas de folhas ou arbustos, lareiras, grelhadores, cinzeiros, etc.
Autilização adequada do soprador evita a propaganda de incéndios.
- Nunca coloque objectos no interior dos tubos de sopro; dirección sempre os detritos para longe de pessoas, animais, vidro e objectos solidos, tais como árvores, automóveis, paredes, etc.
A forca do ar pode fazer com que pedras, sujidade ou ramos sejam projectados ou façam ricochete, o que pode provocar ferimentos em pessoas ou animais, partir vidros ou causar outros danos.
- Nunca utilize para espalhar produits químicos, fertilizantes ou quaisquer autres substâncias.
Isso irá evaporar a dispersão de materiais tóxicos.
Avisos de seguranca do aspirador
- Pare o motor e deslgue o cabo de extensão antes de partir a porta de entrada de ar ou de tentar inserir ou retiring os tubos de aspiração.
O motor deve estar parado e as láminas do impulsor não devem estar a rodar, para evitar ferimentos graves provocados pelas láminas em movimento.
- Inspecciona aareaantesdeutilizaramaquina.
Objectos duros poder ser arremessados pelosaco de recolha ouPGA caixae tornarem-seprojecteis perigosos,que poder provocar ferimentos graves no operador e em terreiros.
- Não aspire pedras, gravilha metal, vidro parte, etc.
Autilização adequada da boaquina reduz a possibíldade de ferimentos e/ou danos na boaquina.
- Não tente"Aspirarágua ou outros liquidos.
A entrada de agua ou autres liquidos numa ferramenta electricaurrenta o risco deCHOqueelectrico.
- Nunca opere a boaquina sem o equipamento adequado ligado.
Quando utilizar a这其中 como aspirador, instale sempre tubos de aspiração e o saco de recolha. Certificque-se de que o saco de recolha está Completely fechado quando a这其中 esolverim em funçãoamento para evaporar o lançamento de detritos para o ar. Utilize apenas acessórios recomendados.
- Não aspire fósforos, charutos, cigarros ou cinza de lareiras, grelhadores, fogueiras, etc.
Evite situacoes que possam incendiar o saco de recolha. Para evaporar propagar incendios, não use proximo de queimadas, lareiras, barbecues, cinzeiros, etc.
- Utilize sempre a faixa de tiracolo quando estiver a aspirar.
Isso irá ajudar a manter o controlo da ferramentae léctrica.
- Verifique as entradas de ar, o tubo de cotovo e os tubos de aspiração regularmente e sempre com a区管委会 parada e a fonte de alimentação desligada.
Mantenha as grelavas de ventilacao e os tubos livres de detritos que possam acumular-se e limitar um fluxo de ar adequado. Não utilize com uma abertura obstruira. Mantenha as abertas livres de po, cotao,@cabelos ou qualquer material que possa reduzir o fluxo de ar.
3. Montagem

AVISO: Pare a boa e desluge o cabo de extensão antes de Abrir a tampa de entrada ou tentar instalar ou retiring o tubo de sopro ou os tubos de aspiração.
O motor deve estar parado e as lâminas do impulsor não devem estar a rodar, para evitar ferimentos graves provocados pelas lâminas em movimento.
Instalar o tubo de sopro:

- Alinne as estrias do tubo de sopro ① com as estrias na saía do soprador ②.
- Introduza o tubo de sopro na saía do SOPrador até encaixar no lugar; o tubo é fixo ao SOPrador atraves do botão de libertação do tubo ③.
- Parautar o tubo de sopro, prima o botao de libertacao do tubo ③ ao mesmo tempo que puxo o tubo.
NOTA: O interruptor de seguranca evita que o aparelho arranque se o tubo de sopro não estiver instalado correctamente.
Instalar os tubos de aspiracao:

- Abra a tampa de entrada ④ soltando o trinco ⑤ e puxando pela pega auxiliar do aspirador ⑥.

- Deixe que o trinco entange na pega traseira do soprador ⑦. Certifique-se de que o cabo de alimentacao ⑧ não fica preso.

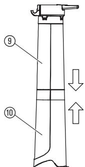
NOTA: Existem 2 tubos de aspiração, um superior e outros inferior. O tubo superior tem uma dobrada e ganchos numa extremidade é está cortado a direito em ambas as extremidades. O tubo superior é ligado ao soprador. O tubo inferior tem uma extremidade curva que é apontada para o chão durante a utilização do aspirador. O tubo inferior é ligado ao tubo superior.
- Para ligar o tubo de aspiração inferior ⑩ ao tubo de aspiração superior ⑨ , alinne primeiro as costuras nos dois tubos. De seguida, encaixe os dois tubos até que o tubo inferior fique totalmente assente no tubo superior.

- Coloque a dobradiça ⑫ do tubo superior no gancho ⑪ no lado inferior do aparelho.
- Usando o chão como suporte 13, rode o soprador até que engate nos trincos dos suportes de retenção 14 do soprador.
NOTA: O interruptor de segurarça evita que o aparecido arranque se os tubos de aspiração não estiverem instaladoscorrectamente.
"Engate"

Fixar o saco de recolha:

- Alinne as estrias do tubo de cotovelo ⑤ com as estrias da saía no soprador ②.
- Empurre o tubo de cotovelo na saída do soprador até encaixar no lugar; o tubo de cotovelo é fixo atraves do botão de libertação do tubo ③.
- Prenda o saco de recolha ⑥ aos olhais nos tubos de aspiração superior ⑨ e inferior ⑩.
NOTA: O interruptor de segurarca evita que o aparelho arranque se o tubo de cotovelo não estiver instalado correctamente.
Fixar a faixa de tiracolo:

Para所提供 extra quando usar o aparecido como aspirador, é fornecida uma faixa de tiracolo juntamente com o aparecido. Fixe a faixa ao aparecido antes de usar. Engate o gancho no retentor ⑰.
- Pare a boaina e deslgue o cabo de extensao.
- Retire o tubo de cotovelo e o saco de recolha.
- Retire os tubos de aspiração, soltando o trinco na tampa de entrada de aspiração e rodando a tampa até os tubos se soltarem dos trincos dos suportes de retenção.
- Fecha a tampa de entrada e certifique-se de que o trinco está fechado.
- Volte a instalar o tubo de SOPRO. Consulte INSTALAR O TUBO DE SOPRO para obter informações sobre a instalacao esta peça.
NOTA: O interruptor de segurarca evita que o aparelho arranque se a tampa de entrada não estiver truncada correctamente.
4. Funcimiento

AVISO: Não utilize a boaquina sem os tubos ou o saco de recolha devidamente ligados, para evitar que os detritos voem e/ou o contacto com o propulsor, que podecausearferimentos graves.Use sempre luvas e oculos de protecao para evitarque pedras ou detritos sejam projectados ou façam ricochete para os olhos e o rosto, o que podeprovocacegueira ou ferimentos graves.
Cabos:
Utilize apenas cabos de 1,00 mm² com um comprimento máximo até 40 metros.
Classificacao maxima:
Cabo de 1,00 mm²
3000 W
Os cabos de alimentação e de extensão está disponible no seu centro de assistência aprovado. Utilize aspenas cabos de extensão especificamente concebidos para uso no exterior.
Ligar a boa - fecho do cabo/cabos de extensions:
Enrole o cabo de extensao 18 e insira-o no fecho do cabo 19.
Isto evita que o cabo se desligue acidentalmente.
A seguir, ligue-o ao cabo de alimentacao.


Iniciar o coprador:

Posições de trabalho:


Ligarosoprador:
Desloque o interruptor ON/OFF 20 para a posicao ON (I) para ligar a mascara.
NOTA: É possívelacularo reduzir a velocidade do motor com o controlo de velocidade variavel 21.
CUIDADO: Para evitar Causear danos na boa, utilize o controlo de velocidade variavel apenas no modo de SOPRO.
NÃO tente usar o controle de velocidade variavel em modo de aspiração. Velocidas baixas durante o modo de aspiração podem fazer acumulação de detritos, parar o motor e fazer falhas na区管委会.
Desligar o soprador:
Para parar a boaquina, desloque o interruptor ON/OFF 20 para a posicao OFF (0).
Modo de sopro
Use o controlo de velocidade variavel paraLERarou reduzir a velocidade do motor durante autilização como soprador.
Trabalhe sempre longe de objectos solidos, tais como cercas, pedras grandes, veículos eVEDações.
Limpe os cantos Comingando nos cantos e deslocando-se para fora. Isto ajuda a fazer a acumulacao de detritos que podem voar para o rosto. Tenha cuidado ao fazer perto de plantas. A forca do ar pode danificar as plantas fragens.
Modo de aspiração
Utilize a sua boaquina como aspirador para apanhar materiais secs, tais como folhas, relva,PEGOs ramos e pedacoes de papel.
Para melhores resultados durante a utilização como aspirador, opere a boaquina a alta velocidade.
Desloque-se lentamente para trás e para a frrente sobre os materiais à medida que aspira. Evite forçar a máquina num monte de detritos, poi pode obstruir a mesma.
Para obter melhores resultados, mantenha o tubo de aspiraçãoberra de 2,5 cm acima do chão.

AVISO: Se a boa facar obstruira, pare-a e deslque o cabo de extensao. Espere ate que o propulsor pare completeness, depos retire os tubos de aspiracao. Alcance cuidadosamente a abertura de aspiracao e remove os detritos que estao a obstruir a passagem.
Isto reduz a possibidade de ferimentos provocados pelo propulsor.
5. Armazenamento
Armazenamento:
Garde a boaquina desligada, fora do alcance das crianças.
- Pare a máquina e deslige a ficha da tomada.
- Deixe arrefecer o motor antes de armazenar ou transporte a boaquina.
- Armazene a boaquina com todas as proteções montadas. Coloque a boaquina de modo que nenhum objecto cortante possa fazer ferimentos acidentalmente.
Armazenagem no inverno:
Prepare a boa para ser armazenada no final de cada estação ou se não for realizada durante 30 dias ou mais.
Se o seu soprador for armazenado durante algo um tempo:
- Pare a这其中, deslige a ficha da tomada.
- Limpe toda a这其中 de um armazenamento prolongado.
- Abra a tampa de entrada e limpe sujidade, relva ou detritos que se tenham acumulado. Verifique o soprador e todos os tubos. Fecha e verifique se a tampa está bem fechada.
- Use uma escova macia para limpar os detritos das grelias de ventilação e a entrada de ar. Não utilize água.
- Guarde a boaquina e o cabo de extensão num local bem ventilado e cubra-a se possível, para fazer a acumulação de pô e sujidade. Não cubra com um plácico. O plácico não respira e pode provocar condensação e, eventualmente, ferrugem e corrosão.
- Verifique se a boa quina tem algo parafuso solto. Substitua as peças danificadas, gastas ou partidas.
- Retire o(s) tubo(s) para facilitar o armazenamento.
Eliminação:
(de accordo com a directiva
europeia 2002/96/CE)

Este aparecido não pode ser eliminado juntamente com
o lixo domestico normal.
Tem de ser eliminado de acordo com os regulamentos ambientais locais.
6. Manutenção

AVISO: Pare a boa e desluge o cabo de extensao antes de efectuar quaisquer ajustes, alterar accesorios ou efectuar a manutencao.
Estas medidas de segurancapreventivas reduzem o risco de a ferramenta eletrica arrancar acidentalmente.
ANTES DE CADA UTILIZACAO
Verifique se existem fechos ou peças soltas:
Mantenha porcas, pernos e parafusos apertados, para ter a certeza de que o produits está em condições de trabalho com segurarça. Certifique-se de que todas as peças está montadascorrectamente.
- Tampa de entrada
- Tubo de sopro
- Tubos de aspiração
- Saco de recolha
#
Verifique se existem peças danificadas ou gastas:
Contacte o centro de assistencia autorizo para a substituicao das peças gastas ou danificadas.
- Interruptor ON/OFF - Verifique se o interruptor funciona correctamente, deslocando-o para a posicao OFF. Certificque-se de que o motor para; depuis, reinicio o motor e continue.
- Tampa de entrada - Interrompa o uso da区内 se verificar que a tampa não fecha devidamente ou está danificada.
APós CADA UTILIZAZão
Inspeccione e limpe a maquina e as etiquetas:
- Ao'scadautilizacao,verifie se a maquina aparea peças soltas ou danificadas.Limpe a maquina com um pano humido.
- Esfregue amaids com um pano seco e limpo.
Limpe o saco de recolha:
IMPORTANT: O SACO DE RECOLHA DEVE SER DEVIDAMENTEESVAZI ADO.
- Esvazie completeness o saco de recolha e proceeda a sua manutenção, para fazer que se deteriore ou obstrua o fluxo de ar.
- Retire o saco de recolha da区内a e esvazie-o antes cada uso. Nao guarde o saco sem esvaziar todo o seu conteudo (relva, folhas, etc.).
- Lave o saco uma vez por ano. Retire o saco do soprador e vire-o do avesso. Lave o saco com uma mangueira. Deixe o saco pendurado até fazer completeness antes de voltar autilizar.

AVISO: Se a boa ficar obstruira, pare-a e deslgue o cabo de extensão. Espere até que o propulsor pare completeness, depuis retire os tubos de aspiração. Alcance cuidadosamente a abertura de aspiração e remove os detritos que está a obstruar a passagem.
Isto reduz a possibidade de ferimentos provocados pelo propulsor.
Como retirar um objecto da entrada de ar:
- Retire os tubos de aspiração.
- Alcancecretuidosamenteaaberturaadeaspiracaoedesobstrua a entrada de ar.Limpe todos os detritosdo propulsor.
- Verifique se existem fendas no propulsor. Se estiver rachado ou danificado, não utilize a boaquina. Para a substituicao de peças dirija-se ao centro de assistencia autorizzato. Não tente substituía-las pessoalmente.
7. Resolução de avarias

AVISO: Pare sempre a boa, e desluge o cabo de extension antes de efectuar os procedimentos recomendados a seguir, excepto os procedimentos que necessitem que a boa está a funcir.
O motor deve estar parado e as lâminas do impulsor não devem estar a rodar, para evaporar ferimentos graves provocados pelas lâminas em movimento.
| Problema | Possível causa | Solução |
| Aáriaquina não funciona. | 1. Interruption na posicao OFF (0). | 1. Desloque o interruptor para a posicao ON (I). |
| 2. Cabo de extensão desligado. | 2. Volte a ligar o cabo de extensão. | |
| 3. Disjuntor automatico activado ou fusível queimado. | 3. Reponha o disjuntor ou o fusível. | |
| 4. Tubo de SOPRO, tubo de cotovelo e/ou tubo de aspiração não instaladoscorrectamente. | 4. Verificque a instalação dos tubos. | |
| 5. O saco de recolha está cheio. | 5. Esvazie o saco de recolha. | |
| 6. Falha mecânia. | 6. Contace o centro de assistência técnica local. | |
| Aáriaquina vibra de formaanormal. | 1. Falha mecânia | 1. Contace o centro deassistência técnica local. |
| O propulsor não rodalivelmente. | 1. Detritos na area de entrada de ar. | 1. Limpe aáriaquina. Retire osdetritos. |
| 2. Falha mecânia. | 2. Contace o centro deassistência técnica local. |

Para outras falhas contacte o departamento de assistencia的技术ica GARDENA. As reparacoes devem ser executadas pelo departamento de assistencia和技术ica GARDENA ou por&Tecnicos autorizados pela GARDENA.
8. Dados tíncinos
| Motor - Consumo de energia | 3000 W max. |
| Tensão de alimentação | 220 – 240 V |
| Frequência | 50 Hz |
| Fluxo de vázuo | 170 l/s |
| Relação de trituração | 16:1 |
| Veloculdade de sobro | Máx. 310 km/h |
| Peso soprador/aspirador | Máx. 4,5 kg |
| Capacidade do saco de resíduos | 45 l |
| Consoante o local de trabalho Nível de pressão sonora | 82,6 dB(A), KpA: 3,0 dB(A) |
| Nível de ruido LWA2) | Medido 99 dB(A) / garantido 102 dB(A) |
| Vibração não/braço avhwa1) | 3,92 ms2, K: 1,5 ms2 |
9. Assistência/Garantia
Garantia:
Os tratados de assistência executados sob garantia são Gratis.
A GARDENA garanté este produit durante 2 anos (a conta da data de aquisicao).Esta garantia cobre essencialmente todos os defeitos do aparecido que se provem ser devido ao material ou falhas de fabricio. Dento da garantia nos trocaremos ou reparamos o aparecido gratamente se as seguentes condições tiverem sido cumpridas:
- O aparecido foi utilizado de uma forma correcta e segundo os conselhos do manual de instruções.
- Nunca o proprietário, nem um terreiro, estranho aos serviços GARDENA, tentou reparar o aparelho.
O tubo de sopro e os tubos de aspiração são peças de desgaste e não está cobertos por esta garantia.
Esta garantia do fabricante não afecta as existentes queixas de garantia contra o agente/vendedor.
Em caso de avariadeervaenviar oaparelhodefeituoso.
Junto com o talao de compra e uma descricao da avaria, para a morada indica no verso.
GARDENA ErgoJet 3000 (EJ3000)

ApaieoanavtkeiEvou ano Tnv Eiaaywyn aepa:
1.ApaieoTe Touc oWAnvEc avappOpnnpa.
2. TOnoTeTnOte npoEeKtikA to Xepi oac OTo avoiyma Tou avappo- ptnpa kai anokataoTnOte TmV eppaEn OmTv nepiox nC Eioa-ywync aepa.AIOuakpuve OEla ta unolaemuata ano tnFTEpWtn.
3.ELeyEe Tn 0epwn yia pwyue. Eav exi payo n unootei Znua, u npnoaonoiite T movaba.Avaote Tnv avtikataota on twv Eapntmuatwotov Eouaoobto mevo avtipoowo oepBic.Mnv eixiepnoeT va ta avtikataoTnoe TmoVoaC.
Husqvarna do Brasil Ltda
Av. Francisco Matarazzo,
1400-19° andar
São Paulo - SP
CEP:05001-903
Tel: 0800-112252
marketing.br.husqvarna@
husqvarna.com.br
Bulgaria
XyckbapHa BblrapanEOO
Byn. Andpen Jnneb" N 72
1799 Cofn
Ten.: (+359) 02/9753076
www.husqvarna.bg
Canada/USA
GARDENA Canada Ltd.
100 Summerlea Road
ManualFácil