Ergojet 3000 - Vacuum blower GARDENA - Free user manual and instructions
Find the device manual for free Ergojet 3000 GARDENA in PDF.
User questions about Ergojet 3000 GARDENA
0 question about this device. Answer the ones you know or ask your own.
Ask a new question about this device
Download the instructions for your Vacuum blower in PDF format for free! Find your manual Ergojet 3000 - GARDENA and take your electronic device back in hand. On this page are published all the documents necessary for the use of your device. Ergojet 3000 by GARDENA.
USER MANUAL Ergojet 3000 GARDENA
These are the original English operating instructions.
Please read the operating instructions carefully and observe the notes given. Use these operating instructions to familiarise yourself with the product, the proper use and the safety instructions.

For safety reasons, children and young people under the age of 16, as well as people not familiar with these operating instructions, may not use this product. Persons with reduced physical or mental abilities may use the product only if they are supervised or instructed by a responsible person.
Contents:
Keep these operating instructions in a safe place.
- Area of application of your GARDENA ErgoJet 3000 (EJ3000) 16
- Safety instructions 17
- Assembly 20
- Operation 22
- Storage 24
6.Maintenance. 25 - Troubleshooting 26
- Technical data. 27
- Service / warranty. 27
1. Area of application of your GARDENA ErgoJet 3000 (EJ3000)
Proper use as blower:
The GARDENA ErgoJet 3000 (EJ3000) is suitable when used as a blower for sweeping debris or grass clippings from driveways, sidewalks, patios, etc. and for blowing grass clippings, straw, or leaves into piles, or removing debris from corners, around joints, or between bricks.
Proper use as vacuum:
The GARDENA ErgoJet 3000 (EJ3000) is suitable when used as a vacuum for picking up dry material such as leaves, grass, small twigs, and bits of paper.
DANGER! Risk of injury!

If not used properly this product can be dangerous. The warnings and safety instructions must be followed to ensure reasonable safety and efficiency in using this product. The operator is responsible for following the warnings and instructions in this manual and on the product. Never use the product unless the guards provided by the manufacturer are in the correct position.
Please note the safety instructions on the ErgoJet 3000 (EJ3000).

WARNING: This unit can be dangerous! Careless or improper use can cause serious injury.

Read the user instructions carefully to make sure you understand all of the controls and what they do.

Do not expose to rain.
Do not leave the product outdoors while it is raining.

Switch off! Remove plug from mains before adjusting, cleaning or if cable is entangled or damaged.

The use of eye and ear protection is recommended.

Keep bystanders away.
General Power Tool SafetyWarnings

WARNING: Read all safety warnings and all instructions.
Failure to follow the warnings and instructions may result in electric shock, fire and/or serious injury.
Save all warning and instructions for future reference. The term "power tool" in the warnings refers to your mains operated (corded) power tool.
1) Work area safety
a) This product is not intended for use by persons (including children) with reduced physical, sensory or mental capabilities, or lack of experience and knowledge, unless they have been given supervision or instruction concerning the use of the product by a person responsible for their safety. Children should be supervised to ensure that they do not play with the product. Local regulations may restrict the age of the operator. Never allow children or people unfamiliar with these instructions to use the product. Power tools are dangerous in the hands of untrained users.
b) Never operate the product while people, especially children, or pets are nearby. Distractions can cause you to lose control.
c) Never blow debris in the direction of bystanders. The operator or user is responsible for accidents or hazards occurring to other people or their property.
d) Keep work area clean and well lit. Cluttered or dark areas invite accidents.
e) Do not operate power tools in explosive atmospheres, such as in the presence of flammable liquids, gases or dust.
Power tools create sparks which may ignite the dust or fumes.
2) Electrical safety
a) Power tool plugs must match the outlet. Never modify the plug in any way. Do not use any adaptor plugs with earthed (grounded) power tools. Use only on AC mains supply voltage shown on the product rating label. Unmodified plugs and matching outlets will reduce risk of electric shock.
b) Avoid body contact with earthed or grounded surfaces, such as pipes, radiators, ranges and refrigerators.
There is an increased risk of electric shock if your body is earthed or grounded.
c) Do not expose power tools to rain or wet conditions. Water entering a power tool will increase the risk electric shock.
d) Do not abuse the cord. Never use the cord for carrying, pulling or unplugging the power tool. Keep cord away from heat, oil, sharp edges or moving parts. Before use, examine cord for damage. Replace cord if there are signs of damage or ageing. Do not use the product if the cord is damaged or worn. Immediately disconnect from the mains electricity supply if the cord is cut, or the insulation is damaged. Do not touch the electric cord until the electrical supply has been disconnected. Do not repair a cut or damaged cord. Replace it with a new one. Damaged or entangled cords increase the risk of electric shock.
e) The electric cord must be uncoiled.
Coiled cord can overheat and reduce the efficiency of the product. Always wind cord carefully, avoiding kinks.
f) When operating a power tool outdoors, use an extension cord suitable for outdoor use fitted with a coupler according to IEC 60320-2-3. Use of a cord suitable for outdoor use reduces the risk of electric shock.
g) If operating a power tool in a damp location is unavoidable, use a residual current device (RCD) protected supply with a tripping current of not more than 30mA . Even with a RCD installed, 100% safety cannot be guaranteed and safe working practices must be followed at all times. Check your RCD every time you use your product. Use of an RCD reduces the risk of electric shock.
3) Personal safety
a) Stay alert, watch what you are doing and use common sense when operating a power tool. Do not use a power tool while you are tired or under the influence of drugs, alcohol or medication. A moment of inattention while operating power tools may result in serious personal injury.
b) Use personal protective equipment. Always wear eye protection and hearing protection. To prevent dust irritation, the use of a dust mask is recommended.
Protective equipment such as eye protection, hearing protection, dust mask, nonskid safety shoes, or hard hat used for appropriate conditions will reduce personal injuries.
c) Prevent unintentional starting. Ensure the switch is in the off position before connecting to power source, picking up or carrying the tool. Carrying power tools with your finger on the switch or energising power tools that have the switch on invites accidents.
d) Do not overreach. Keep proper footing and balance at all times. On slopes, be extra careful and wear non-slip footwear. Do not walk backwards while operating your product. Walk, never run. Do not use ladders while operating the product.
This enables better control of the power tool in unexpected situations.
e) Dress properly. Always wear suitable clothing, gloves, and stout shoes. Do not wear loose clothing or jewellery. Keep your hair, clothing and gloves away from moving parts. Loose clothes, jewellery or long hair can be caught in moving parts.
4) Power tool use and care
a) Only use the product in the manner and for the functions described in these instructions. Always direct the cord to the rear, away from the product. Do not force the power tool. Use the correct power tool for your application. The correct power tool will do the job better and safer at the rate for which it was designed.
b) Always make sure your product is in a safe operating condition before use. Do not use the power tool if the switch does not turn it on and off. Know how to stop the product quickly in an emergency. Any power tool that cannot be controlled with the switch is dangerous and must be repaired.
c) The impeller continues to rotate after your product has been switched off.
The motor must be stopped and the impeller blade no longer turning to avoid serious injury from the rotating blades.
d) Disconnect the plug from the power source:
- before removing or replacing fully assembled debris bag;
- before leaving the product unattended for any period;
- before clearing a blockage;
- before checking, cleaning or working on the appliance;
- if the product starts to vibrate abnormally. Check immediately. Excessive vibration can cause injury.
before passing to another person.
e) Store idle power tools out of the reach of children and do not allow persons unfamiliar with the power tool or these instructions to operate the power tool. Power tools are dangerous in the hands of untrained users.
f) Maintain power tools. Check for misalignment or binding of moving parts, breakage of parts and any other condition that may affect the power tool's operation. If damaged, have the power tool repaired before use. Keep all cooling air inlets clear of debris.
Many accidents are caused by poorly maintained power tools.
g) Use the power tool and accessories in accordance with these instructions, taking into account the working conditions and the work to be performed. Use the product only in daylight or good artificial light.
Use of the power tool for operations different from those intended could result in a hazardous situation.
5) Maintenance and storage
Have your power tool serviced by a qualified repair person using only identical replacement parts. This will ensure that the safety of the power tool is maintained.
- Keep all nuts, bolts and screws tight to be sure the product is in a safe working condition.
- Replace worn or damaged parts for safety.
- Use only genuine replacement parts and accessories.
- Inspect the debris bag regularly. If the debris bag becomes worn or damaged, replace.
- Store in a cool dry place and out of reach of children. Do not store outdoors.
Blower safety warnings
- Inspect the area before using the unit. Remove all debris and hard objects such as rocks, glass, wire, etc., that can ricochet, be thrown, or otherwise cause injury or damage during operation.
- Never run the unit without the proper equipment attached.
When used as a blower, always install a blower tube. Use only recommended attachments to prevent personal injury.
- Do not use blower near leaf or brush fires, fireplaces, barbecue pits, ashtrays, etc. Proper use of the blower will help avoid spreadingf ire.
- Never place objects inside the blower tubes; always direct the blowing debris away from people, animals, glass, and solid objects such as trees, automobiles, walls, etc. The force of air can cause rocks, dirt, or sticks to be thrown or to ricochet which can hurt people or animals, break glass, or cause other damage.
- Never use for spreading chemicals, fertilizers, or any other substances. This will prevent the spreading of toxic materials.
Vacuum safety warnings
- Stop the motor and disconnect the extension cord before opening the air inlet door or attempting to insert or remove the vacuum tubes.
The motor must be stopped and the impeller blades no longer turning to avoid serious injury from the rotating blades.
-
Inspect the area before using the unit. Hard objects can be thrown through the collection bag or the housing and become dangerous missiles which can cause serious injury to the operator or others.
-
Do not vacuum stones, gravel, metal, broken glass, etc. Proper use of the unit will reduce possible personal injury and/or damage to the unit.
- Do not attempt to vacuum water or other liquids. Water or other liquids entering a power tool will increase the risk of electric shock.
- Never run the unit without the proper equipmenta ttached. When used as a vacuum, always install vacuum tubes and collection bag assembly. Make sure the collection bag assembly is completely zipped when unit is running to avoid flying debris. Use only recommended attachments.
- Do not vacuum discarded matches, cigars, cigarettes, or ash from fireplaces, barbecue pits, brush piles, etc. Avoid situations which could set the collection bag on fire. To avoid spreading fire, do not use blower near leaf or brush fires, fireplaces, barbecue pits, ashtrays, etc.
Always use the shoulder strap when vacuuming. This will help maintain control of the power tool. - Check air intake openings, elbow tube, and vacuum tubes frequently, always with the unit stopped and the power source disconnected. Keep vents and tubes free of debris which can accumulate and restrict proper air flow. Do not use with any opening blocked. Keep free of dust, lint, hair and anything that may reduce air flow.

WARNING: Stop the unit and unplug the extension cord before opening the inlet cover or attempting to install or remove the blower tube or vacuum tubes.
The motor must be stopped and the impeller blades no longer turning to avoid serious injury from the rotating blades.
Fitting the blower tube:

- Align the grooves on the blower tube ① with the grooves on the blower outlet ②.
- Push the blower tube onto the blower outlet until it snaps into place; tube is secured to blower by tube release button ③.
- To remove the blower tube, press the tube release button ③ while pulling on tube.
NOTE: A safety switch will prevent the unit from starting if the blower tube is not installed correctly.
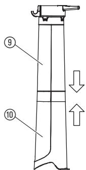
Fitting the vacuum tubes:

- Open the inlet cover ④ by releasing the latch ⑤ as shown and pulling up on the vacuum assist handle ⑥.

- Allow latch to snap into rear handle of blower ⑦ Ensure mains cable ⑧ remains free.

NOTE: There are 2 vacuum tubes, an upper tube (9) and a lower tube (10).
The upper tube has a hinge and hooks on one end and is cut straight on both ends. The upper tube attaches to the blower unit. The lower tube has a curved end that you point toward the ground during vacuum use. The lower tube attaches to the upper tube.
- To attach the lower vacuum tube to the upper vacuum tube ⑨ , first align the seams of the two tubes.
Then, press the two tubes together until the lower tube is fully seated in the upper tube.

- Place the hinge ② of the upper tube into the hook ⑪ on the bottom side of the unit.
- Using the ground for support ⑬ , pivot the blower unit until tube snaps into the latches of the retaining posts ⑭ on the blower unit.
NOTE: A safety switch will prevent the unit from starting if the vacuum tubes are not installed correctly.

Attaching the collection bag:

- Align the grooves on the elbow tube (5) with the grooves on the blower outlet (2).
- Push the elbow tube onto the blower outlet until it snaps into place; elbow tube is secured by tube release button ③.
- Clip the collection bag ⑥ to the loops on the upper vacuum tube ⑨ and lower vacuum tube ⑩ .
NOTE: A safety switch will prevent the unit from starting if the elbow tube is not installed correctly.
Attaching the shoulder strap:

For extra support when using your unit as a vacuum, a shoulder strap is included with your unit. Attach the strap to the unit before operation. Snap the hook onto the retainer ⑰.
- Stop unit and unplug the extension cord.
- Remove the elbow tube and collection bag.
- Remove the vacuum tubes by releasing the latch on the vacuum inlet cover and rotating the cover until the tubes are released from the latches of the retaining posts.
- Close the inlet cover and make sure it is latched closed.
- Re-install the blower tube. Refer to FITTING THE BLOWER TUBE for instructions on how to attach this item.
NOTE: A safety switch will prevent the unit from starting if the inlet cover is not latched closed.
4. Operation

WARNING: Do not use the unit without the tubes or collection bag properly attached to avoid flying debris and/or impeller contact which can cause serious injury. Always wear gloves and use eye protection to prevent rocks or debris from being blown or ricocheting into the eyes and face which can result in blindness or serious injury.
Cables:
Use only 1.00mm^2 size cable up to 40 metres length maximum.
Maximum rating:
1.00mm² size cable
3000 W
Mains cables and extensions are available from your local approved service centre. Only use extension cables specifically designed for outdoor use.
Connecting the unit - cable lock/extension cables:
Loop the extension cable 18 and insert it into the cable lock 19.
This prevents unintentional separation of the electrical connection. Then connect it to the mains cable.


Starting the blower:

Working positions:


Switching the blower on:
Move the ON/OFF switch ② to the ON (I) position to turn on the unit.
NOTE: The motor speed can be increased or decreased by using the variable speed control (21).
CAUTION: To avoid causing damage to the unit, only use the variable speed control in blow mode. DO NOT attempt to use the variable speed control in vacuum mode. Lower speeds during vacuum use could allow debris to build up, stall the motor and cause unit failure.
Switching the blower off:
To stop the unit, move the ON/OFF switch 20 to the OFF (0) position.
Blow mode
Use your unit as a blower for sweeping debris or grass clippings from driveways, sidewalks, patios, etc. Also, for blowing grass clippings, straw, or leaves into piles, or removing debris from corners, around joints, or between bricks.
Use the variable speed control to increase or decrease the motor speed during blower use. Direct air flow by directing the blower tube down or to one side.
Always work away from solid objects such as walks, large stones, vehicles, and fences.
Clean corners by starting in corners and moving outward. This will help prevent an accumulation of debris which could fly into your face. Be careful when working near plants. The force of the air could damage tender plants.
Vacuum mode
Use your unit as a vacuum to pick up dry material such as leaves, grass, small twigs, and bits of paper.
For best results during vacuum use, operate your unit at high speed.
Move slowly back and forth over the material as you vacuum.
Avoid forcing the unit into a pile of debris as this can clog the unit.
Keep the vacuum tube about an inch above the ground for best results.

WARNING: If the unit becomes clogged, stop the unit and unplug the extension cord. Wait until the impeller has completely stopped turning, then remove the vacuum tubes. Carefully reach into the vacuum opening and clear out the clogged debris.
This will reduce possible personal injury from the impeller.
Storage:
Store unit unplugged, well out of the reach of children.
- Stop unit and disconnect from the mains electricity supply.
- Allow motor to cool before storing or transporting.
- Store unit with all guards in place. Position unit so that any sharp object cannot accidentally cause injury.
Extended storage:
Prepare unit for storage at the end of the season or if it will not be used for 30 days or more.
If your blower is to be stored for a period of time:
- Stop unit and disconnect from the mains electricity supply.
- Clean the entire unit before lengthy storage.
- Open inlet cover and clean any dirt, grass, or debris that has collected. Inspect the blower and all tubes. Close and make sure the cover is latched.
- Use a soft brush to clean air vents and air inlet of debris. Do not use water.
- Store your unit and extension cord in a well ventilated area and covered, if possible, to prevent dust and dirt accumulation. Do not cover with plastic. Plastic cannot breathe and may cause condensation and eventual rust or corrosion.
- Check entire unit for loose screws. Replace any damaged, worn, or broken parts.
- Remove tube(s) for easier storage.
Disposal:
(in accordance with
EU-directive 2002/96/EC)

This product must not be added to normal household waste.
It must be disposed of in line with local environmental regulations.
6. Maintenance

WARNING: Stop the unit and disconnect the plug from the power source before making any adjustments, changing accessories, or performing maintenance.
Such preventive safety measures reduce the risk of starting the power tool accidentally.
BEFORE EACH USE
Check for loose fasteners and parts:
Keep all nuts, bolts and screws tight to be sure the product is in a safe working condition. Be sure all parts are assembled properly.
- Inlet Cover
Blower Tube
Vacuum Tubes
Collection Bag
Check for damaged or worn parts:
Contact your authorized service dealer for replacement of damaged or worn parts.
- ON/OFF Switch - Ensure switch functions properly by moving the switch to the OFF position. Make sure motor stops; then restart motor and continue.
- Inlet Cover - Discontinue use of unit if inlet cover fails to latch properly or if it is damaged in any way.
AFTER EACH USE
Inspect and clean unit and labels:
- After each use, inspect complete unit for loose or damaged parts. Clean the unit using a damp cloth.
- Wipe off unit with a clean dry cloth.
Clean collection bag:
IMPORTANT: THE COLLECTION BAG MUST BE PROPERLY EMPTIED.
- You must properly empty and maintain the collection bag to avoid deterioration and obstruction of air flow.
- Remove the collection bag from the unit and empty after each use. Do not store bag without emptying the bag of all contents (grass, leaves, etc.).
- Wash the bag once a year. Remove the bag from the blower and turn the bag inside out. Wash the bag with a water hose. Allow the bag to hang and dry completely before you reuse the bag.
Removing an object from the air intake:
- Remove the vacuum tubes.
- Carefully reach into the vacuum opening and clear out the air intake area. Clear all debris from impeller.
- Inspect the impeller for cracks. If cracked or damaged, do not use the unit. Have parts replaced by your authorized service dealer. Do not attempt to replace them yourself.
7. Troubleshooting

WARNING: Always stop unit and unplug the extension cord before performing all of the recommended remedies below except remedies that require unit to be operating.
The motor must be stopped and the impeller blades no longer turning to avoid serious injury from the rotating blades.
| Problem | Possible cause | Remedy |
| Unit fails to operate. | 1. Switch in the OFF (0) position. | 1. Slide switch to ON (l) position. |
| 2. Extension cord disconnected. | 2. Reconnect extension cord. | |
| 3. Circuit breaker tripped, or fuse blown. | 3. Reset circuit breaker or fuse. | |
| 4. Blower tube, elbow tube, and/or vacuum tube not installed correctly. | 4. Check tube installation. | |
| 5. Collection bag is full. | 5. Empty collection bag. | |
| 6. Mechanical failure. | 6. Contact your authorized serviced ealer. | |
| Unit vibrates abnormally. | 1. Mechanical failure. | 1. Contact your authorized serviced ealer. |
| Impeller will not turn freely. | 1. Debris in air intake area. | 1. Clean unit. Remove any debris. |
| 2. Mechanical failure. | 2. Contact your authorized service dealer. |

For any other malfunctions, please contact the GARDENA service department. Repairs must be carried out by GARDENA service departments or specialist dealers authorised by GARDENA.
8. Technical data
| Motor - power consumption | 3000 W max. |
| Mains voltage | 220 – 240 V |
| Frequency | 50 Hz |
| Vacuum flow | 170 l/s |
| Mulch ratio | 16:1 |
| Blow speed | Max. 310 km/h |
| Weight blower/vacuum | Max. 4,5 kg |
| Capacity of debris bag | 45 l |
| Sound pressure level | 82,6 dB(A), KpA: 3,0 dB(A) |
| Sound power level LwA2) | Measured 99 dB(A) / guaranteed 102 dB(A) |
| Hand/arm vibration avhw1) | 3,92 ms2, K: 1,5 ms2 |
品
9. Service/warranty
Warranty:
GARDENA guarantees this product for 2 years (from date of purchase). This guarantee covers all serious defects of the unit that can be proved to be material or manufacturing faults.
Under warranty we will either replace the unit or repair it free of charge if the following conditions apply:
- The unit must have been handled properly and in keeping with the requirements of the operating instructions.
- Neither the purchaser or a non-authorised third party have attempted to repair the unit.
The blower tube and vacuum tubes are wearing parts and are not covered by the guarantee.
This manufacturer's guarantee does not affect the user's existing warranty claims against the dealer/seller.
If you have any problems with this product, please contact our Service or return the defective unit together with a short description of the problem – in case of guarantee, with a copy of the receipt – postage paid to one of the GARDENA Service Centres listed on the back of this leaflet.
GARDENA ErgoJet 3000 (EJ3000)


a) Vær opmærksom, se after, hvad du laver, og brug din suntde fornuft, nár du anvender et eldrevet redskab. Brug违法犯罪 and the law of the law of the law of the law of the law of the law of the law of the law of the law of the law of the law of the law of the law of the law of the law of the law of the law of the law of the law of the law of the law of the law of the law of the law of the law of the law of the law of the law of the law of the law of the law of the law of the law of the law of
Sikkerhetsadvarsler for suger
Rengjor oppsamlingsposed:
VIKTIG: OPPSAMLINGSPOSEN MÅ TÖMMES SKIKKELIG.
Use a这其中 as you are.
Use a这其中 as you are.
Use a这其中 as you are.
Use a这其中 as you are.
Use a这其中 as you are.
BnMaTeIbHo IpoUHTaIte
HnCTpyKuIO NO kCpIyatauIN,
Noka He y6eIITcB I IOHIMAHNI
CnOCoBa IOnJIb3OBAHnRA BCEMI
OpraHAMn UynpaBLeHn INx
Ha3HaCeHnIA.

PekomehnyetcHaedeBaTb 3auntthbeOuKNnHayuHNKn.

He donyckaTe nonaandaHnnoIdoJb.He ocTabraTe n3dennHe yuNce BO BpemrdoKJa.

He donyckaIte npu-6JIxKeHnIPOCTOPOHnIX LIu.
O6uIe MepbI IpeIoCTOpOXHocTn pnpa6oTe C3JIeKtPOnHcTpymENTOM

PNEyPEXDEHNE:
IpouHTaTe Bce MepblpeDoCTOpOxHocTn INHCTpyKcun.
HecobloJeHne npedynpexdaIOuXuYka3aHnI INCTpyKlun MoKeT pInBeCTN K yDapy 3JIeKTPnueckm TOKOM, NOxApy N/IIr TJKeBIM TpaBMAM.
CoxpaHnte Ha 6yduuee Bce HnCTpykunn npdeynpejxden.
IcnoJIb3yEmbI B npEynpExeHnX TepMnH "3JekTpOuHnCTpyMeNT" OTHocntcK BaUeMy pa60taIoUeMOT cTeN 3JekTpOuHnCTpyMeHT (co UHypOM).
1) Be30nachoctb B MecTe pa60tbl
a) 3To n3dJIeNe He npEJaHa3HauYeHO nI INcNoJIb3OBAHnI IuIaMn (BkIIIOUyA JeTei C OrpaHnueHHbIMN Φn3NuCeckmN IIN yMCTBeHHbIMn CnOCo6HoCTaMn IIN C OrpaHnueHHoCnOCo6HoCTbIO BOCpNIaN, a TAKKe IInaAMn, He IMeEOUIMN ONbITa pa60tbc N3dJIeNm HcO3hAKOMNBUMNCra cero pa60ToJ, 3a NCKLIQUeHnEM Cnya-eB, KOrDa OHN HAXOJrTc NOd HA3OpOM IInuA, OTBeTCTBeHHoro 3a IN 6e3OnaChOCTb IIN NOLyuaTOT Yka3AHn, KACAIoUnece pa60tbc N3dJIeNm, OT 3TOrO IInuA. DeTn DOJXHBI HAXOJNTc NOd HA3OpOM, dJIr TOR, YTO6bI ObecneHTb, YTO OHN He IrpaIOT C n3dJIeNm. MeCThbIe 3aKOHbI MoryT ORpaHnUBaTb BO3pACT onepatoPA.
HnKOrda He no3B0JrTe NoIb3OBAtbcn 13JeJIeM DeTAM NIN IIOJAM,He 3NaKoMMBwIMcC 3TNMI INHCTpyKUmaN.
3JNeKtpOnHCTpyMeHTb BY pyKaX He OObyEHHbIX NOJIb3OBaTeJIe IpeIcTAbJIaOT OnaCHOCTb.
6) He donyckaTe npnbInxHnJeTei nIOCTOPOHnX LIu BO BpEmpa6Otbl 3JIeKtpONHcTpymEHa. OTbIeKaYCb, Bbl MOKeTe IOTepaTb ynpaBLeHne.
B) HnKoIa He BbIyBaIte Mycop B HappaJIeHHuTex, KTo Na6IIOJaET 3a BaWei pa60Toi. OpeaTOp IINI NOnb3OBeTeJIb Hecyt OTBeTCTBeHHOCTb 3a aBapNI IINI ONaChIe CHTyaUIn, YrPoKaIOUe,IpyIIM IIOJAM IIN INX IMUyIeCTBy.
r) MecTo pa60TbI DOJIxHO 6bITb YNCTbIM nXopoOIO OCEueHHbIM.
3aIrpOMOxJHnHnIINOTCYTCTBNEOCBeUeHNMOXKe TcTaTb npuHHo aBaapn.
YCTaHOBka BCacbIBaIOUxN Tpy60K:

- OTKpoIe KpbIuKy BCacbIbAIOUeIero OTBepCTnI ④ ,OTOMKHyB NOKa3aHHyIO Ha pNCyHKe 3aUeJIky ⑤ I NOTaHBy BBepx BCNOMORAteIbHyIO pyKoRtKY nbJIeCOca ⑥
- 3aüeJIka DoJIxHa 3aΦNcIpuOBaTbCBy 3aJHeI pyKoTKe BO3dYxoDyBKN ⑦. Y6eIITecb, YTO Ka6eIb IITaHnI ⑧ CBO6OJeH.

ПРИМЕЧАНЕ: BCaCbIBaIOUxN Tpy6Kn -ДBE: BepXHЯ ⑨
и НЖняя ⑩. Ha OДнOM KOнце BepXнeТ py6Kn ImEeTcSашнир
и КPIOKи, оба кONца ИмeIOT пreamосе. BepXнЯ Tpy6Ka
КрeпNTСК 6blOKу BO3dYoxOyBKN. KoHeц NIXнeТ py6Kn,
КOTOPь HANpABnIeTcSВ CSTOPHy 3eMЛN BO ВрЕм Pa6OTbl
пБЛЕСОСА, ИмeET KprIBOJIIneHnyIφOpMy. HIXHЯ Tpy6Ka
КрeпNTСК "ВерхнeТ py6Ke.
3.ДяТOrOУTO6bI npKpeNtB HxHIOBO BACsbIBAOuIyU Tpy6ky ⑩ K BepXHeI ⑨, ChaJaI COBMecTne 60pO3dkn DByx Tpy6ok.3aTeM CoeINHte C yCUnInem DBe Tpy6Kn POKa HxHЯ NOJIHOCTbIO He BOJTe B rHe3do BepXHeI.

KpenJeHne c6opHnka:

KpenneHne HnpeHoro peMHra:

- NaDéhenbte ŠaçHnр ⑫ BερXHeN Tpy6Kn Ha KpIok ⑪ Ha HnIXHeN Yactn yCtpoiCTBa.
- 06oOpnPte Bo3dyXoYbKy O 3eMnHO 13 n NobopaunBaIte ee Do fNkCaun Tpy6Kn 3aueJkAmn KpeJexKbIX 3JeMeHToB 14 BO3dyXoYbKIn.
IPIMMEAHNE: npedeoxpaHnTeJbHbI BbIKIOUoATEJIb He DoIpyCTNT BKJIOUeHIny UcTpoiCTBa, ECIN BCaCbIBaIOUne Tpy6Kn npabINbHO He yCTaHOBJIeHbl.
"UeJyok"

- CoBMeCTIte Na3bI Ha yroJIbHnke Tpy6bl C nlaAMn Ha BbIXoIHOM OTBepCTIN BO3dyXOyBKN ②.
2.3aBnHbTe yroJIbHnK Ha OTBepCTne BO3dyXoYbKn, POKa OH He 3aUeJIKHET B npAubIbHOM NIOJoxEHn; yroJIbHnK KpeINTCK BO3dyXoYbKE C NOMOUsbHO HaxOJaSeiCnHa HEM 6JoknpOBOCHN KHONK ③. - Пикpeniteсборнк 6КпETлм Ha Верхнeй ⑨ И НИХнeВсасьваIOUx Tpy6kax 10.
ПРИМЕЧАНЕ:праздохранHTeЛьнБи ВьКЛIOчATEЛь Н eДОуСТИNT BКЛIOчЕнЯ yCTpoIcTBA, eСЛN yГOLьнК He yCTaHOBJIEN npaBnJIbHO.
Bknouehne BO3dyxOyBkn:
Дятугоувь BKЛIOUHTb yCTpoIcTBO, nepeKJIIOUHTe BblKlIOUaTeIb ON/OFF (BKN/BlKIJI) ②В поженье BKIOUOhenr ON (I).
ПРИМЕЧАНЕ: ckopoctb pa60tbl MOTopa можно NOBblaTb IJIN CHNKAtB C NOMOJIbU peYJIrTOpa CKopoCTn ②.
OCTOPOXHO! Bo n36eJHne NOBpeJdeHn yCTpoiCTBa noJIb3yIteCB peYJrAToPOM cKOpOCTn TOJIbKO B peXJMe BO3dyXoDyBKn. HE npOn3BODInTe NOblTOK NOJIb3OBAtCBsPeYJrAToPOM cKOpOCTn B pEXnme PbJIeCoCA.CNHKeHne cKOpOCTn npIN CnIOB3OBAHN yCTpoiCTBa B KaueCTBe PbJIeCoCA MoXeT npINBeCTN K HAKONJIeHnIO MyCopa, OCTaHOBKE MOTOPa N HenpaBnJIbHoN pa60Te npINb6opa.
BbIKIOUeHHe BO3dYxOyBKn:
Дяпocтановский устюства поеклочи Te bblклочаTeJIb ON/OFF (ВКЛ/BblKЛ) ⑧ в положене bblклочени OFF (0).
Pa6ooye noIoxKeHne:

PeknB03dyxOyBKN
DaHHOE yCTpoIcTBO MOKET NcOJIb3OBAbTCB KauCtBE B03DyXoDyBKNДЛЯ CMeTAHN MyCopa N cKOUeHHO TpaBbl C pOe3dHbIX nTyTe, TpoTyapOB, Teppac n np., a TaKKe dJIb BbIyBaHnca KcOSeHHO TpaBbl, CeHa nIJI NcTbBL B KyuN IIn6O bYdaJIeHnMyCOPa n3 yrIOB, BOKpyr CTbIKOB nIIN MekJyKnPNIuHaMn.
Дяп NOвьшени Илснжени CSKOPoCTn pa6Otbl MToTop B pexmbe BO3dYxOyBKN CJIyXnT peYJrTOp CKOpOCTN. Дяп HanpaВlenien BO3dUshoro NOTOKa HanpaBJIrTe HarHeTaTeIbHyIO Tpy6ky BHN3 IIN B OdHy CTOpOHy.
Pa60TaTb CNeIyET BCErDa BdAJI N OT TBePdbIX OBeKeTOb, TaKINX KAK CTHebl, KpyNhbIe KaMHN, ABTOMOBnII IN 3a6Opbl.
HrCTky yrgIOB HUxHO HauHnHaTb N3HyTpN IN DBuRaTcBc HApKy. Tem cambIM npedOTBpaaetaCra HakaPnBaHne Mycopa, KOTOpbl moKet nnonactb Bam B IInO. Co6JIoudaIte octopoxhoctb npu pa6Ote pRdOM c pacteHHMn. Bo3dyuHbI nOTOK moKet noBpeDntb xpykne pactehna.

PexnM nblneocca
Данhoe yctpoIcTBо можET nCIOЛьЗОВаТьСВ КачEcTbe nblJIeOcoA ДЯ СбОа TAKOTO cyXOrO Mycopa,Κak ЛиСТВa, TpaBa,MeJKNe BETKИ NБуMaxнBLE OБpe3KN.
OnTImaJIbHna npOu3BOUnteJIbHOCTb B pexKIMe NblIeCOca DOCTnraetc, KOrJa yCtpoiCTBO pa6oTaet Ha BbICOKo CKOpocTn.
Pa60ta C nbIeCOCOM, MeIJIeHNO nepeMeaIeTcB HaI MyCOpom Ha3aI N BnpeIed. CtapaIteCb He HApBaBIArTB yCTpoIcTBO Ha KCyU MyCopa, TAK KaK 3TO MOKeT pInBeCTN K 3aKynOpKe.
ONACHOCT! Onachoct ot HapaHbahe!

Ako He ce n3noL3Ba npabuHNO, TO3n ypeJ MOKe da 6bJe OAnaceH. PpeDynpexDeHnra Tn HNCTpyKUnnte B TOBa pBKOBOCTBO Tp86Ba Da CE cna3BAt, 3a Da CE OcNpyr pa3ymHa 6eO3anachocT n eFekTNBHOCT npn i3no3BaHe Ha ypeDa. OneparOpBt Hocn OTROBOPHOCT 3a cna3BaHeto HA NHCPTpyKUnnte n peDeynpeXDeHnra Bbpxy ypeDa n B pBKOBOCTBTO. Hnkora He n3noL3baIte TO3n ypeD, aKO npdeJa3HnTe uToBE, DOCTabeHN OT npoN3BOdntEJI, HE Ca B NoCTaBeHN B npabuHIO To IM NOLOXHeIe.
2.Инструкци 3a 6e3onacnoCT
He n3laarIte ypeHa na IbXJd. He octabraIte ypeHa ha OTkpnto, KOraTo BaJIu IbXJd.

ИЗклочаи Te! ИЗваддуTe Шпсесла OT контakta, п dedи Да ИЗвршва Te peуларанe И почствае, ллн akо kaбелт e 3аплenteн ллл nobpeDEDn.

IpenopbUba ce da ce n3noJI3Ba 3aunTa 3a 3peHneTo n Clyxa.

He donyckaiaTe na6Iin3o cTpaHnUHn na6IIOdaTeJI.
O6u npdeynpekxdnna 3a 6e3oanchoct np na6oTa c eJeKtpueckn HnHcTpymEnTu

PNEyPEXKDEHNE: PpoyeTeBcNkMnHCTpyK- cunnnpdypejxdeHna 3a 6e3oNaCHOCT.
Hecna3BaHeTo Ha nHCTpyKuInTe HnHa npEynpexJeHnra 3a 6e3-ONaCHoCT MOKeJa IOBeJe IOTOKOB yIap, noXap n/nn cepuO3HN HapaHbAHn.
3ana3e BCnKu INHCTpyKcun N npedynpexdengna 3a 6e3onacnoct 3a 6bdeuni cnpabkn.
TepmnhT "eIeKtpnueckn IHCTpyment"B nppeDynpexdHnra Tce OTHacr 3a IHCTpyment, KOITo pa60tnc eIeKtpo3axpaHbaHe OT MpeJkata (4pe3 Ka6en).
1) 5e30nachoCT Ha pa6oTHn yuactbKa
a) To3n ypei He e npedha3naen 3a
H3noJ3BaHe OTE Iuca (BkI. Deua) C HamaJIeHN Hn3nueckn, Oce3aTeJIH NIIy UmCTBeHNI CNOcO6HOCTn HLI HA KONTO LInCBat ONIT N3HaHnra, OCBEN B CnyuAnTe, KORATo Te Ce
HAD3nPabAT HNI INCTpyKTnPapT O TLIuce, OTROBOPHO 3a T8XHATA 6e30nacOHT, pRi
H3noJ3BaHeTO Ha ypeA. Deuata Tp86Ba Da
CE Ha3nPabAT, 3a da CE rapaHTnpa, ye
HMA da CN nIgpaT C ypeA. MeCTHnTe pa3-
NopeDn Moje Da NoCTABT Bb3pactOBN
OrpauHneHn 3a pa6oTa C ypeA.
Hnkora He no3BoJRABte Ha deua NIIn Ha
Xopa, He3aNo3HaTu C Te3n INCTpyKUIN,
da H3noJ3BaT ypeA.
EneKtpnuecknte HNCTpymEnTu ca onaChn BpbTeHa HeONHTN NOTpe6nten.
6) Hnkora He pa6oTeTe c ypea, KOrato Na6IIm30 mMa dpyrN xopa, Deca nIIN DOMaUSHN XNBOTHN.
Ppna pa3ceuBaHe OTe TgXHa CTpaHa MoKe Da n3ry6bute ynpaBLeHneTo Ha ypeJa.
B) HnKora He n3dYBaIte OTnaIbIe no NOcOKa Ha cTOrIu BCtpaHn Iua.
OnepaTopbT NnN Notpe6nteIyHOCN OTROBOPHOCT 3a HeuactHN Cnyau Nn ONaCHOCTN 3aDpyrX Oopa Nn TExHOTo IMyIeCTBO.
r) Pa6OTHnT yAcTBk Tp86Ba da 6bJe uNCT n do6pe oCBetEn.
BHeocBteHn 3aPbCTeHn C nppeTCTBn yAcTbU MOxE Ja Bb3HNKHaT INCuIeHTN.
Д) He pa6oTeTe c eIeKtpuYeCKn uHcTpymeHTN BbB B3pNUBOONaHa Bb3dUsha CpeDa, HApP. Pn HAIuYne Ha 3aPaJIIMN TeuHOCTn, rA3OBe nI npax. Pn eIeKtpuYeCKnTE uHcTpyMeHTN CeCb3JaBa NCKpa, KOJTO MOKe Da Bb3PnAmEH npax aIIN I3npaEHnraTa.
2) EneKtpuyecka 6e30nacHocT a) ΜeNceJIte Ha eNeKtpuyecknTe INHcTpmyMeHTn Tp8Ba Da bBdAT BKJIOUeHN B CbOTBcETBaunm H3XoDN. HNKORA He MoDnΦIuPauTe ΜeNceJIte NO KaKbBTO n da 6HNo HauHH. He I3noJ3BaIte aIaIaTepHN ΜeNceLIc Bc3a3EmeHN eNeKtpuyeckn HNCTpyMeHTn. N3noJ3BaIte yPeDa cAmB e NeKtpuyecka Mpexa 3a npOMeHJIb TOK C HOMHaJIHO HAnpeXeHne KATO 0603aueHoTo HA eTNKeTa dAHHu HAypea. Pn HNKAKBn OBcTOaTeJCTBa 3a3EmITEJeH N3BOd HE Tp8Ba Da Ce CBbp3BA KbM HNKoY qACT OT To3n UpeD. HemOnfHUnpaHtE neCEJIu N CbOTBcTBAUzm IM N3XoDN lCe HAmaJIr pNCKOBeTe OT TKOB yIap.
6)Избгваite ДиpeКTeн KOHTaKT Ha TЯЛоTO cБc 3a3eMeHn NOBbpxHOCTN, KaTO HAnp. Tpb6n, paDnaTopu, rotBapCkn neuK n XlaDInHnU. Ako TЯЛоTO Bn OCb- UeCTBn KOHTaKT CbC 3a3eMeHa NOBbpxHOCT, CbIeCTByBa NOBuIeH pNCK OT TOKOK yДap.
B) He n3laarai Te eIeKtpnueckn HNCTpymeHT Na IbXn Nn Blara. Ako B TaKbE eIeKtpn-yeCKn INHCTpymeHT HaJIe3e BOJa, TRe IIOBnIu PNCKOBete OT TOKOB yIap.
r) He n3laaraiTe Ka6eHa Na CnIOBn Bb3-DeiCTBn. Hnkora He n3non3BaIte Ka6eHa 3a npemeCTBaHe, DbpnaHe IIN N3KIOUVAHe Ha eJekTPnueeckn IHCTpymEt. PaaTe Ka6eJa DaJeueOT ToPInHHN N3TOUHnCi, Maca, OcTpn Pb6OBe IIN DVBKeu Ce aactn. PnpoeRpaIte Ka6eHa 3a Hauynche Ha nobpeDn, npdi Da ro n3noJI3BaTe. 3aMeHaiTe Ka6eHa, Ako yctAHOBtne npn3NaHn IOBpeDa II IN3HOCBaHe. He n3noJI3BaIte UpeDa, Ako Ka6eblTe NOBpeDen IIN N3HOceH. Ako Ka6eblT Ma cprzBaHnIy IIN Ako n3OJaunTa e NOBpeHa, He3abABHo N3KIOUye Te ypeDa OT eJekTPo3axpaHbAaTa MpeXa. He dOKocBaIte JekTPnueeckn Ka6eI, npei Da n3KIOUHTe JekTPo3axpaHbaHeTo. He npapBaeT He Ka6eCbC spra3BaHnI INI NobpeDu. POnMeHe Tc C HOB. 3aIIPTeHNTE IIN NOBpeENi Ka6eIIOBVbAT pCKOBETe OT TOKOB ydap.
Д)ЕLEKtpuyecknT Ka6eH Te Tp86Ba Da 6bHe HABNT.Пru HABNT Ka6e MoJe dHaCtBnI npeprBaHe, KOEt Oe IOBeE Do BLOwBaHe Ha eΦeKTbHbTa paBoTa Ha yPeJa.BHArH pa3rBaBnTe Ka6eLa BHNMaTeNo, Be3 Da DOnyScAte PpeRbAHHa.
e) KoraTo pa6oTeHe c eJeKtpnueckn HNCTpyMeHr Ha OTKpInTO, n3NoJ3BaIte yDbJnxTEn, noxOJaU 3a yNtpe6a HABbH, Cha6dE h CbC CbeDnHTeI, OTROBapuHa IEC 60320-2-3.
Ka6eIbT,poJxOJaU 3a n3nOJ3BaHe Ha OTkpuTo, HamaJIyBa pNCKOBETe OT TKOB yIap.
K) Ako He MokeTe Da n36eHHe Te yNoTpe6aTa Ha eIeKTPnueckn INHCTpyMeHT BbB BLaxHa CpeDa, n3NOJ3BaIte n3TOUHNK Ha eIeKTPo3axpaHBAHe, 3aunTe Hpe3 yCTpoiCTBO 3a OCTaTBueh TOK C TOK HA n3KJIIOuVAhe He NOBuee ot 30 mA. DOpn npn IHcTaNipan H3TOUHNK Ha eIeKTPo3axpaHBAHe, 3aunTe Hpe3 yCTpoiCTBO 3a OCTaTBueh TOK, He MOKe Da ce rapaHTnpa 100% 6e3onacHOCT N ppaTKMITE 3a 6e3onacHa pa6Ota Tp86Ba Da ce cIeBAt no BCaKO BpeMe. PpOBepraBaiTe n3TOUHnKa Ha eIeKTPo3axpaHBAHe,
3aunTeH ype3 ycTpoiCTBO 3a ocTaTbueh TOK, npn BcraKO n3noI3BaHe Ha ypeDa. N3noI3BaHTo Ha ycTpoiCTBO 3a ocTaTbueh TOK HamaJIyBa pNCKOBeTe OT TOKOB yap.
3)Лична6e3oNaCHOCT
a)БьдeTe 6dnteJHn,Ha6JIIOJaBaIte DeiCTBnraTc n H Ce OclaHnTe Ha 3dpabnra pa3yM,Korato pa6OTnTE c EneKtpnueckn INhCTpymEt. He n3noTbAte EneKtpnueckn INhCTpymEt.Korato CTe yMopeHn IIN NOd Bb3deIcTBnE Ha yNoIbAsn BeueCtBA, aJIkoXoN NII MeDnKamEHTN.
EINH MOMENT HeBHMaHne IIO Bpeme Ha pa6oTa C eIeKtpuyeCKn IHCTpyMeHT MOKe Ja IOBeJe DO cepNo3HN TeLECHN HapahBaHna.
He 3acmykbaite c Bakyum KaMbHn, yaKbI, MeTaJIHn IpEaMeTn, CcUpeHn CTbKJa n dp.
PpabuHaTa yNoTpeBa ha ype,da 1e HaMaJIOnaChOCTnTe OT TeJeCHN HapaHraBaHnI NIOBpeDn Ha ype,da.
He ce onntBaIte Da 3acMyKbATE c BaKyym BOda nn npyrn TeHocTn.
AkoB TaKbB eJelekTpueeckn ypeI HabJIe3e BOda IIN dpyra TeuHocT, TOBa Ie NOBUN pNCKOBETe OT TKOB yIap.
- HnKora He nyskaTe ypeDa, 6e3 da cTe noctabuHn Heo6xOaMTO o6OpyDbaHe.
Korato n3no13BaTe ypeDa KaTo BaKyym,
BInHaN MOHTnpaIte Tpb6bIte 3a BaKyUm
IN Top6bUcKaTa 3a Cb6bIpaHe. PIOBepraBaIte
daJIu Top6bUcKaTa 3a Cb6bIpaHe e HAnbIHO
3aTbOpeHa NO BpeMe Ha pa60Ta Ha ypeDa,
3a Da He dOnyChTe N3XbPJIpeHa
OTnPaIbCu. IN3NoJ3BaIte CaMo IpnEopbuaHITe pInHaNdLeXHoCTn.
He 3acmykbaite c Bakyum n3xBpblen KnbprteHH KLeuKN, yrapKn OT npn nCngapn, neneJOT orHnua, Mecta 3a 6ap6ekko, Kynnnn OT KIOHNn np.
N36aBaiTe CnTuayu, npu KOnTO TOp6uKaTa 3a cb6bpaHe MoKe Da ce npdpaH. 3a da N36BerHe Te pa3npocTpaHraBaHe Ha ORbH, He N3NON3BaIte UpeDa B6n3OCT Do 3anaJeHInJMaTc HnXpactn, OrHnUca, MeCTa 3a bap6eKIO, PeneHnUs n.Dp.
MaKcMmaJIeH HOMmHaJIeH Noka3aTeJI:
pa3mep Ha Ka6eJa 1,00 mm² 3000 W
3axpaHbAsuN ydbJxNtEnHn Ka6eNi CE npedlaarT BbB Ba7nI MeCTeH yblHOMOSeH cepBn3eH cTeBp. N3no3BaIte CaMO ydbJxNtEnHn Ka6eNi, npeHa3HaueHn 3a n3no3BaHe h OTKpntO.
CbP3BaHe Ha ypeHa - yctpOcTBo 3a 3akIIOUbaHe Ha Ka6eJa/YdBJxKtEnHn Ka6eJI:
HanpaBete KpbT OT yDJIxNtEnnKabeN 18 n Iro nOCTaBeTe B yCTPOIcTBOTo 3a 3akIIOUBaHe Ha Ka6eNa 19.
Taka ige nepeIOIbPaTH HeBOJIHO npeKbCBAHe Ha eJekTpueckata Bpb3ka. CJeI TOBa ro CBpKeTe Cbc 3axpaHbAunna Ka6en.


Nyckahe Ha dyxankata:

BknIOUbaHe Ha dyxaJIkata:
Преемстete певКлIOчBaTeJIЯ 3a ВКЛIOчBAHe/N3KЛIOчBAHe ②В поJOжЕпe (I), 3a Да ВКЛIOчITE ypeDA.
3A6ELEKKA: CkopoCTTHa eNeKTpOMOTopa MoKe da ce yBvEJIuBa Hn HaMaJIbRa Upe3 peRyInpaHe Ha CkopoCTTa ②
BHIMAHHE: 3a Na He IONYCHeTe NOBpeHa Ha ypeHa, peryIpaIte cKOpocTtca Camo B pexIm 3a pa6Ota "Dyxalka". HE ce ONITBaIte Da peryIpaIte cKOpocTtBA pexIm 3a pa6Ota "BaKyUm". IIO-NHcKn cKOpocTn IO BpeMe Ha I3NoJ3BaHe Ha ypeDa KaTO BaKyUm MoKe Da IOBedeA T DO HAtpYnBaHe Ha OTNaIbU, 3aTOPMO3raBaHe Ha eJEkTpPOMOTopa IN HEn3npaBHOCT Ha ypeHa.
N3KJIIOUBaHe Ha dYxaJaKaTa:
Puhuri ohutusalased hoipated
- Enne toöle asumist kontrollige toöala.
(C1428ARP) Buenos Aires
Phone: (+54) 11 5194 5000
info.gardena@
ar.husqvarna.com
Armenia
Garden Land Ltd.
61 Tigran Mets
0005 Yerevan
Australia
Husqvarna Australia Pty. Ltd.
Locked Bag 5
Central Coast BC
NSW 2252
Phone: (+61) (0) 24352 7400
customer.service@
husqvarna.com.au
Austria/Österreich
Husqvarna Austria GmbH
Consumer Products
Industriezeile 36
4010 Linz
Tel.: (+43) 732 77 01 01-90
consumer.service@
husqvarna.at
Azerbaijan
Firm Progress
a. Aliyev Str. 26A
1052 Baku
Belgium
GARDENA Belgium NV/SA
Brampton, Ontario L6T 4X3
Phone: (+1) 905 792 93 30
info@gardenacadada.com
Chile
Maquinarias Agroforestales
Ltda. (Maga Ltda.)
Santiago, Chile
Avda. Chesterton
8355 comuna Las Condes
Phone: (+56) 2 202 4417
Dalton@maga.cl
Zipcode: 7560330
Temuco, Chile
Avda. Valparaiso # 01466
Phone: (+56) 45222126
Zipcode: 4780441
China
Husqvarna (China) Machinery
Manufacturing Co., Ltd.
No.1355.Jia Xin Rd.
Ma Lu Zhen, Jia Ding Dist.
Shanghai
201801
Phone: (+86) 21 59159629
Domestic Sales
www.gardena.com.cn
Colombia
Husqvarna Colombia S.A.
Calle 18 No.68 D-31, zona
Industrial de Montevideo
Bogota, Cundinama
Tel. 571 2922700 ext. 105
jairosalazar@
husqvarna.com.co
Costa Rica
Compania Exim
Euroiberoamericana S.A.
Consumer Outdoor Products
Santiago, Dominican Rep
Phone: (+809) 736-0333
Consumer Outdoor Products
Consumer Outdoor Products
Lautatarhankatu 8 B/PL 3
00581 HELSINKI
info@gardena.fi
France
GARDENA France
Immeuble Exposial
Aycliffe Industrial Park
Newton Aycliff
County Durham
DL56UP
info.gardena@
husqvarna.co.uk
Greece
HUSQVARNA EMAA A.E.B.E.
Yπ/μa Hφaiotou 33A
B. Πε. Kopoπiou
194 00 Kopwni Attikns
V.A.T.EL094094640
Phone: (+30) 210 66 20 225
info@husqvarna-consumer.gr
Hungary
Husqvarna Magyarorszag Kft.
Ezred u.1-3
1044 Budapest
Telefon: (+36) 1 251-4161
Aycliffe Industrial Park
Newton Aycliffe
County Durham
DL56UF
info.gardena@
husqvarna.co.uk
Italy
Husqvarna Italia S.p.A.
Via Como 72
23868 VALMADRERA (LC)
Phone: (+39) 0341.203.111
info@gardenaitalia.it
Japan
KAKUICHI Co. Ltd
Sumitomo Realty &
Development Kojimachi
BLDG.,8F
5-1 Nibanncyo
Chiyoda-ku
Tokyo 102-0084
Phone: (+81) 332644721
m_ishihara@kaku-ichi.co.jp
Kazakhstan
LAMED Ltd.
155/1, Tazhibayevoi Str.
050060 Almaty
IP Schmidt
Abayavenue 3B
110 005 Kostanay
Kyrgyzstan
Alye Maki
av. Moladaya Guardir J 3
720014
Bishkek
Latvia
Husqvarna Latvija
Consumer Outdoor Products
Bakuzu iela 6
LV-1024 Riga
info@husqvarna.lv
Lithuania
UAB Husqvarna Lietuva
Consumer Outdoor Products
Ateities pl. 77C
LT-52104 Kaunas
centras@husqvarna.it
Luxembourg
Magasins Jules Neuberg
Husqvarna New Zealand Ltd.
PO Box 76-437
Manukau City 2241
Phone: (+64) (0) 9 9202410
support.nz@husqvarna.co.nz
Norway
GARDENA
Husqvarna Consumer
Outdoor Products
Salgskontor Norge
Kleverveien 6
1540 Vestby
info@gardena.no
Peru
Husqvarna Peru S.A
Jr. Ramón Cárcamo 710
Lima 1
Tel: (+51) 13320400 ext. 416
juan.remuzqo@
husqvarna.com
Poland
Husqvarna
02-08 Tat Ann Building
Singapore 577185
Phone: (+65) 6253 2277
shiying@hyray.com.sg
Slovak Republic
Husqvarna Cesko s.r.o.
Turkova 2319/5b
14900 Praha 4-Chodov
Bezplatná infolinka:
800154044
servis@sk.husqvarna.com
Slovenia
Husqvarna Austria GmbH
Consumer Products
Industriezeile 36
4010 Linz
Tel.: (+43) 732 77 01 01-90
consumer.service@
husqvarna.at
South Africa
Husqvarna
South Africa (Pty) Ltd
Postnet Suite 250
Private Bag X6,
Cascades, 3202
South Africa
Phone: (+27) 33 846 9700
info@gardena.co.za
Spain
Husqvarna Espana S.A.
C/Basauri. n°6
La Florida
28023 Madrid
Phone: (+34) 917080500
© GARDENA Manufacturing GmbH
D-89070 Ulm
http://www.gardena.com
EasyManual