Ergojet 3000 - Tolmuimeja puhur GARDENA - Tasuta kasutusjuhend
Leidke seadme juhend tasuta Ergojet 3000 GARDENA PDF-formaadis.
Kasutajate küsimused teemal Ergojet 3000 GARDENA
0 küsimus selle seadme kohta. Vastake nendele, mida teate, või esitage oma.
Esita uus küsimus selle seadme kohta
Laadige alla juhend oma Tolmuimeja puhur PDF-formaadis tasuta! Leidke oma juhend Ergojet 3000 - GARDENA ja võtke oma elektrooniline seade uuesti kätte. Sellel lehel on avaldatud kõik teie seadme kasutamiseks vajalikud dokumendid. Ergojet 3000 kaubamärgi GARDENA.
KASUTUSJUHEND Ergojet 3000 GARDENA
Esialgse inglisekeelse kasutusjuhendi tõlge.
Palun lugege kasutusjuhend hoolikalt labi ja järgige toodud markusi. Kasutage neid kasutusjuhiseid tootega tutvumiseks, korrektseks kasutamiseks ja turvanöuete tundmaöppimiseks.

Turvalisuse kaalutlustel ei tohi seda toodet kasutada lapsed ja noorukid vanuses alla 16 eluasta ja ka isikud, kes pole kaesoleva kasutusjuhendiga tutvunud. Kahandatud füusiliste voi vaimsete voimetega isikud voivad seda toodet kasutada ainult vastutava isiku jarevalve voi juhendamise all.
Sisukord:
Hoidke seda kasutusjuhendit turvalises kohas.
- GARDENA ErgoJet 3000 kasutuseesmärk. 316
2.Ohutusjuhised. 317 - Kokkupanek 320
- Kasutamine 322
5.Ladustamine. 324
6.Hooldus. 325 - Törkeotsing 326
8.Tehnilised andmed 327
9.Hooldus/garantii 327
1. GARDENA ErgoJet 3000 kasutuseesmärk
Puhuri korrektne kasutamine:
GARDENA ErgoJet 3000 on moeldud prugi voi nidetud muru koristamiseks sissesoiduteedelt, konniteedelt, siseuedest, jne ja niidetud muru, pohu voi lehtede puhumiseks hunnikusse voi prugi eemaldamiseks nurkadest, ühenduskohtade umbert voi kivide vahelt.
Imuri korrektne kasutamine:
GARDENA ErgoJet 3000 on moeldud imurina kasutamiseks
kuivade puhkmete, naiteks lehed, niidetud muru, väiksed okkad ja paberitükid, koristamiseks.
OHT!
Vigastusoht!

Toode võib ebakorektsel kasutamisel ohtlik olla.
Möistliku turvalisuse ja efektiivsuse tagamuseks tuleb selle toote kasutamisel järgida hoiatusi ja ohutusjuhiseid. Kasutaja kohustuseks on järgida koiki käesolevas juhendis ning tootel toodud hoiatusi ning ohutusnõudeid. Arge kasutage toodet, kui tootja poolt tarnitud kaitsed on sellele paigaldamata.
2. Ohutusjuhised
Palun järgige ErgoJet 3000 olevaid ohutusjuhiseid.

HOIATUS: See toode voib olla ohtlik! Hooletu voi vale kasutus voivad pohjustada tõsiseidvi gastusi.

Lugege kasutusjuhised hoolikalt
läbi ja veenduge, et saate aru
köigist juhtnuppudest ja nende
kasutuseesmärgist.

Arge jatke toodet vihma katte.
Arge jatke toodet oue kui vihma sajab.

Väljalūlitamine! Eemaldage toitepistik vooluvörgust enne reguleerimist, puhastamist vōi kui kaabel on takerdunud vōi katki.

Soovituslik on kasutada kaitseprille ja körvaklappe.

Hoidke körvalseisjade
eemale.
Uldised elektritoreiistade turvahoiatused

HOIATUS: Lugege labi koik turvahoiated ja juhised.
Hoidke kōik hoiatused ja juhised alles ka edaspidiseks lugemiseks. Hoiatustes kasutatud termin "elektritōriist" viṭab vooluvörgust toidet saavatele tōriistadele.
1) Tööala ohutus
a) Seda toodet ei tohiks kasutada isikud (sh lapsed), kelle füusilised, aistingu- voi vaimsed voimed on piiratud voi kelle pole piisavalt kogemusi je teadmisi selle toote kasutamiseks, välja arvatud juhul, kui neid juhendab turvalisuse eest vastutav isik. Lapsi tuleb valvata tagamaks, et nad ei saa tootega mangida. Toodet kāsitseva isiku vanus vöib olla kohalike seadustega piiratud. Arge kunagi lubage lastel ega nende juhistega mittetutvunud isikutel seda toodet kasutada. Elektritöörìstad on oskamatutes kätes ohtlikud.
b) Hoidke lapsed ja körvalseisjad elektritö-riista kasutamise ajal eema.
Segavad tegurid voivad kaasa tuua kontrolli kaotamise.
Kasutaja on vastutav teistele inimestele voi nende varale pohjustatud vigastuste voi kahjustuste eest.
d) Hoidke toöala puhas ja hösti valgustatuna.
Risustatud või hamarad alad suurendavad onnetusteri ski.
e) Arge kasutage elektritööristu plahvatus-ohtlikes tingimustes, naiteks suttivad vedelikud, gaasid voi tolm.
Elektrööristad voivad tekitada sādemeid, mis voivad Südata tolmu voi aurud.
2) Elektrio ohutus
a) Elektritöörista pistik peab sobima steplisse. Arge kunagi mutute pistikut mingil visil. Arge kasutage maandatud elektriseadmetepuhul pistiku adaptereid. Kasutage seadet ainult sellises vahelduvvoolu vorgus nagu onnāidatud toote andmeplaadil. Mitte mingiljuhul ei tohi maundus olla ühendatud seadmistakes osaga.Modifitseerimata pistikud ja sobivad stepslid vähendavad elektrlöögi ohtu.
b) Vältige kehalist kontakti maandatud pindadega, nagu näiteks torud, radiaatorid, ahjud ja kūlmikud. Juhul kui teie keha on maandatud, esineb suurem elektrilögi oht.
c) Arge jätke elektritööriistu vihma kättte voi hoidke neid niisketes tingimustes. Elektritöörista sisenenud vesi vöib suurendada elektrilögi ohtu.
d) Arge kahjustage juhet. Arge kunagi kasutage toitejuhet elektritooriista kandmisesks, tombamiseks voi steplist eemaldamiseks. Hoidke juhet kuumuse, oli, teravate servade voi liikuvate osade eest. Enne kasutamist kontrollige, et juhe oleks terve. Kahjustuse voi vananemise tuvastamisel vahetage juhe valja. Arge kasutage antud toodet kui elektrijuhtmed on kahjustatud voi kulunud. Eemdage koheselt pistik vooluvorgust kui juhtmesse tekib sisselöige voi kui juhtme isolatsoon saab kahjustada. Arge puutuge juhet enne kui see on vooluhendusest lahti uhendatud. Arge parandage sisselöikega voi kah
justusega juhet. Asendage see uuega.
Kahjustatud voi solmes juhtmed suurendavad elektrilögi ohtu.
e) Toitejuhe peab olema lahtikeritud. Keritud juhtmed voivad ülekuumeneda ja vahendada toote efektiisust. Kerge kaabit alati hoolikalt, valtides murdekohti.
f) Elektritöörija kasutamisel vältingimustes, kasutage sellist pikendusjuhet, mis on mōeldud vältingimustes kasutamiseks ja mis on varustatud standardile IEC 60320-2-3 vastava pistikuga.
Välitingimuste jaoks sobiva pikendusjuhtme kasutamine vähendab elektröogi riski.
g) Kui elektritöörista kasutamine niiskettes tingimustes on vältimatu, siis kasutage rikkkeaksmega varustatud toidet. Soovitame kasutada rikkveoolukaitsega lülilit, mille nimirikkevool ≤ 30 mA. Isegi peale rikkveoolukaitsete installerimist ei saa tagada 100%st ohutust ning tuleb järgida ohutu töötamise tava. Kontrollige oma rikkveoolukaitseid alati enne selle kasutamist.
Rikkekaitme kasutamine vahendab elektrilooigi ohtu.
3) Kasutaja turvalisus
a) Olge valvas, jälgige, mida te teete ja kasutage elektritööristade kasutamisel kainet moistust. Arge kasutage elektritööristu kui olete vasinud voi narkootikumide, alkoholi vovi medikamentide moju all.
Tähelepanu hetkeline kaotamine elektritöörista kasutamisel vöib via tõsiste vigastusteni.
b) Kasutage alati kaitsevahendeid. Kandke alati kaitseprille ja körvaklappe. Tolmuärrituse vältimiseks on soovitav kanda naomaski.
Vastavates olukordades kasutatavad kaitsevahendid nagu kaitseprillid, korvaklapid, tolmumask, mittelibiseva tallaga saapad voi kiivrid vahenda-vad vigastuste ohtu.
c) Vältige soovimatut käivitamist. Enne voolu-vörku ühendamist, seadme tõstmst voi transportimist veenduge, et luli t oleks valjulilutud. Elektrööristade kandmine napp luli peal voi sisselulilitad seadme ühendamine vooluvörku voib kaasa tuua onnetusi.
d) Arge nojatuge. Veenduge, et teil oleks alati kindel jalgealune ja tasakaal. Kallakul olles olge eriti ettevaatlik omajalgealuse suhtes ning kandke libisemisvastaseid jalanoudid. Niitmise ajal arge kondige tagurpidi, te voite komistada. Arge mitte kunagi jookske, vaid kondige. Arge kasutage toodet redelil seistes. Nii on teil ootamatures olukordades parem kontroll elektröörista üle.
e) Riitetuge vastavalt. Kandke alati sobivat rietust, kindaid ja vastupidavad jalanöusid. Arge kandke lahtiseid roivaid voi ehteid. Hoidke juuksed, riided ja kindad eemal liukvatest osadest. Lahtised roivad, ehted voi pikad juuksed voivad liikuvate osade kulge takerduda.
4) Elektritöörista kasutamine ja hooldamine
a) Kasutage seda toodet ainult viisil ja eesmärkidel, mida on kirjeldatud käesolevas juhendis. Juhtige kaablit alati tahapoole ja seadmist eemale. Arge kasutage seadmel joudu. Kasutage tooks sobivat elektritöörist. Sobiv elektritöörist teeb too paremini ja turvalisemalt kiirusel, mille jaoks see on moeldud.
b) Veenduge alati enne kasutamist, et toode oleks turvalises tökorras. Arge kasutage elektritiöriista, kui seda pole voimalik lulitist sisse-valja lulitada. Teadke, kuidas todet hadaolukorras kiirelt peata. Mistahes elektritiöriist, mille lulilit pole voimalik kasutada on ohtlik ja tuleb vivitamatult ára parandada.
c) Tiivik jatkab poorlemist ka parest toote valjalulitamist. Mootor tuleb peatada ja rootori tiivikud peavad tosiste vigastuste valtimiseks olema seisma jaanud.
d) Ühendage seade lahti vooluvörgust:
- enne prugikoti eemaldamist voi valjavahetamist,
- enne seadme järevalveta jätmist,
- enne ummistuse eemaldamist,
- enne seadme kontrollimist, puhastamist või hooldamist,
-kui toode hakkab ebaharilikult vibreerima. Kontrollige koheselt. Liigne vibratsion voib pohjustada vigastusi. - enne teisele inimesele üleandmist.
e) Hoidke seadet lastele kattesaamatus kohas ja arge laske seadet kasutada isikutel, kes pole tutvunud seade voi kaesolevate juhistega. Elektritoreiustad on oskamatutes kates ohtlikud.
f) Elektritöörista hooldamine. Kontrollige liikutvate osade joundumist ja et need oleksid korralikult kinni ning vaadake, et elektritöörista toöd mojutavad osad poleks katki vöi kulunud. Kahjustuse puhul laske elektritöörist enne kasutamist ára parandada. Hoidke kõik sisselasked prahist puhtana. Paljude önnetuste pöhjuseks on ebakorrektseit hooldatud toöriistad.
g) Kasutage elektritöörista ja lisatarvikuid vastavalt kæesolevatele juhistele vöttes arves-setötingimusi ja tehtavat tõd. Kasutage toodet ainult paëvavalguses voi hea kunstliku valgustusega. Elektritöörista kasutamine selleks mitte ettenähtud eesmärkidel voib luua ohtliku olukorra.
5) Hooldus ja ladustamine
Laske elektritööriista hooldada selleks kvalitseeritud isikul, kes kasutab ainult originaalvaruosi.
- Toote turvalise tõkorrä tagamiseks peavad kõik poldid, kruvid ja mutrid korralikult kinni olema.
Vahetage kulunud voi purunenud osad turvalisuse huvides valja. - Kasutage ainult originaaldetailed ja lisatarvikuid.
-Kontrollige regulaarselt prahikotti. Juhul kui prahikott on kulunud voi purunenu, vahetage see valja.
-Hoidke seadet jahidas ja kuivas siseruumis, mis pole lastele ligipäasetav. Arge ladustage seadet valitingimustes.
Eemaldage koi praht ning kovad esemed nagu kivid, klaas, traat, jne., mis voivad rikošeteerida, lennata voi muul viisil tootamise ajal vigastusi voi kahjustusi pohjustada.
- Arge kunagi kasutage seadet ilma korrekt-selt paigaldatud tarvikuteta.
Puhurina kasutades paigaldage alati puhuri toru.
Vigastuste valtimiseks kasutage ainult soovitatud
lisatarvikuid.
- Arge kasutage puhurit kulupolengute, kami-nate, grillide, tuhatooside jne lahedused.
Puhuri korrektne kasutamine aitab valtida tule levikut.
- Arge kunagi pange esemeid puhuritorusse; alati suunake puhar eemale inimestest, loomadest, klaasist ja objektidest nagu puud, autod,seinad,jne.
Ohu joud voib pohjustada kivide, prahi voi oksade lendamise voi rikošeteerimise, mis voib vigastada inimesi voi loomi, purustada klaasi voi pohjustada muid kahjustusi.
- Arge kunagi kasutage toodet kemikaalide, väetise või muude ainete laialipuhumiseks.
Nii valdite toksiliste materjalide levikut.
Imuri ohutusalased hoiatused
- Enne ŏhu sisselaskeava avamist imuritoru paigaldamiseks või eemaldamiseks peatage mootor ja ühendage seade vooluvörgust.
Mootor tuleb peatada ja rootori tiivikud peavad tosiste vigastuste valtimiseks olemas eismajäänud.
- Enne toöle asumist kontrollige toöala.
Kovad esemed voivad lennata labi kogumiskoti voi korpuse ning vigastada seadme kasutajat voi teisi inimesi.
- Arge kasutage toodet kivide, kruusa, metalli, purunenud klaasi jne imemiseks.
Toote korrektne kasutamine vahendab vigastuste ja/voi seadme kahjustamise voimalust.
- Arge kasutage toodet vee voi muude vedelikeim emiseks.
Elektritööriesta sisenud vesi või muud vedelikud võivad suurendada elektrilöogi ohtu.
- Arge kunagi kasutage seadet ilma korrekt-selt paigaldatud tarvikuteta.
Imurina kasutamisel paigaldage seadmele alati imuritorud ja kogumiskott. Veenduge, et kogumiskoti lukk oleks korralikult kinni tommatud, et valtida prugi laiali lendamist. Kasutage ainult soovitatud tarvikuid.
- Arge kasutage toodet tikkude, sigarite, sigarettide voi tuha imemiseks kaminatest, grillidest, lokkekohadest, jne.
Välting olukordi, kus kogumiskott vöib põlemä minna. Tule leviku vältimiseks árge kasutage puhurit kulutulekahjude, kaminate, grillide, tuhatooside, jne juures.
- Kasutage imemisel alati olarithma.
See aitab tel elektritooriista kontrolli all hoida.
- Kontrollige sagedasti ōhu sissevōtu avasid, torupōolve ja imuri torusid ning tehke seda alati seiskunud mootori ja vooluvörgust lahtiuhendatuds eadmega.
Hoidke ōhuavad ja torud vabad prahist, mis voib sinna koguneda ja ōhuovoola takistada.
Arge kasutage seadet blookeeritudavadega.
Hoidke seda puhtana tolmust, ebemetest, karvadest ja muust, mis voib ohuvoolu takistada.
3. Kokkupanek

HOIATUS: Enne ōhu sisselaskeava avamist, imuritoru paigaldamiseks või eemaldamiseks peatage seade ja ühendage seade vooluvörgust lahti.
Mootor tuleb peatada ja rootori tiivikud peavad tosiste vigastuste valtimiseks olemaseisma jaanud.
Puhuri toru paigaldamine:

- Joondage puhuri alumise toru sooned ① väljalasketoru soontega ②.
- Lükake puhuri toru väljaskeavale kuni see kohale lukustub, toru hoib puhuri küljes kinni toru vabastusnupp ③.
- Toru eemaldamiseks vajutage toru valjatombamise ajal vabastusnuppu ③.
MÄRKUS: Turvalüliti takistab seadme käivitamist kui puhuri toru pole korrektsalt paigaldatud.
Imuri torude paigaldamine:

- Avage sisselaske ava kate ④ vabastades riivi ⑤ nagu joonisel naidatud ja tommates imuri käepidet ülespoole ⑥.

- Laske riivil lukustuda puhuri tagumise käepideme külge ⑦. Veenduge, et toitekaabel ⑧ jäks vabaks.

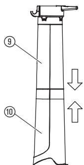
MÄRKUS: Seadmel on 2 imuritoru: ülemine 9 ja alumine 10. Ülemisel torul on ühes otsas hing ja konksud ning see on mõlemast otsast sirge servaga. Ülemine toru kinnitub puhuri korpuse külge. Alumisel torul on kaardus ots, mis tuleb imemise ajal maa poole suunata. Alumine toru kinnitub puhuri ülemise toru külge.
- Alumise toru ⑩ kinnitamiseks ülemise ⑨ külge, joondage kõigepealt torude liitekohad. Seejärel suruge torusid kokku kuni alumine toru on korralikult ülemise sees.

- Paigaldage ülemise toru hing ⑫ seadme pöhjal oleva konksu külge ⑬.
- Kasutades maapinda toena 18, pörake seadet kuni toru kinnitub seadme korpusel 14 olevate kinnituste külge.
MÄRKUS: Turvalüliti takistab seadme käivitamist kui imuri torud pole korrektset paigaldatud.
"Klops"

Kogumiskoti paigaldamine:

- Joondage polvtoru ⑤ sooned väljalasketoru soontega ②.
- Lükake põlvtoru väljalaskeavale kuni see khale lukustub, põlvtoru hoibap puhuri küljes kinni toru vabastusnupp ③.
- Haakige kogumiskott imuri ⑥ ülemise ⑨ ja alumise toru ⑩ silmustekül ge.
MÄRKUS: Turvalüliti takistab seadme käivitamist kui põlvtoru pole korrektsalt paigaldatud.
Ölarithma paigaldamine:

Lisatoestuse jaoks seadme kasutamisel imurina, on sollega kaasas olarihm. Kinnitage olarihm seadme külge enne kasutamist. Paigaldage konks kinnitusse ⑰.
- Seisake seade ja ühendage see vooluvörgust lahti.
- Eemaldage põlvtoru ja kogumiskott.
3.Eemaldage imuritorud vabastades imuri sisselaskekattel olevad riivid ja keerates katet kuni torud on kinnituste kuljest lahti. - Sulgege sissetōmbeava kate ja veenduge, et selle kinniti oleks suletud.
- Paigaldage puhuri toru. Selle tegemiseks vaadake osa PUHURI TORU KININITAMINE.
MÄRKUS: Turvalüliti takistab seadme käivitamist kui sisselaskeava
kate pole korrektsalt suletud.
4. Kasutamine

HOIATUS: Arge kasutage seadet ilma korrektset paigaldatud torude voi kogumiskotita, vastasel juhul vob lendub prugi ja/voi kontakt tiivikuga pohjustada tõsiseid vigastusi.
Kandke alati kindaid ja kasutage kaitseprille, et kaitsta silmi ja nagu lenduva ja rikošeteeriva prugi ja kivikeste eest, mis voivad pohjustada nagemise kahjustumist vovi tõsiseid vigastusi.
Kaablid:
Kasutage ainult 1,00mm^2 kaabit
maksimaalse pikkusega kuni 40 meetrit.
Toitekaabel ja pikendusjuhtmed on saadaval kohalikust volitatud teeninduskeskusest. Kasutage ainult valitingimuste jaoks moeldud pikendusjuhtmeid.
Seadme ühendamine - kaabli likustus/pikendusjuhtmed:
Moodustage juhtmesse ⑧ aas ja sisestage see kaabli lukku (19) . See valdib juhtme soovimatut valjatulemist. Seejärel ühendage see toitekaabliga.


Puhuri käivitamine:

Töosendid:


Puhuri sisselulitamine:
Seadme käivitamiseks viige SISSE/VÄLJA-lüliti 20 asendisse SEES (I).
ETTEVAATUST: Selleks, et vältna seadme vigastamist kasutage kiiruse reguleerimiskangi ainult puhuri reziimis. ARGE kasutage kiiruse reguleerimist imuri reziimis. Madalam kiirus imemisel voib pöhjustada prahi kogunemist, mootori seisata ja seadet kahjustada.
Puhuri valjalulitamine:
Seadme seiskamiseks, viige SISSE/VÄLJA-lüliti 20 asendisse VÄLJAS(0).
Puhuri reziim
Kasutage puhurit prugi voi niidetud muru koristamiseks sissesioduteedelt, konniteedelt, siseouedest, jne ja niidetud muru, pohu voi lehtede puhumiseks hunnikusse voi prugi eemaldamiseks nurkadest, uhenduskohtade umbert voi kivide vahelt.
Kasutage kiiruse reguleerismiskangi puhuri reziimis tootamisel mootori kiiruse suurendamiseks-vahendamiseks. Suunake puhuri toru alla voi ühele küjele.
Alati suunake puhur eemale kovadest objektidest nagu ärekivid, suured kivid, soidukid ja aiad.
Nurkade puhastamisel alustage nurgast ja liikuge valjapoole. See takistab prahi kogunemist ja vahendab selle nakku lendamise ohtu. Olge ettevaatlik taimede lahedal tootamisel. Ohuvoola joud voib vigastada ornemaid taimi.
Imemisreziim
Kasutage seadet imurina kuiivade puhkmete, naiteks lehed, niidetud muru, väiksed okkad ja paberitükid, koristamiseks.
Parimate imemistulemuste saavutamiseks, kasutage puhurit suurimalki irusel.
Liikuge üle koristatava materjali aeglaselt edasi-tagasi.
Ärge suruge seadet prahihunnikusse, see vöib torud ummistada.
Parima tulemuse saavutamiseks hoidke imuritoru umbes 2,5 cm körgusel maapinnast.

HOIATUS: Juhul kui seade ummistub, peatage see ja ühendage vooluvörgust lahti. Oodake kuni tiivik on taielikult peatunud ja eemaldage seejärel imuritorud. Pange kasi ettevaatlikult imuri avausse ja eemaldage ummistus.
See vahendab poorlevast tiivikust tingitud vigastuste ohtu.
5. Ladustamine
Ladustamine:
Hoidke seadet vooluvorgust lahtiuhendatuna, laste kaeulatusest eemal.
- Peatage ja ühendage seade lahti vooluvörgust.
- Laske mootoril enne arapanemist voi transportimist jahtuda.
- Ladustage seadet koos kõigi kaitsetega. Ladustage seadet nii, et teravad objektid ei saaks põhjustada vigastusi.
Uletalve hoidmine:
Hooaja loppedes voi kui seadet ei kasutata vahemalt 30 päeva, valmistage seade ette pikemaajaliseks ladustamiseks.
- Peatage ja ühendage seade lahti vooluvörgust.
- Enne pikemat ladustamist puhistage terve seade.
- Avage sisselaskeava kate ja puhistage see mustusest, rohust voi prugist, mis sinna on kogunenud. Kontrollige puhurst ja koiki torusid. Sulgege ja veenduge, et kate oleks kinnitatud.
- Sisselaskeava ja ðhuavade puhastamiseks kasutage pehmet pintslit. Årge kasutage vett.
- Hoidke seadet ja pikendusjuhet*hastiventileeritud kohas ja voimalusel katke seade tolmu ja mustuse kogunemise valtimi-seks kinni. Arge katke seadet kilege. Kile ei hinga ja selle alla kondenseeruda vesi, mis tekitab seadmel roostet.
- Kontrollige, et seadmel poleks lahtiseid kruve. Vahetage valja koki vigastatud, kulunud voi katkised detailid.
- Lihtsamaks ladustamiseks eemaldage seadmelt kõik torud.
Utiliseerimine:
(vastavelt EL-l direktivile 2002/96/EO)

Seda toodet ei tohi visata ara majapidamisprugina. See tuleb likvideerida vastavalt kehtivatele kohalikele jäätmete korvaldamisere eglitele.
6. Hooldus

HOIATUS: Enne reguleerimist, tarvikute vahetamist voi hooldamist seisake seade ja ühendage see vooluvörgust lahti.
Sellised ennatlikud turvameetmed vädivad seadme soovimatut käivitamist.
ENNE IGAT KASUTAMIST
Kontrollige, et poleks lahtiseid kinnitusi voi detale:
Toote turvalise tõkkorra tagamiseks peavad kõik poldid, kruvid ja mutrid korralikult kinni olema. Veenduge, et kõik osad oleks korrektset paigaldatud.
Sissevotuava kate
- Puhuri toru
- Imuri torud
Kogumiskott
Kontrollige, et poleks kahjustatud voi kulunud detaie:
Vigastud vōi kulunud detailide vahetamiseks vōtke ühendust volitatud hooldusfirmaga.
- SISSE/VÄLJA - Veenduge, et lūliti tõotaks korrektset viies lūliti asendisse VÄLJAS. Veenduge, et mootor peatuks; seejärel taaskäivitage seade ja jätkake.
- Sisselaskeava kate - Peatage seadme kasutamine, kui sisselaskeava kate ei kinnitukorralikult või see on mingil moel kahjustatud.
PARAST IGAT KASUTUST
Kontrollige ja puhastage seadet ja selle kleebiseid:
- Pärast igakordset kasutamist kontrollige tervet seadet, et seal poleks lahtiseid vōi kahjustatud dètaile. Puhastage välispindu niiske lapiga.
Tommake seade üle kuiva ja puhta lapiga.
Kogumiskoti puhastamine:
TAHTIS: KOKUMISKOTTI TULEB KORRALIKULT TÜHJENDADA.
Kogumiskotti tuleb vananemise ja ohuvoolu takistamise valtimiseks korralikult tuhjendada ja hooldada.
Eemaldage ja tuhjendage kogumiskott pärast igit kasutamist. Arge ladustage kotti, kui seda pole täielikult prahist (muru, lehed, jne) tuhjendatud.
- Peske kotti kord aastas. Eemaldage kott puhuri kuljest ja keerake see tagurpidi. Peske kotti veevoolikuga. Pange kott rippuma ja laske sellel enne taaskasutamist kuivada.

HOIATUS: Juhul kui seade ummistub, peatage see ja ühendage vooluvörgust lahti. Oodake kuni tiivik on taielikult peatunud ja eemaldage seejärel imuritorud. Pange käsi ettevaatlikult imuri avausse ja eemaldage ummistus.
See vahendab poorlevast tiivikust tingitud vigastuste ohtu.
Ummistuse eemaldamine sisselaskeavast:
- Eemaldage imuri torud.
- Pange käsi ettevaatlikult imuri avausse ja eemaldage ummistus. Eemaldage tiiviku umbert kogu prügi.
- Kontrollige, et tiivik poleks möranenud. Mörade vöi vigastuste tuvastamisel arge seadet kasutage. Laske volitatud teenindus-keskuses osad väljavahetada. Arge provige neid ise vahetada.
7. Törkeotsing

HOIATUS: Alati peatage seade ja ühendage see vooluvörgust lahti enne kui teete soovitatud veaparandusi välja arvatud juhtudel, kus mootor toötama peab.
Mootor tuleb peatada ja rootori tiivikud peavad tosiste vigastuste valtimiseks olemaseisma jaanud.
| Probleem | Vöimalik pöhjus | Lahendus |
| Seade ei tõöta. | 1. Lülii on VÄLJAS (0) asendis. | 1. Viige lülii asendisse SEES (l). |
| 2. Pikendusjuhe on lahti. | 2. Ühendage pikendusjuhe. | |
| 3. Automaatkaitse on vãjalūlitu-nud või kaitse läbi põlenud. | 3. Lülitage kaitse sisse või vahetage kork. | |
| 4. Puhuri toru, põlvtoru ja/või imuritoru pole korrektset paigaldatud. | 4. Kontrollige torude paigaldust. | |
| 5. Kogumiskott on tãis. | 5. Tühjendage kogumiskott. | |
| 6. Mehaaniline tõrge. | 6. Põörduge volitatud teenin-duskeskusse. | |
| Seade vibreerib liigelt. | 1. Mehaaniline tõrge. | 1. Põörduge volitatud teenin-duskeskusse. |
| Tiivik ei keerle vabalt. | 1. Sissevõtuvas on prügi. | 1. Puhastage seadet. Eemaldagep rügi. |
| 2. Mehaaniline tõrge. | 2. Põörduge volitatud teeninduskeskusse. |

Muude tõrgete puhul põörduge palun GARDENA teeninduskeskussesse. Seadet voivad parandada GARDENA teeninduskeskused voi GARDENA poolt volitatud teeninduskeskused.
8. Tehnilised andmed
| Mooter - võimsus | 3000 W maks. |
| Toitepinge | 220 – 240 V |
| Sagedus | 50 Hz |
| Imuri vool | 170 l/s |
| Multšimisaste | 16:1 |
| Puhuri kiirus | Maks. 310 km/h |
| Puhuri/imuri kaal | Maks. 4,5 kg |
| Prahikoti mahtuvus | 45 l |
| Tõökoha emissiooni heliröhu tase | 82,6 dB(A), KpA: 3,0 dB(A) |
| Müratase Lw2) | Mõoidetud 99 dB(A) / garanteeritud 102 dB(A) |
| Käe vibratsioon avhw1) | 3,92 ms2, K: 1,5 ms2 |
9. Hooldus/garantii
Garantii:
GARDENA annab sellele tootele kaheaastase garantii (alates ostmiskuupäevast). Garantii holmab koki olulis seadmel esinevaid puudusi, mis on tekkinud materjali- voi tootmisvigade tagajärjel. Garantii korras tarnitakse ostjale veatu seade voi parandatakse meile saadetud seade tasuta meie parema aranagemise järgi, kui järgmised tingimused on täidetud:
- seadet käsitseti asjatundlikult ja kasutusjuhendi soovituste järgi;
- ostja ega kolmandad isikud ei ole proovinud seadet parandada. Puhuri ja imuri torud on kuluvad osad ning need ei kuulu garantii alla.
Tootja garantii ei puuduta edasimüju/müjuva vastu esitatavaid pretensioone.
Garantiinõudeesitamiseks poörduge koos ostu tõendava dokumendiga toote muüja või soovitatud hooldustökoja poole.
GARDENA ErgoJet 3000 (EJ3000)

Naudojimo instrukcija versta is anglu kalbos.
Kesk tee 10, Aaviku kula
Rae vald
Harju maakondo
75305 Estonia
kontakt.etj@husqvarna.ee
Finland
Oy Husqvarna Ab
LihtneJuhend