Ergojet 3000 - Støvsuger blåser GARDENA - Gratis bruksanvisning og manual
Finn enhetens veiledning gratis Ergojet 3000 GARDENA i PDF-format.
Brukerspørsmål om Ergojet 3000 GARDENA
0 spørsmål om dette apparatet. Svar på dem du kjenner, eller still ditt eget.
Still et nytt spørsmål om dette apparatet
Last ned instruksjonene for din Støvsuger blåser i PDF-format gratis! Finn veiledningen din Ergojet 3000 - GARDENA og ta den elektroniske enheten tilbake i hendene. På denne siden er alle dokumenter som er nødvendige for bruken av enheten din publisert. Ergojet 3000 av merket GARDENA.
BRUKSANVISNING Ergojet 3000 GARDENA
1. Anvendelsesområde for din GARDENA ErgoJet 3000
Korrekt anvendelse som blaeser:
Generelle sikkerhedsadvarsler vedrørende eldrevnere redskaber

ADVARSEL: Læs alle sikkerhedsadvarsler og alle anvisninger. Hvis man ignorer advarsler og anvisninger, kan det medføre elektrisk stød, brand og/eller alvorlig tilskadekomst
Gem alle trykke advarsler og anvisninger, sa de kan laes fremover.
Oversettelse av den originale engelske braupsanvisingen.
Les nôve gjennom bruksanvisningen, og ta hensyn til merknadene som stär der. Bruk dette bra克斯anvisningen til ä gjore deg kjent med produit etlags om riktig og sikkerBruk.

Av hensyn til sikkerheden er det ikke tillatt for barn og ungdom under 16 År, eller personer som ikke har gjort seg kjent med这部分 bruksanvisningen, Å bruke dette produktet. Personer med reduserte fysisiske eller mentale fertigheter kan kunbruke produkt hem de overvåkes eller instrueres av en ansvarlig person.
Innhold:
Oppbevardennebruksanvisningenpæet sikkertsted.
- Bruksomrade for GARDENA ErgoJet 3000 90
- Sikkerhetsinstruksjoner. 91
3.Montering 94
4.Bruk. 96
5.Lagring 98
6.Vedlikehold. 99 - Feilsøking 100
8.Tekniske data 101 - Service/garanti 101
1. Bruksområde for GARDENA ErgoJet 3000
Riktig bruk som blåser:
GARDENA ErgoJet 3000 egner seg til Å blase bort skitt, klippet gress eller lignende fra innkjorsel, fortau, patio osv. og til Å blase klippet gress, stråller blader i hauger, eller fjerne skitt fra hjørner, rundtammenføyninger erller mellom steiner og heller.
Riktig bruk som suger:
GARDENA ErgoJet 3000 egner seg til Å suge opp tørre materialer, sik som blader, gress, små kvister og papirbiter.
FARE!
Fare for personskade!

Dette Produktet kan,vare farlig,hvis det ikke brukes riktig. Advarslene og sikkerhetsinstruksene ma følges for á ivarena sikkerheten og effektivitet nár dette Produktet brukes. Brukeren er ansvarlig for á følge advarslene og instruksjönene i,thisBruksanvisningen ogprouktet. Bruk aldri dette Produktet,hvis ikke deklene og skjermene fra produsenten er i riktig posisjon.
2. Sikkerhetsinstruktjoner
Vær oppmerksom på sikkerhetsanvisingene på ErgoJet 3000.

ADVARSEL: Dette Produktet kan varefarlag! Uforsiktig eller feil bruk kan fore til alvorlige persorskader.

Sla av! Trekk stopselet ut av stikkontakten forjstering, rengjoring ellherhis kabelen har floket seg ellerr skadet.

Les bruksanvisningen nøye, sik at du er sikker på at du har forstatt funksjonene til alle kontrollene.

Bruk av beskyttelsesbriller og hørssvern anbefales.

ADVARSEL: Les alle sikkerhetsadversler og alle instruksjoner. Hvis du ikke følger advarslene og instruksjonene, kan det före til elektrisk stæt, brann og/eller alvorlig persorskade
Ta vare på alle advarsler og instruksjoner for fremtidig referanse. Begrepet "elektroverktøy" i advanslene gjelder for elektriske verktøy som drives fra stromnettet via kabel.
c) Ikke blas avfall mot tilskuere.
Operatoren aller brukeren er ansvarlig for ulykker aller farer som andre personer aller andres eiendeler utsettes for.
d) Hold arbeidsområdet rent og godt belyst.
Rot og darylig lys oker risikoen for ulykker.
e) Du mägressive bruke elektroverktøy i eksplo-sive miljoer, for eksempel hvis det er brannfarlig væske, gass eller stov til stede.
Elektroverktoy genererer gnister som kan antennene stov aller damp.
2) Elektrisk sikkerhet
a) Stöpselet på elektroverktøyet på passé i stikkontakten. Du på aldri modifisere stöpselet på noen måte. Du på违法犯罪e bruke noen adapterplugg med et jordet elektroverktøy. Bruk kun en strøm Forsyning som er i overensstemmelse med spenningen som er oppgitt påproduktes typeskit. Du på under ingen omstendigheter koble til en jordleder til noen del av produitet. Når Stöpselet/pluggen ikke er modifisert og stikkontakten passer vil det reduere faren for elektrisk stav.
b) Unngå kroppskontakt med gjenstandersom er jordet, for eksempel rør, radiatorer,komfyr og kjoleskap.Det er storre fare forelektrisk stot hvis kroppen din er jordet.
c) Ikke utsett elektroverktøy for regn eller annen form for væske.
Hvis detkommen vann inn i et elektroverktoy, oker faren for elektrisk stot.
d) Vær forsiktig med kabelen. Du på aldri bruke kabelen til Å böre eller trekke elektrøverktøyet, eller holde i kabelen när du trekker stöpselet ut fra stikkontakten. Hold kabelen unna varme, olje, skarpe kanter og bevegelinge deler. Kontroller kabelen for skade førBruk. Skift kabelen hvis den viser tegn til skadeEll er alding. Produktet må ikke brukes hvis den elektriske ledningen er skadet er slitt. Hvis kabelen er kuttet er isolasjonen er skadet
má strømmen Øyeblikelig kobles fra. Ikke rør den elektriske kabelen for strømmen er koplet fra. Ikke reparer en kuttet eller skadet ledning, skift den ut med en ny.
En skadet eller sammenfiltret kabel øker faren for elektrisk stot.
e) Den elektriske kabelen@må ikke vare sam- menkveilet. En sammenkveilet kabel kan bli overopphenet og redusere produktets effektivitet. Pass pà at det ikke blir knekk på kabelen nár du kveiler den opp.
f) När du bruker et elektroverktøy utendørs, bruk en forlengelseskabel som er egnet for utendørs bruk, og som er utstyrt med en kontakt i samsvar med IEC 60320-2-3.
Bruk av kabel for utendors bruk reducerer faren for elektrisk stot.
g) Hvis bruk av et elektroverktøy pæ et fuktig sted ikke er til ø unngå, bør detøre koblet til en strømkrets som er beskyttet av jordfeilbryter. Vi anbefaler ø bruke en feilstrømbryter med en merkeceilstrøm pæ ≤ 30 mA. Selv med en reststrømanordning installiert kan det ikke garanteres 100% sikkerhet, og trygge arbeidsrutiner mæ folges til enhør tid. Sjekk din reststrømanordning haver gang du bruker den. Bruk av jordfeilbryter reduuserer faren for elektrisk stat.
3) Personlig sikkerhet
a) Vær arvåken, se hva du gjør, og bruk sunn fornuft nár du arbeider med elektroverktøy. Du mær ikke bruke elektroverktøy his vis du er trøtt ell erpivirket av narkotika, alkohol ell medicamenter. Et øyeblinkks uoppmerksomhet nár du bruker elektroverktøy kan fore til alvorlig personskade.
b) Bruk personlig beskyttelsessutstyr. Bruk alltid vernebriller og horselsvern. For forhindre irritasjon fra stov, anbefaler viBrukv beskyttelsesemiske.
Beskyttesesutstyr som vernebriller, horselven, stavmaske, sklisikre sko og hjelm nár forholdene tilsier det vil gi færre persorskader.
c) Forebygg utilsiktet starting. Kontroller at bryteren er i av-posisjon før du kobler verktoyet til en strmkilde og for du lfter opp/ bær verktoyet. Hvis du bærer elektroverktoy med fingeren pa bryteren eller kobler strm til verktoy som star pa, øker faren for ulykker.
d) Ikke strekk/boy deg for langt. Stå stott og hold god balanse til enhver tid. I bakker ma du voere esktra omhyggelig med fotfestet og bruke skotøy som ikke skhir. Ikke gå baklengs när du klipper, du kan snuble og risikere Å få føttene under klippenen. Du ma kun gå,
aldri lope. Du mä ikke bruke produktet mens du stär i stige. Dette gir bedre kontroll over elektronverktjotyet i uventede situasjoner.
e) Bruk riktige klær. Ha alltid på deg egnet arbeidstøy, hansker og vernesko. Ikkebru kelse klær eller smykker. Hold haret, klærne og hanskene unna bevegelige deler.
Lose kraer, smykker ellr langt hare kan henge seg fast i deler som beveger seg.
4) Bruk og vedlikehold av elektroverktoy
a) Apparatet mä kun brukes på den maten og til de formål som er beskrevet i/DDne braksanvisingen. Sorg for at ledningen alltid fores på baksiden, unna produkt. Ikke bruk kraft på elektroverktøyet. Bruk riktig verktoy til den aktuelle oppgaven.Det riktige elektroverktoyet vil giore jobben bedre og sikrere i den hastigheten det er konstruert for a arbeide med.
b) Kontroller alltid at produitet er i sikker stand for bruk. Du ma盗窃 bruke elektroverktoyet his vnderen icke slar det pa og av. Vit alltid hvordan du raskt kan sla av apparatet i en noedsituason.
Ethvert elektroverktøj som/DD ke kan styres med bryteren er farlig og ma repareres.
c) Viften fortsetter Å rotere etter atprodukter slätt av. Motoren må vår slätt av og viftebladet ære helt stanset for Å unngå skade fra de roterende bladene.
e) Oppbevar elektoverktoy utilgjengelig for barn, og/DDke la personer som/DDke er kjent med verktoyet og disse instruksjonene betjene elektoverktoyet.
Et elektroverktoy er farlig i hendene til personer som ikke har opplæring i Å bruke det.
f) Vedlikehold av elektroverktøy. Kontroller for feil innretting av festende eller bevegelige deler, brudd på deler ull andre tilstandersom kan pavisirke elektroverktoyets funksjon. Hvis elektroverktoyet er skadet, ma det repa- reres for bruk. Hold alle inntak fri for rusk.
Mange ulykker skyldes darelig vedlikeholdt elek- troverktoy.
g) Bruk elektroverktøyet og tilbehoret i samsvar med disse instruksjonene, og med arbeidsforholdene og arbeidet som skal utfores. Bruk kunprodukter i dagslys eller med god belysning.
Bruk av elektroverktoy til andre oppgaver enn det er laget for kan fore til farlige situasjoner.
5) Vedlikehold og lagring
La en kvalifisert tekniker/reparator utfore service, og gjore eventuelle utskiftninger kun med identiske resvedeler. Dette vil sikre at elektroverktoyets sikkerhet opprettholdes.
Pass på at alle muttere, bolter og skruer er godt strammet, sik at apparatet alltid er i sikker driftsmessig stand.
-Av sikkerhetsgrunner bør du alltid skifte ut skadde eller slitte deler umiddelbart.
- Bruk kun originale reservedeler og tilbehør.
- Kontroller oppsalingsposen regelmessig.
Hvis oppsalingsposen blir slitt eller skadet, på den skiftes.
Lagre apparatet på kjolig og tört sted der den er utilgengelig for barn. Må ikke lagres utendørs.
Sikkerhetsadoversler for blaser
- Kontroller arbeidsområdet før duBruker apparatet.
Fjern alt rusk og harde gjenstander, slick som stein, glass staltrad osv., som kan sprechte tilbake, bl kastet rundt eller på annen mæte forårsake skader på personer eller gjenstander under bruk.
- Bruk aldri apparatet uten riktig utstyr pâmontert.
När apparatet brukes som blaser, mæ et blaseror alltid ære pamontert. Bruk kun anbefalt tilbehör for á forebygge persönskade.
- Ikke bruk blåseren i nærheten av böla, ildsted, grill, askebeger e-l.
Riktig bruk av blåseren vil forebygge brannfare.
- Plasser aldri noen gjenstander inni blaseroret. Blas alltid rusket bort fra mennesker, dyr, glass og massive gjenstander som trær, biler, vegger osv.
Luftstrålen kan fore til at steiner, jord eller pinner blir slynet ut erller sprettter tilbake og kan skade mensesker ull dr, knuse glass desser fore til andre skader.
- Må aldri brukes til spedning av kjemikalier, gjödsel eller andre stoffer.
Dette er for a unngå spredning av giftig materiale.
- Stopp motoren og koble fra forlengelseskabelen for du apner luken til luftinntaket aller forsoker a sette inn erler sugerorene.
Motoren må vår slätt av og viftebladene vare helt stanset for Å unngå skade fra de roterende bladene. - Kontroller arbeidsområdet før du bruker apparatet.
Harde gjenstander kan kastes gjennom opp-samlingsposen erker kabinettet og bl farlige missiler som kan forarsake alvorlig personskade pa brukeren erler andre. - Du MMAkke suge inn steiner, grus, metall, knust glass e.l.
Riktig bruk av produitet vil redusere risikoen for personskade og/eller skade på produitet. - Du pågressive forsoke á suge inn vann eller andre væsker.
Hvis detkommen vann ell andre vasker inn i et elektrovertoy, oker faren for elektrisk stot. - Bruk aldri apparatet uten riktig utstyr pâmonert. Nár sugefunksjorden brukes, mä sugerøre og oppsamlingsposed alltid være installiert. Kontroller at oppsamlingsposener helt lukket nár apparatet gár for á unngá at partikler slyngses ut. Bruk kun anbefalt tilbehør.
- Du må ikke suge opp brukte fyrstikker, sigarer, sigaretter eller aske fra ildsted, grill, bål osv.
Unngå situasjoner som kan antennene oppsm
lingsposeden. For a unngå spredning av ild,
mä du ikke bruke blåseren i nærheten av
lov-ller buskbranner, ildsteder, griller,
askebegre osv.
- Bruk alltid skulderstroppen nár du bruker sugefunksjonen.
Dette vil bidra til at du holder kontroll over elektroverktøyet.
- Kontroller luftinntaksapningene, vinkelroret og sugerorene ofte, og alltid etter at apparatet er stoppet og koblet fra strm-kilden.
Hold luftinntak og rør frie for rusk som kan samle seg opp og blokkere luftstrømmen. Må ikke brukes hvis noen av Åpningene er blokkert. Holds fri for stov, lo,帽子 og annet som kan redusere luftstrømmen.
3. Montering

ADVARSEL: Stans apparatet og koble fra forlengelseskabelen ffor du apner innsugingsdekselet erler forsaker Å sette på erler ta av blaseroret aller sugerorene.
Motoren på vår slätt av og viftebladene vår helt stanset for Å unngå skade fra de roterende bladene.
Montere blaseroret:

- Rett inn sporene på blåserøret ① etter sporene på blåserutløpet ②.
- Skyy blaseroret inn pa blaserutlopet sik at det klikker pa plass (roret er festet til blaseren med frigjoringsknappen ③.
- När du skal ta av blaserøret, trykk på frigjøringsknappen ③ mens du trekker i røret.
MERK: En sikkerhetsbryter vilhindre apparatet fra a starte hvis blaseroretIkke er riktig installment.
Montere sugerorene:

- Åpne inntaksdekselet ④ ved Å frigjore låsen ⑤ som vist, og trekke opp hjelpehändataket for suging ⑥.

- La lASN klikke pa plass i det bakre handtaket pa blaseren ⑦. Sorg for at stromkabelen ⑧ er fri.

- Sett hengselet 12 pà det Øvre røret inn i kroken 11 pà undersiden av apparatet.
- Bruk bakken som stotte 18, og vipp blåseren slick at roret klikker på plass i holderne 14 på blåseren.
MERK: En sikkerhetsbryter vilhindre apparatet fra Å starte hvis sugerøne ikke er riktig installment.
"Klikk"

Feste opposamlingsposen:

- Rett inn sporene på vinkelrøret ⑤ etter sporene på blåserutløpet ②.
- Skyy vinkelrøret inn på blåserutgangen til det klikker på plass, og vinkelrøret holdes på plass av frigjøringsknappen ③ for røret.
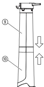
- Hekt oppsamlingssposen 16 på loka kene på det øvre 9 og det nedre sugeroret 10.
MERK: En sikkerhetsbryter vilhindre apparatet fra a starte hvis vinkelroret ikke er riktig installment.
Endre apparatet fra suger til blaser:
- Stopp apparatet og koble fra forlengelseskabelen.
- Ta av vinkelroret og oppsamlingsposeden.
3.Ta av sugerorene ved Å frigjore lassen på dekselet for sueinntaket og rotere dekselet inntl rorene er frigjort fra lasene på holderne. - Lukk inntaksdekselet og forsikre deg om at det er laut pa plass.
- Monter blåserøret på apparatet igjen. Se FESTE BLÅSERØRET for instruksjoner om hvordan dette delen installereres.
MERK: En sikkerhetsbryter vilhindre apparatet fra a starte hvis inntaksdekselet ikke er lately skikkelig på plass.

4. Bruk

ADVARSEL: Bruk ikke apparatet uten at rørene og oppsamlingsposen er riktig montert, for Å unngå flygende rusk og/eller kontakt med viftebladet, som kan före til alvorlig persorskade.
Bruk alltid hansker og beskyttelsebriller for a hindre at steiner erler rusk blaser eller sprettter tilbake inn i oynene og ansiktet, sider det kan fore til blindhetller annen alvorlig persorskade.
Kabler:
Bruk kun strømkabel med 1,00 mm² tverrsnitt og maksimal 40 meter lenghte.
Maksimal effekt:
Kabel med 1,00 mm² tverrsnitt 3000 W
Strømkabler og forlengelseskabler kan kjopes fra et lokalt godkjent servicesenter. Bruk kun forlengelseskabel som er laget for utendørsBruk.
Sett AV/PA-bryteren ② til pa-positjon (I) for a sla apparatet pa.
MERK: Motorhastigheten kan økes og reduseres med den trinn-lose hastighetskontrollen ②.
FORSIKTG: For jegå skade apparatet, på kun bruke den trinnløse hastighetskontrollen i blasemodus. DU MÅ IKKE forsøke Å bruke den trinnløse hastighetskontrollen i sugemodus. Lavere hastighet ved bruk av sugefunksjon kan fore til at risk og skitt samler seg opp slick at motoren og apparatet stopper.
Slå blåseren av:
Nár du skal stoppe apparatet, sett AV/PA-bryteren ② til AV-posisjon (0).
Arbeidsposisjoner:

Blasermodus
Bruk apparatet som blase til Å blase bort skitt, klippet gress erler lignende fra innkjorsel, fortau, patio osv. og til Å blase klippet gress, stråller blader i hauger, eller fjerne skitt fra hjørner, rundt sammenføyninger erler mellom steiner og heller.
Du kan bruke den trinnlose hastighetskontrollen til Å öke aller redusere motorhastigheten när apparatet brukes som bläser. Styr luftströmmen ved Å rette bläseroret ned eller til en av sidene.
Blås alltid bort fra faste gjenstander, sik som fortauskanter, store steiner, kjoretøy og gjerder.
Rengjør hjørmer ved Å starte i hjørnet og bevege deg utover.
Dette hinder oppsamling av rusk som kan fyke opp i ansiktet ditt.
Vær forsiktig nár du arbeider i nærheten av planter.
Lufttrykkek kan skade planter.

Sugermodus
Bruk apparatet til oppsuging av tort materiale, slick som blader, gress, sma kvister og papirbiter.
For best resultant med sugefunksjonen bør motoren gå med full hastighet.
Beveg apparatet frem og tilbake over materialet du skal suge opp. Kjør aldri apparatet inn i en haug med rusk, sider det kan före til at apparatet tilstoppes.
ADVARSEL: Hvis apparatet tilstoppes,andise stoppe det og koble fra forlengelseskabelen. Vent til viftebladet har stanset welt, og ta deretter av sugerorene. Før handen forsiktig inn i sugeapningen, og fjern rusket som blokkerer apparatet.
Dette reduserer faren for personskade fra viftebladet.
5. Lagring
| Lagring: | Wed lagring skal apparatet alltid+vare frakoblet strøm og utilgjengelig for barn. |
| Overvintrning: | 1. Slå av apparatet og koble det fra strømnettet. 2. La motoren avkjøle seg før lagring eller transport. 3. Lagre apparatet med alle skjermer på plass. Plasser apparatet slik at ingen skarpe gjenstander kan före til skade. |
| Klargjør apparatet for lagring ved slutten av sesongen eller hvis det ikke skal brukes på 30 dager eller mer. | |
| Hvis blåseren skal lagres for enperiode: | |
| 1. Slå av apparatet og koble det fra strømnettet. | |
| 2. Rengjør—hele apparatet dersom det skal lagres for en lengre periode. | |
| 3. Åpne innsugingsdekselet, og fjern alt skitt, gress erller rusk som har samlet seg. Kontroller blåseren og alle rørene. Lukk dekselet og forsikre deg om at det er{låst på plass. | |
| 4. Bruk en myk børste tilær rengjørle luftåpningene og luftinntaket for rester og partikler. Du,mã ikke bruke vann. | |
| 5. Lagre apparatet og forlengelseskabelen på et sted med god ventilasjon og om mulig tildekket, slick at det ikke samler seg støv og rusk på det. Mã ikke tildekkes med plast. Plast puster inkke og kan derfor före til at det dannes kondens og dermed rust og korrosjon. | |
| 6. Kontroller—hele apparatet for lõse skruer. Skift ut alle deler som er skadet, slitt aller ødelagt. | |
| 7. Ta av røret/røne for enklere lagring. | |
| Kassering: (i henhold til EU-direktiv 2002/96/EC) | Detteprodukter,mã ikke kasseres som vanlig husholdningsavfall. Det,mã kasseres i henhold til gjeldende lover for miljøvern og avfallsbehandling. |
6. Vedlikehold

ADVARSEL: Stopp apparatet og koble fra forlengelseskabelen før du utfører noen justeringer, skifter tilbehør eller utfører vedlikehold.
Slike forebyggende sikkerhetstiltak reduserer faren for a starte elektroverktoyet ved et uhell.
FØR HVER BRUK
Se etter lose festemidler aller andre deler:
Pass på at alle muttere, bolter og skruer er godt strammet, slick at apparatet alltid er i sikker driftsmessig stand. Sørg for at alle deler monteres riktig.
Innsugingsdeksel
- Blåserør
Sugeror
- Oppsamlingspose
Se etter skadde ell er slitte deler:
Kontakt et autorisert serviceverksted hvis du skal skifte ut skadde aller slitte deler.
- AV/PA-bryter - Forsikre deg om at bryteren fungerer som den skal ved Å sette den i stillingen AV (OFF). Forsikre deg om at motoren stopper. Slå deretter motoren på igjen og fortsett.
- Innsugingsdeksel - Bruk ikke apparatet dersom innsugings-dekselet ikke smekker skikkelig igjen eller hvis det er skadet på annen på.
ETTER HVER BRUK
Kontroller og rengjør apparatet og etikettene:
- Etter haver bruk mä du kontrollere hele apparatet for Å se at ingen deler er lõse ell skadet. Rengjör apparatet med en fuktig klut.
- Tørk av apparatet med en ren og tørr klut.
- Du mà tòmme oppsamlingsposen ordentlig og vedlikeholde den, for á holde den i god stand oghindre at luftströmmen blokkeres.
- Fjern oppsamlingsposen fra apparatet og tøm den etter haverbruk. Sett ikke posen til lagring uten at du har tomt den helt forinnhold (gress, løv osv.).
- Vask posen en gang i Året. Fjern posen fra blåseren og vreng den. Vask posen med en vannslange. Heng opp posen og la den tørke helt før du bruker den igjen.

ADVARSEL: Hvis apparatet tilstoppes, ma du stoppe det og koble fra forlengelseskabelen. Vent til viftebladet har stanset welt, og ta deretter av sugorene. Før händen forsiktig inn i sugeapningen, og fjern rusket som blokkerer apparatet.
Dette reduserer faren for personskade fra viftebladet.
Fjerne en gjenstand fra luftinntaket:
- Ta av sugerorene.
- Før händen forsiktig inn i sugeåpningen, og fjern alle fremmedlegemer fra luftinntaksområdet. Fjern alt rusk fra viftebladet.
- Kontroller at det ikke er sprekker i viftebladet. Hvis bladet har sprekker eller er skadet, på du ikke bruke apparatet. La en autorisert serviceforhandler skiffe deler ved behov. Du på ikke forsøke Å skifte dem selv.

7. Feilsøking

ADVARSEL: Du mä alltid stoppe apparatet og koble fra forlengelseskabelen för du utfører noen av kontrollene under, bortsett fra de som skal utføres när apparatet er i gang.
Motoren på vår slätt av og viftebladene vår helt stanset for Å unngå skade fra de roterende bladene.
| Problem | Mulig ørsak | Løsning |
| Apparatet virker ikke. | 1. Bryter i AV-stilling (0). | 1. Sett bryteren i PÅ-posisjon (I). |
| 2. Forlengelseskabel frakoblet. | 2. Koble til forlengelseskabelen. | |
| 3. Sikringsbryter utløst eller sikring gätt. | 3. Tilbakestill kretsbryteren eller skift sikringen. | |
| 4. Blåserør, vinkelrør og/eller sugerør ikke riktig installert. | 4. Kontroller at rørene er riktig installert. | |
| 5. Oppsamlingsposen er full. | 5. Tøm oppsamlingsposen. | |
| 6. Mekanism feil. | 6. Kontakt din autoriserte serviceforhandler. | |
| Apparatet vibrerer for mye. | 1. Mekanism feil | 1. Kontakt din autoriserte serviceforhandler. |
| Viftebladet roterer ikke fritt. | 1. Rusk og skitt i luftinn-taksområdet. | 1. Rengjør apparatet. Fjern alt rusk. |
| 2. Mekanism feil. | 2. Kontakt din autoriserte serviceforhandler. |

For andre feil, vennligst Kontakt en serviceavdeling for GARDENA. Reparasjoner må utføres av en GARDENA serviceavdeling eller en spezialistforhandler som er autorisert av GARDENA.
8. Tekniske data
| Motor - strømforbruk | 3000 W maks. |
| Spenning i strømnett | 220 – 240 V |
| Frekvens | 50 Hz |
| Luftstrøm ved suging | 170 l/s |
| Komprimering | 16:1 |
| Blåsehastighet | Maks. 310 km/t |
| Vekt blåser/suger | Maks. 4,5 kg |
| Oppsamlingsposens kapasitet | 45 l |
| Arbeidsplassrelatert lydtrykknivå | 82,6 dB(A), KpA: 3,0 dB(A) |
| Støynivå Lw2) | Målt 99 dB(A) / garantert 102 dB(A) |
| Händ-/armvibrasjon avh w1) | 3,92 ms2, K: 1,5 ms2 |
9. Service/garanti
Garanti:
GARDENA yter 2 Års garanti for dette Produktet (fra kjøpsdato). Denne garantiytelsen gjelder for alle vesentlige mangler på redskapet som påviselig kan tilbakeføres til material- eller fabrikasjonsfeil. Den skjer ved Å skifte det ut med et feilfritt redskap eller ved gratis reparasjon av det innsendte redskapet etter vårt valg, hvis følgende forutsetninger er gitt:
- Redskapet ble behandlet sakkyndig og ifolge anbefalingene iBruksanvisningen.
- Verken kjøperen eller en tredje person har forsøkt Å reparere redskapet.
EnkelManual