Ergojet 3000 - Imuri puhallin GARDENA - Ilmainen käyttöohje ja opas
Löydä laitteen käyttöohje ilmaiseksi Ergojet 3000 GARDENA PDF-muodossa.
Käyttäjien kysymyksiä aiheesta Ergojet 3000 GARDENA
0 kysymys tästä laitteesta. Vastaa tuntemiisi tai esitä omasi.
Esitä uusi kysymys tästä laitteesta
Lataa ohjeet laitteellesi Imuri puhallin PDF-muodossa ilmaiseksi! Löydä käyttöohjeesi Ergojet 3000 - GARDENA ja ota elektroninen laitteesi takaisin hallintaan. Tällä sivulla julkaistaan kaikki laitteidesi käyttöön tarvittavat asiakirjat. Ergojet 3000 merkiltä GARDENA.
KÄYTTÖOHJE Ergojet 3000 GARDENA
Alkuperäisten englanninkielisten käytöhjeiden kännös.
Lue käytööhjeet huolellisesti ja noudata annettuja ohjeita.
Käytä naita käyttohjeva tuotteseen, sen oikeaan käyttoen ja turvaohjeisiint utustumiseen.

Turvallisuussyistä lapset, alle 16-vuotiaat nuoret ja henkilöt, jotka eivät ole tutustuneet nainhin käyttohjeisiin, eivät saa käyttaa tuotetta. Henkilöt, joiden fyysinen tai henkinen toimintakyky on heikentynyt, saavat käyttaa tuotetta vain vastuullisen henkilön valvonnassa tai opastamana.
Sisallysluettelo:
Pidä namä käyttoohjeet tallessa turvallisesa paikassa.
- GARDENA ErgoJet 3000 -puhaltimen käyttoalue. 78
- Turvallisuusohjeet 79
- Kokoonpano 82
- Kayttö 84
5.Varastointi 86
6.Huolto 87 - Vianmärits 88
8.Tekniset tiedot 89
9.Huolto/Takuu 89
1. GARDENA ErgoJet 3000 -puhaltimen käytöalue
Oikea käytö puhaltimena:
GARDENA ErgoJet 3000 sopi käytettväksi puhaltimena roskien tai ruohonjätteiden poistamiseen ajoteiltä, jalkakäytäviltä, pihoilta jne. ja ruohonjätteiden, olkien tai lehtien puhaltamiseen kasoihin tai roskien poistamiseen nurkista, liitosten ympärälta tai tilien välista.
Oikea käytö imurina:
GARDENA ErgoJet 3000 sopii kaytettavaki imurina kuivan materiaalin, kuten lehtien, ruohon, pienten tikkujen ja paperinpalasten keräämseen.
VAARA! Tapaturmavaara!

Väärin käytettnä tuote voi olla vaarallinen. Varoituksia ja turvallisuusohjeita on noudatettava tuotteen käytöturvalisuuden ja tehon takaamiseksi. Käytäjan velvolisuus on noudattaa tämän käytöhjeen sisälämiä ja tuotteessa olevia varoituksia ja ohjeita. Älä koskaan käytä tuotetta elleivät valmistajan toittamat suojukset ole oikein paikoillaan.
2. Turvallisuusohjeet
Huomioi ErgoJet 3000:ssa olevat turvaohjeet.

VAROITUS: Tämä tuote voi olla vaarallinen! Huolimaton tai värä käytö voi aiheuttaa vakavia tapaturmia.

Lue käytöohjeet huolellisesti ja varmista, etta ymmärät kaikkien hallintalitteiden toiminnan.

Alä altista sateelle. Alä jatà tuotetata ulos sateeseen.

Sammuta! Kytke pistoke irti sähköverkosta ennen säätämistä tai puhdistamista tai jos virtajohto on solmussa tai viottunut.

On suositeltavaa kayttä
suojalaseja ja kuulonsuojaimia.

Pida sivulliset loitolla.
Sähkötyökalujenyleiseturvavaroitukset

VAROITUS: Lue kaikki turvavaroitukset ja kaikki ohjeet.
Varoitusten ja ohjeiden noudattamisen laiminlyominen voi johtaa sahköiskuun, tulipaloon ja/taivakavaant apaturmaan.
Laita kaikki varoitukset ja ohjeet talteen
vastaisenv aralle. Varoituksissa oleva sana "sahkötyokalu" viittaa sahköverkkoon kytkettyyn (johdolliseen) sahkötyokaluun.
1) Työalueen turvallisuus
a) Tātā tuotetta ei ole tarkoitettu fyvisiltä tai henkisiltä kyvyiltään tai aisteiltaan rajoittuneiden taikka kokemusta ja tietoa vailla olevien henkilöiden (eikälasten) kāyttoön, jollei heita valvo tai ohjaa tuotteen kāytössa joku, joka vastaa heidān turvallisuudestaan. Lapsia on valvottava, jotta he eivat leiki tuotteen kanssa. Paikalliset saännokset voivat rajoittaa kāytäjan ikää. Ålä koskaan anna lasten tai muiden henkilöden, jotka eivat ole tutustuneet naihin kāyttoohjeisiin, kāyttaa tātā konetta. Sāhkötyokalut ovat vaarallisia taitamattomien kāytäjien käsissä.
b) Pida lapset ja svulliset etaallä sahkotyokaluak ayttaesii. Hairitsevat tekijat voivat aiheuttaa hallinnan menettamisen.
c) Älä koskaan puhalla roskia sivustakatsojia kohden. Käytäjä on vastuussa muille henkilöille tai heidän omaisuudelleen aiheutuvista vahingoista tai vaaroista.
d) Pida työalue puhtaana ja hyvin valaistuna. Sotkuisilla tai pimeillä alueilla onnettomuksia tapahtuu useammin.
e) Älä käytä sähkötyökaluja rajähdysvaarllissessa tilassa, esimerkiki tilassa jossa on tulenarkojaNSTeita, kaasuja tai polyä.
Sahkötyokalut synnyttavat kipinoita, jotka voivat sytyttaa polyn tai hoynr.
2) Sahkoturvallisuus
a) Sähkötyokalun pistokkeen taytyy vastata pistorasiaa. Alä koskaan muuta pistoketta millaan tavoin. Alä käytä soviteosia maadoitettujen sähkötyokaljen kanssa. Käytä vain vaihtovirtasyöttöä, Jonka jannite vastaa arvokilven tietaja. Tuotteen mihinkaan oasan ei missän tapauksessa saa kytkeä maattoa. Muuttamattomat pistokkeet ja sopivat pistorasiat vahentavt sähköiskun vaaraa.
b) Välta kehon kosketusta maadoitettuihin pintoihin, kuten putkiin, pattereihin, liesiin tai jäkaappeihin. Sahköskuvaara lisäantyy, jos keho koskee maadoitusta.
c) Älä altista sahkötyokalua sateelle tai kosteudelle.
Sahkötyokaluun päässyt vesi lisäa sahköiskuvaaraa.
d) Älä käytä virtajohtoa vaärin. Älä koskaan käytä johtoa sahkötyokalun Kantamiseen, vetämiseen tai pistokkeen irrottamiseen pistorasiasta. Pidä johto etäälla kuumuudesta, öljystä, terävista reunoista tai liikkuvistaa osista. Tarkista, ettei johto ole vahingoittunut ennen kuin käytät sitä. Vaihda johto, jos sinä nakyk ymerickejviasta tai kulumisesta. Älä käytä ErgJetia, jos sahköjohdot ovat rikkai taki kuluneet. Irrota ruhonleikkuri valittö-masti virtälähteestä, jos johtoon tulee vilto, tai jos eristys särky. Älä koske johtoon, ennen kuin se on irrotetu virtälähteesti.
Alä korjaa tai leikkaa vahingoittunutta johtoa, vaan vaihda se uuteen. Vialiset tai solmussa olevat johdot lisävät sahköiskuvaaraa.
e) Sähköjohdot tāytyk kerä auki. Kerällä olevat johdot voivat kuumentua ja heikentä tuotteen tehoa. Keri johto aina varovasti, välta sykkyröitä.
f) Kun kaytät sähkötyokalujaulkona, kaytaulkokayttoön sopivaa jatkojohtoa, joka onkiinnitetty standardin IEC 60320-2-3 mukaisella liittimella. Ulkokayttoön sopivan johdon kayttäminen vahentä sahköiskuvaaraa.
g) Mikäli sähkötyökalun käytämistä kosteassa ei voida välttä, käytä syöttöä, jossa on vikavirtasuojakytkin (RCD). Suosittelemme vikavirtasuojakytkimen käyttoä, Jonka nimellisviikavirta on ≤ 30 mA. Jännösvirtalaite ei takaa 100% suojausta, joten turballisia työskentelytapoja täytyy noudattaa aina. Tarkista jännösvirtalaite jokaisen käytökerran yhteydesa. Vikavirtasuojakytkimen käytäminen vähentä sahköiskuvaaraa.
3) Henkiloturvallisuus
a) Ole tarkkana, katso mitä teet ja käytä tervettä järkeä sahkötyokalua käyttaessä. Alä käytä sahkötyokalua ollessasi vasynyt tai huumeiden, alkoholin tai läkkkeiden vaikutuksen alainen. Hetken tarkkaamattomius sahkötyokalun käytön aikana voi johtaavakavaan tapaturmaan.
b) Käytä henkilonsuojaimia. Käytä aina suoja-laseja ja kuulonsuojaimia. Suosittelemme kasvosuojuksen käyttoä polyarsytyksen välttämiseksi. Asianmukaisesti käytetyinä henkilonsuojaimet, kuten suojalasit, kuulonsuojaimet, polyaamari, liukumattomat turvajalkineet tai kypärä vahentavat henkilövahinkoja.
c) Está vahingossa tapahtuva käynistyminen. Varmista, etta kytkin on sammutetussa asennossa ennen kuin kytket laitteen sahköverkkoon, otat sen ylos tai kannat sitä.
Sahkötyokalun kantaminen sormi kytkimellä tai sen kytkemenin sahköverkkoon kytkimen ollessa kaynnistysasennossa aiheuttaa onnettouksia.
d) Älä kurkottele. Säilytä aina tukeva asento ja tasapaino. Ole erittäin varovainen rinteissä ja käytä jalkineita, jotka eivat liu'u. Älä kulje takaperin leikatessasi, sillä voit kompastua. Kävele, älä koskaan juokse. Älä nouse tikapuille tuotetta käyttaessä. Nän hallitset sahkötyoka-lua paremmin odottamattomissa tilanteissa.
e) Pukeudu asianmukaisesti. Käytäina sopivia vaatteita, käsineitä ja tukevia kenkiä. Älä käytä löysiä vaatteita tai koruja. Pidä hiukset, vaatteet ja käsineet etäällä liikkuvista osista. Löysät vaatteet, korut tai pitkä tutka saattavat tartua likkuviin osin.
4) Sähkötyökalun käytö ja houlto
a) Käytä tuotetta näissä ohjeissa kuvatulla tavalla ja niissä kuvattuun tarkoitukseen. Ohjaa joht aina taakse pois laitteen luota. Älä ylikuormita sahkötyokalua. Käytä tarkoitukseen soveltuvaa sahkötyokalua.
Oikea sahkötyokalu tekee työn paremin ja turvallisemmin sillä kuromituktushella, jota varten se on suunniteltu.
b) Tarkista aina, etta ErgoJet puhallin on turvallisessa toimintakunnossa ennen kayttoa. Alä kayta sahkötyokalua, jos kytkin ei kaynnistä ja sammuta sitä. Opettele miten tuote pysaytetaan nopeasti hatätilassa.
Sahkötyökalu, jota ei voi hallita kytkimellä, on vaarallinen ja se taytyy korjata.
c) Juoksupyörä jatkaa pyörimistaän koneen sammuttamisen jälkeen.
Moottorin ja juoksupyörän siipien pyörimens täytyy olla pysähtynyt, jotta valtetaan liikuvien siipien aiheuttama tapaturmavaara.
d) Kytke tuote irti sahkönsyötosta:
- ennen koko roskasäillön irrottamista tai vaihtamista
- ennen tuotteen jattamista ilman valvontaa
- ennen juuttumisen korjaamista
- ennen laitteen tarkistamista, puhdistamista tai muita toimenpiteita
- jos tuotteessa alkaa olla epatavallsta tärinä.
Tarkista heti. Liika tärinä voi aiheuttaa tapaturman. - ennen kuin annat laitteen toiselle.
e) Varastoi sähkötyokalut, joita ei käyteta, poislasten ulottuvilta aläkä anna sellaisten henkilöden käyttaa sähkötyokalua, jotka eivat osaa käyttaa sitā tai eivat tunne naita ohjeita. Sähkötyokalut ovat vaarallisia taitamattomien käytäjien käsissä.
f) Sähkötyökalun kunnossapito. Tarkista, etteivat liikkuvat osat ole pois kohdaltaan tai juuttuneet, etta mikaän osa ei ole rikkoutunut ja etta mikaän muu olosuhde ei vaikuta sähkötyökalun toimintaan. Jos sähkötyökalu on vahingoittunut, se tätyty korjautta ennen sen käytämä. Pida kaikiuk autok vapaina roskista. Huonosti huolletut sähkötyökalut aiheuttavat usein onnettomuuksaia.
g) Käytä sahkötyökalua ja sen varusteita näiden ohjeiden mukaisesti otaen huomioon työolosuhteet ja tehtäva työ. Käytä tuotetta vain paivänvalossa tai riittävän hyvässä keinovaliaistukssessa.
Sähkötyokalun käytäminen ennakoiduista poikkeavissa olosuheissa voj johtaa vaaratilanteseen.
5) Huolto ja varastointi
Anna sähkötyökalun korjaaminen päevän korjaajan tehtäväksi, joka käytää vain täysin samanlaisia vaihto-osia.
Se takaa, etta sahkötyokalun turvallisuus sāilyy ennallaan.
- Pidä kaikki mutterit, pultit ja ruuvit kiristettyinä varmistaaksesi koneen turvallisen toimintakunnon.
Vaihda turvallisuuden vuoksi kaikki kuluneet tai vioittuneet osat. - Käytä ainoastaan alkuperäisia varaosia ja varusteita.
Tarkista roskasaiiö saannollisesti. Jos roskasaiio on kulunut tai vahingoittunut, vaihda se. - Sälytä viileässä ja kuivassa tilassa poissa lasten ulottuvilta. Ålä sälytäulkona.
Puhaltimen turvavaroitukset
- Tarkista alue ennen kuin käytät laitetta.
Poista kaikki lika ja kovat esineet, kuten kivet, lasinsirut, johdot jne., jotka voivat sinkoutua, lentaa tai muulla tavoin aiheuttaa tapaturmia tai vahinkoja kayton aikana.
- Alä koskaan käytä laitetta ilman asianmu-kaisia varusteita.
Kun laitetta käytetään puhaltimena, siihen tätyy aina asentaa puhallusputki. Välta tapaturmat käytämälla vain suositeltuja lisälitteita.
- Älä käytä puhallinta lahellä lehtien tai risujen polttopaikkaa, takkaa, grilliä, tuhkakuppiat ms.
Puhaltimen oikea käytö auttaa estämän tulen leviämista.
- Älä koskaan laita mitään esineitä puhallusputkien sisään. Suuntaa puhallus aina poispain ihmisistä, elämistä, ikkunoista ja kiinteistä kohteista, kuten puut, autot, seinätjn e.
Voimakas ilmavirta voi heitttäa tai singota mukanaan kivia, likaa tai puunpalasia, jotka voivat satutta ihmisii tai elaimia, rikkoaikkunoita tai aiheuttta muunlaista vahinkoa.
- Alä koskaan käytä laitetta kemikaalien, Iannoitteiden tai muiden aineiden levittämseen.
Näin välät at myrkyllisten aineiden leviämisen.
Imurin turvavaroitukset
- Sammuta moottori ja irrota jatkojohto ennen imauukon suojuksen avaamista tai ennen kuin yritāt kytkeä tai irrottaa imuputkia.
Moottorin ja juoksupyörän siipien pyörimens täytyy olla pysahtynyt, jotta välteään likkuvien siipien aiheuttama tapaturmavaara.
- Tarkista alue ennen kuin kaytät laitetta.
Kovat esineet voivat sinkoutua keruusällön tai kotelon lapi ja muuttua vaarallisiki ohjuksiki, jotka saattavat aiheuttaa vakavia tapaturmia käytäjälle tai sivullisille.
- Alä imuroi, kiviä, soraa, lasinpalasia tms.
Laitteen oikea käytto vähentä tapaturmien ja/tai laitteen vahingoittumisen vaara.
- Alä yritä imeä vettä tai muita{nesteita.
Sahkötyokaluun päässyt vesi tai muu;neste lisä sahköiskuvaaraa.
- Alä koskaan käytä laitetta ilman asianmu-kaisia varusteita.
Kun laitetta käytetään imurina, sihen tätyy aina asentaa imuputket ja keruusäiliö.
Varmista, etta keruusällökokoonpano on kunnolla kiinni laitteen toiminnan aikana.
Nain välteään roskien lentäminen ulos.
Käytä vain suositeluja lisälaitteita.
- Alä imuroi käytetyjä tulitikkuja, sikaareita, savukkeita tai tuhkaa takasta tai grillista, risukasoja tms.
Välta tilanteita, jotka voivat aiheuttaa
keruusällön sytymisen. Vältaäksesi tulen
leviämistä alä käytä laitetta lehtien tai risujen
polton, tulipesien, grillien, tuhkakuppien jne.
laheisyydessä.
- Käytä imuroidessasi aina olkahihnaa.
Se auttaa hallitsemaan sahktoyokalua.
- Tarkista ilmanottoaukot, kulmaputki ja imuputket usein, tee se kone sammutettuna ja sahkönseyött katkaistuna.
Pida ilmanvaihtoakot ja putket puhtaina keräantyvästa liasta, joka estaa asianmukaisen ilman virtauksen. Ålä käytä konetta, jos jokin aukko on tukossa. Pida ne vapaina polysta, nukasta, hiuksista ja kaikesta muusta, mikä voivahentaa ilman virtausta.
3. Kokoonpano

VAROITUS: Sammuta moottori ja irrota jatkojohto ennen imaukon suojuksen avamista tai ennen kuin yritat kytkeä tai irrottaa puhallusputken tai imuputket.
Mooctorin ja juoksupyörän siipien pyörimisen tätyyy olla pysähtynyt, jotta valttetään liikkuvien siipien aiheuttama tapaturmavaara.
Puhallusputken asentaminen:

- Kohdista puhallusputkessa olevat urat ① puhaltimen ulostulon ② uriin.
- Työnnä puhallusputkea puhaltimen ulostuloon, kunnes se naksahtaa paikalleen. Putken irrotuspainike ③ pitää putken kiinnip uhaltimessa.
- Puhallusputki irrotetaan painamalla irrotuspainiketta ③ ja vetamalli putkea.
HUOMAA: Turvakytkin estaà laitteen käynistymisen, jos puhallusputki ei ole oikein paikallaan.
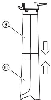
Imuputkien asentaminen:

- Avaa suojus ④ irrottamalla salpa ⑤ kuten kuvassa ja vetamalla ylös apukahva ⑥

- Anna salvan naksahtaa puhaltimen takakahvaan ⑦ Varmista, etta virtajohto ⑧ pysyy vapaana.

HUOMAA: Imuputkia on kaksi, ylempi 9 ja alempi putki 10. Ylemmässä putkessa on kiinnitysosa ja koukut toisesa päässä ja sen molemmat paät ovat tasaiset. Ylempi putki kiinnitetaän puhallusyksikkon. Alemman putken toinen pää on kaareva ja imuroitaessa sitä pidetään maahan pain. Alempi putki kiinnitetaän ylempaän putkeen.
- Alempi imuputki ⑩ kiinnitetään ylempään ⑨ kohdistamalla ensin putkien saumakohdat. Paina sitten putkia yhteen, kunnes alempi putki on kunnolla paikallaan ylemmässä.

- Laita ylemman putken kiinnitysosa ⑫ laitteen alaosan koukkkuun ⑪
- Ota tukea maasta 13 ja kännä puhallusyksikköä, kunnes putkinaksahtaa puhallusyksikon kiinnikkeiden 14 salpoihin.
HUOMAA: Turvakytkin estaà laitteen käynnistymisen, jos imuputket eivät ole oikein paikoillaan.
"Naksahdus"

Keruusällön kiinnittäminen:

- Kohdista kulmaputkessa olevat ⑥ urat puhaltimen ulostulon ② uriin.
- Työnnä kulmaputkea puhaltimen ulostuloon, kunnes se naksaahtaa paikalleen. Putken irrotuspainike ③ pitää putken kiinnu puhaltimessa.
- Kiinnitta keruusällio ⑥ ylemman ⑨ ja alemman imuputken ⑩ silmukoihin.
HUOMAA: Turvakytkin estaà laitteen käynnistymisen, jos kulmaputki ei ole oikein paikallaan.
Olkahihnan kiinnittäminen:

Laitteseen kuuluu olkahihna, joka antaa lisatukea kun laitetta kaytetaan imurina. Kiinnitta hihna laitteseen ennen sen kayttamista. Napsauta koukku kiinnittimeen ①.
Laitteen vaihtaminen imukaytostupa hla linkayttoon:
- Sammuta laite ja irrota jatkojohto.
- Poista kulmaputki ja keruusäiliö.
- Poista imuputket avaamalla salpa imuaukon suojuksssa ja käantämälla kantta, kunnes putket irtovat kiinnittimien salvoist.
- Sulje imaukon sujus ja tarkista, etta se lukittuu kiinni.
- Asenna puhallusputki. Katso kiinnitysohjeet kohdasta PUHALLUSPUTKEN KIINNITTTÄMINEN.
HUOMAA: Turvakytkin estaà laitteen käynnistymisen, jos imuaukon suojus ei ole kiinn.
4. Kaytto

VAROITUS: Älä käytä laitetta ilman oikein kiinnitetyjä putkia tai keruusälliöta, jotta välät at roskien lentämisen ja/tai juoksupyörään koskettamisen, joka voi aiheuttaavakavia tapaturmia.
Käytä aina käsineitä ja suojalaseja, niiden käytäminen estaa kivien ja roskien lentämisen tai sinkoutumisen silmiin ja kasvoille, joka muuten voisi aiheuttaa sokeutumisen taivakavia vammoja.
Johdot:
Käytä vain johtoja, joiden paksuus on 1,00 mm² ja enimmäispituus 40 metria.
Enimmäisluokitus:
johdon paksius 1,00 mm²
3000 W
Virtajtohoja ja jatkojohtoja saa paikallisesta valtuutetusta huoltopisteestä. Käytä vain jatkojohtoja, jotka on erityisesti tarkoitettuul kokäytöön.
Laitteen liittäminen - johtolukko/jatkojhodot:
Tee jatkojohtoon 18 silmukka ja laita se johtolukkoon 19.
Se esta sähkölitännän irtoamisen vahingossa. Kytke se sitten virtajohtoon.


Puhaltimen käynistäminen:

Työasennot:



VAROITUS: Jos laite menee tukkoon, pysaytä se ja irrota jatkojohto. Odota, etta juoksupyörä pysahtyy ja irrota sitten imuputket.
Poista roskat varovasti imuaukosta.
Näin välṭt juoksupyörästä johtuvan tapaturmavaaran.
Puhaltimen kytkeminen toimintaan:
Kytke laite toimintaan viemää virtakytkin 20 asentoon ON (I).
HUOMAA: Moottorin nopeutta voidaan kohottaa tai alentaa käytämälla nopeuden saätokytkintä ②.
VARO: Käytä nopeuden säätokytkintä vain puhallinkäytön aikana, jotta välät laitteen vahingoittumisen. ÄLÄ yritä käyttaa nopeuden säätokytkintä imukäytön aikana. Alhaiset nopeudet imukäytön aikana voivat aiheuttaa roskien keräantymisen, pysäyttaa moottorin ja saada laitteen epäkunteon.
Puhaltimen kytkeminen pois toiminnasta:
Laite sommutetaan viemällä virtakytkin 20 asentoon OFF (0).
Puhallinkäytö
Käytä laitetta puhaltimena roskien tai ruohonjätteiden poistamiseen ajoteiltä, jalkakäytäviltä, pihoilta jne. ja ruohonjätteiden, olkien tai lehtien puhaltamiseen kasoihin tai roskien poistamiseen nurkista, liitosten ympäriltä tai tiillen välista.
Käytä nopeuden säätokytkintä moottorin nopeuden säätamiseen puhallinkäytön aikana. Sääda ilmavirtaus suuntaamalla puhallusputki alas tai toiselle sivulle.
Työskentele aina riittävän kaukana kiinteista kohteista, kuten jalkakäytävista, isoista kivista, ajneuvoista ja aidoista.
Puhdista nurkat aloittaen nurkasta ja edeten ulospain. Talla ravoin estät roskien keräantymisen nurkkaan, josta ne voisivat lentäa kasvoillesi. Ole varovainen työskennellessä iähellä istutuksia. Voimakas ilmavirtaus voi vahingoittaa arkoja kasveja.
Imukaytto
Käytä laitetta imurina kuivan materiaalin, kuten lehtien, ruohon, pienten tikkujen ja paperinpalasten keraämseen.
Käytä imukäytössä korkeaa nopeutta, jolla saat parhaat tulokset.
Imuroideessasi liku hitaasti materiaalin päällä edestakaisin.
Välta laitteen tyontämista roskakasoihin, se voi tukkia laitteen.
Pidä imuputki parin kolmen sentin korkeudella maasta, jotta saat parhaan tuloksen.
5. Varastointi
| Varastointi: | Säilytä laite kytkettynä irti sähköverkosta, poissa lasten ulot-tuvilta. |
| 1. Sammuta laite ja kytke se irti sähkönsyötostä. | |
| 2. Anna moottorin jähtiä ennen varastointia tai kuljetusta. | |
| 3. Säilytä laite kaikki suojukset paikoillaan. Sjoita laite siten,että mikan terävä kohta ei voi vahingossa aiheuttaa vammoja. | |
| Talvisälytys: | Valmistele laite varastointia varten käytökauden pääntyessä taijos sitä ei käytetä ainakaan 30 paivään.Jos puhallin varastoidaan pitkäksi aikaa:1. Sammuta laite ja kytke se irti sähkönsyötostä.2. Puhdista koko laite ennen sen pitkäikaista varastroimista.3. Avaa imaukon suojus ja poista kaikki sisään keräantynyltika,ruoho tai roska. Tarkista puhallin ja kaikki putket. Sulje suojus ja varmista, että se on kunnolla kiinn.4. Puhdista ilmanvaihtoaukot ja ilman sisääntulo roskistapehmeälharjalla. Älä käytä vettä.5. Varastoi laite ja jatkojohto hyvin tuulettuun jaJos mahdollistakatettuun tilaan polyn ja lian keräantymisen valttämiseksi.Alä peitä muovilla. Muovi ei hengitä ja se voi aiheitta,kosteuden tiivistymistä ja mahdollisesti ruostetta tai syöpymistä.6. Tarkista, ettei koko laitteessa ole lõystyneitä ruuveja.Vaihda vauroituneet, kuluneet tai rikkoutuneet osat.7. Irrota putki (putket) varastoinnin helpottamiseksi. |
| Hävittäminen:(Europan Yhteison direktivin2002/96/ETY mukaisesti) | Tätä tuotetta ei saa laittaa yhdyskuntajätteisiin.Se täytyy hättittä paikallisten ympäristönsuojelumäräystenmukaisesti. |
6. Huolto

VAROITUS: Kytke laite pois toiminnasta ja irrota jatkojho t ennen minkaan korjaustoimenpiteen aloittamista, varusteen vaihtamista tai huoltotoimenpiteen tekemistä.
Nämä ennakoivat turvatoimet vähentävat sähkötyökalun vahingossa käynnistymisen vaaraa.
ENNNEN JOKAISTA KÄYTTÖÄ
Tarkista mahdollisesti irronneet kiinnitykset ja osat:
Pidä kaikki mutterit, pultit ja ruuvit kiristettyinä varmistaaksesi koneen turvallisen toimintakunnon. Varmista, etta kaikki osat on koottu oikein.
- Imuaukon suojus
- Puhallusputki
- Imuputket
Keruusäilio
Tarkista mahdollisesti vauroituneet tai kuluneet osat:
Ota yhteys valtuutetuun huoltolikkeeseen vauroituneiden tai kuluneiden osien vaihtoa varten.
Virtakytkin - Varmista, etta kytkin toimii moitteettomasti viemallä se asentoon OFF. Varmista, etta moottori sammuu, käynistä se sitten uudelleen ja jatka.
- Imaukon suojus - Älä käytä laitetta, jos imaukon suojus ei sulkeudu oikein tai jos se on jotenkin vahingoittunut.
JOKAISEN KAYTON JALKEEN
Tarkista ja puhdista laite ja tarrat:
Tarkista kokoa laite jokaisen kayton jalkeen irronneiden ja vaurioituneiden osien varalta. Puhdista laite kostealla liinalla.
- Pyyhi laite puhtaalla ja kuivalla liinalla.
Puhdistakeruusailio:
TÄRKEÄÄ: KERUUSÄILIÖ TÄTYYY TYHJENTÄKUNNOLLA.
- Tyhjennä keruusäiliöokein ja pidä se kunnossa sen vahingoittumisen ja ilmavirran tutkeutumisen valttämiseksi.
- Irrota keruusäiliä laitteesta ja tyhjennä se jokaisen käytön jälkeen. Älä varastoi sällötä ennen kuin se on täysin tyhjennetty (ruohosta, lehdistä jne.).
- Pese säliö kerran vuodessa. Irrota säliö puhaltimasta ja käännä se nurin. Pese säliö vesiletkulla. Ripusta säliö kuivumaan ja anna sen kuivua kunnolla ennen kuin käytät sitä uudelleen.

VAROITUS: Jos laite menee tukkoon, pysaytä se ja irrota jatkojohto.
Odota, etta juoksupyörä pysahtyy ja irrota sitten imuputket.
Poista roskat varovasti imuaukosta.
Näin välṭt juoksupyörästa johtuvan tapaturmavaaran.
Esineen poistaminen ilman sisäantulosta:
- Irrota imuputket.
- Poista roskat varovasti imuaukosta ja puhdista ilman sisäantuloalue. Poista juoksupyörästa kaikki roskat.
- Tarkista, ettei juoksupyörssä ole halkeamia. Jos siinä on halkeamia tai muita vaurioita, alä käytä laitetta. Anna valtuutetun jalleenmyyjan vaihtaa osat. Alä yritä vaihtaa niitta itse.
7. Vianmääritys

VAROITUS: Kytke laite aina pois toiminnasta ja irrota jatkojohto ennen alla suositeltujen korjaustoimenpiteiden tekemistä, lukuun ottamatta niitta, jotka vaativat laitteen toimitaa.
Mooctorin ja juoksupyörän siipien pyörimisen tãytyy olla pysähtynyt, jotta valtetaan likkuvien siipien aiheuttama tapaturmavaara.
| Ongelma | Mahdollinen syy | Korjaus |
| Laite ei toimi. | 1. Kytkin asennossa OFF (0). | 1. Vie kytkin asentoon ON (l). |
| 2. Jatkojohto irti. | 2. Kytke jatkojohto. | |
| 3. Katkaisin lauennut tai sulake palanut. | 3. Palauta katkaisin tai sulake. | |
| 4. Puhallusputki, kulmaputki ja/tai imuputki asennettu väärin. | 4. Tarkista putkien asennus. | |
| 5. Keruusäiliö täynä. | 5. Tyhjennä keruusäiliö. | |
| 6. Mekaaninen vika. | 6. Ota yhteys valtuutettuun jälleenmyyään. | |
| Laite tärise epänormaalisti. | 1. Mekaaninen vika | 1. Ota yhteys valtuutettuun jälleenmyyään. |
| Juoksupyörä ei pyöri vapaasti. | 1. Roskia ilmanottoalueella. | 1. Puhdista laite. Poista roskat. |
| 2. Mekaaninen vika. | 2. Ota yhteys valtuutettuun jälleenmyyään. |

Mikäli kyseessä on jokin muu toimintahäiriö, ota yhteys GARDENA-huoltoon. Korjauksia saa tehdä vain GARDENA-huolto tai valtuutetut GARDENA-jällenmyyjät.
8. Tekniset tiedot
| Moottori - ottoteho | 3000 W max. |
| Verkkojännite | 220 – 240 V |
| Taajuus | 50 Hz |
| Imuvirtaus | 170 l/s |
| Silppuamissuhde | 16:1 |
| Puhallusnopeus | Max. 310 km/h |
| Paino puhallin/imuri | Max. 4,5 kg |
| Roskasäiliön tilavuus | 45 l |
| Työpaikkakohtainen melupäastönom inaisarvo | 82,6 dB(A), KpA: 3,0 dB(A) |
| Äänitaso LwA2) | Mittaus 99 dB(A) / taatu 102 dB(A) |
| Käden/käsivarren tärinä avhw1) | 3,92 ms2, K: 1,5 ms2 |
9. Hu olto/Takuu
Takuu:
GARDENA myontä talle tuotteelle 2 vuoden takuun (ostopäivastä lahtien). Tämä takuu vastaa kaikista vakavista laitteen vioista, jotka todistettavasti johtuvat materiaali- tai valmistusvirheista. Harkintamme mukaan toimitamme joko moitteettoman laiteen vialisen tilalle tai korjaamme korvauksetta meille lahetyn laitteen seuraavin edellytyksin:
- Laitetta on käsitetty asianmukaisesti ja käytöohjeen suositustenu mukaisesti.
- Ostaja tai kukaan muu ulkopuolinen henkilö ei ole yrittänyt korjatal aitetta.
Puhallusputki ja imuputket ovat kuluvia osia eivatkne kuulu takuunpiirin.
Tällä valmistajan myöntämälä takuulla ei ole vaikutusta kauppiaaseen/ myyjän k odhistuviint akuuvaatimuksiin.
Takuutapauksessa laheta vialinen laite yhdessä ostotositteen kopion ja vian kuvauksen kanssa postimaksu maksettuna takasivulla ilmoitettuun huoltopalveluosoitteeseen.
GARDENA ErgoJet 3000 (EJ3000)

Hoiatuste voi juhiste eiramine voib pohjustada elektrilooki, tulekahu ja/voitosiseid vigastusi.
c) Arge mitte kunagi puhuge prahti korvalseisjates uunas.
See tagab elektritiöriista jätkuva turvalisuse.
Seadme muutmine imurist puhuriks:
Maksimaalne pinge: 1,00 mm² ristloikega kaal 3000 W
MÄRKUS: Mootori kiirust on voimalik muuta kiiruse reguleerimiskangi ② abil.
Kui te plaanite omu puhurit pikemaks ajaks houle panna:
Maksimälie parametri:
1.00 mm² izméra kabelis
3000 W
HelppoOhje