Ergojet 3000 - Elektrikli süpürge üfleyici GARDENA - Ücretsiz kullanım kılavuzu
Cihazın kılavuzunu ücretsiz bulun Ergojet 3000 GARDENA PDF formatında.
Kullanıcıların soruları hakkında Ergojet 3000 GARDENA
0 soru bu cihaz hakkında. Bildiklerinizi cevaplayın veya kendinizinki sorun.
Bu cihaz hakkında yeni bir soru sor
Cihazınız için talimatları indirin Elektrikli süpürge üfleyici PDF formatında ücretsiz! Kılavuzunuzu bulun Ergojet 3000 - GARDENA ve elektronik cihazınızı yeniden ele alın. Bu sayfada cihazınızın kullanımı için gerekli tüm belgeler yayınlanmaktadır. Ergojet 3000 markasının GARDENA.
KULLANIM KILAVUZU Ergojet 3000 GARDENA
Original ingilizce kullanma talimatrinn tercumesi.
Lütfen kullanma talimatları dikkatlice okuyun ve verilen notlari dikkate alınüz. Ürünü tanimak,.Doğru kullanını ve güvenlik talimatları ögrenmek icin bu kullanma talimatları kullanıniz.

Güvenlik sebeplerinden ötürü,*cocuklar ve 16 Yaşın altindaki kisiler ve ayrca bu kullanma talimatlari bilmeyen kisiler bu ürünkullanmamalidir. Fiziksel veya mental kapasitesi yetersiz olan kisiler, sadece sorumlu bir kisinin denetimi vyaynomialsi ile bu cihazi kullanabilirler.
icindekiler:
Bu kullanma talimatlarini gvenli bir yerde saklayiniz.
- GARDENA ErgoJet 3000 cihazinizin uygulama alani .279
- Güvenlik talimatlari 280
3.Montaj. 283 - Kullanma 285
- Saklama 287
6.Bakim 288 - Ariza teshis 289
8.Teknik veriler. 290 - Servis/garanti 290
1. GARDENA ErgoJet 3000 cihazınüz uygulama alanı
Ufleyici olarukuygunkullanim:
GARDENA ErgJet 3000, pislik veya Çimen Çırpları garaj yollarindan, kaldirimlardan, avlularan, vs. supürmek icin bir üfleyici olarak kullanım icin ve Çimen Çırpları, bitki saplarim vya yaprakları Üfleyerek yigün halinde toplamak ya da koserlerdeki, birleşme yerlerindeki (derz) veya tuglalarınarasindaki pislikleri temizlemek uygundur.
Vakumlu temizleyici olarak uygun kullanim:
GARDENA ErgoJet 3000, yapraklar, cimen, kucuk dallas ve kaqit parçalarini toplamak amaciyla vakumlu temizleyici olarak kullanim icin uygundur.
TEHLIKE!
Yaralanma riski!

Bu urun, dokru kullanilmadiğnda tehlikeli olabilir. Cihazın kullanilmasi sirasinda, makul dizeyde emniyet ve verim elde etmek icin uyarilara ve güvenlik talimatlarna uyulma-lidir. Operatör, bu kilavuzda verilen ve cihazın üzerinde bulunan uyarilara ve talatlara uygun hareket etmekle sorumludur. Üretici firma tarafindan temin edilen koruma parçaları dokru yerlerine yerleştlmediği surece bu urünü asla kullanmayıniz.
2. Güvenlik talimatlari
Lütfen ErgoJet 3000 ile ilgili güvenlik talimatärnì dikkate alíniz.

UYARI: Bu cihaz tehlikel olabilir! Yanlis ya da dikkatsiz kullanilmasi ciddi yaralanmalara neden olabilir.

Cihaz kontrollerinin tamamini ve bunlarin ne ise yaradigi n anlamak icin kullanma talimat-. larini dikkatlice okuyunuz.

Cihazi yagmura maruz birakmayiniz.
Yagmurlu havalarda cihazi disarida birakmayiniz.

Kapatiniz! Cihazi ayarlamadan ve temizlemeden once veya kablosu dolaşmış ya da hasarlı ise fişini prisdençekiniz.

Göz ve kulak koruyucu kullanilmasi önerilir.

Yakindaki insanlari uzak tutunuz.
Elektrikli Cihazlarla Ilgili Genel Güvenlik Uyarilari

UYARI: Tum guvenlik uyanarini ve tum talimatlari okuyunuz. Uyarilara ve talimatlara uyulmasi, elektrik carpmasi, yangin ve/veya ciddi bir yaralanma ile sonuçlanabilir.
Tüm uyari ve talimatlari ileride seksvurmak üzere saklayiniz. Uyarilardaki "elektrikci cihaz" terimi, sebeke elektrigi ile calistirdiğiniz (kablolu) elektriki ayGIT anlamina gelmektedir.
1) Calisma alanıgüvenligi
a) Bu(urün, fiziksel, algilama veya zihinsel yetenekleri kılıtlı veya emniyetlerinden sorumlu birkı terafindan urünun kullanimi ile ilgili gozetim veya talimat verilmediticone tecrubesi ve bilgisi eksid kılışter tarafindan (cocuklar dahil) kullanım icin tasarlanmamistr. Cocuklarin urün ile oynamadiklarina emin olmak icin gozetim altinda bulunmaları gerekmektedir. Yerel)yonetmelikler operatürn Yaşın kılıtlayabilir. Hiçbir zaman cocuklarin veya bu talimatlari bilmeyen kılışlerin urünlu kullanmasina izin vermeyin.
Elektrik li cihazlar, egitimsiz kullanicilarin elinde tehlike arz eder.
b) Elektrikli bir cihaz kullanirken*cocuklar ve yakindaki insanlari uzak tutunuz. Dikkat dagitan seyler cihazin kontrlunu kaybetmenize neden olabilir.
c) Cevredekı insanlara.Doğru copü kesinlikle Üflemeyin. Diğer insanlarin kaza yasamasindan veya onlarin mülklerine gelebilecek zararlardan operatör veya kullanici sorumludur.
d) Çalıma alaninin temiz ve aydinlik olmasını saglayiniz. Dağınık veya karanlık alanlar kazalara davetiye Çikanir.
e) Elektrikli cihazları, yanıci sivilarin, gazlarin veya tozlarin bulundugu yerler gibi patlayüncü ortamlarda calistirmayıniz.
Elektrikli cihazlar, patlayici toz veya dumanlari atesleyebilecek kivilcimlar icarir.
2) Elektriksei güvenlik
a) Elektrikli cihaz fişleri, prize uygun tipte olmaldir. Fisler üzerinde herhangi birdehyşlik asla yapmayiniz. Toprakl (topraklamasi alan) elektrikli cihazlarda, fis adaptöru kullanmayiniz. Sadece cihazin bilgi etiketinde belirtilen AC sebeke elektrigi geriliminde kullaniniz. Cihazın herhangi bir aksami hiçbir kosul altinda topraklanmamaldir.
Uzerinde degisiklik yapilmamı f,isler ve uygun prizlerin kullanimi, elektrik çarpması risikini azaltir.
b) Borular, kalorifer petekleri ve buzdalaplani gibi toprakli veya toprak hattina sahip yüzeylere vucudunuzu temas ettirmeyiniz.
Vucudunuz topraklama hattina temas ederse, yuksek elektrik carpmasi riski sz konusudur.
c) Elektrikli cihazlari yağmur veya islak ortamlara maruz birakmayiniz. Bir elektrikli cihaza giren su, elektrik carpmasi riskini artirn.
d) Kabloyu yanlis kullanmayiniz. Kabloyu asla elektrikli cihazi tasimak,cekmek veya fisini prizdencekmek amaciyla kullanmayiniz. Kabloyu, isidan, petrol urunlerinden, keskin kenarlardan veya hareketli parcalardan uzak tutunuz. Cihazi kullanmadan once, kaboda hasar olup olmadigi ncontrol ediniz. Eger hasar veya eskime emareleri varsa kabloyu
değistiriniz. Elektrik kablolari hasarllysa ya da yipranmissa, urunu kullanmayin. Kabloda herhangi bir kesik varsa ya da kablonun izolasyonu hasar gormusse derhal ana elektrik kaynagi ileolan baglantisini kesin. Fi priszden cikarilana kadar kaboya dokunmayin. Kesilmisi ya da hasarl kabloyu tamir etmeyin. Yenisiyle değistirin.
Hasar gormus veya kirlmis/dola msi kabolar alektrik carpmasi riskini artirr.
e) Elektrik kablosu (sarimi) açilmş halde olmalidir. Saril haldeki kablor aşiri isinir ve ürünün verimini azaltir. Kabloyu daima, kirmamaya özen goctererek dikkatle sariniz.
f) Elektrikli bir cihazi aqik havada kullanirken, disarida kullanim icin uygun olan ve IEC 60320-2-3 uyarinca bir kuplorde donatilmisbir uzatma kablosu kullaniz.
Dis mekanlarda kullanim icin uygun bir kablonun kullanimi, elektrik carpmasi riskini azaltir.
g) Eger elektrikli bir cihazin islak bir ortamda kullanilmasi kaçınilmaz ise, bir artic akim cihazi (RCD) ile korumaya aliniş bis elektrik kaynagı kullaniniz. Nominal kaçak akimi ≤ 30 mA olan bir kaçak akim rolésinin kullanilmasini tavsiye ediyoruz. AAC monteli Olduğunda dahi %100 güvenlik garantı edilemez ve güvenli calisma uygulamalarinin her zaman izlenmesi seksir. Üntiteyi kullanacınüz her zaman AAC'nizi kontrol edin.
Bir RCD kullanimi, elektrik carpmasi riskini azaltir.
3) Kisisel guvenlik
a) Elektrikli bir cihazi kullanirken dikkatli olunuz, yaptiiniz ise odaklaniniz ve saqduyulu davraniniz. Yorgun iken veya haplarin, alkolun ya da ilaclarin etkisindeyken elektrikli bir cihaz kullanmayiniz. Elektrikli cihazlari kullanirken anlik bir dikkatsizlik, cidi kijsel yaralanmalara nden olabilir.
b) Kisisel koruyucu ekipmanlar kullaniniz. Her zaman goz ve isitme koruması takiniz. Toz tahrşini onlemek icin, bir yüz maskesinin takilması onerilir.
Gerekli kosullarda goz koruması,,isitme koruması, toz maskesi, kaymayan Güvenlik ayakk bilan veya sert baslık/sapka gibi koruyucu ekipmanlar, kisel yaralanma riskini azaltacaktir.
c) Cihazin kazara calismasini onleyiniz.
Cihazi bir guç kaynagina takmadan, tasiman dan veya kaldirmadan once duğmesinin OFF (kapali) konumda oldugundan emin olunuz.
Elektriki cihazlari parmaginiz calistirma duğmesinin üzerindeyken tasimaniz vya duğmesi aşik konumda alan elektriki cihazlara elektrik verilmesi kazalara davet;cikarir.
d) Uzanarak calismayiniz. Yere saglam basiniz ve dengenizi koruyunuz. Yokuslarda ayaginizin kaymamasina ayrica dikkat edin ve kaymayan ayakkabigiyn. Ürünunuzu calistirrken gerijeogrulu yurumeyin, devirebilirsiniz. Yürünyin kesinlikle kosmayin. Cihazi calistirrken merdiven kullanmayiniz. Bu sekilde, beklenmedik durumlarda cihazi daha iyi kontrl edebilirsiniz.
e) Gerekti gibi giyininiz. Daima uygun kiyafetler, eldivenler ve saqlam ayakkabilar giyiniz. Asla bol kiyafetler gijmeyiniz veya taki takmayiniz. Saçıni, kiyafetinizi ve eldivenlerinizi cihazin hareketli parçalarindan uzak tutunuz. Bol kiyafetler, taklar veya uzun-SAclar, hareketli parçalara dolanabilir.
4) Elektrikli cihaz kullanim ve bakim
a) Cihazı sadece bu talimatarda acıklanan sekilde ve acıklanan,islevler icin kullaniniz. Kaboyu her zaman arkaya.Doğru uzatarak urunden uzak tutun.Elektrkli cihazı zorlamayiniz.Yapacıniz is icin uygun bir elektrkli cihazkullaniniz.Doğru bir elektrkli cihaz, tasarlanmigi oldugu ve yapacıniz isi daha iyi ve daha güvenl iyapmanizi saglar.
b) Kullanmadan once ErgoJet cihazinizin emni-yeti bir isletme durumunda oldugunu daima kontrl edin. Eger acma/kapama duğmesi calismyorsa, elektrkli cihazi kullanmayiniz. Acil bir durumda cihazi nasil durduracagunizi bilmelisiniz. Acma/kapama duğmesi calismayan bir elektrkli cihaz tehlikelidir ve tamir edilmelidir.
c) Cihazinizi kapattiktan sonra pervane donmye devam eder. Doner biçaklardan dolayi ciddi yaralanmalari onlemek icin, motor durdurul- mali ve pervane biçaginin durmasi beklenmelidir.
d) Asagidaki Hallerde cihazin elektrik böglantisinik esiniz:
-Tam donanimi prisik torbasini cikarmadan veya deigistirmeden once;
Cihazi herhangi bir sureligine denetimsiz halde birakmadan once;
-Bir tikanikligi temizlemeden once;
-Cihaz uzerinde kontral, temizlik veya bakim islemi yapmadan once;
- Eger cihaz anomal sekilde titremeye baslarsa. Derhal kontrl ediniz. Asiri titreme yaralanmaya neden olabilir.
- Cihazi baskasina vermeden once.
e) Kullanilmayan elektrikli cihazlari;cocuklarin ulasamayacaği bir yerde saklayiniz ve elektrikli cihaz vya kullanimyla ilgili talimatlar hakkinda bilgisil olmayan kisilerin elektrikli cihazi kullanmasina izin vermeyiniz. Elektrikli cihazlar, egitimsiz kullanicilarin elinde tehlike arz eder.
f) Elektrikli cihazlarin bakimini yapiniz. Hareketli parçalarin hizalamasini ve böglantilarini, parçalarda kırilmı olup olmadigün ve elektriklcihazın calşmasini etkileyebilecek baska bir durumun olup olmadigün kontrol ediniz. Egerhasar varsa, kullanmadan once elektriklcihaztamirettiriniz.Tüm giris bolumlerinde cop bulundurmayin.Birçok kaza,bakimi tam yapilmamiş elektrikli cihazlardan kaynaklanmaktadir.
g) Elektrikli cihazi ve aksesuarlini, calisma kosullarini ve yaplacak isi dikate almak suretiyle bu talimatlara uygun olarak kullaniniz. Ürünü sadecegün isiginda ya da guclü bir suni aydinlatma ile kullaniniz. Elektrikli cihazin tasarlanmı olduğu amaç disindaISTA baska islerde kullanilmasi, tehlikeli bir duruma yol acabilir.
5) Bakim ve muhafaza
Elektrikci cihazinizin servis islemlerini, sadece. original yedek parçalar kullanmak suretiyle kalifiye bir tekniyene yaptiriniz. Bu sekilde, elektrikci cihazin güvenliginin korunması-SArganmisi olur.
-Cihazin guvenli calisma durumunu muhafaza etmek icin, tum somunlari, civatalari ve vidalari iyisiikilmis halde tutunuz.
- Asinmis veya hasar gormus parcalari, guvenlik acisindan degistiriniz.
- Sadece original yedek parçaları ve aksesuarları kullaniniz.
- Pislik torbasini duzenli olarak kontrol ediniz. Eger pislik torbasi asinir veya hasar görürsedehygistiriniz.
- Serin, kuru ve;cocuklarin ulasamayacagibir yerde saklayiniz. Dis mekanlarda birakmayiniz.
Ufleyici guvenlik uyarili
Cihazi kullanmadan once, calisacağıniz alaninceleyiniz. Sekebilecek, firlatilabilecek ya da calistirma sirasinda baska sekilde yaralanmalarya da hasara neden olabilecek taş, cam, tel vs. gibi:tum sert nesneleri ve pislikleri temizleyiniz.
Cihazi asla dizgün teḥchizatlar takılı olmadan calistürmayınüz. Bir üfleyici olarak kullanil-dğinda, daima bir üfleyici borusu takınüz. Kisisel yaralanmalar onlemek icin sadece önerilen eklentiler kullanınüz.
- Üfleyiciyi yaprak veya çal yangiınlarınin, seksinerin, barbekülerin, kül tablalarınin)yakininda, vs. kullanmayıniz. ÜfleyicininDOGRU sekilde kullanilması, atesin Yayilmasin Önlemeye yardımcı olacaktir.
- Üfleyici borularinin İçine asla herhangi bir nesne yerlestirmeyin,z; üfleyiciyle uzaklastı rilan pislikleri her zaman insanlardan, hayvanlardan, camdan ve ağac, otomobil, duvar vs. gibi nesnelerden uzaga yöneltiniz. Havanin Gücu taş, toprak ya da dal parçalarinin, insanlari ya da hayvanlari yaralayacak, cam
kiracak ya da diger hasarlara yol açacak sekilde firlamasina ya da sekmesine neden olur.
- Kimyasal maddeleri, gubreleri veya herhangi baska bir maddeyi yaymak icin kullanmayi-niz. Bu sekilde, zehirleyici maddelerin yayilmasi onlenmis olur.
Vakum güvenlik uyarlıarı
- Hava giris kapağını açmadan önce vya vakum borularin takmayı ya da çikarmayi denedenem同心 motoru durdurunuz ve uzatma kablosunu;cıkariniz. Dönerçiçaklar-dan dolyi ciddi yaralanmalar onlemek icin, motor durdurulmail ve pervaneçiçaklannin dur-masi beklenmelidir.
Cihazl kullanmadan once, calisacaigiz alani inceleyiniz. Sert nesneler, toplama torbasindan ya da cihazin muhafazasindan firlayarak operatrorun veya baskalarinin ciddi sekilde yaralanmasina neden olabilecek tehlikeli mermiler gibi hareket edebilir. - Taslari, cakillari, metal nesneleri, kirk camlari, vs. vakumlamayiniz. Cihazin dokru sekilde kullanilmasi, olasi kisesel yaralanma ve/veya cihazin hasar gorme riskini azaltir.
- Su veya dheg sivilari vakumlamayiniz. Bir elektrikli cihaza giren su veya dheg sivilar, elektrik carpmasi riskini artirir.
Cihazi asla dizgün techizatlar takil olmadan calistirmayin. Cihazi vakumlayi olarak kullanirken, her zamanvakum borulanni ve toplama torbasini takiniz. Cihazi calisirken, pisiklerin uçmasini onlemek icin toplama torbasinin fermuannin tam olarak kapali Oldugundan emin olunuz. Sadece önerilen eklentiler kullanin. - Atilmş kibritleri, purolari, sigaraları veyaşominelerden, barbekülerden, yanan cali yüzınlarindan gelen küllerı, vs. yakumlamayıniz. Toplama torbasinin yanmasina neden olabilecek durumlardan kasıniniz. Alevlerin Yayilması onlemek icin, üfleyiciyi asla yaprak ya da cali yangınlarınin,şominelerbir, barbekülerin, kül tablalarınin vs. yakıninda kullanmayıniz.
Vakumlama islemi yaparken daima omuz askisi kullaniniz. Bu, elektrikli cihazin kontrolünu korumaniza yardimci olur. - HavaGIS menfezlerini, dirsek borarini ve vakum borarini sikca ve cihaz durdurulmus, elektrik böglantisi kesilmis haldeyken kontrol ediniz. Havalandirma deliklerini ve hortumlani, birkipi hava akisini engelleyebilecek pisliklerden temizleyiniz. Herhangi bir havalandirma deligi tikali haldeyken kullanmayiniz. Toz, tuy, kil ve hava akisini engelleyebilecek diger seylerden temizlenmis durumda muhafaza ediniz.
3. Montaj

UYARI: Hava giris kapağıni acmadan once veya üfleyici ya da vakum borularinı takmadan veya çikarmadan once cihazi durdurunuz ve uzatma kablosunu çikariniz.
Doner biçaklardan dolayi ciddi yaralanmalari onlemek icin, motor durdurulmali ve pervane biçaklarinur durmasi beklenmelidir.
Ufleyici borusunun takilmasi:

- Üfleyicideki yivleri ①, üfleyici Çiçlis ② kismindaki yivlerle ayin hizaya getiriniz.
- Üfleyici borusunu, yerine oturana kadar üfleyici Çişkısmı doitru itiniz; boru, serbest birakma Düğmesi ③ vasṭasiyla üfleyiciyesa bitlenir.
- Üfleyici borusunu Çiçarmak icin, boruyu Çekerken aynianda boru serbest birakma dügmesine ③ basiniz.
NOT: Bir güvenlik Düğmesi, üfleyici borusunun.Doğru takilmamasi halinde cihazın calismasini onler.
Vakum borularinin takilmasi:

- Sekilde gosterildigi gibi mandali ⑤ acarak vevakum yardim kolundancekerek giris kapaagini ④ aciniz.

- Mandalin, üfleyicin arka koluna oturmasini ⑦ saglayiniz. Elektrik kablosunun ⑧ serbest kalmasini saglayiniz.

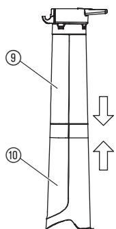
NOT: 2 vakum borusu bulunmaktadir; bir üst boru ⑨ ve bir alt boru ⑩ . Üst borunun bir ucunda bir menteşve kancalar bulunmaktadir ve her iki ucu da diz kesilmistir. Üst boru, üfleyiciye baglanir. Alt boru, cihazi vakum islemi icin kullanirken yere yönlendireceğiniz kavisli bir uca sahiptir. Alt boru, üst boruya baglanir.
- Altvakum borusunu ⑩ ustvakum borusuna ⑨ takmak icin, oncelikle her iki borunun baglanti noktalarini hizalayiniz. Daha sonra, alt boru ust boruya tam oturana kadar her iki boruyu birbirine bastirak itiniz.

- Üst borunun menteşesini ⑫, cihazın alt kismindaki kancaya ⑪ takıniz.
- Boru, üfleyici üntesi üzerindeki sabitlemepimlerinin ⑭ mandalinaGPCinceye kadar,yerden destek ⑬ alarak üfleyici üntesini dondurerekGPCiriniz.
NOT: Bir güvenlik Düğmesi, vakum borularinin.Doğru takilmaması halinde cihazın calismasini onler.
"Yerine oturtma"

Toplama torbasinin takilmasi:

- Dirsek borusunun ⑤ üstündeki yivleri, üfleyici Çkış ② kismindaki yivlerle�能i hizaya getiriniz.
- Dirsek borusunu, yerine oturana kadar üfleyici Çişi kisminadoğan itiniz; dirsek borusu, bor serbest birakma Düğmesi 3 vasitasıyla sabitlenir.
- Toplama torbasini (6) ustvakum borusu (9) ve altvakum borusu (10) uzerindeki halkalaraGPCiriniz.
NOT: Bir güvenlik Düğmesi, dirsek borusunun.Doğru takilmamasi halinde cihazın calışmasini onler.
Omuz askisinin takilmasi:

Cihazi vakumlama istemi icin kullanirken ekstra destek saglamasi amacyla bir omuz askisi cihazla birlikte verilmektedir. Askiyi, cihazi calistirmadan once takiniz. Kancayi sabitleme ⑦ yerineGPCIRINIZ.
Cihazinvakum fonksiyonundan ufleyici fonksiyonuna gecirilmesi:
- Cihazi durdurunuz ve uzatma kablosunu Çiakiniz.
- Dirsek borusunu ve toplama torbasini cikariniz.
- Vakum giris kapağindaki mandali serbest birakarak ve borular sabitleme pimlerinin mandallarindan kurzulana kadar kapağ)dondürmek suretiyle vakum borularin Çikarıniz.
- Giriç kapağıni kapatiniz ve mandalin kapal oluguundan emin olunuz.
- Üfleyici borusunu geri takınüz. Bu parçanın takilmasiya ilgili bilgi,—çın ÜFLEYİCI BORUSUNUN TAKILMASİ bas中国特色bakınüz.
NOT: Bir güvenlik Düğmesi, giris kapagün mandallanarak.Doğru kapatilmaması halinde cihazın calismasini onler.
4. Kullanma

UYARI: Pisliklerin uçusmasini ve/veya ciddi yaralanmalara neden olabilecek pervaneye temasi onlemek icin borulari veya toplama torbasini takmadan cihazi kullanmayıniz.
Taşlarin ya da pisliklerin körlüge ya da ciddi yaralanmalara neden olabilecek seksilde gezünüze ve:yüzünüze.Doğru üflenmesini veya sekmesini onlemek icin,daima eldiven takiniz ve gez koruması kullanıniz.
Kablolar:
Sadece 1.00mm^2 kesitli ve uzunluğu
maksimum 40 metre olan kablo kullaniniz.
Maksimum olcu:
1.00mm^2 kesitli kablo
3000 W
Elektrik kabolarini ve uzatma kabolarini, onaylanmş yerel servis merkezlerinden temin edbilirsiniz. Sadece dis mekanda kullanim icin Özel olarak tasarlanmş uzatma kabolarini kullaniniz.
Cihazin - kablo kilidinin/ uzatma kabolarin takilmasi:
Uzatma kablosunu 18 bukerek kablo kilidine 19 geçiriniz.
Bu islem, elektrik baglantisinin kazara yerinden Çıkmasini engeller. Daha sonra, bu kabloyu ana elektrik kablosuna takıniz.


Ufleyicin kullanmaya baslanmasi:

Calisma pozisyonlar:


Ufleyicin c alistrilmasi:
Cihazi calistirmak icin ON/OFF Düğmesini ② ON (I) konumuna getiriniz.
NOT: Motor hiji, degisken hij kontrolunj kullanmak suretyle artililabilir veya azaltilabilir.
DIKKAT: Cihaza zarar vermemek icin, degisken hiz kontrolünü ② sadece üfleme modunda kullaniniz. Degisken hiz kontrolünü vakum modunda KULLANMAYINIZ. Vakum modunda kullanim esnasinda dusuk hiz kademeleri, cihazda pislik birikmesine, motorun durmasina ve cihazın arizalanmasina neden olabilir.
Ufleyicin nkapatimasi:
Cihazi durdurmak icin, ON/OFF duğmesini 20 OFF (0) konumuna getiriniz.
Uflememodu
Cihazinizi bir ufleyici olarak, pislik veya cimen cirpilarini garaj yollarindan, kaldirimlardan, avlularan, vs. supürmek icin kullanabilir, ayrica cimen cirpilarini, bitki saplarini veya yaprakları üfleyerek yigün halinde toplamak ya da koselerdeki, birleşme yerlerindeki (derz) veya tuğlalarınarasindaki pislikleri temizlemek icin kullanabilirsiniz.
Ufleme modunda kullanirken motor hizini artirmak veya azaltmak icin degisken hiz kontrolunu kullaniniz. Ufleyici borusunu yere ya da yanlara yonlendirerek hava akisi nikontrol ediniz.
Kaldirimal, buyuk taslar, araclar ve Çtler gibi sert nesnelerden uzakta calisiniz.
Köşeleri temizlerken ile tam köseden baslayip disariya dokru ilerleyiniz. Bu yontem, yüzünüze dokru firlayabilecek pislikerin birikmesinin onlemeye yardimci olur. Bitkilerin yakıninda calisirken dikkatli olunuz. Havanin Gücu hassas bitkilere zarar verebilir.
Vakum modu
Cihazinizi, yapraklar, cimen, kucuk dollar ve kağıt parçalarıni toplamak amacyla vakumlu temizleyici olarak kullanabilirsiniz.
Vakum amaçı kullanırken en iyi sonCLR ilde etmek icin, cihazınizi yüksek hizda kullanıniz.
Vakumlama sirasinda malzemenin uzerinde yavaça ileri-geri hareket ediniz. Cihazi pislik yiginina sukmayiniz; aksi takdirde cihazda tikanmalar meydana gelebilir.
En iyi sonucu elde etmek icin,vakum borusunu yerden yaklasik iki bucuk santimetre kadar yukanda tutunuz.

UYARI: Eger cihaz tikanirsa, durdurunuz ve uzatma kablosunu cikariniz. Pervanenin donnesi tamamen durana kadar bekleyiniz, daha sonravakum borularini cikariniz. Dikkatli bir sekilde vakum menfezine eriserek tikanmaya neden扩容pisligi temizleyiniz. Bu islem, pervaneden kaynaklanabilecek yaralanma riskini azaltacaktir.
5. Saklama
Saklama:
Cihazi,oczuklarin ulasamayacagi bir yerde saklayiniz.
- Cihazi durdurunuz ve elektrik baglantisin i kesiniz.
- Cihazi kaldirmadan veya bir yere taşimadan once motorun sogumasini bekleyiniz.
- Cihazi, tum korumaları yerinde olacak seksilde kaldırınüz. cihazi, herhangi bir keskin nesne kaza sonucu yaralanmaya neden olmayacşekildeyerleştiniz.
Kisin Saklama:
Mevsim sonunda veya cihaz 30 gun ya da daha uzun bir sure kullanilmayacaksa, cihazi kalirmak uzere hazirlayiniz.
Eger ufleyicinizi uzun sureligine kaldiriyorsaniz:
- Cihazi durdurunuz ve elektrik baglantisini kesiniz.
- Uzun sureligine kaldirmadan once cihazin tamamini temizleyiniz.
- Giriş kapağıni acıniz ve birikmis olabilecek kır,;cimen vya pisi likleri temizleyiniz. Üfleyiciyi ve:tüm borular gozdenGPCiriniz. Kapaş kapatıniz ve kilitlendigiinden emin olunuz.
- Hava menfezlerini ve hava girişini yumusak birirate kullanarak pisliklerden temizleyiniz. Su kullanmayiniz.
- Toz ve kir birikimini onlemek icin, eger mumkunse cihazinizi ve uzatma kablosunu, mumkunse iyi havalandirilan bir yerde ve kapali halde saklayiniz. Üzerini naylon ile ortmeyiniz. Naylon hava aldirmaz ve yogusmaya neden olarak pas ve korozyona sebep olabilir.
- Gevsek vidalar olup olmadigün anlamak icin cihazın tamamini kontrl ediniz. Hasanl, asinmiş ya da kırı parçalarıdehyişiriniz.
- Daha kolay saklamak icin, boruyu/borulari Çikariniz.
imha:
(AB-direktifi 2002/96/EC
yunnaca)

Bu urun, normal evsel atik gibi atilmamalidir.
Yerel cevresel kanunlara uygun olarak elden cikanlmalidir.
6. Bakim

UYARI: Herhangi bir ayarlama ileminden, aksesuarleri degismeden vya bakim yapmadan.Once cihazi durdurunuz ve uzatma kablosunu cikariniz.
Bu tür koruyucu güvenlik önlemleri, elektrikli cihazın kazara calisma riskini azaltir.
HER KULLANIMDAN ONCE
Gevsek böglanti aksamlari veya parçaları olup olmadışı kontrol ediniz.
Cihazın güvenlıçalisma durumunu muhafaza etmek icin, tüm somunlari, civataları ve vidaları ileyi siklmş halde tutunuz. Tüm parçaların.Doğrubir sekilde takildigiindan emin olunuz.
Giris Kapa
- Ufleyici Borusu
Vakum Borulari
- Toplama Torbasi
Hasarli ya da asinmis parca olup olmadigi nik kontrl ediniz.
Hasarı ya daassistant parçalarındehyişirilmesi icin yetkili servisinizle görtünüz.
- ON/OFF Düğmesi - Düğmeyi OFF konuma getirerek Düğmenin Dügzgün calistigindan emin olunuz. Motorun durduğundan emin olunuz; daß sonra motoru tekrar calistirniz ve calismaya devam ediniz.
- Giriş Kapaşi - Eşer giriş kapaşi.Doğru bir sekilde kapanmiyorsa veya herhangi bir sekilde hasar,görürse cihazi kullanmayıbirakiniz.
HER KULLANIMDAN SONRA
Cihazi ve etiketlerini kontrl edip temizleyiniz.
- Her kullanimdan sonra, cihazin tamamini gozden geleirerek gevsek ya da hasarl parca olup olmadigi nikontrol ediniz. Nemli bir bezle cihazi temizleyiniz.
Cihazi temiz ve kuru bir bezle siliniz.
Toplama torbasini temizleyiniz.
ÖNEMLI: TOPLAMA TORBASI DOGRU BIR ŞEKİLDE BOŞALTILMALIDIR.
- Toplama torbasinin deforme olmasini ve hava akisin engellenmesini onlemek icin, toplama torbasini uygun sekilde boşaltmali ve muhafaza etmelisiniz.
- Toplama torbasini cihazdan Çikariniz ve her kullanımdan sonra boşaltıniz. Torbayı, icindekilerin hepsini (çimen, yapraklar, vs.) boşaltmadan kalırmayıniz.
- Torbayi yilda bir kez yikayiniz. Torbayi üfleyiciden seksariniz ve icini disina seksariniz. Torbayi bir su hortumu kullanarak yikayiniz. Torbayi bir yere asarak, tekrar kullanmadan.Once iyice kurumasini saglayiniz.

UYARI: Eger cihaz tikanirsa, durdurunuz ve uzatma kablosunu seksariniz. Pervanenin donmesi tamamen durana kadar bekleyiniz, daha sonra vakum borularin积极参与. Dikkatli bir sekildevakum menfezine eriserek tikanmaya neden oleh pisiagree temizleyiniz.
Bu islem, pervaned kaynaklanabilecek yaralanma riskini azaltacaktir.
Hava girisindeki bir nesnenin Çikarilması:
- Vakum borularin i cikariniz.
- Dikkatli bir sekilde vakum menfezine eriserek hava giris kismini temizleyiniz. Pervanedeki tum pislikleri temizleyiniz.
- Pervanede Çatlak olup olmadigün kontrol ediniz. Eşer Çatlak veya hasar varsa, cihazı kullanmayınüz. Parçalarındehyegristirilmesisini yetkili servisinize yaptırınüz. Parçaları kendi basınıZAdehyegristirmeyinüz.
7. Ariza teşhis

UYARI: Cihazın calımasıni gerektirenler yüzümler disinda aşaqida önerilen yüzümlerin:tümunde, herhangi bir ilelem yapmadan.Once daima cihazi durdurunuz ve uzatma kablosunuçkarıniz.
Doner biçaklardan dolayi ciddi yaralanmalari onlemek icin, motor durdurulmali ve pervane biçaklarin dinması beklenmelidir.
| Sorun | Olası sebep | Çözüm |
| Cihaz çalısm;yor. | 1. Düğme OFF (0) konumundadır. | 1. Düğmeyi ON (I) konumuna getiriniz. |
| 2. Uzatma kablosu takilde/DDildir. | 2. Uzatma kablosunu tekrar takiniz. | |
| 3. Devre kesici (akınahtarı) tetiklenmiş veya sigorta yanımşir. | 3. Devre kesiciyi veya sigortayi resetleyiniz. | |
| 4. Üfleşici borusu, dirsek borusu ve/veya vakum borusu.Doğru takilmamşir. | 4. Borularin.Doğru takilp takilmadigün kontrl ediniz. | |
| 5. Toplama torbası dolmustur. | 5. Toplama torbası bolaltıniz. | |
| 6. Mekanık arıza. | 6. Yetkili servisinizle).(Gürosünuz). | |
| Cihaz anormal seksilde titriyor. | 1. Mekanık arıza. | 1. Yetkili servisinizle).(Gürosünuz). |
| Pervane serbest bir seksilde)dönmöyor. | 1. Hava,giriç kisminda piskıvardır. | 1. Cihazı temizleyiniz. Varsa piskleri temizleyiniz. |
| 2. Mekanık arıza. | 2. Yetkili servisinizle).(Gürosünuz). |

Düger arizalar,—çin lütfen GARDENA servis departmani ile temasa,—ge"—. Tamir—islemleri GARDENA servis departmanlar veya GARDENA tarafindan yetkilendirilm)—uzman satici—tarafindan yapilmaldir.—
8. Teknik veriler
| Motor - güç:tüketimi | 3000 W maks. |
| Şebeke gerilimi | 220 - 240 V |
| Frekans | 50 Hz |
| Vakum akistani | 170 l/s |
| Malç oranı | 16:1 |
| Üfleme Higgins | Maks. 310 km/h |
| Üfleyici/vakum cihazi a®,ırlıgli | Maks. 4,5 kg |
| Pislik torbası kapasitesi | 45 l |
| Çalisma alanına gore ses basınç seviyesi | 82,6 dB(A), KpA: 3,0 dB(A) |
| Gürültu seviyesi Lw2) | Ölçülen 99 dB(A) / garantı edilen 102 dB(A) |
| El/kol titreşimi avh w1) | 3,92 ms2, K: 1,5 ms2 |
9. Servis / garanti
Garanti:
Bu urün GARDENA tarafindan alindiği tarihten itibaren 2 yil garantı altindadir. Bu garantı urün veya imalató hatası oldugu istat edilen buttun ağır kusurları kapsar. Aşaqidaki kosullar altinda garantı;cergevesinde uniteyidehyi degişirir veya üretcisiz tamiriniGPCekleşiririz.
- Uygun sekilde kullanilmasi ve kullanma talimatina uyulmasi zorunludur.
- Izin verilmemi Üçuncu sekslar tarafindan tamir edilmemi.
Ufleyici borusu vevakum borulari aşınabilir parçalardir ve garantı kapsamina girmezler.
Kullanicinin bayi ve saticiya karşi mevcut garantı talepleri imalató firma garantisini etkilemez.
Sizin Çit Kesicinizde herhangi bir sorun olusur ise lütfen hatali uniteyi ürünün fatusasi ile birlikte hatayı acıklayan bir yazi ile posta ücreti ödenmiş olarak bu kullanma kilavuzunun arkasindo yer alan adrese gonderin.
GARDENA ErgoJet 3000 (EJ3000)

KolayKılavuz