Ergojet 3000 - Odkurzacz dmuchawa GARDENA - Bezpłatna instrukcja obsługi
Znajdź bezpłatnie instrukcję urządzenia Ergojet 3000 GARDENA w formacie PDF.
Pytania użytkowników dotyczące Ergojet 3000 GARDENA
0 pytanie dotyczące tego urządzenia. Odpowiedz na te, które znasz, lub zadaj własne.
Zadaj nowe pytanie dotyczące tego urządzenia
Pobierz instrukcję dla swojego Odkurzacz dmuchawa w formacie PDF za darmo! Znajdź swoją instrukcję Ergojet 3000 - GARDENA i weź swoje urządzenie elektroniczne z powrotem w ręce. Na tej stronie opublikowane są wszystkie dokumenty niezbędne do korzystania z urządzenia. Ergojet 3000 marki GARDENA.
INSTRUKCJA OBSŁUGI Ergojet 3000 GARDENA
Tłumaczenia oryginalnej instrukcjbi obstugi w jejzyku angielskim.
Zapoznaj sie uważnie z instrukcja obstugi i postępuj zgodnia z zawartymi wnej informacjami. Skorzystaj z niniejszej instrukcji, aby zapoznać sie z produktem, poprawnym sposobem是我的 eksploataci i instrukcjam dotyczymi bezpieczność.

Zwgldu na bezpieczentwo z produktu nie powinny korzystać przyci i młodzież w wieku do 16 lat, a takze osoby, któ nie zapoznały są z niniejsza instrukcja. Osoby o agronomiczych zdolnosciach fizycznych i umysłowych mogą korzystać produktu wyłącznie pod nadzorem osoby odpowiedzialnej.
Spis tresci:
→Przechowuj niniejsza instrukcje obslugi w bezpiecznym mistrscu.
- Obszar zastosowan urzadzenia GARDENA ErgoJet 3000 . . . 141
- Instrukcje bezpieczestewa 142
3.Montaz 146 - Przeznaczenia 148
- Przechowywanie 150
- Konserwacia 151
7.Rozwiawyanie problemow 152
8.Dane techniczne 153
9.Serwis/gwarancja. 153
1. Obszar zastosowan urzadzenia GARDENA ErgoJet 3000
Własciwe zastosowanie -dmuchawa:
GARDENA ErgoJet 3000 doit posluyc jakodmchawa do wymiatania scieje trawy z podjazdow, chodnikow, tarasow itp., a takze do zamiatania scieje trawy, slomy lub liSci do kupek, badz usuwania brudu z naroznikow, zlacz lub spomiedzy cegielt.
Własciwe zastosowanie - odkurzacz:
GARDENA ErgoJet 3000 möglich pośląźć jako odkuracz do zbieraniaUCHEGOMateriau, np. lisci, trawy, małych gałazek oraz kawalcow papieru.
OSTRZEJEZENIE! Rzyko obrażć!

W przypadku nieprawidowej eksploatacji produktMZe niebezmieczny. Aby zapewnić bezpieczestewo orazoptymalneDyniki pracy, podczas korzystania z produktu nalezy stosowac sie do ostrzezenia orazazolen bezpieczentwa.Operator powinien stosowac sie do instrukcji i ostrzezenia znajdujychsna produkcie oraz w instrukcji obslugi.Nigdy nie nalezy korzysta c Produktu, jesti zabezmieczenia producenta nie znajduja sie we wlasciwej pozycji.
2. Instrukcje bezpieczenistä
Ponižejznajduja sie informace dotyczace bezpieczneo korzystania z urzadzenia ErgoJet 3000.

OSTRZEŽENIE: Urzadzenie\ möze byc niebezmieczne! Niedbale\ lub niewlasciwe uzycie moze\ spowodowoć powazne zranienie.

Wytaczyc! Odlaczyc wtyczke od sieci przyded dokonieniem regulacji, czyszczeniem oraz gdy kabel jest zapłatany lub uszkodzony.

Nalezy uwaznie zapoznać sie
z instrukcja obstrugi, aby
zrozumie zasadę dziatania
urzadzenia i poznac przyznaczenia danych funkci.

Zaleca sie stosowanie
zabezpieczenia na oczy i uszy.

Nie wystawiac na deszcz.
Nie pozostawiać produktu na zewnatrz podczas opadów.

Osoby postronne powinny zachowac dystans.
Ogólne ostrzeżenia dotyczębezpieczność podczas korzystaniaź narȩdzi zasilanych

OSTRZEŽENIE: Przechytrač wszystkie ostrzeženia dotyczacebe zpiecz内分泌i instrukcje. Nieszastosowanie są do ostrzeżni instrukcji moze spowodowoć porazenie prȩdem i/lub powazne obrażenia.
c) Nie sprzątaj zanieczyszczeno w kierunku osob postronnych. Operator lub uzytkownik urzadzenia besteht ponosić odpowiedzialnosć za wypadki lub spowodawanie zagrożenia wobec innych osob lub menia.
Zachowac wszystkie ostrzezenia i instrukcje, aby moc skorzystac z nich poźnej.
Termin „narzędzie zasilane" w ostrzeżeniach odnosi są do narzȩdzi zasilanych z kontaktu za pomoczą kabla zasilajćego.
d) Utrzmywać.), wczystość i dbac o oswietlenie.
Obszary zaciemnione i takie, w którch panujeni已达, moga powodawac wypadki.
1) Beziepceßenstwo.),
a) Ten produkt nie jest przyznaczony do uzytku przyez osoby (w tym;dzieci) o obniżonych zdalnosciach psychomotorycznych, czucio-wych lub umysłowych;bź nie posiadajychdoswiadczenia i odpowiednej wiedzy, chybaź znajduja sie one pod nadzorem lub instruktazem osoby opdowiedzialnej za bezpieczenstwo. Dzieci powinny znajdować sie pod nadzorem, aby zapobiec bawieniu sieproduktem. Miejscowe przyepamy prawa mogaNalożyc limit na wiek operatora. Nigdy nolno pozwalać, by produktu uzywały;dziei lub osoby nie znajace instrukcju uzytkOWania. Narędzia zasilane są niebezpiecNZ w rękachnieprzeszkolonych uzytkowników.
e) Nie korzystać z narędzi zasilanych w warunkach groźych wybuchem, np. w obecnosci plnów, gazów lub pyłow palnych. Narȩźdia zasilane tworza iskry, ktorę moga zapalić pyf lub opary.
2) Bezpieczne stwo elektryczne
a) Wtyczki narędzi zasilanych musza pasować do gniażdka. Zabrania są dokonywoman przerobek wtzyczki. Nie korzystać z urzadzen zasilanych z uziemieniem, podłaczonych z uzyciem wtzcdek-przejCSIwok. Urzadzenia要去 zasilać jejynyie przem di zmiennym o napiȩci wskazanym na tablicze znamionowej. Wźadnym wypadku nie wolno uziemiac jakiejkolwiek czeci urzadzenia.
Nieprzerobione wtyczki i dopasowane gniazdka pozwalajz zredukowacrzyko porazenia przem.
b) Unikać kontaktu cieła z powierzchniami uziemionymi, takimi jak rury, grzejniki, piece i lodówki. Uziemienie cieła powoduje zwiekszenie ryzyka porazenia przem.
c) Nie wystawiać naręźdi zasilanych na dzialanie deszczu i wilgoci.
Dostanie sie wody do naręźdia zwieksza ryzykopożenia prȩdem.
b) Dzieci osoby postronne powinny zachowac odlegostość podczas przy naręźdia zasilanego. WDyniku utraty uwagi możesz stracić kontrole nad urzadzeniem.
d) Poprawnie korzystać z przywodu. Nigdy nie korzystać z przywodu do przenoszenia, piągnięcia lub odśczania narȩźdia zasilanego. Przewód naleź yustrzymywać z dala od zródekciepła, olejów, ostrych krawędzi lub ruchomych czȩsci. Przed uzyciem naleź sprawdżć kabel pod katem uszkodzen. Kabel naleź wymiennie, jestli pijcie są oznaki uszkodzenia lub zuźcyia. Nie wolno uzywać urzadzenia ErgoJet jestli kable elektryczne są uszkodzone lub zuzyte. NiezwcLOCniewy wymij wtyczke z gniazdka sieciowego, jestli kabel zostanie przyciety lub bedzie uszkodzona izolacja. Nie dotykaj kabela, zanimNie odśczysz kosiarki od sieci. Nie naprawiaj przycietàgo lub uszkodzone go kabela.
Wymieŋ go na nowy. Uszkodzone lub splątane kable zwięszajā zagrożenie porañenia prądem.
e) Kabel elektryczny musi byc rozwiniety. Zwiniete kable moga sie przyegrzać i zmiejeśczy wydajnosć produktu. Naleź zawsze starannie zwijać kabel,unikacja zap.§tień.
f) W czasie stosowania narędzi z napędem mechancznym sąȩzy stosowej przyȩźuźć odpowiedni do stosowania poza budynkiem ze zȩczem spelniąajczym wymagania IEC 60320-2-3. Stosowanie przewodu odpowiednilgo do użycia poza budynkiem pozwala zredekowania ryzyko porazenia prȩdem.
g) W przypadku, gdy korzystanie z narędzia zasilanego w wilgotnym.),..., nione, nały skorzystać ze zrodła zasilania zaopatrzonego w wyłacznik rożnicowo-pradowy. Zalecamy stosowanie przelacznika ochronnego, zabeepieczajacego przydedem uszkodzeniowym o wartośćcach ≤ 30 mA. Nawet z zainstalowanym urzadzenia i bezpieczajacy R.C.D. nie sąna zagwarantować 100%-go bezpieczenstwa i przyze caly czas nały przystrzejaco zasad bezpieczenstwa pracy. Sprawdzaj swoje urzadzenia zabeepieczajace R.C.D. zawsze gdy go uzywasz.
Korzystanie z wyłacznika rożnicowo-prȩdowej zmiejsza ryzyko porañenia prȩdem.
3) Bezpieczneistwo osobiste
a) Zachowac czujnosc, observerwac prace urzadzenia i kierowaic sie rozsadkiem podczas pracy z urzadzeniem zasilanym. Nie nalezy korzyszac z narzedzia zasilanego w przypadkuzmeczenia lub pod wptywem narkotykow,alkoholu lub lekarstw.
Chwila niedwagi podczas obstugi naręźdia zasilanego要去 doprowadzić do powaznych obrażń.
b) Korzystać z osobistego spreptu ochronnégo. Naleź zawsze stosowej sądki
ochrony wzroku oraz sluchu. Zalecane jest stosowanie maski respiracyjnej.
Sprzęt ochronny, np. ochra na oczy i na uszy, maska przyciwiptyłowa, buty antyposólizgowe lub kask, zastosowane we wąsciwych warunkach, pozwolā zredukownikówzyko odniesenia obrążen.
c) Zapobiegać nieuymijsnemu uruchomieniu. Upewnic sie, ze przyȩcznik znajduje są w pozycji wylączonej przy podȩczem doźródla zasilania, podnoszeniem lub przenoszeniem narźedzia.
Przenoszenia naręźdia zasilanego z palcem na przy.§aczniku lub wystawianie wączonego naręźdia na dzialanie energia elektrycznej sąpwadzić do wypadkBów.
d) Nie nalezy przyceceniać swoichMZwiwość. Stać na stabilnym podlózu i zachowac równowagé. Nalezy zachowaźczególna uwage na zboczach by nie zranic sie w stopy. Nalezy nosic obuwie chroniace przyded posliznieniem sie. Podcas uzoszenia nie idź do tytu, bo moższ sie przyzewrócić. NigdyNie biegaj -chodź powoli. Nie korzystaj z drabiny podczas uzywania produktu. Pozwoli to zachować lepszą kontrolę nad narędziem zasilanym wNieoczekiwanych sytuacjach.
e) Nalezy byc odpowiednio ubranym.
Nalezy zawsze nosic odpowiednie ubranie,
rekawice oraz mocne buty. Nie nalezy
zakladać luźnych ubran i nosićBizuterii.
Włosy, odzież i rpekawice nalezy trzymać
z dala od ruchomych częsci.
Luzna odzież, bizuteria lub dlugie wyro mog zostac wciagniete przyz ruchome częsci.
4) Eksploatacja i konserwacja naręźdia zasilanego
a) Urzadzenie möglich uzywać wyłacznie w sposob oraz do celów opisanych w niniejszej instrukcji. Kabel naleź ukladć do tyfu, z dala od produktu. Nie naleź korzystaec z urzadzenia zasilanego „na silę". Uzywać narȩżdia zasilanego dopasowanego do zastosos文化传播.
Własciwe narędzie zasilane pozwol i lepiej i bezpiecznych wykonac prace, do któraj zostarlo przyznaczone.
b) Przed przystapieniem do pracyNSEzy koniecznie skontrolowac stan techniczny urzadzenia, a w sztególnosci wyglad glowicy tnacej. Nie korzysta c narźedzia zasilanego, jestli wylacznik nie dział.
Naleź zawsze wiedzieć, jak szybko wyłączyc urzadzenia w razie awarii.
Jesli naręźdie zasilane nie są boć kontrłowane za pomoczą wyłącznika, jest onoNiebezpieczne i musi być oddana do naprawy.
c) Wirnik w dalszym ciagu obraca sie po wyłaczeniu produktu.
Nalezy zatrzymać silnik i odczekić, az przystanie sie obracć topatka wirnika.
d) Odlaczyc od gniazdkazasilania:
- przyzed wyjeciem lub wymianą zapełnionego worka;
- przyzed pozostawieniem urzadzenia bez nadzoru na pewien czas;
- przed oczyszczeniem zatoru;
- przyd sprawdzeniem, czyszczemeniem lub uruchomieniemurz dzenia;
- jestli zaczyna ono wibrowac w nienaturalny sposob. Nalezy to bezzwlocznie sprawdzić. Nadmierne wibracja moga powodowej zranienie.
- przed przykazaniem内在nej osobie.
e) Nieuwywane naręźdie zasilane naleź przechowywać poza zasiȩgiem daneci i niedzewalać osobom niedzaznajomionym z narȩdziami zasilanymi lub niniejszymi instrukcjami na korzystanie z narȩźdia zasilanego.
Naręźdia zasilane są niebeźpieczne w ryckach nieprzeszkolonych uzytkowników.
f) Nalezy zachowaćdbałoć o narȩźedzie zasilane. UrzadzeniaNSEw sprawdzać pod kątem niedopasomania ruchomych czȩci, uszkodzenia elementów lub innych okolicznosci, któ moga miać wptyw na pracze narȩźdia. W przypadku uszkodzenia narȩźdie zasilaneNSEw naprawić przy użyciem. Wlot powietra powinien byc stale utrzymywany w czystosci.
Wiele wypadków spowodowanych jest przy naręźdia nie poddawane konserwacje.
g) Korzystać z naręźdi zasilanych i akcesorów zgodnia z niniejszymi instrukcjami, biorac pod uwage warunki pracy i zadanie do wykonania.
Urzadzenie möglich uzywać Jedynie przy swietle Dziennym lub przy dobrym oświetleniu sztucznym.
Korzystanie z naręźdia zasilanego do zadan innych, niz te, do ktrórch jest przyznaczone,MZe byc niebezmieczne.
5) Konserwacja i przechowywanie
Naręedzie zasilane naleź przy przekazać do wykwalifikowanego personelu serwisowej w celu naprawy z uzyciem identycznych czȩsciza miennych.
Zapewni to dalsze bezpieczestewo narędzia zasilanego.
-Wszystkie nakrtek i s Ruby nalezy zawsze dokrecac, aby zapewnić, ze urzadzenia jest zawsze w dobrym stanie technicznym.
Wymienic czeci zuzyte lub uszkodzone.
-Nalezy stosowac wyłacznie oryginalne czeci zamienne i akcesoria.
- Regularnie nalezy sprawdzać worek na odpady. Jesli worek sie zuzyje lub bedzie zniszczony, nalezy go wymienić.
-Urzadzenie nalezy przechowywa c w suchych warunkach w chtodzie, z dala od daneci. Nie przechowywa c poza budynkiem.
Ostrzeżenia dotyczne bezpiecznychstwa -dmuchawa
- Naleź skontrolować obszar przy przech uruchomieniem urzadzenia.
Usunac caly gruz oraz twarde przydmioty, np. skaly, szkfo, druty, itp., ktore moga odbijać sie rykoszetem, lub ktore, zdmuchniète, w inny sposob moga stanowić zagrozenia dla zdwodia i mienia.
- Urzadzenia nie nalewy eksploatować bez wymaganego osprzetu.
W przypadku korzystania z dmuchawy sązy zawsze montowac rure dmuchawy. W celu uniknięcia obrażne sązy korzystać wyłącznia z zalecanych konćowej.
- Nie naleźny korzystać z dmuchawy w=Poblizu plonących liSci lub trawy, kominków, Rozpalonego grille, popielniczek itp.
Własciwe korzystanie zdmuchawy pozwoli uniknac Rozprzestrzeniania pożaru.
- Nie nalezy wiktadać zadnych przyzemiotów do rur dmuchawy; nie kierowastrumienia wydmuchu w strone ludzi, zwierzata, szyb orang innych obiektow takich jak drzewa, samochody, mury itp.
Sila wydmuchu要去 powodowac, zekamienie, zanieczyszczenia lub patyki dostanodzuzcone lub odbite rykoszetem, co要去 powodowac obrazenia osob lub zwierztataktwe wybicie szyby lub innszkody.
- Nie nalezy korzystac do Rozprzestrzeniania chemikaliów, nawozów lub innych substantenci.
Pozwoli to zapobiec Rozprzestrzenianiu tokszynychm ateriatow.
Ostrzeżenia dotyczne bezpiecznychstwa - odkurzacz
- Przed otwarciem drzewiczek wlotu powietrza lub przyba wlozenia badź wyjecia rurek odkurzacza zatrzymaj silnik i odłucz przydłucz.
Nalezy zatrzymac silnik i odczekać, az prestaná sie obracáć lopatki wirnika. - Naleź skontrolowej obszar przy przy uruchomieniem urzadzenia.
Twarde objiekty moga przelecieć przy wzorek lub odowę i spowodowej powazne obrażenia osobznajdujćych sie w povlizu. - Nie nalezy odkurzać kamieni, Zwiru, elementów metalowych, rozbitego szkla itp. Wąsciwe kozystanie z urzadzenia zmniejszy ryzyko odniesenia obręne i/lub uszkodzeniaaurz Ľdzenia.
- Nie naleź odkurzać wody lub innych plynyów.
Dostanie sie wody lub innych plynów do naręźdia zȩksza ryzyko porañenia przem.
- Urzadzenia nie nalewy eksploatować bez wymaganego osprzetu.
Gdy urzadzenia jest wykorystwyane jako odkurzac, nalezy zawsze zamontowac rury oraz worek odkurzacza. Upewnij sie, ze worek odkurzacza jest zapiety do koça, gdy urzadzenia pracuje, abyunikné Rozpylania smieci. Nalezy korzystac wylącznie z zalecanych koćówek.
- Nie nalezy odkurzać wyrzuconych zapalek, cygar, papierosów lub popoiu z kominka, grilla itp.
Nalezy unikać sytuacje, w których worek要去 zostac podpalony. Aby uniknacrozprzestrzeniania sie ognia, dmuchawy nienalezy stosowac w poplizu.), palenia liSci lub zgamietych smieci, w poplizu kominków, ognisk, popielniczek itp.
- Podczas odkurzania naleź zawsze korzystaec z paska na rami. Pozwoli to zachowa kontrôle nad narędzieim.
- Nalezy czego sprawdzać stan wlotów powietrza, kolanka i rur sscych. Czynnosci te nalezy zawsze wykonywać przy wylączonym silniku i odłaczonym zasilaniu.
W przywodach wentylacyjnych oraz rurach nie powinno byc odpadów - gromadzac sie
w nich, moga on utrudniac prawidlowy\ przeplyw powietra. Nie nalezy korzystać, jestli\ jakikolwiek wlot jest otwarty. Nalezy dbac o to,\ aby kurz, wósy lub inné zabrudzenia nie\ redukowaly przeplywu powietra.
3. Montaz

OSTRZEZENIE: Zatrzymać urzadzenia oraz odłaczyć przyȩźacz przyded otwarciemPokrywy wlotowej lub próba włozenia lub wyjecia rury dmuchawy lub rur odkurzacza.
Nalezy zatrzymać silnik i odczekać, aż przystania są obracć lopatki wirnika.
Mocowanie rury dmuchawy:

- Dopasować rowki rury dmuchawy ① do rowków na wylocie dmuchawy ②.
- Wcisnac rure do wylotu dmuchawy i docisnac; rura jest zabezpieczona przyciskiem zwolnienia rury ③.
- Aby zdjac rure dmuchawy, nalezy nacisnac przycisk zwolnienia rury ③ oraz pociagnac rure.
UWAGA: Przelacznik zabezmieczajcy zapobiegnie uruchomieniu urzadzenia, jesti rura dmuchawy nie zostanie zamontowana poprawnie.
Mocowanie rur odkurzacza:

- OtworzPokrywewlotu ④ ,zwalniajaczatrzask ⑤ ,tak jakPokazano,ciagnaczauchwytdokurzacza ⑥
- Zatrzask powinien dopasować sie do tynego uchwytu dmuchawy ⑦. Upewnij sie, ze kabel zasilajacy ⑧ nie jest splątany.

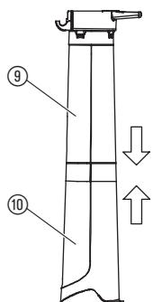
UWAGA: Odkurzacz ma 2 rury: górnę ⑨ i dolną ⑩. Do górnnej rury dołoczono zawias i haczyki. Rura jest gladko sciȩta na obu konćach. Górną rure mocuju sie do urȩdzenia dmuchawy. Dolna rura posiada zakrzywnia koń;c战略布局, ktora uzmolniwa skierowania jej w kierunku ziemi podczas przy w trybie odkurzacza. Dolnagu rure mocuju sie w górnę jurze.
3. Aby zamocować dolna rure odkurzacza ⑩ na górna odkurzacza ⑨, naleź tymajpiwu dopasować rowki na obu rurach. Nastepnie, naleź wciśnść do konca dolna rure w górna rure.

- Umieszczawias ⑫ gornej rury na haczyku ⑪ w dolnej czeci urzadzenia.
- Uzywajac podloza 3也是如此 podparcia obrć modl dmuchawy, aż rura wskoczwy w wypustki zabezpieczajace 14.
UWAGA: Przelącznik zabeziepieczajcy zapobiegnie uruchomieniu urzadzenia, sąli rury odkurzacza nie dostana zamontowane poprawnie.

"Trzask"
Mocowanie worka:

- Dopasować rowki na kolanku (15) z rowkami na wylocie dmuchawy (2).
- Wcisnac kolanko do wylotu dmuchawy; kolanko jest zabezpieczone przyciskiem zwolnienia rury ③.
- Przymocuj worek 16 do pétli na górnaj 9 i dolnej hurze odkurzacza 10.
UWAGA: Przelącznik zabezmiepieczajcy zapobiegnie uruchomieniu urzadzenia, jestli rura kolankowa nie zestanie zamontowana poprawnie.
Mocowanie paska na rami:

Pasek na ramie dołaczo do urzadzenia w celu zapewniedadodatkowej wsparcia podczas korzystania z odkurzacza. Zamocuj pasek do urzadzenia przyrozprésȩciem pracy. Haczyk powinien wskoczyc w zabeźpieczuminium ⑦.
Zmiana trybu pracy urzadzenia z odkurzacza na dmuchawe:
- Zatrzymaj prace urzadzenia i odłucz przyȩcz.
- Wyciagnij rure kolankowa i odlacz worek.
- Wciagnij rury odkurzacza, zwalniajac zatrask naPokrywie wilotu i obracajacPokrywe, az rury dostana zwolnione z zatrzaskow zabepeziejacych.
- ZamknacPokrywewlotowajsprawdzić,czyzaczep jest zamkniety.
- Ponownie zainstalować rure dmuchawy. Instrukcje montazu rury dmuchawy, patrz MONTAZ RURY DMUCHAWY.
UWAGA: Przelącznik zabezcieczajcy zapobiegnie uruchomieniu urzadzenia, jestliPokrywa wlotu nie zostanie zamknieta na zatrzask.
4. Przeznaczenia

OSTRZEZENIE: Nie uzywać zestawu bez wąsciwie podłocznych rur lub worka, aby uniemożliwość rozpylenie smieci oraz/lub stycznosć z wirnikiem, coMZebyc niebeźpieczne i prowadzić do zranienia.
Nalezy zawsze korzystać z rękawic i naklustadc zabezmieczenie na oczy, aby zapobiec uderzeniu zdmuchwanego gruzu lub kamieni w twarz i oczy, co要去 prowadzić do slepoty lub powaznych uszkodzencia.
Kable:
Uzywac jedernie kabla 1,00 mm² o dlugosci maksymalnej do 40 metrow.
Parametry maksymalne kabla:
Rozmiar kabla 1,00 mm²
3000 W
Kablezasilajace oraz przydłuźace są dostepne w lokalmym autoryzowanym centrum serwisowym. Naleź korzystać jej Dynie z przydłuźacy przyżznaczonych do uzytku zewnétrzngo.
Podłuczanie urzadzenia - blokada kabla/prźeduźace:
Przeciagnij przydłuczacz i wóź go do blokady kabla.
Zapobiegnie to przypadkowemu zerwaniu zasilania elektrzycznego. Nastepnie podłucz kabel do gniazdka zasilania.


Uruchamianie dmuchawy:

Włuczanie dmuchawy:
Przestaw przyȩcznik ZAŁ/WYŁ ② w poźycje ZAŁ (I), aby wączyć ur.§adzenia.
UWAGA: Prędkość silnika sągnejska lub zmiejejszo, korzystajac z funkcj zi zmieennej kontrolni prȩdkosci ②.
OSTRZEŽENIE: Aby nie uszkodzić urødzenia, z funkcjji zmieennej kontrli predkosci naležy korzystać tylko w trybie dmuchawy. NIE NALEZY probowć korzystania z funkcjji zmieennej kontrli predkosci w trybie odkurzacza. Nižsze predkosci podczas odkurzania moga powodowej gromadzenia sie zanieczyszczeni, zabudzenia silnika i awarie urødzenia.
Wylaczanie dmuchawy:
Aby wyłaczycz urzadzenia, ustawic przy.§cznik ZAL/WYL 20 w połozeniu WYL (0).
Pozycjrobocze:

Tryb dmuchawy
Urzadzenie möglich posłuzyć jako dmuchawa do wymiatania sciȩtej trawy z podjazdów, chodników, tarasów itp., a takłe do zamiatania sciȩtej trawy, szlomy lub liSci do kupek, badź usuwania brudu z narozników, zȩcz lub spomiedź cegiel.
Skorzystaj z funkcjci zmiennesk kontroli prędkosci, aby zwiekszyc lub zmniejszyc prędkość silnika podczas korzystania z dmuchawy.
Kierowastrumien powietrza kierujac rure dmuchawy w doł lub w jeder strone.
Nalezy pracstaw z dala od sciezek, glazów, pojazdów oraz ogrodzen.
Naroźniki czyszcie zaczynajć od rogow i przechodzic dalej, na zewnatrix. Pomoże to ochronicz twarz przyded ewentualnym zdmuchniȩciem nagromadzonego lekkiego gruzu.
Nalezy zachować ostrożnosć przy pracy w基础知识 roślin.
Siţa strumienia powietrzaMZe uszkodzic delikatne rośliny.

Tryb odkurzacza
Uzywać urzadzenia jako odkuracz,{jednie do zbieraniaSuchego materia'u, np. lisci,trawy, malych gałazek oraz kawlów papieru.
W celu uzyskania majlepszychwynikow odkurzania, urzadzenie powinno pracawać na wysokich obrotach.
Przesuwać odkurzaczem do przydodu i do tylu nad materiaLEM. Unikać wyprowadzania urzadzenia do stosu lekkiego gruzu, poniewaź要去 spowodowej zatkanie urzadzenia.
Aby uzyská optymalne rezultaty, utrzmywać rure odkurzacza ok. 2,5 cm nad powierzchnia.

OSTRZEZENIE: Ješli urzadzenie sie zatka, wylaczy je i odlaczyć kabel przydrużacza. Odczekać dopóki wirnik sie kompletnie nie zatrzyma, a nastepnie wyjac rury odkurzacza. Ostrożnie ocyszcie wnętrze odkurzacza. Zredukuje toMZlwość odniesenia obrażć od wirnika.
5. Przechowywanie
Przechowywanie:
Przechowywane urzadzenia musi byc odłaczone od zasilania. Przechowywać z Dana od zasięgu daneci.
- Wylaczyc urzadzenie i odlacyoc od zasilania.
- Przed odlozeniem do magazynu lub transporteim, odczekać, aż silnik wystygnie.
- Przechowywać urzadzenia zachowujć odpowsiedniaśrodku ostrożnosci. Umieść urzadzenia w taki sposob, aby zaden ostry przyźedmiot nie sągil nikogo zranic.
Przechowywanie zima:
Przygotowyczestaw do przechowywania na konieczonu lub jesti nie przywiduje sie为其ego uzytkowania przyez 30 dni i dędzej. jesti dmuchawa ma byc przyechowywana przyez dędźsy okres czasu:
- Włączyc urzadzenia i odśćczyć od zasilania.
- Wyczyscic urzadzenia przy dduzszm magazynowaniem.
- Otworzyc pokrywe wlotowa i wycyszcie z zabrudzen, trawy, lub innych nagromadzonych smieci. Skontrolowa dmuchawe oraz wszymstkie rury. Zamknac i sprawdzićczy pokrywa jest zamknieta.
- Uzyj miękkiego pędzelka, aby ocyszcie otwory wentylacyjni wloty powietrza z zabrudzeń. Nie naleź wystosowej wody.
- Przechowywać urzadzenia i przydłuźacz w pomieszczeni u z dobra wentylacja i pod przykryciem, jesto to��liwe, aby chronić je przy kurzem i zabrudzeniami. Nie przykrywać plastikiem. Plastik nie zezwala na odychanie i sąze powodowej, ze ewentualna kondensacja doprowadzi dogowstania rdzy i korozji.
- Sprawdzić,czy w zestawie nie ma poluzowanych Śrub. Wymienić wzystkie zniszczone, zuzyte lub zlamane czȩsci.
- Wyjmij rury, aby ułatwc przechowywanie.
Utylizacja:
(zgodnie dy kretytwja
UE 2002/96/EO)

Produktu nie nalezy dodawać do zwyklicy odpadów.
Nalezy zutylizacja go zgodnie z lokalnych przy数据分析 ochrony sądowiska.
6. Konserwacja

OSTRZEZENIE: Zatrzymaj prace urzadzenai i odłucz przyȩźac przydedokonaniem jakichkolwiek zmian, wymiany akcesiorów lub przyded przyeprowadzieniem konserwacje.
Takie dzialanie zapobiegawcze redukuje ryzyko przypadkowych uruchomienia naręźdia.
PRZED KAZDYM UZYCIEM
Sprawdzic,czynie ma poluzowanychczeci:
Wszystkie nakretki i s Ruby nalezy zawsze dokreca, aby zapewnić, ze urzadzenie jest zawsze w dobrym stanie technicznym. Upewnij sie, ze wzystkie czeci zostaly poprawnie zlozone.
- Pokrywa wlotu
Rura dmuchawy
Rury odkurzacza - Worek
Sprawdzić,czynie ma
uszkodzonych lub zuzytych
częsci:
W celu wymiany ziniszczonych lub zuzytych czeci nalezy skontaktować sie z autoryzowanym punktem handlowo-serwisowym.
- Wyłacznik dwupozycyjny ZAL/WYL - Sprawdzic prace wyłacznika przysemuwajc go w pozycje WYL. Sprawdzic, czy silnik sie zatrzyma; nastepnie ponownie zapalic silnik i kontynuować.
- Pokrywa wlotu - Zaprzestac korzystania z urzadzenia, pleasePokrywa wlotu nie zamyka sie wlasciwie lub jest w jakolwiek spośob uszkodzona.
PO KAzDYM UZYCIU
Skontrolować i przyȩcyszȩc urzadzenia i tabliczkı:
- Po kaźdym uzyciu, skontrolowa,czy w urzadzeniu nie ma poluzowych lub uszkodzonych czeci. Urzadzenia sąȩwycyszcie za pomocamykiego szmatki.
Wytrzechsucha sciereczka.
Wczyscic worek:
WAZNE: WOREK NALEZY WŁAŚCIWIE OPRÓZNIAC.
- Worek nalezy wąsckiwie oprózniać i konserwowaec, aby zapobiec seinen zniszczeniu oraz utrudnieniu przyptywugowiatrza.
- Zijdac worek i opróznic go po kaźdym uzyciu. Nie przechowywać worka, jestli nie oprózni sie go z zwartosci (trawy, liSci itp.).
- Raz do roku wyprac worek. Zdjec worek z dmuchawy i obróci na lewa strone. Przymy pod woda z węza. Zawiesić worek i wysuszyć przyd ponownym zainstalowaniem i uzyciem.

OSTRZEZENIE: Ješli urzadzenie sie zatka, wylaczy je i odlaczyc kabel przydruzacza. Odczekać dopóki wirnik sie kompletnie Nie zatrzyma, a nastepnie wyjac rury odkurzacza. Ostrożnie ocyszcie wnétrze odkurzacza.
Zredukje toMZloWiOsc odniesienia obrazen od wirnika.
Wyjmowanie przydmiotu
z wlotugowiatra:
- Wyjmowanie ur odkurzacza.
- Ostrożnie siegnac do otworu odkurzacza i przyeczyScić wlot powietrza. Usunac wszelkie zanieczyszczenia z wirnika.
- Skontrlować,czy w wirniku nie ma pękniȩc. Jesli wirnik jest uszkodzony, lub są w nim pękniȩcia, nie wolno korzystać z urzadzenia. CzekiNSE nały wymienić w autoryzowanym punkcie handlowo-serwisowym. Nie wolno probwowac dokonywać wymiany czȩci samodzielnie.
7. Rozwiązywanie problemów

OSTRZEZNIE: Nalezy zawsze wyłaczy urzadzenia i odłaczy przyȩdʒuźacz przyded dokonieniem wzystkich zalecanych kroków, za wyjalkiem tych czynnosci, któ wymagaj przyprus urzadzenia.
Nalezy zatrzymać silnik i odczekać, æ przelstān æ obracać topatki wirnika.
| Problem | Mozliwa przyczyna | Co zrobć |
| Urzadzenia nie pracuje. | 1. Wymiarcznik jest w poźycji WYŁ (0). | 1. Ustawić wyȩcznik na poźycje WŁ (l). |
| 2. Kabel przyȩźucza odȩczony. | 2. Podȩcz ponownie kabel przyȩźucza. | |
| 3. Wymiarcznik glówny jest wymiarczy lub bezpiecznik przyepalony. | 3. Wymiarczy wyȩcznik glówny lub zmienić bezpiecznik. | |
| 4. Rura dmuchawy, rura kolankowa i/lub rura odkurzacza nie zostafa zamocowanap oprawnie. | 4. Sprawdz mocowanie rury. | |
| 5. Worek jest pełny. | 5. Opróznij worek. | |
| 6. Awaria mechaniczna. | 6. Naleź skont⁺tutować są z autoryzowanym punktem handlowo-serwisowym. | |
| Urzadzenia wibruju w sposob nienaturalny. | 1. Awaria mechaniczna | 1. Naleź skont⁺tutować są z autoryzowanym punktem handlowo-serwisowym. |
| Wirnik nie obraca są swobodnie. | 1. Zanieczyszczenia wokół wlotu powietrza. | 1. Oczyść ur⁻zadzenia. Usⁿ⁺ć smieci. |
| 2. Awaria mechaniczna. | 2. Naleź skont⁺tutować są z autoryzowanym punktem handlowo-serwisowym. |

W przypadku innych awarii sązy skont⁺tow⁻ć są z dzia⁻lem serwis⁻wym GARDENA.
Naprawy musza zostac przechrowadzone przydziały serwisowe GARDENA lub spezialistycznych sprechodawców autoryzowanych przyez firme GARDENA.
8. Dane techniczne
| Silnik – zužycie energii | Maks. 3000 W |
| Napiȩcie sieci | 220 – 240 V |
| Czȩstotiwość | 50 Hz |
| Przejność wodkurzania | 170 l/s |
| Współczynnik kompaktomania至少十 | 16:1 |
| Prędkość podmuchu | Maks. 310 km/h |
| Waga – dmuchawa/odkurzacz | Maks. 4,5 kg |
| Pojemnosć worka na至少些 | 45 l |
| Poziom hałasu w首选su pracy | 82,6 dB(A), KpA: 3,0 dB(A) |
| Poziom hałasu LWA2) | Pomiar 99 dB(A) / gwarantowy 102 dB(A) |
| Wibracja dIoni/råki a_vhw1) | 3,92 ms2, K: 1,5 ms2 |
9. Serwis/gwarancja
Gwarancja:
Firma Husqvarna Poland Spółka z o.o. udziela na zakupiony artykuł gwarancji na warunkach zawartych w karcie gwarancynej, która winna być wydana przyszedawcie.
W przypadku reklamacji w trybie gwarancji nalezy przy przdstawic wąznę karte gwarancyjm zraw z dokumentem zakupy.
GARDENA ErgoJet 3000 (EJ3000)

5) Udrzba a uskladnenie
7. Riešenie problemov

Propisno korijscenje usisivača:
Duvac GARDENA ErgoJet 3000 se koristi kao usisivač za sakupljanje suvog materijala kao što je lišće, trava, grančice i komadici papira.
OPASNOST! Opasnost od povrede!

Poland Spółka z o.o.
ul. Wysockiego 15 b
03-371 Warszawa
Phone: (+48) 223309600
gardena@gardena.pl
Portugal
Husqvarna Portugal, SA
Lagoa - Albarraque
2635 - 595 Rio de Mouro
Tel.: (+351) 21922 85 30
Fax: (+351) 21922 85 36
info@gardena.pt
Romania
Madex International Srl
Soseaua Odaii 117-123
RO 013603
Bucuresti, S1
Phone: (+40) 21 352.76.03
madex@ines.ro
Russia
OOO, XyckBapHa
141400, Mockobcka 06n.
r. XmM
yinzaJIeHHHpaDcKa,
BnaaHeHne 39, cTp.6
Bn3Hec LcHTp
"XIMKn Bn3Hec NapK",
nomeueHne OB02_04
Serbia
Domet d.o.o.
Autoput za Novi Sad bb
11273 Belgrade
Phone: (+381) 118488812
miroslav.jejina@domel.rs
Singapore
Hy-Ray PRIVATE LIMITED
40 Jalan Pemimpin
ProstaInstrukcja