Ergojet 3000 - Støvsuger blæser GARDENA - Gratis brugsanvisning og manual
Find enhedens vejledning gratis Ergojet 3000 GARDENA i PDF-format.
Brugerspørgsmål om Ergojet 3000 GARDENA
0 spørgsmål om dette apparat. Besvar dem du kender, eller stil dit eget.
Stil et nyt spørgsmål om dette apparat
Download vejledningen til din Støvsuger blæser i PDF-format gratis! Find din vejledning Ergojet 3000 - GARDENA og tag din elektroniske enhed tilbage i hånden. På denne side er alle dokumenter nødvendige for brugen af din enhed offentliggjort. Ergojet 3000 af mærket GARDENA.
BRUGSANVISNING Ergojet 3000 GARDENA
Oversættelse af den oprindelige brugsanvisning på engelsk. Laes anvisningerne om brug omhyggeligt og læg mærke til de fremhævede bemærkninger. Lær redskabet at kende ved hjælp afijkebrugsanvisning, lær om korrekt anvendelse af redskabet, og læs sikkerhedsanvisningerne.

Af sikkerhedsgrunde må børn og unve under 16 År samt personer, der/DDke har læst这部分brugsanvising,ikke anvende dette redskab.Personer med nedsatte fysiskeller intellektuelle evner mä kun anvende dette redskab,hvis de overvåges ell er instrueres af en ansvarlig person.
Indhold:
Opbevariennebrugsanvisningpaaetsikkertsted.
- Anvendelsesomrade for din GARDENA ErgoJet 3000 .66
- Sikkerhedsanvisninger 67
- Samling 70
4.Drift 72
5.Opbevaring 74
6.Vedligeholdelse 75 - Fejlfinding 76
8.Tekniske data. 77 - Service/garanti 77
När man anvender GARDENA ErgoJet 3000 som en blæser, kan den feje snavs eller afklippet græs æk fra indkørsler, gangstier, terrasser osv., og den kan blæse afklippet græs, stråller blade sammen i dynger, eller fjerne snavs fra hjørner, omkring samlinger eller mellem mursten.
Korrekt anvendelse som suger:
När man anvender GARDENA ErgoJet 3000 som suger, kan den opsamte tört materiale sāsom blade, græs, smågrene og papir.
FARE! Risiko for tilskadekomst!

Dette redskab kan vare farligt, hvis ikke man anvender det korrekt. For at garantere rimelig sikkerhed og effektivitet under brugen af redskabet, skal man ffolge advarslerne og sikkerhedsanvisningerne i/DDne brugsanvisning. Brugeren er ansvarlig for at folge alle adversler og anvisninger i/DDne brugsanvisning og på redskabet. Brug aldrig redskabet, hvis ikke de medfolgende afskarmninger er monteret korrekt.
2. Sikkerhedsanvisninger
→ Se sikkerhedsanvisningerne på ErgoJet 3000.

ADVARSEL: Dette redskab kan vare farigt! Uforsigtig aller forkert brug kan medfore alvorlige tilskadekomst.

Du skal lase anvisningerne grundigt, og du skal kende alle betjeningsknapperne og deres Funktion.

Redskabet må ikke udsættes for regn. Efterlad ikke redskabet udenfor, när det regner.

Sluk! Tag stikket ud af stikkontakten for enhver form for justering eller rengoring, eller hvis ledningen er sammenfiltret eller beskadiget.

Det anbefales, at man bruger sikkerhedsbriller og horeværn.

Hold andre personer
pà afstand.
Betegnelsen "eldrevet redskab" i adverslerne refererer til dit eldevne redskab (med ledning) tilsluttet lysnettet.
1) Sikkerhed i arbejdssomradyet
a) Dette produit er ikke beregnet til brug af personer (herunder børn) med begrænsede fysiske, sansemæssige eller mentale evner eller mangel på erfaring og viden, medmindre de overvåges aller undervises i brug af produitet af en person med ansvar for deres sikkerhed. Der skal altid fores tilsyn med børn for at sikre, at de ikke leger med produitet. Vær opmærksom på, at lokale bestemmelsek kan diktere en mindstealer for operatoren. Man på aldrig lade børn og personer, der ikke kender til这部分vejledning, bruge produitet. Eldrevne redskaber udgør en fare for personer, der ikke er instrueret i at bruge dem.
b) Hold børn og tilskuere væk, nár du anvender et eldrevet redskab. Forstyrrelser kan medføre, at du mister kontrollen over redskabet.
c) Der参加会议的股东在会议开始前,应先到会场进行登记。
d) Hold arbejdsområdet rent og godt oplyst.
Rodee eller mørke områder medfører ulykker.
e) Brug/DDlevne redskaber i eksplosive miljoer, eksempelvis i nærheden af brandbare vasker, gasser ell stov.
Eldrevne redskaber danner gnister, som kan antaende stov aller dampe.
2) El-sikkerhed
a) Stikket pä det eldrevne redskab skal passe til stikkontakten. Man mä aldrig ændre pä stikket. Brug违法犯罪 med jord forbundne eldrevne redskaber. Må kun anvendtes til vekselström som angivet pä typepladen. Ingen af redskabetse dele mä under nogen omstændigheder jord forbindes.
Uændre stik og passende stikkontakter reducerer risikoen for elektrisk stød.
b) Undgå kropskontakt med jord forbunde overflader sāsom rør, radiatorer, komfurer og koleskabe. Der er øget risiko for elektrisk stød, hvis din krop er jord forbundet.
c) Udsæt ikke elderrevne redskaber for regn aller våde omgivelser.
Hvis der træŋger vand ind i eldrevne redskaber, øger det risikoen for elektrisk stød.
d) Brug aldrig ledningen forskert. Brug aldrig ledningen til at bare erller trække redskabet med, og ryk aldrig stikket ud med ledningen. Hold ledningen væk fra varme, olie, skarpe kanter eller bevgelige dele. Undersog ledningen for beskadigelseer, før du bruger den. Udskift ledningen, hvis der er tegn pa beskadigelseller aeldning. Produkt-maskinen ma ikke anvendes, hvis de elektriske kabler er beskadigede erller slidte. Tag straks stikket ud
af stikkontakten hvis kablet bliver skaret over,
eller isoleringen beskadiges. Du mägressive det elektriske kabel, für forbindelsen til
strömmen er afbrudt. Du mägressive reparere et
overskaret aller beskadiget kabel. Hele kablet
skal skiftes ud. Beskadigede aller sammen
filtrde ledninger øger risikoen for elektrisk stød.
e) Elledningen må ikke vare tvundet.
Tvundne ledninger kan blive for varme og reducere redskabets effekt. Rul altid ledningen forsigtigt sammen, undgå knæk.
f) Ved udendørs brug af et elværktøj skal anvendes en forlaengerledning, der er egnet til udendørs brug med stik i henhold til IEC 60320-2-3.
Brug af en ledning, der er egnet til udendors.
brug, reducerer risikoen for elektrisk stod.
g) Hvis ikke man kan undgå at anvende et eldrevet redskab på fugtige steder, skal man anvende et stik, der er beskyttet af en fejstrømsafbryder. Vi anbefaler at bruge et fejstrømsrelæ med en nominal fejstrøm ≤ 30 mA. Selvom der er installereret en reststrømenhed, kan der ikke garanteres 100% sikkerhed, og sikre arbejdsrutiner skal altid iagtagtes. Kontroller din reststrømenhed, hvare gang du bruger den. Enf ejlstrømsafbryder nedsætter risikoen for elektrisk stød.
3) Personlig sikkerhed
b) Brug personligt beskyttelsesudstyr. Brug altid sikkerhedsbriller og horeværn. Det anbefales at gå med en maske for ansig-tet for at undgå stovirritation.
Beskyttelsesudstyr sasom sikkerhedsbriller, horevaern, stovmasker, skridsikkert sikkerhedsfodtj erler hjelm anvendt under relevante forhold nedsætter risikoen for tilskadekomst.
c) Undgå utilisigtet start af redskabet. Sørg for, at kontakten er SLÅET FRA, før du safter ledningen i stikkontakten eller løfter eller bærer redskabet. Hvis man bærer eldrevne redskaber med fingre på kontakten, eller hvis man tilslutter ledningen pæ eldrevne redskaber medændt kontakt, er der stor risiko for ulykker.
d) Ræk-ilke for langt frem. Sorg for altid at have godt fodfæste og god balance. Hvis De arbejder på skræninger, skal De være ekstra forsigtig med, hvor De placerer fddderne, og
sorge for at anvende fooltj med skridsikre saler. Gå ikke baglæns, nár du klipper græs, du kan risikere at falde. Du skal gå, ikke lobe. Brug ikke redskabet, nár du står på en stige. Det giver bedre kontrl over det eldrevne redskab i uventede situationer.
e) Vær korrekt påklaedt. Brug altid passende beklaedning, handsker og sikkerhedsfodtøj. Bær ikke lolestsdende toj eller smykker. Hold hare, toj og handsker væk fra bevægelige dele.
Lost toj, smykker erler langt hare kan blive fanget i bevegelige dele.
4) Brug og pleje af eldrevne redskaber
a) Brug kun redskabet pa den maje og til det arbejde, der er beskrevet i donne brugsanvisning. For altid kablet bagud, vek fra produitet. Belast ici det eldrevnere redskab for hardt. Brug det redskab, der passer til det arbejde, du onsker at udfore.
Det rigtige eldrevné redskab kan udfore arbejdet bedre ogmere sikkert og med den effekt, som det er udviklet til at levere.
b) Kontroller altid at din produit bladkvarn er i god og sikker stand inden den tages i brug. Brug ikke det eldrevné redskab, hvis afbryderen er defekt. Du skal vide, hvordan redskabet stoppes i nødstilfælde.
Ethvert eldrevet redskab, der icike kan styres med afbryderen, er farigt og skal repareres.
c) Blæserhjulet fortsetter med at køre, nær du har slukket for redskabet.
For at undgå at blive såret af blæservingerne skal motoren vare standset, og vingeme må ikke længere dreje rundt.
d) Afbryd redskabets strømforsyning:
-For du fjerner erler udskifter en fyldt opsamlingssaek,
- for du afterlader redskabet uden opsyn i en periode,
- for du fjerner en blokering,
- før du kontrollerer, rengør eller arbejder på redskabet,
- hvis redskabet beynder at vibrere på en unnormal@máde. Kontrolér med det samme. Overdrevne vibrationer kan medfrole tilskadekomst.
- für du giver redskabet til en,anden person.
e) Opbevar eldrevne redskaber, der/DDbruges, utilgengeligt for børn, og lad/DDkperoner, der/DDkender redskabet elldisse anvisninger, bruge redskabet.
Eldrevne redskaber udgør en fare for personer, der ikke er instrueret i at bruge dem.
f) Vedligeholdelse af eldreve redskaber. Kontroler, om bevagelige dele sidder korrekt, aller om de binder. Se ogsa after, om der er defekte dele, og kontroller alle andre forhold, som kan pavirke driften af redskabet. Hvis det er beskadiget, skal du f Det eldreve redskab repareret for brug. Sorg for at der ici er urenheder i indsugningerne. Mange ulykker skyldes, at eldreve redskaber er darligt vedligeholdt.
g) Brug det eldrevn redskab og tilbehoret i overensstemmelse med disse anvisninger, og vær opmaerk som på arbejsbetingelserne og det arbejde, der skal udefores. Brug kun redskabet i daglys erler i skarpt kunstigt lys. Hvis man bruger det eldrevn redskab til andre formalend de tiltænkte, kan det medfere farlige situationer.
5) Vedligeholdelse og opbevaring
Få en kvalificeret reparator til at foretageservice på dit eldernevredskab, og brugkun originale reservedele. Dette sikrer, at deteldrevne redskab altid fungerer sikkert.
- For at sikre at redskabet er i god arbejdstil-stand, skal alle motrikker, bolte og skruer altid vare skruet godt fast.
- For en sikkerheds skyld skal alle slidte aller beskadige dele udskiftes.
- Brug kun originale resvededele og originalt tilbehør.
-Efterse opsamlingssækken jaenvligt. Hvis opsamlingssækken bliver slidt aller beskadiget, skal den udskiftes. - Opbevar redskabet på et kolest og tört sted og.uden for børns rækkevidde. Opbevar ikke redskabet udendørs.
Sikkerhedsadvorsler vedrørende blæser
- Undersøg arbejdsområdet, før du tager redskabet i brug. Fjern snavs og härde genstande sasom sten, glasskar, ståltråd og lignende, der vil kinne rikochettere, blive kastet eller på,anden måde kinne forårsage kvæstelse eller skade under arbejdet.
- Brug aldrig redskabet, hvis ikke det korrekte tilbehør er monteret.
Montér altid et blaeserror, nár du anvender redskabet som blaeser. Brug kun anbefalede montagedele for at forebygge tilskadekomst.
- Brug ikke blæseren tæt på brændende blade eller buske, Åbne kaminer, bæpladser, askebægre eller lignende.
Ved en korrekt anvendelse af blaeseren undgarn man, at ild spredes.
Anbring aldrig genstandie i blaeserroret. Ret altid strommen væk fra personer, dyr,
glas og faste genstande sasom træer, biler, vægge og lignende. Kraften fra luftstrømmen kan kaste sten, snavs og kviste mod disse genstande, hvorfra de kan blive kastet tilbage, SSE de särer personer uller dyr, ødelaegger glas ell er aan den mäde forrsager skader.
- Brug aldrig redskabet til spedning af kemikalier, gødning eller andre stoffer. Dette vil forebygge sprendningen af gilt materiale.
Sikkerhedsadvarsler vedrørende suger
- Stands motoren og afbryd forlangerledningen, før du abner luftindtaget eller forsøger at montere eller fjerne sugerrørene.
For at undgå at blive saret af blaeservingerne skal motoren vare standset, og vingerne må不同程度. ikke længere dreje rundt. - Undersog arbejdsområdet, før du tager redskabet i brug. Hårde genstande kan blive slynet gennem opsamlingsækken eller huset, og de kan skade brugeren aller andre personer alvorligt.
- Opsug/DD: sten, grus, metal, glasskar el. lign. Korrekt brug af redskabet vil reducere risikoen for personlig tilskadekomst og/eller beskadigelse af redskabet.
- Forsog ikke at opsuge vand eller andre væsker. Hvis vand eller andre væsker træŋger ind i eldrevne redskaber, øger det risikoen for elektrisk stød.
- Brug aldrig redskabet, hvis ikke det korrektie tilbehør er monteret. Nár du bruger redskabet som suger, skal du altid montere eheden med sugerrør og opsamlingssæk. Sørg for, at eheden med opsamlingssæk er lynet helt til, nár redskabet kører, for at undgå, at urenheder flyver omkring. Brug kun anbefalede redskaber.
- Undlad at opsuge brugte tændstikker, cigarer, cigaretter erler aske fra Åbne kaminer, bälpladser, kvasbunker osv. Undgø situationner, hvor opsamlingssækken risikerer at blive antændt. For at undgø brandfare ma blæseren ikke anwendes iærheden af brændende blade erller buske, Åbne kaminer, bälpladser, askebaegre erller lignende.
- Brug altid en skulderrem, nár du anvender redskabet som suger. Dette hjælper dig med at styre det eldvne redskab.
- Kontroller luftindtag, vinkelrør og sugerror oft, og redskabet skal altid vaere standset, og stromforsyningsledningen skal vaere afbrud. Hold luftindtag og rør fri for snavs, der kan ophobes og hindre luften i at stromme frit. Brug ikke redskabet, hvis nogle af abningerne er blokeret. Hold redskabet fri for støv, travler, hær eller andet, der kan reducere luftstrømmen.
3. Samling

ADVARSEL: Stands redskabet, og tag forlængerledningen ud af stikkontakten, før du abner indugsningsdækslet eller monterer eller afmonterer blæserrøret eller sugerrøret.
For at undgå at blive saret af blæservingerne skal motoren være standset, og vingerne må ikke længere dreje rundt.
Montering af blaeserrreet:

- Ret rillerne på blæserrøret ① ind after rillerne på blæserudgangen ②.
- Skub blaeserrøret ind på blaeserudgangen, indtil det klikker papi plads. Røret er sikret af den orange udloserknap ③.
- När blæserrøret skal tages af, skal du trykke udloserknappen ③ ind og trække røret udad.
BEM/ERK: En sikkerhedskontakt hinder redskabet i at starte, hvis blaeserrøret ikke er monteret korrekt.
Montering af sugerror:

- Abn indsugningsdakslet ④ ved at frigore palen ⑤ som vist, og træk opad i hjælpegrebet ⑥.

- Lad palen gå i indgreb på blæserens bagerste handtag ⑦. Pas på, at stromforsyningsledningen ⑧ ikkekommen i klemme.

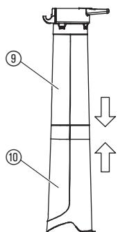
BEM/ERK: Redskabet har 2 sugerror, et for oven ⑨ og et for neden ⑩ . Det overste ror er i den ene ende udstyret med et hagensel og med kroge, og det er lige i begge ender. Det overste ror sættes på blæserenheden. Det nederste ror er skråt i den ene ende. Denne Ende skal vende mod jorden, narr redskabet bruges som løvsuger. Det nederste ror sættes på det overste ror.
- När det nederste rør ⑩ skal sættes på det overste rør ⑨, skal samlingerne på de to rør Först rettes ind after hinanden. Herefter skal man skubbe de to rør sammen, indtil det nederste rør sidder sikkert fast på det overste.

- Sæt hængslet ⑫ på det øverste rør ind i krogen ⑪ i bunden af redskabet.
- Stot redskabet mod jorden, og drej blaeserenheden, indtil roret gär ind i palerne på holderne 44 på blaeserenheden.
BEM/ERK: En sikkerhedskontakt hinderrediskabet i at starte, hvis sugerrarene ikke er monteret korrekt.


Montering af opsamlingsssaekken:
- Ret rillerne på vinkelrøret ⑤ ind after rillerne på blæserudgangen ②.
- Skub vinkelrøret ind på blæserudgangen, indtil det klikker på plads. Vinkelrøret er sikret af den orange udloserknap ③.
- Hæft opsamlingssækken 16 på med lækkerne på overste 9 og nederste sugerrør 10.
BEMÄRK: En sikkerhedskontakt hinder redskabet i at starte, hvis vindelrøret ikke er monteret korrekt.

Påsætning af skulderremmen:
Der følger en skulderrem med redskabet, som er en ekstra stotte, nár du bruger redskabet som suger. Sæt remmen på redskabet, for du bruger det. Sæt krogen på holderen ⑦.
AEndring af redskabet fra suger til blaeser:
- Sluk redskabet og tag forlaengerledningen ud af stikket.
- Fjern vinkelroret og opsamlingsækken.
- Tag sugerrørene af ved at frigore palen på indsugningsdækslet, og drej dækslet, indtil rørene frigores fra palerne på holderne.
- Luk indsugningsdakslet, og sorg for, at det er fastgjort.
- Sæt blæserrøret påigen. Se PÁSÆTNING AF BLAESERRØR for ophysninger om, hvorledes denen del sættes på.
BEM/ERK: En sikkerhedskontakt hinder redskabet i at starte, hvis indsugningsdækslet ikke er korrekt fastgjort.

4. Drift

ADVARSEL: Flyvende genstande og kontakt med vingehjulet kan forårsage alvorlige skader, söredskabet pågressive bruges, medindre at rørene eller opsamlingssækken er fastgjort korrekt.
Bær altid handsker og beskyttelsesbriller for at undgå, at sten og snavs bliver blæest ind øjne og ansigt, da dette kan forårsage blindhed eller alvorlige skader.
Ledninger:
Brug kun ledninger, der har et tværsnit på 1,00 mm² og er maks. 40 meter lange.
Maks. størelse:
Man kan bestille ledninger og forlængerledninger hos det lokale godkendte servicecenter. Brug kun forlængerledninger, der er beregnet til udendørs brug.
Tilslutting af redskabet - ledningslas/ forlaengerledninger:
Lav en looke på forlaengerledningen 18 og sæt den ind il edningslåsen 19.
Dette forbinder, at den elektriske forbindelse afbrydes utilsigtet.
Tilslut herefter ledningen til stromforsyningen.


Start af blaeseren:

Arbejdstillinger:


At tænde for blæseren:
Saat ON/OFF knappen ② i ON (I) positionen for at starte redskabet.
BEM/ERK: Motorens omdrejningstal kan øges aller sænkes med den variable hastighedskontrol ②.
FORSIGTIG: For at undgå at beskadige redskabet på man kun anvende den variable hastighedskontrol ved blæsning.
BRUG IKKE den variable hastighedskontrol ved sugning. Lavere hastighed ved sugning kan medfore, at der ophobes snavs, som belaster motoren og medforer fejl på redskabet.
At slukke for blaeseren:
For at stoppe blæseren skal man sætte ON/OFF kontakten 20 i OFF (0) position.
Blaesning
När man anvender redskabet som en blæser, kan den feje snavs eller afklippet græs væk fra indkørsler, gangstier, terrasser osv., og den kan blæse afklippet græs, strå eller bladeammen i dynger, eller fjerne snavs fra hjørner, omkring samlinger eller mellem mursten.
Brug den variable hastighedskontrol til at ogte erller sänke motorens hastighed, nar der blæses. Styr luftströmmen ved at fore blæserröret nedad ell er til den ene side.
Arbejd altid væk fra faste genstande sasom fortove, store sten, koretojer ull hegn.
Rens hjørner ved at starte i hjørnet og arbejde udad. Dette vil hjæle med at samle snavset, der ellers vil kinne blæse op i ansigtet. Vær forsigtigt under arbejde iærheden af planter. Luftstrømmen kan beskadige sarte planter.
Sugning
Brug redskabet som suger til at opsuge tøre materialer som blade, græs, smågrene og papir.
Lad redskabet kore med hoj hastighed, hvilket giver det bedste resultat ved sugning.
Bevæg redskabet langsomt frem og tilbage over materialet, mens der sugs. Undgå at sötte redskabet i bunker af snavs, da dette kan medføre tilstopning.
De bedste resultater opnås, hvis man holder sugerrøret et par centimer over jorden.

ADVARSEL: Hvis redskabet tilstoppes, skal man standse det og tag forlangerledningen ud af stikket. Vent til vingehjulet er helt standset, og tag sö sugerrörene af. Ræk forsigtigt ind i sugeåbningen, og fjern snavset, der tilstopperde n.
Dette vil reducere risikoen for tilskadekomst på grund af vingehjulet.
5. Opbevaring
| Opbevaring: | Redskabet skal opbevares,uden at,vare forbundet til en stikkontakt og,uden for børns rækkevidde. |
| 1.Sluk redskabet,og tag stikket ud af stikkontakten.2.Lad motoren kole af før transport eller opbevaring.3.Opbevar redskabet med alle skærme på deres pladser.Anbring redskabet således,at skarpe genstande ikke forårsage skader. | |
| Overvintring: | Gør redskabet klart til opbevaring,när,sæsonen er slut,eller,hvis det ikke skal anvendesi 30 dage erllermere.Hvis blæseren skal opbevares i en periode:1.Sluk redskabet,og tag stikket ud af stikkontakten.2.Rengør—hele redskabetforall,en længevaraende opbevaring.3.Abn indsugningsdækslet,og fjern al snavsEllergræs,der har hobet sig op.Efterseblæseren og allerø.Luk indsugningsdækslet,og sorgfor at det er låst.4.Brug en blødbørste til rengörning af ventilationshuller ogluftindtag for snavs.Brug ikke vand.5.Opbevar redskabet og forlængerledningen på et sted med godudluffning,og tildækdet om muligt for at undgå ansamling afstøv og snavs.Dæk ikke redskabet med plastic.Plastic laderIkne redskabetände,og der kan derfor samles kondensvand,hvilket kan medføre rust ogætsning af redskabet.6.Kontrlér—hele redskabetfor,lose skruer.Udskift beskadigede,slidteell derdefekte dele.7.Fjernrørfor at lette opbevaringen. |
| Bortskaffelse:(i henvold til EU-direktiv2002/96/EU) | DetteproduktmåIkkebortskaffesammenmedalmindeligthusholdningsaffald.Det skal bortskaffes i henvold til lokale miljøbestemmelse. |
6. Vedligeholdelse

ADVARSEL: Stands redskabet og afbryd forlaengerledningen, før du foretager justeringer, skifter tilbehør eller foretager vedligeholdelse.
Disse forholdsregler reducerer risikoen for, at det eldrevn redskab startes utiliseitet.
FØR HVER BRUG
Kontroller, at der ikke er nogle lose fastgorelsesanordninger eller dele:
For at sikre at redskabet er i god arbejdstilstand, skal alle motrikker, bolte og skruer altid vare skruet godt fast. Kontrolér, at alle dele er samlet korrekt.
- Indsugningsdaeksel
- Blaeserror
- Sugerror
- Opsamlingssæk
Kontroller for slidte aller beskadigededle le:
Kontakt et autoriseret serviceværksted for at fã udskiftet beskadi-gede aller slidte dele.
- ON/OFF-kontakt - Sørg for, at kontakten fungerer korrekt ved at flytte den til positionen OFF. Kontroller, at motoren standser, start sa redskabet og fortsett.
- Indsugningsdæksel - Hvis indsugningsdaekslet ikke lukker rigtigt aller er beskadiget på nogen@måde, mA redskabet ikke bruges.
EFTER HVER BRUG
Efterse ogrens redskabet og mærkaterne:
- After haver brug skal man efterse hele redskabet for slidte eller beskadigede dele. Rengor redskabet med en fugtig klud.
- Tør det after med en ren, tør klud.
Rengoring af opsamlingsaekken:
VIGTIGT: OPSAMLINGSS/AEKKEN SKAL TOMMES KORREKT.
- For at undgå at sækken forringes, eller at luftstrømmen tilstoppers, skal sækken tommas og vedligeholdes korrekt.
- Tag opsamlingssækken af redskabet, og tøm den after haverbrug. Læg ikke sækken væk,.uden at den er tomt for alt indhold(græs,blade osv.).
- Vask sækken en gang om Året. Tag sækken af blæseren, og vend vrangen udad. Skyl sækken med en vandslange. Hæng den til tørre, og sørg for, at den er helt tør, for den anvendes igen.

ADVARSEL: Hvis redskabet tilstoppes, skal man standse det og tag forlangerledningen ud af stikket. Vent til vingehjulet er helt standset, og tag sö sugerröre af. Ræk forsigtigt ind i sugeabninger, og fjern snavset, der tilstopperde n.
Dette vil reducere risikoen for tilskadekomst på grund af vingehjulet.
Fjernelse af en genstand fra luftindtaget:
- Tag sugerrorene af.
- Ræk forsigtigt ind i sugeåbningen, ogrens luftindtaget. Fjern alt snavs fra vingehjulet.
- Efterse vingehjulet for revner. Hvis der findes revner.
eller beskadigelser, ma redskabet ici anvendes.
F da din autoriserede forhandler til at udskifte delene.
Forsog ici selv at udskifte dem.
7. Fejlfinding

ADVARSEL: Stands altid redskabet og tag forlængerledningen ud af stikkontakten før enhver af nedenstående anvisninger udføres, medindre at de kræver, at redskabet kører.
For at undgå at blive saret af blæservingerne skal motoren være standset, og vingerne må ikke længere dreje rundt.
| Problem | Mulig ørsag | Afhjælpning |
| Redskabet kører ikke. | 1. Stør kontakten på OFF (0). | 1. Sæt kontakten i positionen ON (I). |
| 2. Forlængerledning afbrudt. | 2. Tilslut forlængerledningen igen. | |
| 3. Hovedafbryder udlost eller sikring spreunget. | 3. Nulstil afbryderen eller sikringen. | |
| 4. Blæserrør, vinkelrør og/eller sugerrør ikke monteret korrekt. | 4. Kontrollér monteringen af rør. | |
| 5. Opsamlingssækken er fuld. | 5. Tøm opsamlingsækken. | |
| 6. Mekanism fejl. | 6. Kontakt din autorisere de forhandler. | |
| Redskabet vibrerer unnormalt. | 1. Mekanism fejl | 1. Kontakt din autorisere forhandler. |
| Vingehjulet drejer ikke frit. | 1. Urenheder ved luftindaget. | 1. Rens redskabet. Fjern snavs. |
| 2. Mekanism fejl. | 2. Kontakt din autorisere forhandler. |

Ved alle andre driftsforstyrelser skal du kontakte GARDENA serviceafdelingen. Reparationer skal foretages af GARDENA serviceafdelingen aller af specialister hos forhandlere, der er godkendt af GARDENA.
8. Tekniske data
| Motor - strømforbrug | 3000 W maks. |
| Netspænding | 220 – 240 V |
| Frekvens | 50 Hz |
| Sugeflow | 170 l/s |
| Tildækning | 16:1 |
| Blaeserhastighed | Maks. 310 km/t |
| Vægt blæser/suger | Maks. 4,5 kg |
| Opsamlingsssækkens kapacitet | 45 l |
| Stojniveau i arbejdsområdatin | 82,6 dB(A), KpA: 3,0 dB(A) |
| Stojniveau LWA2) | Målt 99 dB(A) / garanteret 102 dB(A) |
| Hånd/armvibration avhw1) | 3,92 ms2, K: 1,5 ms2 |
9. Service/Garanti
Garanti:
I garantitilfaelde er serviceydelser gratis for Dem.
GARDENA's garanti for dette produit er 2år (fra købsdatoen). Garantien dækker alle væsentlige defekter på apparatet, som kan bevises at stamme fra materiale- eller produktionsfejl. Hvis reparationen dækkes af garantien vil vi vælge enten at udskifte apparatet eller at reparere indsendt apparat ut den beregning, under forudsætning af at følgende er overholdt:
- Apparatet er behandlet korrekt og iht. informationerne beskrevet i brugsanvisingen.
- Hverken kober eller tredjepart har forsogt at reparere apparatet. Blaeserroret og sugerrorene er sliddele, og de er/DDkket af garantien.
Denne fabriksgaranti har ingen indflydelse på eksisterende garantikrav over for forhandleren.
I tilfælde af fejl skal det defekte apparat indsendes ufranko sammen med kvitteringen og en fejbeskrivelse med porto til serviceadressen, som er oplyst påbagsiden.
GARDENA ErgoJet 3000 (EJ3000)


Må违法犯罪 for regn.
Ikke la Produktet ligge ute mens det regner.

Hold tilskuere på avstand.
Generelle advarsler for elektroverktoy

1) Sikkerhet på arbeitsområdet
a) Dette produitet er ikke ment brukt av personer (inkludert barn) med reduserte fysiske, sensoriske eller mentale evner,ller med manglende erfaring og kunnskap,med mindre de er under oppsyn erher fatt instrukser angænde bruk av produitset av en person som er ansvarlig foreres sikkerhet. Barn skal vare under oppsyn for a vare sikker pa at de ikke leker med produitset. Lokale regulativer kan muligens begrense alderen pa operatoren. La aldri barn ellersoner som ikke er kjente med disse instruksene bruke produitet. Et elektroverktoy er farlig i hendene til personer som ikke har opplæring i ä bruke det.
b) Hold barn og tilskuere på avstand nr du bruker et elektroverktøy.
Hvis du blir distrahert fár du dārligere kontroll.
d) Koble Produktet fra strømforsyningen:
- for du tar av eller bytter oppsmilingsposen
- hver gang du for kortere eller lenghte tid forlater apparatet uten tilsyn
-For du fjerner en blokkering - før du kontrollerer, rengjørller arbeider pa apparatuset
- dersom produit begyinner Å vibrere unormalt (Kontroller produit umiddelbart. Kraftig vibrasjon kan före til persokade.)
- før du overlater produitet til en annen person.
Koble til apparatet - kabellås/forlengelseskabler:
Legkabelen 18 i en Iokke inn i kabellasen 19.
Dette hinder at strømkabelen kobles fra ved et uhell.
Koble den deretter til strømkabelen.


Starte blåseren:

Slä blåseren på:
Det Beste resultatet oppnås nár sugerøret holdes et par cm over bakken.

Blåseroret og sugeroret er slitedeler som ikke dekkes av garantien. Denne produsentgarantien berør er ikke garantikravene som består overfor forhandleren/selgeren.
I garantilfelter ber vi om Å sende det defekte redskapet sammen med en kopi av kjopsbeviset og en feilbeskrivelse frankert til serviceadressen som er angitt på baksiden.
GARDENA ErgoJet 3000 (EJ3000)

email:: info@kisplus.cz
www.kisplus.cz
GARDENA ErgoJet 3000 (EJ3000)

Salgsafdelning Danmark
Box 9003
S-200 39 Malmö
info@gardena.dk
Dominican Republic
BOSQUESA, S.R.L
Carretera Santiago Licey
Km. 5%
Esquina Copal II
NemManual