Ergojet 3000 - Dammsugare blåsare GARDENA - Gratis bruksanvisning och manual
Hitta enhetens manual gratis Ergojet 3000 GARDENA i PDF-format.
Användarfrågor om Ergojet 3000 GARDENA
0 fråga om denna apparat. Svara på dem du kan eller ställ din egen.
Ställ en ny fråga om denna apparat
Ladda ner instruktionerna för din Dammsugare blåsare i PDF-format gratis! Hitta din manual Ergojet 3000 - GARDENA och ta tillbaka ditt elektroniska enhet i hand. På denna sida publiceras alla dokument som behövs för att använda din enhet. Ergojet 3000 av märket GARDENA.
BRUKSANVISNING Ergojet 3000 GARDENA
Översättning av den engelska originalbruksanvisningen.
Läs brauksanvisingen noga och observera anmärkningarna.
Användenna brauksanvising for att bekanta dig medprodukten, dess korrekta användning och sakerhetsinstruktionerna.

Av sakerhetsskal fär inte barn och ungodomar under 16 År, eller personer som inte noga har studeratenna bruksanvisning använda denna produkt. Personer med reducerad fysisk eller mental kapacitet fär bara användaprodukten under uppsikt eller ledning av en ansvarig person.
Innehäll:
Förvara denna bruksanvisning på saker plats.
- Användningsområde für din GARDENA ErgoJet 3000. .54
- Sakerhetsinstruktioner 55
- Montering 58
- Funktion 60
- Forvaring. 62
6.Underhall. 63
7.Felsokning. 64
8.Tekniska Data. 65 - Service/garanti 65
1. Användningsområde für din GARDENA ErgoJet 3000
Korrekt användning som blås:
GARDENA ErgoJet 3000 passar att anvandas som blås for att sopa bort skräp eller gräsklipp frän körvägar, gängbanor, uteplatser etc. och for att blåsa gräsklipp, halm erller lov i högar eller for att avlågsna skräp frän horn, runt fogar eller mellan markstenar.
Korrekt användning som sug:
GARDENA ErgoJet 3000 passar att användas som sug for att plocka upp torra material som lov, gräs, små kvistar och pappersbitar.
WARNING! Risk for skador!

Omenna Produkt inte anvands på rätt satt kan den vara farlig. Varningarna och sakerhetsinstruktionerna ienna bruksanvising maste folars for att upprätthalla en rimlig sakerhetsniva och effektivitet nar maskinen anvands. Användaren ar ansvarig for att folja instruktionerna och varningarna pa maskinen och ienna bruksanvising. Använd aldrig maskinen om inte skydden som tillverkaren tillhandahällit ar i korrekt Lage.
2. Sakerhetsinstruktioner
Följ noga sakerhetsinstruktionerna på ErgoJet 3000.

WARNING:
Denna maskin kan vara farlig!
Vårdslös eller felaktig användning
kan orsaka allvarliga skador.

Läs användarinstruktionerna noga sà att du ár saker pà att du Förstår de olika kontrollerna och deras Funktion.

Utsattinte maskinenfor regn. LAmna inte maskinen utomhus narr det regnar.

Stäng av den! Dra ut stick-kontakten ur eluttaget innan du utfor justeringar på maskinen, rengör den uller om kabeln trasslat sig uller ar skadad.

Använding av skydd for ögon och öron rekommenderas.

Häll askadare pa avstand.
Allmanna sakerhetsvarningar for elverktyg

WARNING: Läs alla sakerhetsvarningar och instruktioner.
Om dessa varmingar och instruk-tioner inte fols kan detta leda till elstotar,brand och/eller allvarlig skada.
Spara alla varninger och instruktioner for framtida referens.
Termen "elverktyg" syftr i dessa varninger till ditt elnatsdrivna elverktyg (med sladd).
1) Sakerhet på arbetsområdet
b) Hall barn och askadare på avstand nar du anvanderett elverktyg.
a) Denna produkt är inte ämnad for personer (inkluderat barn) med begränsade fysiska, sensoriska eller mentala kapaciteter, aller som saknar erfarenhet och kunskap, om de är översedda eller instruerats i anledning med användet avprodukten av en person ansvarig for deras sakerhet. Barn bör övervakas for att se till att de inte leker medprodukten. Lokala lagar kan gälla som begränsning av operatörens älder. Låt aldrig barn eller personer ovana med dessa instruktioner användaprodukten. Elektriska verktyg är farliga i handerna på ovana.personer.
Distractioner kan fà dig att Förlora kontrollen.
c) Blås aldrig ut skräp mot eventuella Åskádare.
Operatoren eller användaren ar ansvarig für olyckor som kan drabba andra manniskor aller deras eigendom och de risker som de kan utsättas for.
d) Häll arbetsområdet rent och välupplyst.
Skräpiga eller mörka områden innebar större risik För olyckor.
e) Använd inte elverktyg i explosiva atmossfärer, som)där det finns brandfarliga vätskor, gaser eller dammpartiklar.
Elverktyg ger upphov till gnistor som kan anteanda damm aller bensinängor.
2) Elsakerhet
a) Elverktygens stickkontakter måste passa till eluttaget. Modificera aldrig stickkontakten på nagot satt. Använd inte nagra adapterkontakter med jordade elverktyg. Maskinen fär endast anvandas med den AC natspänning som visas på produits markskylt. Under inga omständigheter fär en jordlednning anslutas till nagon del avprodukten. Ej modifierade stickkontaktor och passande eluttag reducerar risken for elstötar.
b) Undvik kroppskontakt med jordade ytor, som rorledninger, varmeelement, koksspisar och kylskap.
Risken for elstotar okar om din kropp ar jordad.
c) Utsatt inte elverktyg for regn eller faktig miljo. Om vattenkommen in i ett elverktyg ökar detta risken for elstötar.
d) Använd inte sladden på felaktigt satt. Använd inte sladden für att böra eller dra elverktyget aller for att dra ut stickkontakten. Häll sladden på avständ frän varme, olja, skarpa kanter och rörliga delar. Innan kabeln används skau kontrollera att den inte ar skadad. Byt ut kabeln om den ser ut att vara skadad eller sliten. Använd aldrig produkt om den eletriska kabeln ar skadad eller sliten. Bryt strömmen omedelbart om kabeln aller dess isolering skadas. Vidrör inte den elkabeln innan vaggkontakten dras ut. Reparera inte en skadad kabel. Byt ut den mot en ny. Sladdar som ar skadade aller som trasslat sig ökar risken für elstötar.
e) Elkabeln maste vara utrullad.
Hoprullade kablar kan overhettas och minskaprodukts effektivitet. Rulla alltid upp kabeln onga och se till att det inte bildas knutar.
f) Dà du använder elverktyg utomhus skall du använda Förlangningssladd lämpad for utomhusbruk, med koppling godkänd enigt IEC 60320-2-3. Om en Förlangningssladd som ar anpassad for utomhusbruk används minskar detta risken für elstötar.
g) Om det inte gär att undvika att anecdva ett elverktyg i faktig miljö ske en jordfelsbrytare (RCD) anecdvas som skydd. Vi rekon demaratt jordfelsbrytare anecdmsed en markfelström pä ≤ 30 mA. Även med en restströmsanordning monterad kan vi inte garantera 100% skydd och sakra arbetsmetoder skull alltid anecdvas. Kontrolera din restströmsanordning varje gäng du anvander den. Om en jordfelsbrytare anecdvs minskaret delta risken for elstötar.
3) Personlig sakerhet
a) Var uppmärksam på vad du gör och använd vanligt sunt fornuft nar du använder ett elverktyg. Använd inte elverktyg om du arrott ell paverkad av droger, alkohol uller mediciner. Ett ögonblcks distraktion medan du använderett elverktyg kan leda till allvarliga personskador.
b) Använd personlig skyddsutrustning.
Använd alltid skyddsglasögon och horselydd. En ansiktsmask som skydd for uppvirvlande damm rekommenderas också.
Skyddsutrustning som skyddsglasögon, horselydd, dammask, halksäkra skyddsskor och skyddshälm som används på lämpligt sätt minskar personskadorna
c) Undvik oavsiktlig start. Försakra dig om att strömbrytaren År ställd på OFF innan du ansluter verktyget till strömköllan, tar upp det ihrer det. Om du bär på ett elverktyg med fingret på strömbrytaren erer om du slár på strömmen till elverktyg som har strömbrytaren pascalgen kan detta leda till olycksfall.
d) Sträck dig inte für längt. Se till att du alltid har en stabil och välbalanserad kroppställning. Var extra fösaktig hur du arbetar på sluttnaring och använd halkfria skodon. Gå inte bakät;narr du klipper. Tänk på fallrisken. Gå alltid, spring aldrig. Använd inte stege;narr du arbetar med maskinen. Pá sā satt fär du bättre kontroll over elverktyget i ovändte situationer.
e) Ta på dig ordentliga arbetskläder.
Använd alltid lámpliga kläder, handskar och
kraftiga skor. Använd inte kläder som sitter lõst eller smycken. Se till att här, kläder och handskar intekommen i vägen for rörliga delar. Lõst sittande kläder, smycken erler langt här kan fastna i rörliga delar.
4) Använding och skötsel av elverktyg
a) Använd endastprodukten på det satt och für de functionaler som beskrivs ienna bruks-anvisning. Riktä alltid kabeln mot baksidan, bort fran kabeln. Kör inte verktyget für hårt. Använd rätt verktyg fordet arbete du vill utföra. Rätt verktyg utfor arbetet effektivare och sakrare om det används med den hastighet som det konstruerats for.
b) Kontrolleraforevarjeanvandningatt produktarfunktionsdugligttilstand. Anvand ine ettelektrisktverktygomdetinte garratt sattaigang detoch stoppa det med strombrytaren.Dumaste vetahur maskinen stangsavsnabtbienodsituation. Ett verktyg somitekankontroleras med strombrytarenfarligt ochmaste repareras.
c) Fläkthjulen fortsetter att rotera after att du stängt av verktyget.
Motorn maste stängas av och fläktbladen fär inte langre snurra for att undvika att de roterande bladen orsakar allvarlig skada.
d) Koppla frän maskinen fran elnätet:
- innan du tar bort aller byter ut en fullständigt monterad uppsamlingssack;
- innan du lämnar verktyget utan uppsikt en stund;
- innan du rensar bort en tilltappning;
- innan du kontrollerar, rengör erler utfor Åtgärder på verktyget;
- om Produkten böjar vibrera på onormalt satt. Kontrollera omedelbart. Überdrivna vibrationer kan orsaka skada.
- innan du lämnar über maskinen till en annan person.
e) Förvara elektriska verktyg som inte används utom räckhäll for barn. Låt inte personer som inte ar bekanta med verktyget eller inte har tagit del av dessa sakerhetsföreskrifter använda det. Elektriska verktyg ar farliga i handerna på ovana personer.
f) Underhäll av elverktyg. Kontrollera att de rörlga delarna inte är felaktigt installda och att de inte kärvar, att inte nçgon del är skadad och att inte nagra andra omständigheter kan paverka verktygets Funktion. Om verktyget är skadat skä det repareras innan det används. Se till att alla intag är fria是从skrap. Mänga olyckor orsakas av dālig skötsel av elverktyg.
g) Folj dessa sakerhetsforeskrifter dà du anvander elverktyget och tillbehören, i beaktende av arbetsforhällandena och det arbete som skutforas. Använd utrustningen endast i dagsljus eller i god artificiell belysning.
Om du anvander elverktyget for andra andamål an vad som avsetts kan detta leda till en farlig situation.
5) Skötsel och Förvaring
Låt endast en kvalificerad reparator utföra service på ditt verktyg. Använd endast sādana reservdelar som ar identiska med originaldelen.
Detta ar en garanti for att sakerheten for elverktygetb ibehàlls.
- Håll alla mutrar, bultar och skruvar Åtdragna sā att maskinen ar i sakert och Funktionsdugligt skick.
-Av sakerhetsskal sca slitna ellr skadade delar bytas ut. - Använd endast originalreservdilar och -tillbehör.
- Kontrollera uppsamlingssäcken regelbundet. Om uppsamlingssäcken blir sliten erer skadad ske den bytas ut.
-Forvara maskinen psa sval och torr plats utom rackhall for barn. Far inte forvaras utomhus.
Sakerhetsvarningar for blåsen
- Inspektera området innan du pâbörjar arbetet.
Avlagsna allt skrapp och alla hårdafremås som stenar, glas, metallträd ar etc., som kan rikoschettera, slungas ivag ellper pannat satt orsaka persorskador erler andra skador under arbetets gäng.
Kor aldrig maskinen om inte ratt utrustning ar monterad.
När den används som blås skä du alltid montera ett blåsrör. Använd bara rekommenderade tillbehör für att undvika personskador.
- Använd inte blåsen nara eldar av lov ellerris,eldstäder,grillplatser,askfat etc.
Ratt anvandning av blasen hjalper till att undvika att elden sprids.
- Placera aldrig foremål inuti blåsrören. Rikta alltid det blåsta materialet bort fran manniskor, djur, glas och solida foremål sāsom trad, motorfordon, väggar, etc.
Luftströmmen ar kraftig nog att slunga iväg stenar, smuts och stickor som kan träffa manniskor och djur som kan skadas, krossa glas aller ansaka andra skador.
- Använd aldrig maskinen für att sprida kemikalier, gödselmedel aller andra ämn.
På sä satt hindras att giftiga material sprids.
Sakerhetsvarningar for sugen
- Stäng av motorn och koppla是从förlängningssladden innan du öppnar luckan till luftintaget eller forsörker satta in ulla bort sugrören.
Motom måste stängas av och fläktbladen fär inte langre snurra fort undvika att de roterande bladen orsakar allvarlig skada.
- Inspektera området innan du pâbörjar arbetet.
Hårdafremål kan kastas genom uppsamlings-säckenEller fæst et och bli till farlga projektiler som kan orsaka allvarlg skada pa användaren ell erandapersoner.
- Sug inte upp stenar, grus, metall, glasskarvor etc.
Korrekt använding av maskinen minskar möjligehen till personskada och/eller skada på själva maskinen.
Forsok inte att suga upp vatten aller andra vatskor.
Om vatten aller andra vatskor kommer in i ett elverktyg okar detta risken for elstotar.
Kor aldrig maskinen om inte ratt utrustning ar monterad.
När maskinen används som sug sca alltid sug- och uppsamlingsaggregatet monteras.
Försäkra dig om att uppsamlingsaggregate tär ordinligt stängt nar maskinen kör sfor att undvika att skrapp flyer omkring. Använd bara rekommanderade tillbehör.
- Sug inte upp bortkastade tändstickor, cigarrer, cigaretter eller aska是从 eldstäder, grillplatser, rishögar etc.
Undvik situationer som kan orsaka antandning av uppsamlingssacken. For att undvika elsdpridning, anvand inte blasen i narheten av eldar av lov ell ris, eldstader, grillplatser, askfat, etc.
- Använd alltid axelremmen när du använder sugen.
Detta hjälper till att behälla kontrollen över elverktyget
- Kontrollera öppingarna für luftintag, vinkelröret och sugrören ohta, alltid nar maskinen ar avstängd och strömmen fränkopplad.
Häll ventilationsöppninger och rör friä frän skrapi som kan ansamlas och begränsa luftflödet. Använd inte maskinen om nàgon öppning ar blockerad. Häll den fri fran damm, textilludd, här och allt som kan minsa luftflödet.
3. Montering

WARNING: Stäng av maskinen och koppla ur förlängningsladden innan du öppnar luftintagsskyddet eller försöker montera eller ta bort blåsröret eller sugrören.
Motorn maste stängas av och fläktbladen fär inte langre snurra För att undvika att de roterande bladen orsakar allvarlig skada.
Att satta i blasroret:

- Rätta in spåren på blåsröret ① mot spåren på blåsutloppet ②.
- Tryck in blasroret i blasutloppet tills det klickar på plats. Roret lases fast vid blasen med frigöringsknappen ③.
- För att ta ut blåsröret skä du trycka på frigöringsknappen ③ medan du drar i röret.
OBS! En sakerhetsbrytarehindrar maskinen fraan att starta om blasroret inte ar monterat korrekt.
Att satta i sugroren:

- Öppna luftintagsskyddet ④ genom att lossa lässparren sāsom visas på bilden och dra sughandtaget ⑥ uppät.

- Låt lassparren klicka in i blåsens bakre handtag ⑦. Se till att elkabeln ⑧ ar fri.

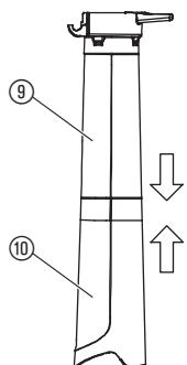
OBS! Det finns 2 sugrör, ett övre rör och att nedre 10.
Det övre sugröret har en led och hakar på ena sidan och är rakt avskuret i bádaändarna. Det övre sugröret fästs vid blåsenheten. Det nedre sugröret har en böjd过得 som du riktar mot markenNDARu använder sugen. Det nedre sugröret sätts ihop med det övre sugröret.
- För att satta ihop det nedre sugröret med det övre 9 skadu Först rätta inändarna på de báda rören mot varandra.Tryck sedan ihop de báda rören tills det nedre röret sitter paplats i det övre röret.

- Placera det övre rörets led ⑫ i haken ⑪ på enchetens undersida.
- Stöd maskinen mot marken ⑬ och vrid på blåsenheten tills roret klickar in i lasspärarna ⑭ på fästena på blåsenheten.
OBS! En sakerhetsbrytarehindrar maskinen fran att starta om sugroren inte ar monterade korrekt.
"Klick"


Montering av uppsamlingssacken:
- Ratta in spåren på vinkelröret ⑮ mot spåren på bläsutloppet ②.
- Tryck in vinkelmöret i bläsutloppet tills det klickar på plats. Vinkelmöret lases fast med frigöringsknappen ③.
- Knapp fast uppsamlingssacken 6 i öglorna på det övre sugröret 9 och på det nedre 10.
OBS! En sakerhetsbrytarehindrar maskinen fran att starta om vinkelroret inte ar monterat korrekt.

Montering av axelremmen:
Som extra stöd när du använder maskinen som sug finns en axelrem med i förpackningen. Fäst remmen vid maskinen innan du börjar arbeta. Klicka in haken på fästet ⑦.
Ändring frän sugläge till bläsläge:
- Stoppa maskinen och koppla ur förlängningssladden.
- Ta bort vinkelröret och uppsamlingssäcken.
- Ta bort sugrören genom att lossa lasspärren på luftintagsskyddet och vrid på skyddet tills roren frigörns frän lasspärarna på fästena.
- Stäng luftintagsskyddet och kontrollera att det ar latelyst.
- Satt tillbaka blåsröret. Se MONTERING AV BLÅSRRÖR for beskrivning av hur detta rör monteras.
OBS! En sakerhetsbrytarehindrar maskinen frän att starta om luftintagsskyddet inte ar lately.
4. Funktion

WARNING: Använd inte maskinen om inte rören och uppsamlingssäcken monterats korrekt für att undvika att skräp flyerger omkring och/eller Kontakt med flakthjulen vilket kan orsaka allvarlig skada.
Använd alltid handskar och skyddsglasögon for att Förhindra att stenar eller skräp slungas ivåg och rikoschetterar in i ögonen och ansiktet, vilket kan leda till blindhet aller andra allvarliga skador.
Kablar:
Använd endast en kabel av storlek 1,00 mm² upp till max 40 meter lang.
Maximal effect:
1,00 mm² kabelstorlek
3000 W
Elkablar och forlängningssladdar finns att fá hos din lokala, godkända serviceverkstad. Använd endast forlängningssladdar som ar spefikt utformade für utomhusbruk.
Anslutting av maskinen - kabelfaste/ forlängningssladdar:
Lagg forlängningskabeln 18 i öglor och satt in den i kabelfästet 19.
På sa satt undviks oavsedd frankoppling av elanslutningen.
Anslut den sen till elkabeln.


Starta blasen:

Sattpabljasen:
Satt ON/OFF-brytaren ② i lage ON (I) for att satta maskinen.
OBS! Motorhastigheten kan ökas eller minskas med hjälp av den reglerbara hastighetskontrollen ②.
FÖRSIKTIGHET: För att undvika att skada maskinen ske den reglerbara hastighetskontrollen endast användas i blåsläge. Försök INTE att använda den reglerbara hastighetskontrollen Near sugfunktionen används. Lägre hastighet under sugningen kan göra att skräng hopas, motorn stannar och att det blir fel på maskinen.
Stäng av blåsen:
For att stoppa maskinen ska du flytta ON/OFF-brytaren ② till lage OFF (0).
Arbetsställning:

Bläsläge
Använd maskinen som blås För att sopa bort skräp eller gräsklipp frän körvägar, gängbanor, uteplatser etc. och För att blåsa gräsklipp, halm allerLov i högarEller foratt avlågsna skräp frän horn, runt fogar ellermann markstenar.
Använd den reglerbara hastighetskontrollen für att öka aller minska motorns hastigkeit när maskinen används som bläs. Rikta luftflödet genom att rikta blåsröret nedät erller at sidan.
Arbeta alltid i riktning bort fran fasta foremål sösom gängvågar, stora stenar, fordon och staket.
Rengör hörn genom att böjar langst in och arbeta utat. Härigenom undviker du en ansamling av skräp som kan flyga upp i ansiktet. Var försiktig Near du arbetar i narheten av växter. Luftströmmen kan skada ömtäliga växter.

Sugläge
Använd maskinen som sug für att plocka upp torra material som lov, gräs, små kvistar och pappersbitar.
För)bastaresultat nar sugfunktionen används skamaskinen anvandas medhoghastigkeit.
Rör maskinen fram och tillbaka über materialet när du användersugfunktionen. Undvik att forcera maskinen genom att användaden i skräphögar aftersom detta kan tappa till den.
Häll sugröret ca ett par cm ovenfor marken for basta resultat.

WARNING: Om maskinen täpps till ske den stängas av och fällngningssladden kopplas ur. Vänta tills flåkthjulet helt har slutat snurra och ta sedan bort sugrören. Känn försiktigt i sugöppningen och rensa ut skräpet som täpper till maskinen.
Detta minskar risken for att flakthjulet orsakar persorskada.
5. Förvaring
| Förvaring: | Förvara maskinen med stickkontakten utdraggen, ∀l utom räckhäll für barn. |
| 1. Stäng av maskinen och koppla från maskinen ℝ elnätet. | |
| 2. Lätt motorn kallna före Förvaring eller transport. | |
| 3. Förvara maskinen med alla skyddsanordningar på plats. Placera maskinen保费 att inga vassa foremål kan orsaka personskador. | |
| Övervintring: | Förbered maskinen für Förvaring när sösungen ar over erler om den inte sca användas på 30 dagar eller mer. |
| Om blåsen skå ställas undan for Förvaring under en langre period: | |
| 1. Stäng av maskinen och koppla från maskinen från elnätet. | |
| 2. Rengör hela enheten före längvarig Förvaring. | |
| 3. Öppna luftintagsskyddet och avlögsn smuts, fett aller skräp som har ansamlats. Inspektera blåsen och alla rör. Stäng skyddet och se till att det ar låst. | |
| 4. Använd en mjuk borste forr att rengörva ventilationsöppningarna och luftintaget från skräp. Använd inte vatten. | |
| 5. Förvara, om möjligt, maskinen och förlängningschladden på ∀valventilerad plats under tak, for att förhindra ansamling av damm och smuts. Täck inte maskinen med plast. Plast kan inte andas och kan orsaka kondens och eventuellt robstbildning eller korrosion. | |
| 6. Kontrolera att det inte finns nagra sösa skruvar på maskinen. Byt ut skadade eller slitna delar och delar som ar sönder. | |
| 7. Ta bort rören für att underlätta Förvaringen. | |
| Avfallshantering: (i överensstämmlse med EU-direktiv 2002/96/EG) | Denna produkt fär inte kasseras tillsammans med normalt hushållsavfall. Den måste avfallshanteras,enlig lokala miljöbestämmlser. |
6. Underhäll

WARNING: Stäng av maskinen och dra ut forlängningssladden innan nagra justeringar gös, tillbehör byts eller underhäll utförs.
Sàdana forebyggande sakerhetsatgärder minskar risken for att verktyget sats igång av misstag.
FÖRE VARJE ANVÄNDNINGS-TILLFÄLLE
Kontrolera att det inte finns losa faskdon och delar på maskinen:
Häll alla muttrar, bultar och skruvar Åtdragna sö att maskinen är i säkert och Funktionsdugligt skick. Försäkra dig om att alla delar monterats korrekt.
- Luftintagsskydd
- Blåsrö
Sugrör - Uppsamlingssack
Kontrollera att det inte finns nagra skadade aller slitna delar:
Kontakta en auktoriserad serviceverkstad for utbyte av skadade aller slitna delar.
- ON/OFF-brytare - Kontrollera att brytaren fungerar korrekt genom att satta brytaren i OFF-lage. Försäkra dig om att motorn stannar och starta sen om motorn och fortsätt.
- Luftintagsskydd - Använd inte maskinen om luftintagsskyddet inte kan lásas ordentlich erer om det ar skadat på nagot sätt.
EFTER VARJE ANVÄNDNINGS-TILLFÄLLE
Inspektera och rengör maskin och etiketter:
- After varje användningstillfalle skau du kontrollera att det inte finns lösø er skadade delar på maskinen. Rengör maskinen med en fuktig duk.
- Torka av maskinen med en ren och torr trasa.
Rengör uppsamlingssäcken:
VIKTIGT: UPPSAMLINGSSÄCKEN MÄSTE TÖMmas PÅ RÄTT SÄTT.
- Uppsamlingssäcken skä tommas och skötas på rätt satt für att undvika att den skadas och att luftflödethindras.
- Ta bort uppsamlingssäcken frän maskinen och töm den after varje användning. Lagg inte undan säcken for Förvaring utan att Först ha tomt den på allt innehäll (gräs, lov etc.).
- Tvatta säcken en gäng om Året. Ta bort säcken frän blåsen och vänd ut och in på den. Tvatta säcken med hjälp av en vatten-slang. Hang upp säcken och lät den torka fullständigt innan du använder den igen.

WARNING: Om maskinen täpps till ske den stängas av och förlängningsladden kopplas ur. Vänta tills flakthjulet helt har slutat snurra och ta sedan bort sugrören. Känn försiktigt i sugöppningen och rensa ut skräpet som täpper till maskinen.
Detta minskar risken for att flakthjulet orsakar persanskada.
Ta bort foremål från luftintaget:
- Ta bort sugroren.
- Kann fösiktigt i sugoppningen och rensa området vid luftintaget. Ta bort allt skräp frän flåkthjulet.
- Kontrollera att det inte finns nagra sprickor på flåkthjulet. Om det finns sprickor på encheten eller om den är skadad skaden inte användas. Låt en auktoriserad serviceverkstad byta ut delarna. Försök inte byta ut dem själv.
7. Felsökning

WARNING: Stäng alltid av maskinen och dra ut forlängningssladden innan de Åtgärder utförs som anges nedan, utom de Åtgärder som kraver att maskinen är pâslagen.
Motorn mäste stängas av och fläktbladen fär inte langre snurra För att undvika att de roterande bladen orsakar allvarlig skada.
| Problem | Möglich orsak | Åtgård |
| Maskinen fungerar inte. | 1. Brytaren är i Lage OFF (0). | 1. Sätt brytaren på Lage ON (I). |
| 2. Förängningssladden är fränkopplad. | 2. Anslut förlängningssladdenigen. | |
| 3. Ölverströmsskyddet har utlösts, eller en säkring har gätt. | 3. Återställ overströmsskyddetller säkringen. | |
| 4. Blåsrör, vinkelör, och/eller sugör är inte monterade på rätt sätt. | 4. Kontrollera monteringen avröret. | |
| 5. Uppsamlingssäcken är full. | 5. Töm uppsamlingssäcken. | |
| 6. Mekanismfel. | 6. Kontakta en auktoriserad serviceverkstad. | |
| Maskinen viberrar på onormalt sätt. | 1. Mekanismfel | 1. Kontakta en auktoriserad serviceverkstad. |
| Fläkthjulet snurrar inte fritt. | 1. Skräp i luftintaget. | 1. Rengör,enheten. Ta bort allt skräp. |
| 2. Mekanismfel. | 2. Kontakta en auktoriserad serviceverkstad. |

Kontakta GARDENAS serviceavdelning for andra eventuella feltillstand. Reparationer skutforas av GARDENAS serviceavdelninger erer av specialiserade distributer som ar auktoriserade av GARDENA.
8. Tekniska Data
| Motor - effektforbrukning | 3000 W max. |
| Nätspanning | 220 – 240 V |
| Frekvens | 50 Hz |
| Sugflöde | 170 l/s |
| Finförderning | 16:1 |
| Blåshastighet | Max. 310 km/h |
| Vikt blås/sug | Max. 4,5 kg |
| Uppsamlingssäckens kapacitet | 45 l |
| Arbetsplatsens ljudtrycksnivå | 82,6 dB(A), KpA: 3,0 dB(A) |
| Ljudnivå Lw2) | Uppmätt 99 dB(A) / garanterad 102 dB(A) |
| Hand/arm vibrationeravhw1) | 3,92 ms2, K: 1,5 ms2 |
9. Service/Garanti
Garanti:
GARDENA lämnar 2 árs garanti fürenna produit. Garantin gäller frän inköpsdatum. Garantin omfattar väsentliga fel på produiten som beror på fabrikations- eller materialfel och som patalats ossFore garantitidens utgang. Garantin innebär utbyte mot en produit med perfekt Funktion ell eris reparation av den insända produitsom följande villkor ar uppfyllda:
- Produkten har anvånts varsamt och enligtBruksanvisningen.
- Köparen eller pågon annan fär inte ha försökt repareraprodukten.
Blåsröret och sugrören är slitdelar och täcks inte av garantin.
Tillverkarens garanti gäller ej särskilda överenskommelser mellan Återförsäljare och köpare.
Vid störningar ber vi dig sända inprodukten tillsammans med bevis für inköpet och en felbeskrivning till GARDENA Service.
Tillverkaren ar inte ansvarig for skada som orsakats av Produkten om skadan beror på attprodukten har reparerats felaktigt eller om, vid reparation eller utbyte, andra an Original GARDENA reservdilar har anvænts. Samma sak gäller for kompletterings-delar och tillbehör.
GARDENA ErgoJet 3000 (EJ3000)


EnkelManual