XLED PRO ONE S - Lampa STEINEL - Gratis bruksanvisning och manual
Hitta enhetens manual gratis XLED PRO ONE S STEINEL i PDF-format.
Ladda ner instruktionerna för din Lampa i PDF-format gratis! Hitta din manual XLED PRO ONE S - STEINEL och ta tillbaka ditt elektroniska enhet i hand. På denna sida publiceras alla dokument som behövs för att använda din enhet. XLED PRO ONE S av märket STEINEL.
BRUKSANVISNING XLED PRO ONE S STEINEL
- Om detta Dokument 268
- Allmanna sakerhetsanvisningar 268
- Produktbeskrivning 269
- Elektrisk anslutning 277
- Montage 279
- Funktion 289
- Tillbehör fjärrkontroll 294
- Rengöring och skötsel 297
- Avfallschantering 298
- Tillverkargaranti 298
- Tekniska data 301
- Åtgårdande av störningar 303
1. Om detta dokument
- Upphovsrättsligt skyddat. Eftertryck, även delar av texten, bara med vårt samtycke.
- Åndringar som görs pga den tekniska utvecklingen, forbehålles.

Varningforall!

Varning ffor fara genom elektrisk ström!

Varning För fara genom vatten!
2. Allmänna sakerhetsanvisningar

Fara om bruksanvisningen inte följs!
Bruksanvisningen innehåller viktig information För en saker hantering av armaturen. Särskild uppmärksamhet riktas mot eventuella faror. OmBruksanvisningen inte följs kan det leda till dödsfall eller allvarliga personskador.
- Läs bruksanvisningen noggrant.
Följ sakerhetsanvisiningarna. -
Förvara den tillgangligt.
-
Hantering av elektrisk ström kan leda till farliga situationer. Kontakt med strömforande delar kan medforalelektrisk chock, brännssår eller leda till döden.
- Arbeten på nitspanningerén fær endast genomforas av kvalificerad yrkespersonal.
- Installationsforeskrifter och anslutningskrav som gäller i respektive land skia iakttas (t.ex. DE: VDE 0100, AT: ÖVE-ÖNORM E8001-1, CH: SEV 1000).
- Använd endast originalreservdilar.
- Reparationer fär endast genomföras av professionella foretag.
3. Produktbeskrivning
Ändamälsenlig användning
XLED PRO ONE S / Plus S / Max S
- LED-strålkastare med infraröd rörelsensor.
- Väggmontage både inom- och utomhus.
- Bör inte anslutas till en dimmer.
Funktionsprincip
- IR-sensorn uppfattar värmestrålningen från kroppar i rörelse (t.ex. människor, djur). Värmestrålningen omvandlas elektroniskt och tänder LED-stråkastaren automatiskt.
- Den säkraste rörelseregistreringen sker om armaturen monteras sidledes mot gårikningen.
- Rörelseregistreringens räckvidd ar begränsad om du gårdirekt mot armaturen.
- P.g.a. hinder (t.ex. trad, murar eller glasrutor) kan rörelseregistreringen inskränkas eller inte vara möjlig.
- Plötsliga temperaturfürändringar genom vädrets inverkan kan inte Åtskiljas från varmekällor.
Ändamälsenlig användning
XLED PRO ONE / Plus / Max
- LED-strålkastare.
- Väggmontage både inom- och utomhus.
- Bör inte anslutas till en dimmer.
Icke andamalsenlig anvandning
- LED-strålkastaren är inte dimbar.

Intedimbar
Innehäll
- XLED PRO ONE S
- XLED PRO ONE Plus S
- XLED PRO ONE Max S
3.1






1x




- 1 LED-stråkastare med infraröd rörelsensor
-1insexnyckel
-1 tackram - 2 skruvar
- 2 pluggar
- 2 brickor
-2 stoppskruvar
-1 fjarrkontroll RC 12
-1sakerhetsdatablad - 1 quick-start
Innehäll
- XLED PRO ONE
- XLED PRO ONE Plus
- XLED PRO ONE Max
3.2


- 1 LED-stråkastare
-1insexnyckel - 2 stoppskruvar
- 2 skruvar
- 2 pluggar
- 2 brickor
-1sakerhetsdatablad - 1 quick-start
Produktmätt XLED PRO ONE S
- XLED PRO ONE S (a)
- XLED PRO ONE Plus S (b)
- XLED PRO ONE Max S (c)
3.3

229 mm (a)
259 mm (b),(c)
182 mm (a)
202 mm (b),(c)

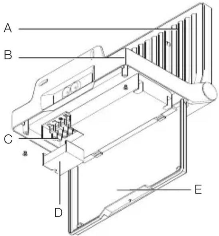
A LED strålkastarhuvud
B Montagebygel
C Installningsregulator
D Anslutningsplint
E Klåmskydd
F Sensorenhet
G Skydd
3.6

H Afterlysid
Skymningsinställning
J Grundljus
3.7

K Fjarrkontroll RC 12
Produktoversikt XLED PRO ONE / Plus / Max
3.8

A LED strålkastarhuvud
B Montagebygel
C Anslutningsplint
D Klämskydd
E Skydd
4. Elektrisk anslutning
Kopplingsscheman XLED PRO ONE S / Plus S / Max S
4.1




Kopplingsscheman XLED PRO ONE / Plus / Max

4.2



Nätledningen bestär av en 3-ledarkabel:
L = Fas (oftast svart, brun aller grå)
PE = Skyddsledare (grön / gul)
Armaturen kan även anslutas elektriskt after en natabrytare, om det ar sakert, att natabrytaren ar ständigt tillkopplad.
LED tillenna armatur kan inte bytas ut. Om det blir nods vändigt, mäste hela armaturen bytas ut.
Armaturens ljuskälla kan inte bytas ut; om ljuskällanändå maste bytas ut (t.ex.ningar den ar uttjant), sä maste hela armaturen bytas ut.

SE
5. Montage

Fara pga elektrisk ström!
Kontakt med strömforande delar kan medföra elektrisk chock, brännssär eller döden.
- Slå ifràn strömmen och avbryt spanningsförsörjningen.
- Kontrollera med spanningsprovare att alla ledninger ar spänningsfria.
- Se till att spannings inte kan slås tilligen.
Risk for materiella skador!
En forvaxling av anslutningarna kan leda till kortslutning.
- Identificera anslutningsledningarna.
- Sammankoppla anslutningsledningarna korrekt.
Montageforberedelser
- Kontrollera samtiga delar med avseende på skador. Är armaturen skadad fär den inte tas i bruk.
Välj en lämpig monteringsplats.
-Med hansyn till rackvidden.
-Med hansi n till roelsedetekteringen.
-Vibrationsfritt.
-Bevakningsområdeutanhinder.
-Inte i explosionsfarliga miljoer.
-Inte på lättantändliga underlag.
-Seinte in i Ijuskallan pà nara häll (< 30 cm).
-Avständ minst 50 cm frän andra LED-stråkastare.

Räckvidd XLED PRO ONE S / Plus S / Max S
5.1
Rörelseregistrering sidledes mot gärktningen
XLED PRO ONE S / Plus S / Max S
5.2

SE
Rörelseregistrering i gårtning
XLED PRO ONE S / Plus S / Max S
5.3

- Kontrollera att spanningen ar franslagen.
- Markera borrhålen.

5.6


- Borraḥal (Ø 6) och satt i pluggar.
5.7

- Skruva av skyddet.
5.8

- Oppna skyddet.


5.11

- Skruva av klåmskyddet.
- Anslut nätkabeln enligt kopplingsschemat.
"4. Elektrisk anslutning"
5.12

SE
- Skruva på klåmskyddet.
5.13

Stang skyddet.
- Skruva i lasskruvarna.
5.14


- Justera strålkastarhuvudet och fixera med stoppskruvar.
5.15


- Slà till spanningen.
- Ställ in Funktionerna. →"6. Funktion"
6. Funktion
XLED PRO ONE S / Plus S / Max S
6.1

SE


- Skruva på skyddet.
- Företaintällningarna.
Fabriksinställningar
- Afterlysid: 8 sekunder
- Skymningsnivå: dagsljusdrift 1.000 lux
- Grundljus: FRÄN
Afterlystid (H)
Inkopplingsfördröjningen kan ställas in steglost fran ca 8 sekunder till max. 35 minutes. Varje uppfattad rörelsetänder ljuset på nytt.
Information: Efter varje gang som LED-stralkastaren har slackts avbryts rorelsebevakningen i ca 1 sekund. Darefter kan LED-stralkastaren tandas ingen vid rorelse.
För justeringen av bevakningsområdet och För Funktionstestet, rekommenderas den kortaste tiden.
Skymningsinstalling (I)
Reaktionsnivån (skymning) kan ställas in steglöstDrv ca 2-2.000 lux.

Dagsljusdrift (oberoende av omgivningsljuset)

Skymningsdrift (ca 2 lux)
För installen av bevakningsområdet och För Funktionstestet i dagsljus, måste ställskruven sta på
Grundljus (J)
GrundljusnivånSORjerforenlagbelysningsniva med hjälpa vgrundljusLED.
Huvudljuset tänds bara vid rörelse inom bevakningsområdet under den tid som valts. Därefter lyser armaturen med vald grundljusnivå ingen.
- OFF = inget grundljus
- 10 min = grundljus i 10 minutes after att vald after-gangstid har lopt ut.
-
30 min = grundljus i 30 minutes after att vald after-gangstid har lopt ut.
-
C = grundljus under hela natten. Grundljus sā snart omgivningsljuset går under installd reaktionsnivå.
Permanentlhus
6.2

1) Tillkoppla det fasta skenet:
Brytare 2 x FRÄN och TILL.
LED-stråkastaren ställs in på permanent lijus i 4 timmar.
Brytare 1 x FRAN och TILL.
Armaturen slocknar resp. gär over i sensordrift.
Viktigt:
Kopplingarna måste genomföras inom 0,2 till 1 sekund.
Justering bevakningsområde
For att undvika oavsiktlig bevakning eller for att overvaka vissa områden målinalriktat, kan bevakningsområdet begransas och justeras med tackramen.
6.3


- Placera tackramen på sensorn.
Fixera tackramen genom att stanga tackskyddet.
7. Tillbehör fjärrkontroll
Fjarrkontroll RC 12
(EAN 4007841079000)
7.1

- Underlättar installationen av större belysningsanläggninger. LED-ståkastarna kan ställas in gemensamt after installeringen.
- Ett valfritt antal LED-stråkastare kan styras med fjärkontrollen.
- Varje giltigt knappyck kvitteras på armaturen via en status-LED.
I fjarrkontrollen RC12 används att batteri typ CR2032.
Med fjarrkontrollen RC 12 kan ytterligare Funktioner på XLED PRO ONE S / Plus S / Max S användas:
1 Skymningsinställning: Önskad skymningsnivå kan ställas in frän ca 2 - 2.000 lux.
"Skymningsinställning (I)"
2 Dagsljusdrift (oberoende av omgivningsljuset)
3 Nattdrift(2 lux)
4 Installling avljusniv'an via minnesknappen / Teach-lage (2 - 2.000 lux). Tryck på knappen for de lijusforhållanden,)där du önskar att sensorn sedan ske reagera på rörelser.Det aktuella värdet sparas.
5 Afterlystid: Genom att trycka på knapparna kan önskad lystid after den sista rörelsedetekteringen ställas in på 10 sek., 1 min., 5 min., 15 min.
"Efterlystid (H)"
6 Onskad lystid: Inställning av afterlysid till en onskad tid. Varje knaptryck förläger den aktuella tidsinställningen med 1 minut (max. 15 min.).
7 Permanentlhus:
Med ett knappyck i sensordrift lyser LED-stråkastaren i 4 timmar (status-LED lyser permanent). Med ett knappyck i 4 timmars TILL-drift År LED-stråkastaren släckt i 4 timmar (status-LED lyser permanent). Antingen lämnas 4 timmarsdriften när tiden har locht ut med Återställningsknappen erler i 4 timmars FRÄN-drift genom att trycka på 4 timmarsknappen.
→"Permanentlhus"
8 Install-laget(testlage): Install-lage for kontroll av Funktion och bevakningsområde. Oberoende av ljus-nivan tänds LED-stråkastaren i 10 sek. vid rörelse. Rörelse signaleras via status-LED. Install-laget priori-riteras framfor alla andra inställningar. After 10 min. lämnas install-laget automatiskt. Efter ett tryck på knappen Reset lämnas install-laget direkt. Observera: teach-laget och install-laget kan inte användas samtidigt.
9 Reset: Återställer samtliga inställningar till de manu-ellt installda värdena på LED-strålkastaren resp. till fabriksinställningarna.
10 Grundljus: Grundljusnivån sörjer För en låg belys-ningsnivå med hjälp av grundljus LED. Huvudljuset tänds bara vid rörelse under den tid som valts. Därefter lyser armaturen med valid grundljusnivå igen. →"Grundljus (J)"
Intelligent fjärrkontroll (finns som tillval)
(EAN 4007841009151)
-
Styrning via smartphone eller surfplatta.
-Ersatter fjarrkontrollen. -
Ladda ner den passande appen och anslut via Bluetooth.
8. Rengöring och skötsel
Apparaten ar underhallsfri.

Fara pga elektrisk ström!
Om vattenkommen i kontakt med strömforande delar kan det medföra elektrisk chock, brännsr erler dödsfall.
- Rengör bara apparaten Near den ar torr.
Risk for materiella skador!
Felaktiga rengöringsmedel kan orsaka skador på apparaten.
- Rengör den med en lätt fuktad trasa utan rengöringsmedel.
Viktigt: Driftsenheten kan inte bytas ut.

9. Avfallschantering
Elapparater, batterier, tillbehör och Förpackning mastelämnas in till miljövänlig Återvinning.

Kasta inte elapparater och batterier i hushållssoporna!
Fjärrkontrollen innehåller att batteri av typ CR 2032
Enligt det gällande europeiska direktivet om uttjänta elektriska och elektroniska apparater och dess omsätting i nationell lagstiftning, måste uttjänta elapparater och batterier lämnas in till miljövänlig Återvinning.
10. Tillverkargaranti
Tillverkargaranti STEINEL GmbH, Dieselstraße 80-84, DE-33442 Herzebrock-Clarholz, Tyskland
Allaprodukter från STEINEL uppyller högsta kvalitetsanspråk. Av den anledningen tillhandahäller vi som tillverkare dig som kund gärna en garanti enligt nedanstående villkor:
Garantin omfattar frihet fran brister, som bevisligen beror på att material- eller tillverkningsfel och omgående meddelas oss after att det konstaterats och inom garantitiden.
Garantin omfattar samtiga STEINEL Professional-produkter som kops och anvands i Tyskland.
Vår garanti För konsumenter
Nedanstäende bestammelser gäller für konsumenter. En konsument ar varje naturlig person som vid köptransaktionen varken utövar sin industriella eller självständiga yrkesverksamhet.
Du kan välja, om vi sca fullgöra garantin genom en gratis reparation, gratis utbyte (evtl. genom en lik- aller mervärdig, nyare modell) eller genom att tillgodohavande.
Garantitiden for den STEINEL Professional-produkt som du köpt ar for sensorer, strålkastare, utomhus- och inomhusbelysning 5 ar alltid frän produktens inköpsdatum.
Vi Åtar oss transportkostnaderna För retursändningen men inte transportriskerna.
Vår garanti För foretagare
Företagare ar en naturlig aller juridisk person eller att rättskapabelt personbolag som vid köptransaktionen utövar sin industriella eller självständiga yrkesverksamhet.
Vi avgör, om vi sca fullgöra garantin genom gratis Åtgårdande av bristerna, gratis utbyte (evtl. genom en lik- eller mervärdig, nyare modell) eller genom att tillgodohavande.
Garantitiden for den STEINEL Professional-produkt som du köpt ar for sensorer, strålkastare, utomhus- och inomhus-belysning 5 ar alltid frän produktens inköpsdatum.
Inom ramen for garantin ersätter vi inte dina utgifter som krävs vid en komplettterande prestation och inte dina utgifter vid utbyggnaden av den bristfälligaprodukten och inbyggnaden av en utbytesprodukt.
Garantirattigheter, kostnadsfrihet
De tjänster som beskrivs har gäller utöver de lagliga garantianspråken - inklusive särskilda skyddsbestämmelser for konsumenterna - och begränsar eller ersätter inte dessa. Att utöva sina lagliga rättigheter vid brister ar kostnadsfritt.
Undantaget fran garantin
Uttryckligen undantagna是从denna garantiär alla utbytbaraljuskallor.
Därutöver bortfaller garantin:
-
vid normal Förslitning p.g.a. användning eller annan naturlig Förslitning på produitdilar erler brister på STEINEL Professional-produkten, som beror på normal Förslitning p.g.a. användning eller annan naturlig Förslitning,
-
vid användning avprodukten für ändamål den inte ar avseddd aller vid osakkunnig användning aller om bruk-sanvisningen ignoreras,
- om till- och ombyggnader resp. andra modifikationer på Produkten genomförs egenmaktigt aller om brister kan hänforas till att tillbehör-, kompletterings-ller reservdeler inte ar STEINEL originaldeler,
- om unterhalb och skötsel av Produkten inte motsvarat bra克斯anvisningen,
- om montering och installation inte utförts enligt installationsbestämmlerserna från STEINEL,
- vid transportskador eller -förluster.
Tysk lags giltighet
Tysk lagstiftning gäller och undantaget År överenskommenelsen med Förenta Nationerna om avtal För den internationella varuhandeln (CISG).
Göra gällande
Om du vill ta din garanti i anspråk, sä skickar du din produit fullständig tillsammans med originalkvittot,)där köpedatum och produktbeteckning maste framgå, till din Återförsäljare eller direkt till oss, Karl H Ström AB, Verktygsvägen 4, SE-55302 Jönköping. Därfor reckommenderar vi att du sparar kvittotväl tills garantitiden har gätt ut.
11. Tekniska data
- Matt (H× B× D)
XLED PRO ONE S: 230 × 229 × 182 mm
XLED PRO ONE PLUS S / Max S: 250 × 259 × 202 mm
XLED PRO ONE: 206 × 229 × 182 mm
XLED PRO ONE PLUS / Max: 226 × 259 × 202 mm
-
Spanning: 220 - 240 ~V, 50 / 60 ~Hz
-
Prestanda / effektivitet:
XLED PRO ONE S: 120 lm/W
XLED PRO ONE PLUS S: 129 lm/W
XLED PRO ONE Max S: 122 lm/W
XLED PRO ONE: 126 lm/W
- Färgåtergivningsindex:
- Skymningsinställning:
XLED PRO ONE S / PLUS S / Max S: 2-2.000 lux
- IP isolationsklass:
IP44 / I
External belastning till sensor
XLED PRO ONE S / PLUS S / Max S:
- Glöd-/ halogenlamplast: 1.500 W
- Lysör elektriskt forkopplingsdon: 430 W
-Lysrör okompenserade: 500 VA
-Lysrörseriekompenserade: 900 VA
-Lysrör parallellkompenserade: 500 VA - Lågvlt halogenlampor: 1.500 VA
- LED-lampor < 2W : 16W
- 2 W < LED-lampor < 8 W: 64 W
- LED-lampor > 8 W: 64 W
- Kapacitiv belastning: 88 F
12. Åtgårdande av störningar
Apparatenutan spanning
-
Säkringen inte pääslagen eller defekt.
-
Tillkoppla sakringen.
- Byt ut den defekta säkringen.
-Avbrottikabel.
- Kontrollera kabeln med spanningsprovare.
-Kortslutning i nataanslutningen.
- Kontrollera anslutningarna.
- Eventuellt befindlig nätströmbrytare FRÄN
- Slà till strömbrytaren.
Armaturen tänds inte.
-
Felaktig skymningsinställning.
-
Ställ in skymningsinställningen på nytt.
- Nätströmbrytare FRÄN.
-
Ställ in nätströmbrytaren.
-
Säkringen inte pääslagen eller defekt.
-
Tillkoppla sakringen.
-
Byt ut den defekta säkringen.
-
Snabba rörelser undertrycks für att minimera feltändningar eller bevakningsområdet ar für litet aller felaktigt inställt.
-
Kontrollera och justera bevakningsområdet.
-Ljuskalla defekt.
- Ljuskällan kan inte bytas ut. Hela armaturen måste bytas ut.
Armaturen släcks inte.
-
Ständig rörelse i bevakningsområdet.
-
Kontrollera bevakningsområdet.
- Begränsa eller Förändra bevakningsområdet vid behov.
Apparaten sàtts på oönskat.
- Armaturen inte korrekt monterad.
- Montera armaturen korrekt.
- Rörelse fanns, men kunde inte detekteras (rörelse bakom en vagg, att litet objekts rörelser i armaturens omedelbara närhet osv.).
- Kontrollera området.
- Begränsa eller Förändra bevakningsområdet vid behov.
DK
Indhold
Nettledningen bestär av en 3-ledet kabel:
L = fase (som regel svart, brun aller grä)
Justering av dekningsområdet
→ «Skumringsinnstilling (I)»
Ta gjerne kontakt med oss om du har garantikrav eller sporsmal angaende produktet ditt. Du när oss på +47 22 72 50 00.
12. Utbedring av feil
- Brudd på ledningen.
- Kontroller ledningen med spenningstester.
-Kortslutning i nettledningen. - Kontroller koblingene.
- En eventuell ledningsbryter er slätt av
- Slå på nettbryteren.
Enheten kobles jakte ut.
-
Permanente bevegelser i dekningsområdet.
-
Kontroller dekningsområdet.
- Innskrenk aller forandre dekningsområdet ved behov.
Enheten slár seg på när den ikke skal
-
Enheten er/DD ke festet godt nok
-
Monter encheten godt.
-
Det var bevegelser i området som observatoren ikke. (bevegelser bak vegg, et lite objekt beveget seg i umiddelbar nærhēt av lampen etc.).
-
Kontroller området.
- Innskrenk aller forandre dekningsområdet ved behov.
Notice-Facile