XLED PRO ONE S - Lámpara STEINEL - Manual de uso y guía de instrucciones gratis
Encuentra gratis el manual del aparato XLED PRO ONE S STEINEL en formato PDF.
Descarga las instrucciones para tu Lámpara en formato PDF gratis! Encuentra tus instrucciones XLED PRO ONE S - STEINEL y toma tu dispositivo electrónico nuevamente en la mano. En esta página están publicados todos los documentos necesarios para el uso de su dispositivo. XLED PRO ONE S de la marca STEINEL.
MANUAL DE USUARIO XLED PRO ONE S STEINEL
- Acerca de este documento 194
- Indicaciones generales de seguridad 194
- Descripción del aparato 195
- Conexión electrica 203
- Montaje 205
- Funciones 215
- Accesorio mando a distancia 220
- Limpieza y cuidados 223
- Eliminación 224
- Garantía de fabricante 225
- Datos&Tecnicos 226
- Reparación de averías 228
1. Acerca de este documento
- Protegido por derechos de autor. Queda terminamente prohibida la reimpressión, ya sea total o parcial, salvo con autorización expresa.
- Sujeto a modificaciones en función del progreo técnico.

jAdvertencia depeligos!

jAdvertencia de peligros por corrente electrica!

jAdvertencia depeligos por agua!
2. Indicaciones generales de seguridad

iPeligro por la no observacion de las instrucciones de uso!
Estas instrucciones contienen informacion importante sobre el manejo seguro del aparato. Se advierte especialmente de posibles peligros. La no observancia可以使caesar la muerte o lesiones graves.
- L'éanse las instrucciones detenidamente.
- Cumplanse lasindicaciones deseguidad.
-
Manténgase al alcance.
-
El manejo de la corriente electrica puede causar situaciones peligrosas. El contacto fisico con piezas conductoras de electricidad pueda causar shocks electricos, quemaduras o la muerte.
- El trabajo en la tension electrica deben ser realizado exclusivamente por personal的技术ico especializzato.
- Se cumplirán las normativas de instalación y los requisitos de acometida espécíficos de cada País (p. ej., DE: VDE 0100, AT: ÖVE-ÖNORM E8001-1, CH: SEV 1000).
- Utilice solo piezas de repuesto originales.
- Las reparaciones solo está permitidas a entreprises especializadas.
3. Descripción del aparato
Uso previsto
XLED PRO ONE S / Plus S / Max S
- Foco LED con sensor de movimiento de infrarrojos.
- Montaje en la pared en zonas interiores y exteriores.
- No apto para la connexion a un graduador de luminosidad.
Principio functional
- El sensor de infrarrojos registra la radiación térmica de objetos en movimiento (p. ej., personas, animales etc.). La radiación térmica así registrada se transforma electrónicamente y activa, de esta forma, automatistically elazo LED.
- La detectación de movimiento más segura se garantiza montando el aparato lateralmente respecto al sentido del movimiento.
- El alcance de la detectación de movimiento está limitado acercándose derente hacía el aparato.
- Los obstáculos (por ejemplo, árboles, paredes o cristales)mightnerestringir la detección del movimiento o hacerla imposible.
- Fluctuaciones de temperatura repentinas causadas por las influencias climáticas no se diferencian de las fuentes tírmicas.
Uso previsto
XLED PRO ONE / Plus / Max
- Foco LED.
- Montaje en la pared en zonas interiores y exteriores.
- No apto para la connexion a un graduador de luminosidad.
Uso no previsto
- El foco LED no es atenable.

No atenuable
Volumen de suministro
- XLED PRO ONE S
- XLED PRO ONE Plus S
- XLED PRO ONE Max S

3.1
- 1 foco LED con sensor de movimiento de infrarrojos
- 1 llave Allen
- 1 pantalla
- 2 tornillos
- 2 espigas
- 2 arandelas
- 2 tornillos prisioneros
- 1 mando a distancia RC 12
- 1 hora de datos de seguridad
- 1 guía=rápida
Volumen de suministro
-XLED PRO ONE
- XLED PRO ONE Plus
- XLED PRO ONE Max
3.2


- 1 foco LED
- 1 llave Allen
- 2 tornillos prisioneros
- 2 tornillos
- 2 espigas
- 2 arandelas
- 1 hoja de datos de seguridad
- 1 guía=rápida
Dimensiones del producto XLED PRO ONE S
- XLED PRO ONE S (a)
- XLED PRO ONE Plus S (b)
- XLED PRO ONE Max S (c)
3.3
Dimensiones del producto XLED PRO ONE
- XLED PRO ONE (a)
- XLED PRO ONE Plus (b)
- XLED PRO ONE Max (c)
3.4
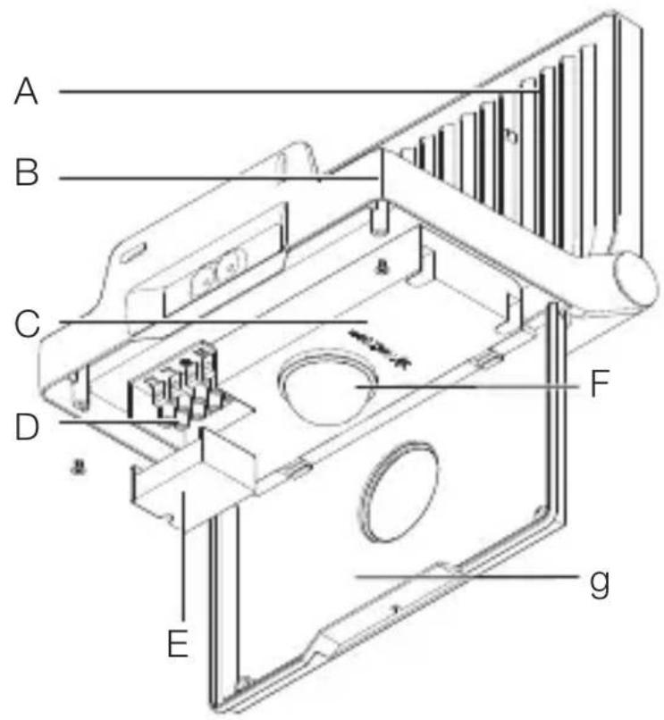
Visión general del aparato XLED PRO ONE S / Plus S / Max S
3.5

A Cabezal de proyeccion LED
B Patilla de montaje
C Tornillo de regulación
D Borne de connexion
E Tapa de terminales
F Unidad del sensor
G Cubierta
3.6
H
ES
1
OFF
J
30 10 min min
H Temporación
I Regulación crepucular
J Luz de cortesía
3.7
K
K Mando a distancia RC12
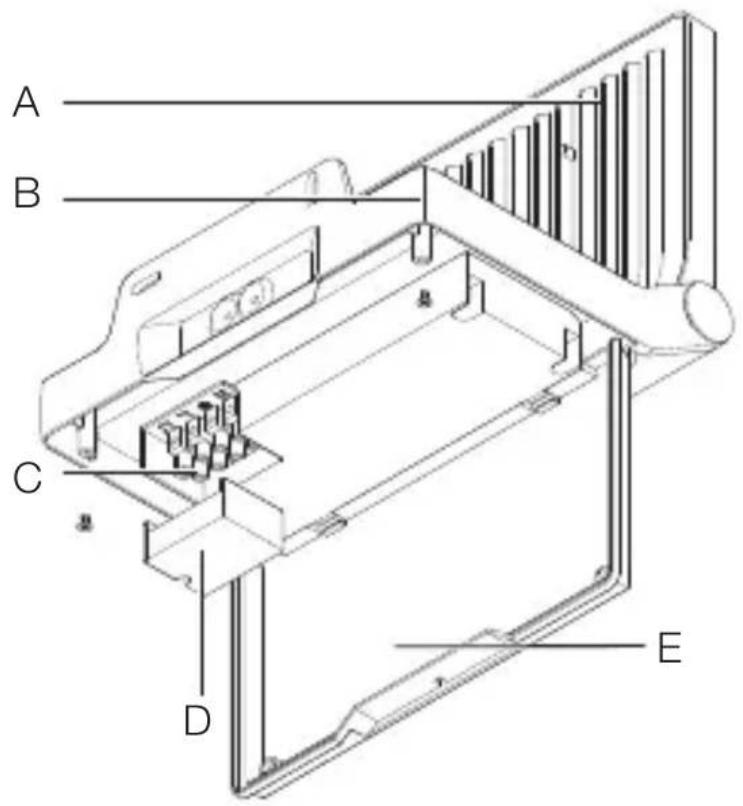
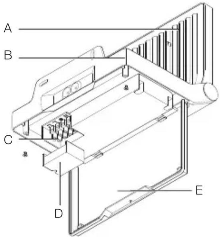
Visión general del aparato XLED PRO ONE / Plus / Max
3.8

A Cabezal de proyeccion LED
B Patilla de montaje
C Borne de connexion
D Tapa de terminales
E Cubierta
Esquemas de conexiones XLED PRO ONE S / Plus S / Max S
4.1




ES
Esquemas de conexiones XLED PRO ONE / Plus / Max

4.2



El cable de alimentacion de red consta de un conductor trifilar:
L = fase (generalmente negro, marrón o gris)
N = neutro (generalmente azul)
PE = toma de tierra (verde / amarillo)
El aparato también puede connectarse electricamente antes de un interruptor de red si se garantiza que el interruptor de red está permanente conectado.
El LED de este aparato no es reemplazable. En casoAPS, como el caso de la reparación, se le aplicará sustituirse y el aparato se quitterá.
La bombilla de esta lámpara no se pueda reemplazar, para reemplazar la bombilla (p. ej. al fin de su vida útill), hay que cambiar toda la lámpara.

5. Montaje

El contacto fisico con piezas conductoras de electricidad peutecausar shocks electricos, quemaduras o la muerte.
- Desconectar la corriente e interruptir la alimentacion electrica.
- Controlar la ausencia de tension con un comprobador de tension.
- Asegurar que la alimentacion electrica permanezca interruppida.
Pelicro de daños materiales!
Los cables invertidos peuvent cause cortocircuitos.
- Identificar los cables de connexion.
- Conectar correctamente los cables de connexion.
Preparación de montaje
- Asegurar de que todos los componentes se encuentran en perfecto estado. No poder en service el aparato si presente daños.
Elegir un lugar de montaje adecuado.
-Tener paraarlo en cuenta el alcance.
-Tener paraarlo en cuenta la detectacion de movimientos.
-Sin vibraciones.
-Campo de detectación libre de obstáculos.
- No en zonas conPEGRO de explosion.
- No sobre superficies fácilmente inflamables.
- No mirar a la fuente de luz desde coma distancia (< 30~cm)
-A una distancia minima de 50 cm de otros focos LED.
Alcance XLED PRO ONE S / Plus S / Max S
5.1

Detección de movimiento lateral respecto al sentido del movimiento XLED PRO ONE S / Plus S / Max S
5.2

ES
Detectación de movimiento en sentido del movimiento XLED PRO ONE S / Plus S / Max S
5.3

Alineación del aparato
5.4

- Alinear correctamente el aparato.
El montaje por pasos

5.5


ES
- Comprobar que la alimentación de tension está desconectada.
- Marcar los orificios a taladrar.

5.6


- Taladrar los orificios (Ø 6 mm) e insertar los tacos.
5.7

Desatornillar la cubierta.
5.8

- Abrir la cubierta.

5.11


- Desatornillar la tapa de terminales.
- Conectar el cable de alimentacion conforme al esquema de conexiones.
“4. Conexión electrica”
5.12

ES
- Atornillar la tapa de terminales.
5.13

- Cerrar la tapa.
- Enroscar tornillos de retencion.
5.14


- Orientar el CZal de proyeccion y sujetarlo con los tornillos prisioneros.
5.15


- Conectar la alimentacion electrica.
- Ajustar las unidades.
→“6. Funciones”
6. Funciones
XLED PRO ONE S / Plus S / Max S
6.1
ES
H
1
J
OFF
30
10min
- Desatornillar la tapa.
- Llevar a cabo los ajustes.
Configuración de fabrica
- Temporación: 8seguidos
- Regulación crepuscular: funciona bajo la lawla de la luz.
-Luz de cortesia: OFF
Temporación (H)
La desconexión diferida puede regularse sin etapas desde aprox. 8 s hasta un máximo de 35 min. Cualquier movimiento registrarido vuede a encender la luz.
Note: Después de cada desconexión del foco LED hay que esperar aprox. 1 segundo para una nuevo detectación de movimiento. Después, el foco LED pueda encender de nuevo la luz al producirse movimiento.
Para el ajuste del campo de detectación y la prueba de funciona bajo se recomiendaaabustar el tiempo minimal.
Regulación crepucular (I)
La luminosidad reactiva (crepúsculo) puede regulararse sin etapas entre aprox. 2 y 2.000 lux.

funcionamiento diurno (independiente de la luminosidad)

funcionamente crepuscular (aprox. 2 lux)
Paraaabstarelf Campo de detectiOn y para probar el
funcionamentoa la luz del dia,el tornillo de regulacion ha
deestar puesto en
Luz de cortesía (J)
La luz de cortesía mediante el LED de luz de cortesía proportionscna un nivel de iluminacion reducido.
La luz principal solo se enciende durante el tiempo seleccionado en caso de movimiento correspondiente en la zona de detectación. Después, la luz cambia a la luz de cortesía seleccionada.
- OFF = sin luz de cortesía
- 10 min = luz de cortesía 10 horas una vez transcurrido el tiempo selecciónado de la desconexión diferida.
-
30 min = luz de cortesía 30 horas una vez transcurrido el tiempo selecciónado de la desconexión diferida.
-
C = luz de cortesía toda la noche. Luz de cortesía en cuando la luz ambiental descienda por debajo de la luminosidad reactiva ajustada.
Alumbrado permanente
6.2

1) Conectar alumbrado permanente:
- Pulsar OFF y ON 2 vecs.
ElAGOLED se pone en alumbrado permanente durante 4 horas. A continuacion,para de nuevo automatisticamente a functionamento de sensor.
2) Desconectar alumbrado permanente:
- Pulsar OFF y ON 1 vez.
La lámpara se apaga o pasa a funciona de sensor.
Important:
Las maniobras de conmutacion han de executarse en un lapso de 0,2 a 1 s.
Regulación del Campo de detectión
Para registrar una detectación involuntaria o controlar zonas relacionas, el camino de detectación se pueda limitar yaabrear con la pantalla.
6.3


- Colocar la pantalla en el sensor.
- Fijar la pantalla cerrando la taps.
7. Accesorio mando a distancia
Mando a distancia RC 12
(EAN 4007841079000)
7.1

- Facilita la instalación de instalaciones de alumbrado más grandes. Los+focos LED poderajustarse conjuntamentetrasusinstalacion.
- Con el mando a distancia pueda controlarse unacantidad indefinida de focos LED.
- Cada pulsación de tecla valida es confirmada en el aparato mediante un LED de estado.
En el mando a distancia RC12 se usa una pila del tipo CR2032.
Con el mando a distancia RC 12 pueda utilizarmericanas de XLED PRO ONE S / Plus S / Max S:
1 Regulaciónrepuscular: El punto de activación deseado puede regulararse entre los 2 - 2.000 lux antes.
"Regulación crepuscular (I)"
2 Funcionamentodiurno (independiente de la luminosidad)
3 Funcionamientonocturno (2 lux)
4 Regulación de la luminosidad mediante la tecla de memorización / modo aprendizaje (2 - 2.000 lux). Una vez alcanzadas las condiñones de alumbrado deseadas para que el sensor reaccione en el futuro en caso de movimiento, deben pulsarse la tecla. El valor actual queda memorizzato.
5 Temporizacion: El intervalo de iluminacion deseado desde la ultima detectacion de movimiento能把 ajustarse pulsando los botones a 10 s, 1 min, 5 min, 15 min.
→“Temporación(H)”
6 Período de alumbrado deseado: Ajuste del periodo de alumbrado a un tiempo individualizo. Cada vez que se pulsa el botón, el tiempo actual ajustadourrenta 1 min (máx. 15 min).
7 Alumbradopermanente:
Al pulsar el botón en funciona como sensor, elIFO. Al pulsar el botón enfunciación de sensor, elfoco LED se enciende durante 4 h (LED de estadoencendido permanente). Al pulsar el botón enfunciación 4 h ON, el foco LED se apaga durante 4 h (LED de estado encendido permanente). Elfunciación de 4 h termina una vez transcurrido el tiempo, pulsando la tecla Reset, o, en funciona de 4 h OFF, acontecido el botón de 4 h.
"Alumbrado permanente"
8 Mode instalación (modo de test): modo de instalación para comprar la funcionalidad como el camino de detectación. Con independencia de la luminosidad, el foco LED se conecta en caso de movimiento durante 10 s. Los movimientos se sanizan a工程技术 del LED de estado. El modo instalación tiene prioridad sobre cualquier(otherly. El modo instalación finaliza automatistically afterwards of 10 min. El modo instalación finaliza inmediamente pulsando Reset.
Atencion: El modo aprendizaje y el modo instalacion no pueda usarse simultaneamente.
9 Reset: Reposión de todos los parámetros del bajo LED a los values ajustados manualmente o a la configuración de fabrica.
10 Luz de cortesía: La luz de cortesía mediante el LED de luz de cortesía proporción un nivel de ilumina- ción reducido. La luz principal solo se enciende dur- rante el tiempo seleccionado en caso de movimiento correspondiente en la zona de detectación. Después, la luz cambia a la luz de cortesía seleccionada. "Luz de cortesía (J)"
Mando a distancia intelligente (optional)
(EAN 4007841009151)
- Control mediante smartphone o tablet.
-
Sustituya el mando a distancia.
-
Cargar la aplicacion adecuada y conectar via Bluetooth.
8. Limpieza y@cuidados
El aparato está exento de mantenimiento.

El contacto del agua con piezas conductoras de electrificad能看出causar shockselectricos,quemaduras o la muerte.
- Limpiar el aparato solo en estado seco.
Pelicro de daños materiales!
Utilizando un limpiador no apropiado, el aparato pueda sufrir daños.
- Limpiar el aparato con un paño ligeramente humedecido sin detergente.
Importante: el controlador no pueda sustituirse.

9. Eliminación
Los aparatos electricos, las baterías, los accesorios y los embalajes deben reciclarse de forma respetuosa con el medio ambiente.

No eche los aparatos electricos ni pilas a la basura domestica!
El mando a distancia contiene una pila del tipo CR 2032 dióxido de Li-Mn / electrolyitos orgánicos.
Solo para paises de la UE:
Según la Directiva europea vigente sobre residuos de aparatos electricos y electrónicos y su transmisión al derechoño nacional, los aparatos electricos y pilas fuera de uso deben recogerse por分开ado y someterse a un reciclaje respetuoso con el medio ambiente.
10. Garantía de fabricante
Garantía de fabricante STEINEL GmbH, Dieselstr. 80-84, DE-33442 Herzebrock-Clarholz, Alemania
Austed, el comprador, le asisten ciertos derechos legalesrente al vendedor. En la medida en que这些东西arethosexistan en su paises, ellos no se veran acortados ni limitados por nuestro Certificado de garantia. Le ofrecemos 5 añosde garantía sobre el estado y el functionamento impecables de su producto STEINEL Professional con技术水平adersoles. Garantizamos que este producto carece dedefectos derivados del material, la fabricación o Construccion. Garantizamos laplenafuncionalidadde todos loscables y piezas electrónicas, asi como la ausencia dedefectos enequalquier materialemployado o en su superficie.
Reclamación:
Siusted desea reclamar su producto, envielo, por favor, todo completo y a porte pagado junto con el tiquet de compra original que deben indicar la Fecha de compra y la denominacion del producto a su vendedor o directamente a nuestra direccion, SAET-94 S.L. - C/Trepadella, n° 10, Pol. Ind. Castellbisbal Sud, E-08755 Castellbisbal (Barcelona). Recommendamos, por ese, guardar bien el tiquet de compra hasta que hayaexpired el periodo de garantia. STEINEL no respondera por gastos o riesgos de transporte con motivo del envio.
Información para hacer constar un caso de garantía la obtendrá a技术水平s de nuestra网页 www.steinel-professional.de/garantie
Para cadaquier caso de garantía o duda referente a su producto, nosgue llamar al número del Servicio Técnico +34 93 772 28 49.
11. Datos tíncinos
- Dimensiones (alt. x anch. x prof.):
XLED PRO ONE S: 230 × 229 × 182 mm
XLED PRO ONE PLUS S / Max S: 250 × 259 × 202 mm
XLED PRO ONE: 206 × 229 × 182 mm
XLED PRO ONE PLUS / Max: 226 × 259 × 202 mm
-Tensión de red: 220-240 V, 50/60 Hz
- Potencia / eficiencia:
XLED PRO ONE S: 120 lm/W
XLED PRO ONE PLUS S: 129 lm/W
XLED PRO ONE Max S: 122 lm/W
XLED PRO ONE: 126 lm/W
- Superficie proyectada:
XLED PRO ONE S: 180 cm²
XLED PRO ONE PLUS S / Max S: 254 cm²
XLED PRO ONE: 180 cm²
XLED PRO ONE PLUS / Max 254 cm²
-Peso:
XLED PRO ONE S: 1,45 kg
XLED PRO ONE PLUS S: 1,7 kg
XLED PRO ONE Max S: 1,72 kg
-
Color de luz: 3.000 K (blanco calido)
-
Únice de reproduccion cromática: R_a ≥ 80
-
Tecn. de sensor:
XLED PRO ONE S / PLUS S / Max S: infrarrojos pasivos
- Alcance:
XLED PRO ONE S / PLUS S / Max S: max. 10 m
- Ángulo de detectación:
XLED PRO ONE S / PLUS S / Max S: 240°
- Temporizacion:
XLED PRO ONE S / PLUS S / Max S: 8 s-35 min
- Regulación crepucular:
XLED PRO ONE S / PLUS S / Max S: 2- 2.000 lux
- Clase de proteccion IP: IP44 / I
Potencia de ruptura adicional
XLED PRO ONE S / PLUS S / Max S:
- Carga de bombilla incandescente / halógena: 1.500 W
- Lámparas fluorescentes balastro electrónico: 430 W
- Lámparas fluorescentes no compensadas € 500 VA
- Lámparas fluorescentes compensadas en série: 900 VA
- Lámparas fluorescentes compensadas en paralelo: 500 VA
- Lámparas halógenas bajo voltaje: 1.500 VA
- Lámparas LED < 2 W: 16 W
- 2 W< Lámparas LED< 8 W: 64 W
- Lámparas LED > 8 W: 64 W
- Carga capacitiva: 88 F
12. Reparación de averías
Aparato sin tension.
-Fusible desactivado o defectuoso.
- Activar fusible.
-
Cambiar el fusible defectuoso.
-
Linea interruppida.
-
Comprobar la linea de alimentacion con un comprobador de tension.
- Cortocircuito en el cable de alimentación.
- Comprobar las conexiones.
- El interruptor de alimentación está desconectado (si lo hay)
- Poner el interruptor en ON.
El aparato no se enciende.
-
Regulación crepuscular mal selecciónada.
-
Ajustar de nuevo la regulación crepucular.
- El interruptor de alimentación está en OFF.
- Ajustar el interruptor de alimentación.
-Fusible desactivado o defectuoso.
Activarfusible.
- Cambiar el fusible defectuoso.
-
Los movimientos rápidos se suprimen para minimizar las interferencias o el camino de detectión esblemado(PCPOo no correcto.
-
Comprobar y ajustar el camino de detectación.
-Fuente deluz defectuosa.
- La fuente de luz no se pueda Cambiar. Cambiar el aparatopleteo.
El aparato no se apaga.
-
Movimiento permanente en el camino de detectación.
-
Comprobar el campo de detectación.
- En casoAPS, limitar o modifier el Campo de detectacion.
El aparato se enciende sin querer.
- El aparato no se ha montado asegurado contra movimiento.
Fijar bien el aparato.
-
Se produit un movimiento no detectado por el observador (movimiento detrás de una pared, de un objeto(PC)pequeño en las inmediaciones de la lámpara etc.)
-
Controller el campo de detectación.
- En caso necessario, limitar o modifier el campo de detectación.
PT
Índice
Aviso de perigo originado por agua!
Principio de funciona
Funcimiento de luz permanente
6.2

PT
Przeglad urzadzenia XLED PRO ONE / Plus / Max
3.8

7. Accesorii: telecomă
Telecomanda RC 12
(EAN 4007841079000)
7.1

ManualFacil