XLED PRO ONE S - Lamp STEINEL - Tasuta kasutusjuhend
Leidke seadme juhend tasuta XLED PRO ONE S STEINEL PDF-formaadis.
Laadige alla juhend oma Lamp PDF-formaadis tasuta! Leidke oma juhend XLED PRO ONE S - STEINEL ja võtke oma elektrooniline seade uuesti kätte. Sellel lehel on avaldatud kõik teie seadme kasutamiseks vajalikud dokumendid. XLED PRO ONE S kaubamärgi STEINEL.
KASUTUSJUHEND XLED PRO ONE S STEINEL
12. Afhjaelpning af fejl
- Käesoleva dokumendi kohta 752
- Üldised ohutusjuhised 752
- Seadme kirjeldus 753
- Elektriline ühendamine 761
- Montaaž 763
- Talitlus 773
- Kaugjuhtimispuldi tarvikud 778
- Puhastamine ja hooldus 781
- Utiliseerimine 782
- Tootja garantii 783
- Tehnilised andmed 784
- Törgete körvaldamine 786
1. Käesoleva dokumendi kohta
- Autoriöigusega kaitstud. Järeltrükk, ka väljavöttliselt, ainult meie nõusolekul.
- Őgus muudatusteks tehnilise tāiustamise eesmārgil reserveeritud.

Hoiatus ohtude eest!

Hoiatus vooluga seotud ohtude eest!

Hoiatus veega seotud ohtude eest!
2. Üldised ohutusjuhised

Kasutusjuhendi mittejärgimisest tulenev oht!
Juhend sisaldab olulist teavet seadme turvaliseks kasutamiseks. Eriti juhitakse tahelepanu voimalikele ohtudele. Mittejärgimine vöib kaasa tuua surma vöi rasked vigastused.
Lugege juhendit hoolikalt.
- Järgige ohutusjuhiseid.
- Hoidke kattesaadavas kohas.
- Elektrivoooluga ümberkäimine vöib tuua kaasa ohtlikke olukordi. Elektrit juhtivate osade puudutamine vöib pöhjustada elektrisokki, põletusi või surma.
- Vörgupingel tõid tohivad teha ainult kvalitseeritud spetsialistid.
- Tuleb järgida riigiseseseid installatsioonieeskirju ja ühen-damistingimusi (nt DE VDE 0100, AT: ÖVE-ÖNORM E8001-1, CH: SEV 1000).
- Kasutage ainult originalvaruosi.
- Parandustöid tohivad teha ainult spetsialistid.
3. Seadme kirjeldus
Nōuetekohane kasutus
XLED PRO ONE S / Plus S / Max S
- LED-kiirgur koos infrapuna-liikumissensoriga.
- Paigaldamine seintele siseruumides ja valjas.
-Ei ole moeldud hamardiga uhendamiseks
Töopohimōte
- Infrapunaandur tuvastab liikuvate kehade (nt inimesed, loomad) soojskiirguse. Soojskiirgus teisendatakse elektroniliselt ja LED-kiirgur lulitub automaatseit sisse.
- Liikumine tuvastatakse kõige kindlamalt, kui paigaldate seadme liikumissuuna suhtes külgmiselt.
- Otse seadme suunas liikudes on likumise tuvastamise ulatus piiratud.
- Takistuste tottu (nt puud, müürid vöi klaasid) vöib likumise tuvastamine olla piiratud vöi ei ole üldse voimalik.
- Ilmastikust tingitud ökilisi temperatuuri kõikumisi eeriistata soojisallikatest.
Nōuetekohane kasutus
XLED PRO ONE / Plus / Max
-LED-kiirgur.
- Paigaldamine seintele siseruumides ja valjas.
-Ei ole moeldud hamardiga uhendamiseks
Mittesihipärane kasutamine
- LED-kiirgur ei ole hamardatav.

Ei ole
hamardatav
Tarnekomplekt
- XLED PRO ONE S
- XLED PRO ONE Plus S
- XLED PRO ONE Max S

3.1
- 1 LED-kiirgur koos infrapuna-liikumissensoriga
-1kuuskantvoti
-1 kattesirm
-2kruvi
-2tüblit
-2 alusseibi - 2 peitpeakruvi
-1kaugjuhtimispult RC 12 - 1 ohutuskaart
-1kiirjuhend
Tarnekomplekt
-XLED PRO ONE
- XLED PRO ONE Plus
- XLED PRO ONE Max
3.2


Toote mõõdud XLED PRO ONE S
- XLED PRO ONE S (a)
- XLED PRO ONE Plus S (b)
- XLED PRO ONE Max S (c)
3.3
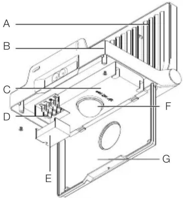
Seadme ülevaade XLED PRO ONE S / Plus S / Max S
3.5

A LED-prozektori pea
B Montaažikaar
C Seaderegulaator
D Ühendusklemm
E Klemmikate
F Andur
G Kate
3.6

H Aja seadmine
K Kaugjuhtimispult RC 12
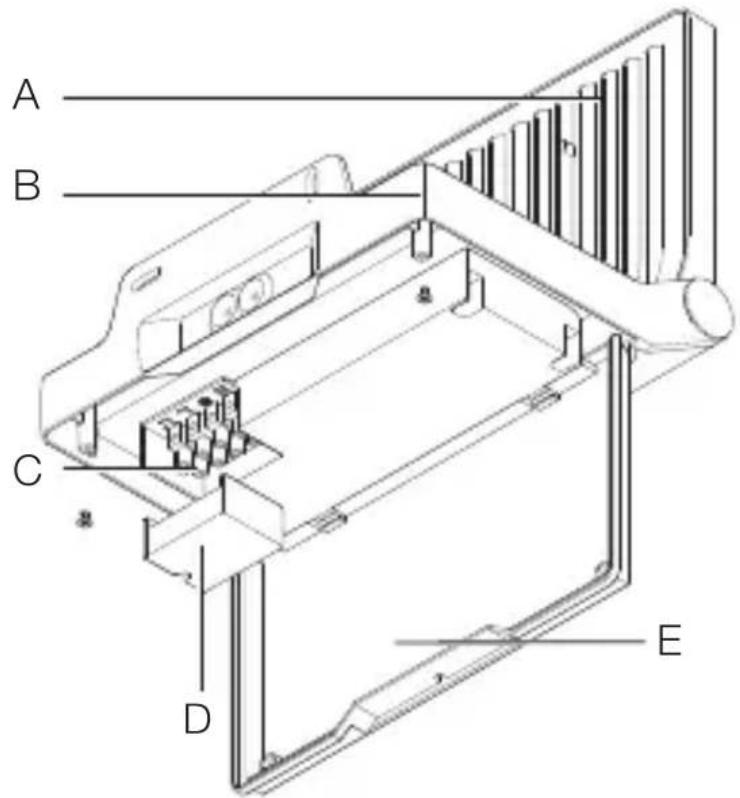
Seadme ülevaade XLED PRO ONE / Plus / Max
3.8

A LED-prozektori pea
B Montaažikaar
C Ühendusklemm
D Klemmikate
E Kate
4. Elektriline ühendamine
Lülitusskeemid XLED PRO ONE S / Plus S / Max S
4.1




EE
Lülitusskeemid XLED PRO ONE / Plus / Max

4.2



Vörgutoitejuhe koosneb 3-soonelisest kaablist:
L = faas (enamasti must, pruin või hall)
N = neutraljuht (enamasti sinine)
PE = kaitsejuht (roheline / kollane)
Seadet saab pärast vörgulülitiga ühendamist ka elektriga ühendada, kui on tagatud, et vörgulülti on pidevalt sisse lülitatud.
Selle seadme LED ei ole vahetakav. Vajaduse korral tuleb asendada kogu seade.
Selle valgusti valgusallikat ei saa vahetada; juhul kui valgusallikas tuleb valja vahetada (nt selle eluea loppemisel), tuleb asendada kogu valgusti.

5. Montaaž

Elektrilögi oht!
Elektrit juhtivate osade puudutamine võib põhjustada elektrilööki, põletusi või surma.
Lulitage vool valja ja katkestage pingetoide.
- Kontrollige pingetestriga pingevabadust.
- Tehke kindlaks, et pingetoide jäab katkestatuks.
Materialsete kahjude oht!
Uhendusjuhtmete omavaheline aravahetamine voib lühise pohjustada.
Identifseerige ühendusjuhtmed.
- Ühendage korralikult ühendusjuhtmed.
Paigalduse ettevalmistus
- Kontrollige kõiki koostedetaile kahjustuste suhtes.
Kahjustuste korral arge võtke seadet kasutusse.
Valige sobiv paigalduskoht.
-Arvestage tooraadiust.
-Arvestage liikumise tuvastamist.
-Vibratsioonivaba.
-Tuvastuspiirkond on takistustest vaba.
-Ei ole plahvatusoftlik piirkond.
-Ei ole kergesti suttiv pind.
- Arge vaadake valgusallikasse lahidistantsilt (< 30 cm).
-Vahemalt 50 cm teistest LED-kiirguritest eemal.

Mõötepiirkond XLED PRO ONE S / Plus S / Max S
5.1
Liikumise tuvastamine liikumissuunaga külgmiselt XLED PRO ONE S / Plus S / Max S
5.2

Liikumise tuvastamine liikumissuunasXLED PRO ONE S / Plus S / Max S
5.3

EE
Seadme joondamine
5.4

- Joondage seade korrektsalt.
Montažisammud

5.5


- Kontrollida, et pingetoine on valja lulitatud.
- Märgistage puurimisavad.

5.6


- Puurige avad (Ø 6 mm) ja pange tüübld sisse.
EE
5.7

Kruvige kate maha.
5.8

- Avage kate.

5.9
Tömmake kaabel labiava.

5.10
Kruvige klemmikate maha.
- Ühendage vörgutoitejuhe vastavalt elektriskeemile.
→“4. Elektriline ühendamine”
5.12

- Kruvige klemmikate peale.
5.13

- Sulgege kate.
Keerake lukustuskruvid sisse.
EE
5.14


- Joondage prożektoripea ja fikseerige peitpeakruvidega.
5.15


Lulitage voolutoide sisse.
- Funktsioonide seadistamine.
→“6. Talitlus”
6. Talitlus
XLED PRO ONE S / Plus S / Max S
6.1



Keerake kate lahti.
- Teostage seaded.
Tehaseseadistused
- Aja seadmine: 8 sekundit
- Hämaruse seadmine: pääevavalgusrežiim 1.000 lx
-Pohivalgustus:VALJA LULITATUD
Aja seadmine (H)
Väljalūlitusviivitust on vōimalik seadistada astmeteta alates u 8 sekundist kuni max 35 minutini. Iga tuvastatud liikumine lūlitab tule taas sisse.
Markus. Pärast LED-kiirguri igakordset valjalulitust ei oleu 1 sekundi vältel voimalik uut liikumist tuvastada. Seejärelsaab LED-kiirgur liikumise korral valguse taas sisse lulitada.
Tuvastuspiirkonna häalestamisel ja talitlustesti labiviimisel soovitame seadistada luhim aeg.
Hämaruse seadistamine (I)
Rakendumisheledust (hamardumist) on voimalik seadista- da astmeteta vahemikus 2 - 2.000 lx.

Päevavalgusrežiim (ei sõltu heledusest)

Tuvastuspiirkonna seadmisel ja paevalguses talitlustesti labiviimisel peab seaderegulaator peal paiknema.
Pöhivalgustus (J)
Pöhivalgustuse LEDi põhiheledus tagab madalama valgustaseme.
Peavalgustus lulitub sisse ainult vastava liikumise korral liikumise tuvastuspiirkonnas ja valitud ajaks. Seejarel lulitub valgus valitud pohiheledusele.
- OFF = pöhivalgustust ei ole
- 10 min = pöhivalgustus 10 minutit pärast valitud järeltalitlusaja löppemist.
-
30 min = pöhivalgustus 30 minutit pärast valitud järeltalitlusaja löppemist.
-
C = Pöhivalgustus kogu öö. Pöhivalgustus kohe, kui ümbritsev valgus on langenud alla seadistatud rakendumisheleduse.
Pusivalgustusrežiim
6.2

1) Pusivalgustuse sisselulitamine:
LED-kiirgur seatakse 4 tunniks püsivalgustusele.
Seejärel lāheb see automaatelt sensorirežiimile tagasi.
2) Pusivalgustuse valjalulitamine:
Lulitamine peab toimuma vahemikus 0,2 - 1 s.
Jalgitava ala kohaldamine
Selleks et välistada soovimatut tuvastust voi jalgida tahtlikult teatud piirkondi, saab tuvastuspiirkonda piirata ja häalestada kattesirmiga.
6.3


- Asetage kattesirm sensorile.
Fikseerige kattesirm katte sulgemisega.
EE
7. Kaugjuhtimispuldi tarvikud
Kaugjuhtimispult RC 12
(EAN 4007841079000)
7.1

- Kergendab suurte valgustusseadmete paigaldamist. LED-kiirgureid saab pärast paigaldust koos seadistada.
- Kaugjuhtimispuldiga on voimalik juhtida suvalist arvu LED-kiirgureid.
- lga kehtiv klahvivajutus kinnitatakse seadmel oleku LED-iga.
Kaugjuhtimispuldil RC12 kasutatakse CR2032 tüpi patareid.
Kaugjuhtimispuldiga RC12 saab kasutada täiendavaid XLED PRO ONE S / Plus S / Max S funktsioone:
1 Hämarusnivooseadistamine: soovitud rakendumisläve saab sujuvalt u 2 - 2.000 lx peale seada.
→“Hämaruse seadistamine (l)”
2 Päevavalgusrežiim (soltub heledusest)
3Örežiim (2 lx)
4 Heledusseadistused salvestusklahvi /
Teach-režiimi kaudu (2-2.000 lx). Soovitud valgustingimustel, mille korral peab sensor tulevikus liikumisele reageerima, tuleb klahvi vajutada. Praegune vaartus salvestatakse.
5 Ajaseadmine: soovitavat valgustusaega pärast viimase liikumise tuvastamist saab klahvide vajutamisega reguleerida 10 sekundile, 1 minutile, 5 minutile ja 15 minutile.
"Aja seadmine (H)"
6 Soovitudvalgustuskestus: Seadistage valgustus-kestus soovitud ajale. Iga klahvivajutus suurendab praegust ajaseadistust 1 minuti vorra (max 15 min).
7 Pusivalgustusreziim:
Sensorirežiimis nupu vajutamisel lulitub LED-kiirgur 4 h sisse (oleku-LED põleb pidevalt). 4 h-SEES-režiimis nupu vajutamisel lulitub LED-kiirgur 4 h valja (oleku-LED põleb pidevalt). 4 h olekust valjub seade aja jooksul voi liahestamislulit vajutades, 4 h valjaluli-tatud olekust valjub seade 4 h lulitit vajutades.
8 Install-režiim(testrežiim). Install-režiim funktsionaalsuse ja tuvastuspiirkonna kontrollimiseks. Soltumata heledusest lulitub LED-kiirgur liikumise korral 10 sekundiks sisse. Liikumisest antakse teada oleku LEDi abil. Install-režiim on kõigi teiste seadistuste aes ülimuslik. 10 minuti pärast lulitub Install-režiim automaatset valja. Pärast lahtestuskulhvi vajutamist lulitub Install-režiim kohe valja. Tahelepanu! Teach-režiimi ja Install-režiimi ei saa korraga kasutada.
9 Lähtestamine: Kõikide seadistuste lahtestamine kas LED-kiirguril käsitsi seadistatud vaärstutele või tehaseseadistustele.
10 Pohivalgustus: Pohivalgustuse LEDi pohiheledus tagab madalama valgustuseme. Peavalgustus lulitub sisse ainult vastava likumise korral liikumise tuvastuspiirkonnas ja valitud ajaks. Seejarel lulitub valgus valitud pohiheledusele. "Pohivalgustus (J)"
Nutikas kaugjuhtimine (valikuline)
(EAN 4007841009151)
- Juhtimine nutitelefoni või tahvelarvatiga.
- Asendab kaugjuhtimispulti.
- Laadige sobiv rakendus alla ja looge ühendus Bluetooth abiil.
8. Puhastamine ja hooldus
Seade ei vaja hooldamist.

Elektrilögi oht!
Elektrit juhtivate osade kokkupuude veega võib põhjustada elektrilöki, põletusi või surma.
- Puhastage seadet ainult siis, kui see on kuiv.
Materialsete kahjude oht!
Valede puhastusvahendite tottu voib seade kahjustada saada.
- Puhastage seadet pisut niisutatud lapiga ja arge kasutage puhastusvahendeid.
Tähtis! Juhtimisseade ei ole vahetatav.

9. Utiliseerimine
Elektriseadmed, tarvikud ja pakendid tuleb toimetada keskkonnasobralikku taaskasutusse.

Arge visake elektriseadmeid ja patareisid olmejätmete hulka!
Kaugjuhtimispult sisaldab CR 2032 Li-Mn-dioksiid / Organic Elektrolyte tuupi patareid.
Ainult ELi riikidele:
Vastavalt kehtivale Euroopa direktiivile ja sellest tulenevatele kohalikele seadustele elektronika ja vanade elektronikaseadmete kohta tuleb kasutuskölmatud elektriseadmed ja pataeid eraldi kokku koguda ning toimetada keskkonnasobralikku taaskasutusse.
10. Tootja garantii
Ostjana on teil muūja suhtes samuti seadusega sātestatud puuduste kōrvaldamise ōigusi vōi vastavalt pretensio-niōigusi. Kui teie asukohariigis on need ōigused olemas, siis meie garantiideklaratsoon neid ei kärbi ega piira. Me anname teie STEINELi Professional sensortootele laitmatute omaduste ja nōuetekohase talitluse kohta 5-aastase garantii. Me garanteerime, et kōnealune toode on vaba materjali-, valmistamis- ja konstruktsionivigadest. Me garanteerime kōigi elektroniliste koostedetailide ja kaablite talitluskōlblikkuse ning et kasutatud valmistamismaterjalid ja nende pealispind on puudustevabad.
Kaebuste esitamine:
kui soovitete toote kohta esitada reklamatsiooni, siis palun saatke see komplektensa ja tasutud tarnega koos originaolostutsekiga, mis peab sisaldama ostukuupäeva andmeid ning toote nimetust meie edasimüüjale voi otse meile, Fortronic AS, Tööstuse tee 7, 61715, Törvandi. Me soovitame teil ostutsekki seetöttu kuni garantiiaja mödumiseni hoolikalt alal hoida. STEINEL ei vastuta tagasisaatmise raames esinevate transpondikulude ja -riskide eest. Informatsooni garantijuhtumi kehtestamiseks saate meie kodulehelt www.fortronic.ee voi www.steinel-professional.de/garantie
Garantiijuhtumi esinemise või mõne toote kohta küsimuste tekkimise korral võite meile esmaspäävast reedeni 9.00-17.00 vahemikus teeninduse numbril +372 7 475 208 helistada.
5 AASTAT T O O T J A GARANTIID
11. Tehnilised andmed
- Mõötm ed (P × L × K):
XLED PRO ONE S: 230 × 229 × 182 mm
XLED PRO ONE PLUS S / Max S: 250 × 259 × 202 mm
XLED PRO ONE: 206 × 229 × 182 mm
XLED PRO ONE PLUS / Max: 226 × 259 × 202 mm
-
Vörgupinge: 220-240 V, 50/60 Hz
-
Voimsus / efektiivsus:
XLED PRO ONE S: 120 lm/W
XLED PRO ONE PLUS S: 129 lm/W
XLED PRO ONE Max S: 122 lm/W
XLED PRO ONE: 126 lm/W
- Valguskiirgus / heledus:
XLED PRO ONE S: 2.204 lm
XLED PRO ONE PLUS S: 4.370 lm
XLED PRO ONE Max S: 6.116 lm
XLED PRO ONE: 2.236 lm
- Projetseeritud pind:
XLED PRO ONE S: 180 cm²
XLED PRO ONE PLUS S / Max S: 254 cm²
XLED PRO ONE: 180 cm²
XLED PRO ONE PLUS / Max: 254 cm²
- Kaal:
XLED PRO ONE S: 1,45 kg
XLED PRO ONE PLUS S: 1,7 kg
XLED PRO ONE Max S: 1,72 kg
-
Valgusvärvus: 3.000 K (külm-valge)
-
Värvuse taasesitusindeks:
R≥80
- Sensorrika:
XLED PRO ONE S / PLUS S / Max S: passivne infrapuna
- Tööraadius:
XLED PRO ONE S / PLUS S / Max S: Max. 10 m
-Tuvastusnurk:
XLED PRO ONE S / PLUS S / Max S: 240°
- Kellaaja seadmine:
XLED PRO ONE S / PLUS S / Max S: 8 s-35 min
- Hämaruse seadistamine:
XLED PRO ONE S / PLUS S / Max S: 2-2.000 lx
- IP kaitseklass:
IP44 / I
Täiendav lulitusvöimsus
XLED PRO ONE S / PLUS S / Max S:
- Höög-/ halogeneinlampide koormus: 1.500 W
- Luminofoorlambid EVG: 430 W
- Kompenseerimata luminofoorlambid: 500 VA
- Jadakompensatsiooniga luminofoorlambid: 900 VA
- Paralleelkompensatsiooniga luminofoorlambid: 500 VA
- Madalpinge-halogeenlambid: 1.500 VA
- LED-lambid < 2 W: 16 W
- 2 W < LED-lambid < 8 W: 64 W
- LED-lambid > 8 W: 64 W
- Mahtuvuslik koormus: 88 F
12. Törgete körvaldamine
Pingeta seade.
- Kaitse ei ole sisse lulitatud voi on rikkis.
Lulitage kaitse sisse.
Vahetage rikkis kaitse valja.
- Juhe katkenud.
- Kontrollige juhet pingetestriga.
- Lühis vörgutoitejuhtmes.
- Kontrollige ühendusi
- Voimalik olesasolev vorgululiti valjas
Lulitage vorgululiti sisse.
Seade ei lulitu sisse.
-
Hämaruseseadistus valesti valitud.
-
Seadistage hamaraseadistus uesti.
-
Vörgulülti VÄLJAS.
Lulitage vorgululiti sisse.
- Kaitse ei ole sisse lulitatud voi on rikkis.
Lulitage kaitse sisse.
Vahetage rikkis kaitse valja.
-
Rikete minimeerimiseks eiratakse kiireid liigutusi voi on tuvastuspiirkond liiga väike vöi ei ole korrektne.
-
Kontrollige ja justeeregte tuvastuspiirkonda.
-
Valgusallikas on rikkis.
-
Valgusallikas ei ole vahetakatav. Seade täielikult valja vahetada.
-
Pidev liikumine tuvastuspiirkonnas.
-
Kontrollige tuvastuspiirkonda.
Vajadusel piirake voi muutke tuvastuspiirkonda.
Seade lulitub soovimatult sisse.
- Seade ei ole paigaldatud liikumiskindlalt.
Paigaldage seade kindlalt.
-
Liikumine toimus, kuid vaatleja ei tuvastanud seda (liikumine seina taga, väikese objekti liikumine lambi vahetus laheduses jne).
-
Kontrollige piirkonda.
Vajadusel piirake voi muutke tuvastuspiirkonda.
LT
Turinys
- Pieskrüvejiet rokturi.

5.11

- Noskrüvejiet klemmju nosegu.
- Piesledziet tikla kabeli atbilstoši slegumu planam.
"4. Elektriskais pieslęgums"
5.12

Uzskruvejiet klemmju nosegu.
5.13

- Aizveriet nosegu.
- leskrüvejiet drošibas skruves.
LV
5.14


- lesatiet starmeša galvu unnofiksejiet ariekseja seškanta skruvi.
5.15


- lesledziet elektribas apgadi.
- lestatiet fungcijas.
"6. Funkcijas"
6. Funkcijas
XLED PRO ONE S / Plus S / Max S
6.1



Uzskruvejiet nosegu.
Veiciet iestatisanu.
LV
Notice-Facile