XLED PRO ONE S - 灯 STEINEL - 免费用户手册
免费查找设备手册 XLED PRO ONE S STEINEL PDF格式.
下载您的设备说明 灯 免费PDF格式!查找您的手册 XLED PRO ONE S - STEINEL 并重新掌握您的电子设备。本页发布了使用您的设备所需的所有文档。 XLED PRO ONE S 品牌 STEINEL.
用户手册 XLED PRO ONE S STEINEL
- 关于本文件 900
- 一般安全性提示 900
- 设备说明 901
- 电气连接 909
- 安装 911
- 功能 921
- 遥控器配件 926
- 清洁与保养 929
- 废弃物处理 930
- 制造商担保 931
11.技术参数 932 - 故障排除 934
1. 关于本文件
- 版权所有。未经我方批准禁止翻印或摘录。
- 保留技术更改的权利。

危险警示!

警告电流危险!

警告水危险!
2. 一般安全性提示

不遵守使用说明书会发生危险!
本说明书中包含安全使用设备的重要信息。其中特别指出潜在的风险。不遵守使用说明可导致死亡或严重的人身伤害。
·请仔细阅读使用说明
·遵守安全提示。
- 存放在随时可用的位置。
- 处理电流时可能造成危险情况!如果触碰到带电的零部件,可能会遭受电击,导致烧伤或死亡。
- 只允许具备相关资质的专业人员对电源电压进行操作。
- 必须遵守当地的安装规定和连接条件(比如,德
国:VDE0100,奥地利:OEVE-OENORM E8001-1,
瑞士:SEV1000)。
- 只能使用原装备件。
- 只允许专业机构进行维修。
3. 设备说明
按规定使用
XLED PRO ONE S / Plus S / Max S
- 配备红外线动作感应器的LED泛光灯。
- 适用于室内外壁装。
- 不适合与调光器连接。
工作原理
- 红外传感器可感应移动躯体(如人,动物等)产生的热辐射。热辐射被转换成电能,并自动接通LED泛光灯。
- 在安装时,将设备平行于行走方向,这样才能实现最可靠的动作检测。
- 如果让人直接走向设备的话,动作检测的作用范围反而受限。
- 障碍物(如树木、墙壁或玻璃窗)可能会限制动作检测,甚至使其失灵。
- 由于天气影响导致的突发性温度波动与热源不能加以区别。
按规定使用
XLED PRO ONE / Plus / Max
-LED泛光灯。
- 适用于室内外壁装。
- 不适合与调光器连接。
违规使用
- LED泛光灯不可调光。

不可调光
供货范围
- XLED PRO ONE S
- XLED PRO ONE Plus S
- XLED PRO ONE Max S
3.1





1x




-1个配备红外线动作感应器的LED泛光灯
-1个六角扳手
-1个罩壳
-2个螺栓
-2个膨胀螺钉
-2个垫圈
-2个沉头螺栓
-1个遥控器RC12
-1份安全数据单
-1份快速启动说明
供货范围
- XLED PRO ONE
- XLED PRO ONE Plus
- XLED PRO ONE Max
3.2


-1个LED泛光灯
-1个六角扳手
-2个沉头螺栓
-2个螺栓
-2个膨胀螺钉
-2个垫圈
-1份安全数据单
-1份快速启动说明
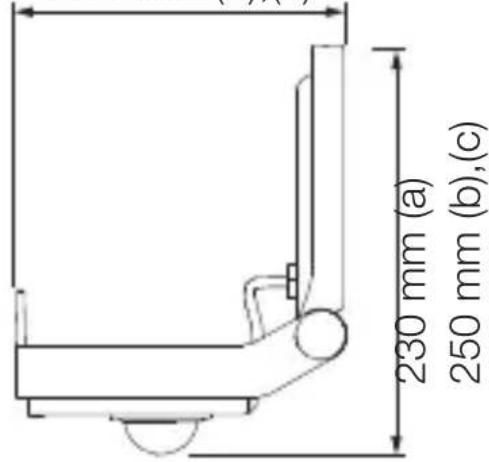
XLED PRO ONE S 的产品尺寸
- XLED PRO ONE S (a)
- XLED PRO ONE Plus S (b)
- XLED PRO ONE Max S (c)
3.3

229 mm (a)
259 mm (b),(c)
182 mm (a)
202 mm (b),(c)

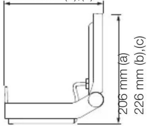
XLED PRO ONE 的产品尺寸
- XLED PRO ONE (a)
- XLED PRO ONE Plus (b)
- XLED PRO ONE Max (c)
3.4

229 mm (a)
259 mm (b),(c)
182 mm (a)
202 mm (b),(c)

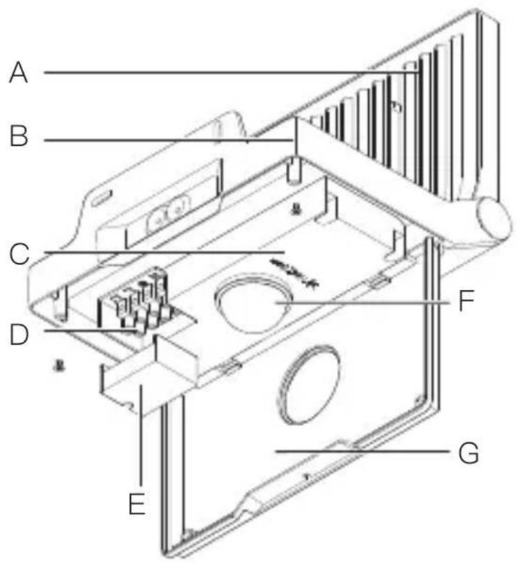
3.5

A LED泛光灯头
B 装配夹环
C 设备调节器
D 连接端子
E 接线端盖板
F 传感器元件
G 盖罩
3.6

H时间设置
亮度设置
J底灯
3.7

K遥控器RC12
CN
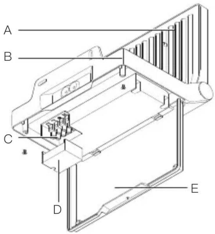
3.8

A LED泛光灯头
B 装配夹环
C 连接端子
D 接线端盖板
E 盖罩
4. 电气连接
XLED PRO ONE S / Plus S / Max S 的电路图
4.1




4.2




电源供电线由一根三芯电缆构成:
L = 火线(通常是黑色,棕色或灰色)
零线(大多为蓝色)
PE = 地线 (绿色/黄色)
该设备还可以通电连接到一个电源开关上,前提是该电源开关一直处于接通状态。
该设备的LED灯不可更换。必要时,可更换整个设备。
该灯的光源不能更换;如须更换光源(如在其使用寿命结束时),更换整个灯。

5. 安装

触电危险!
接触导电部件可能造成电击、燃烧或死亡。
- 切断电流并断开电源。
·用试电笔检查是否存在电压。 - 确保电源保持中断状态。
存在财产损失风险!
混淆连接导线可能导致短路。
- 辨别连接导线。
- 正确连接接口导线。
安装准备
- 检查所有构件是否受损。一旦出现损坏,就停止运行设备。
- 选择合适的安装地点。
-考虑检测范围。
-考虑移动检测。
-无振动,平稳。
-检测区域应没有障碍物。
-避免存在爆炸危险的区域。
-避免放在易燃的表面上。
-切勿近距离 (< 30cm) 直视光源。
- 与其他 LED 泛光灯至少保持 50 ~cm 的距离。
XLED PRO ONE S / Plus S / Max S 的作用范围
5.1

平行于行走方向的动作检测
XLED PRO ONE S / Plus S / Max S
5.2

正对行走方向的动作检测
XLED PRO ONE S / Plus S / Max S
5.3

CN
对齐设备
5.4

- 正确对齐设备。
安装步骤
5.5



- 检查电源是否已切断。
- 标记钻孔。
5.6



- 钻孔 (06mm) ,接着放入膨胀螺丝。
5.7

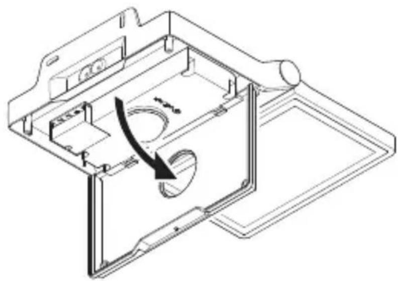
- 拧出盖板的螺栓。
5.8

- 打开盖板。

- 将电缆拉着穿过开孔。

·拧上弓形架。
CN
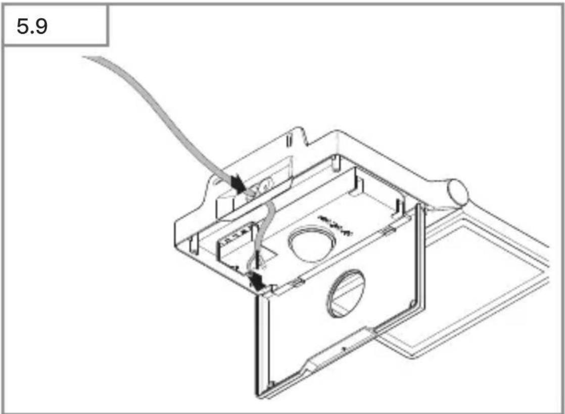
5.11


- 拧下接线端盖板的螺栓。
- 按照电路图连接电源引线。
“4. 电气连接”
5.12

- 拧上接线端盖板的螺栓。
5.13

- 关上盖板。
- 拧入固定螺栓。
CN
5.14


- 对准泛光灯灯头并用埋头螺钉固定。
5.15


- 接通电源。
设置功能。→“6.功能”
6.功能
XLED PRO ONE S / Plus S / Max S
6.1



- 拧开盖板的螺栓。
- 进行设置。
CN
出厂设置
-时间设置:8秒钟
- 暗光设置:日光模式下为1,000 Lux
- 基本照明:关
时间设置 (H)
可在近8秒起至最大35分钟的范围内对关闭延迟进行无极设置。每个检测到的移动动作都会再次开启灯光。
注意:每次关闭LED泛光灯后,需要等待大约一秒钟,才能重新检测动作。之后,该LED泛光灯才能在检测到动作时重新接通。
在调整检测区域和进行功能测试的时候,建议设置成最短时间。
暮光设置 (I)
响应亮度(暮光)可在大约2-2,000 Lux范围内无级调节。设置为2-2,000 Lux。
-日光模式(与亮度无关)
- 暗光模式(约2Lux)
设置感应范围以及在日光下进行功能测试时调节器须处于。
基本照明(J)
通过LED灯的基本亮度可确保较低的照明水平。
仅在检测区域内检测到相应动作,且该动作持续时间符合选定的时间时,才会接通主灯。随后,主灯切换至选定的基本亮度。
-OFF = 无基本照明
-
10 min = 在选定的继续运行时间结束后,基本照明持续10分钟。
-
30 min = 在选定的继续运行时间结束后,基本照明持续30分钟。

= 整晚都是基本照明。一旦环境光线降至设定的响应亮度以下,就会接通基本照明。
长亮灯模式
6.2

1) 打开长亮灯:
- 开关关闭并打开2次。
LED泛光灯设置成常亮4小时。然后灯将重新自动切换至传感器模式
2) 关闭长亮灯:
- 开关关闭并打开1次。
灯关闭或切换至传感器模式。
重要信息:
必须在0.2至1秒的范围内执行开启过程
校准检测范围
为避免意外检测,或是为了有针对性地监视某些区域,可以使用罩壳限制并调整检测区域。

6.3

- 将盖壳装到感应器上。
- 合上盖板后就能固定住罩壳。
7.遥控器配件
遥控器RC12
(EAN 4007841079000)
7.1

- 简化了较大型照明设备的安装工作。安装后可以一起设置LED泛光灯。
- 使用该遥控器可以随意控制多个LED泛光灯。
- 每次有效的按键,就会通过LED状态指示灯在设备上进行确认。
遥控器RC12使用一粒CR2032型号的纽扣电池
通过遥控器RC12还能使用XLED PRO ONE S/PlusS/MaxS其他的的的附加功能:
1 暮光设置:可在大约2-2,000Lux的范围内设置所需的响应阈值。
“暮光设置(I)
2 日光模式 (与亮度无关)
3夜间模式(2Lux)
4 通过存储按键 / 示教模式进行亮度设置
(2 - 2,000 Lux)。
一旦达到需要感应器在未来对动作作出反应的照明条件,就按下按键。当前亮度值将被保存。
5 时间设置:最后一次运动检测后所需的照明持续
时间可以通过按下按键设置为10秒、1分钟、5分钟、15分钟。
“时间设置 (H)
6所需的照明持续时间:按照需求设置照明持续时
间。每按一次按键就会在当前设定的时间基础上增加一分钟(最多15分钟)。
7 长亮灯模式:
在感应模式下按下按键时,LED泛光灯就会开启4h模式(LED状态指示灯常亮)。在4h常亮模式下按下按键,LED泛光灯就会关闭4h模式(LED状态指示灯常亮)。一旦时间运行完毕或是按下了重置按键,亦或是在4h关闭模式下按下了4h按键,就会退出4h模式。
“长亮灯模式
8 安装模式(测试模式):用于测试功能和检测区域的安装模式。无论亮度如何,LED泛光灯都会在检测到动作时接通10秒钟。移动将通过状态LED指示灯指示出来。该安装模式优先于所有其他设置。十分钟过后,自动退出安装模式。按下复位键,安装模式会立即退出。
9 注意:无法同时使用示教模式和安装模式。
10 重置:将所有设置重置为LED泛光灯的手动设定值,或是重置为出厂设置。
11 基本照明:通过LED灯实现的基本亮度可确保较低的照明水平。仅在检测区域内检测到相应动作,且该动作持续时间符合设定的时间时,才会接通主灯。随后,主灯切换至选定的基本亮度。
“基本照明 (J)
智能遥控器(选配)
(EAN 4007841009151)
- 通过智能手机或平板电脑控制。
-
替换遥控器。
-
下载正确的应用程序,接着通过蓝牙连接。
8. 清洁与保养
设备免维护。

触电危险!
如果水与带电零部件发生接触可导致电击、烧伤或死亡。
- 仅在干燥状态下清洁设备。
存在财产损失风险!
错误的清洁剂可能造成设备损坏。
- 用略微湿润的抹布清洁设备,不要使用清洁剂。
重要信息:操作设备无法更换

9. 废弃物处理
必须以环保方式回收再利用电子设备、电池、配件和包装。

切勿将电子设备和电池与生活垃圾一起丢弃!
遥控器使用CR2032锂锰电池/有机电解质电池
仅针对欧盟国家:
根据适用的《欧盟报废电子电气设备指令》以及当地法律的实施细则,必须将报废的电子设备和电池分类收集,并以环保的方式回收。
10. 制造商担保
DE-33442 Herzebrock-Clarholz, 德国
作为购买方相对销售商具有法定的免费修换权和保修权。如果您所在国家具有相关法律规定,该权利不受我们质保声明而缩短或任何限制。我们为施特朗专业传感器产品的完好性能和正常功能提供5年质保。我们保证此产品不含材料、生产和结构方面的缺陷。我们保证所有电子部件和电缆的功能可靠性以及所使用的材料及其表面无任何缺陷。
质保索赔:
如需提出产品索赔,则请您将完整的原始购买凭证(必须包含购买日期和产品名称的说明)自费邮寄给您的经销商或直接邮寄给我们:Rm.25AHuaduMansion,No.828-838ZhangyangRoad,200122Shanghai,PRChina。
为此,建议您妥善保存购买凭证,直至质保期到期。施特朗对寄回过程中的运输费用和风险不承担任何责任。质保索赔的相关信息请参见我们网站的主页www.steinel.cn如果您对质保或产品有任何疑问,敬请垂询:服务热线+862158204486。
11. 技术参数
-尺寸(高x宽x深):
XLED PRO ONE S: 230 × 229 × 182 ~mm
XLED PRO ONE PLUS S / Max S: 250 × 259 × 202 mm
XLED PRO ONE: 206 × 229 × 182 ~mm
XLED PRO ONE PLUS / Max: 226 × 259 × 202 ~mm
-
电源电压: 220 - 240V,50 / 60Hz
-
功率/效率
XLED PRO ONE S: 120 lm/W
XLED PRO ONE PLUS S: 129 Im/W
XLED PRO ONE Max S: 122 Im/W
XLED PRO ONE: 126 lm/W
3,000 ~K (暖白)
- 色彩再现指数:
Ra ≥slant 80
- 传感器:
XLED PRO ONE S / PLUS S / Max S:无源红外
-有效距离:
XLED PRO ONE S / PLUS S / Max S: Max. 10 m
- 感应角度:
XLED PRO ONE S / PLUS S / Max S: 240
-时间设置:
XLED PRO ONE S / PLUS S / Max S: 8 s - 35 min
-亮度设置:
XLED PRO ONE S / PLUS S / Max S: 2 - 2,000 Lux
- IP防护等级: IP44 / I
额外负载功率
XLED PRO ONE S / PLUS S / Max S:
- 白炽灯 / 卤素灯负载: 1,500 ~W
- 荧光灯电子镇流器:430W
- 荧光灯 (无补偿) : 500 VA
- 荧光灯(带补偿):900 VA
- 荧光灯并联补偿: 500 VA
- 低压卤素灯: 1,500 VA
- LED 灯 < 2 W: 16 W
- 2W < LED 灯 < 8W : 64W - LED 灯 < 8 W: 64 W
- 电容负载: 88 F
12. 故障排除
设备上无电压。
-
保险装置未接通或已损坏。
-
打开保险装置。
-
更换损坏的保险装置。
-
线路中断。
- 使用试电笔检查电线。
- 电源线路短路。
- 检查接头。
- 电源开关可能已关闭
- 打开电源开关。
设备无法开启。
-
暗光设置选择错误。
-
重新设定暮光设置。
-
电源开关关闭。
-
设定电源开关。
-
保险装置未接通或已损坏。
-
打开保险装置。
-
更换损坏的保险装置。
-
为最大限度地减少故障,禁止快速动作,或是检测区域过小或不正确。
-
检查感应范围并校准。
-
光源故障。
-
光源无法切换。彻底更换设备。
设备无法关闭。
-
感应范围内出现持续移动。
-
检查感应范围。
- 必要时限制或更改感应范围。
意外接通设备。
- 设备安装不牢固,导致其会移动。
·牢固安装设备。
- 虽然发生了动作,但是监视器无法识别(墙后面的动作,灯泡附近的小物体动作等等)。
检查范围
- 必要时限制或更改感应范围。
RU
Copepkanhe
- O6 ətOMdoKymeHTe 937
2.Оьи ue yka3aHnno IO texHnke
6e30nacchoctn 937
- Onincanhe n3delen 938
- 3JIeKtpnueckoe nOdkJIIOUeHne 946
- MoHTaX 948
- 3Kcnpnyataua 958
- Komnlektyoluene -Дистанционhoe
ynpablenne 963
- Ynctka n yxod 966
- ytni3aun 967
- TapaHTnI npOn3BODnteJI 968
- Texnueckne daHhble 969
- YcTpaHHeNc6oEB 971
Notice-Facile