XLED PRO ONE S - Λάμπα STEINEL - Δωρεάν εγχειρίδιο χρήσης
Βρείτε δωρεάν το εγχειρίδιο της συσκευής XLED PRO ONE S STEINEL σε μορφή PDF.
Κατεβάστε τις οδηγίες για το Λάμπα σε μορφή PDF δωρεάν! Βρείτε το εγχειρίδιό σας XLED PRO ONE S - STEINEL και πάρτε ξανά την ηλεκτρονική σας συσκευή στα χέρια σας. Σε αυτή τη σελίδα δημοσιεύονται όλα τα έγγραφα που απαιτούνται για τη χρήση της συσκευής σας. XLED PRO ONE S της μάρκας STEINEL.
ΕΓΧΕΙΡΊΔΙΟ ΧΡΉΣΗΣ XLED PRO ONE S STEINEL
- Σχετικά με auto to ἔγγραφο 417
- i c UTOδεiEεiC aσφáλεiac 417
- Περιγραφή συσκεύncy 418
- Hλεκτρική σύνδεση 426
- ţuvapμoλóynση 428
- Λειτουργia 438
- Aεσουάρ τηλεκοντρόλ 443
- Kaθαρισμός και φροντίδα 446
- AToOupoN 447
- Eyyunon kataoekuaotn 448
- Tεχνικα δεδομένα 449
- Aπokatáσtaση βλαβης 451
1. Σχετικά με αυτό το ἐγγραφο
- KaToxupwEvn TExyovwOia. Avatunwn, akoua ka aOnoanaogataK, mOvo katOniv diknc mac ykpioc.
- Mε επιφύλαξη τροποποιόεων, σι οποίες εξυπηρετούν στην τεχνολογίκή πρόδο.

PpOeIoToiOnn EvWtiov KIVdUvw!

PpOeIoOnoNg EvWniov KIVduvou λoyw PεμaToc!

PpOeIoToiOnn EvwTIOv KIVduVou λoyw vερoú!
2. Γενικές Αποδείξεις ασφάλειας

KivduvoC loyw mtn npnoC twv odnyiw xpnoC!
Oi npoouc oynie c neipexouv onmuavtkc nnpoopiec yia tov aoaaln xepioo tnc ouokuuc. Eianmaivctai iiaitepa n npoox n e duvntikouc kivduvouc. H un tnponn mnpei va npokaeei thavato n ooapouc traupatouc.
- i προσεκτικά τις ὅηγίες.
AkoouthetaTic uno8eEic a0phaiaac. - Φύλάσετε σε προσβάσιμο μέρος.
-H xpno n nEKTPIKOU pEUMATOC mTOpEVA OBNyNOI O ENIkivduvEc kataoTaOeIC.H EtnaPn PeuMa TofopWV EApTmuAtwV mTOpEVA pOkaEoE I NkTPIKO oK, EyaUmaTa n Kai thavato.
-H epyaia o nEeKpikn taon npEe va eKTeIa i aio EeikuEv o pOoWNIKO.
- Πρέπει va τηρούνται συνήθεις προδίayραφές
- εγκατάσταοῦς και σοροι συνδεόης που ἀχύουν στην
- εκάστοτε χώρα (π.χ. DE: VDE 0100, AT: ÖVE-ÖNORM E8001-1, CH: SEV 1000).
- Xpnooioiεiε μóvo yvnoia avtaλakiká.
- OI επιδιορθώσεις επιτρέπονται μόνο από αρμόδιους τέχνικούς.
3. Περιγραφή συσκεύncy
Xpólσύμφωνα με τους κανονισμους XLED PRO ONE S / Plus S / Max S
- Προβολέας LED με αισθητήρα κίνησης ὄπερύθρων.
- Eykaataaon oε Toixo oε εωτερικούς και εξωτερικούς χώρους.
-AkataaAanoc yia ouvdelta dimmer.
Apxñ λειτουργίας
- O aioθηntŋpac uπερuθρωv avixvεúεi tny θερμikn aKTivoβoλia kivouμενωv σωματωv (π.x. avθρωπωv, ζωύv). H θερμikn aKTivoβoλia μετaŋεπεtai nλεκTPOviKa iεvεργοποιεi autóμata tov aioθηntŋpio πpoβoλéa LED.
-H aOphiAeotepn avixvEoN KIVnoeWv npaymuToIOiEiTal Tnv PAnayia ouvapmoIoyon Tnc OoKeuNC Wc Ppoc Tnv KaTeUthetaVOn KivnonC.
-H eBéλεia avixveuoc kivnoC πepiopiεtai, otav unapxεi aπeuvθεiac πoσéyyion tou aiOηntnpa. - Mésigma a nó εμπόδια (π.χ. δέντρα, τοίχους ἡναλοπίνακες) iως va περιορίζεται ἡν αμήν είναι καθόλου δυνατή η ανίχνεύης κίνησης.
- Oi aifviodiec taBoIeC oKp iac Twv Kaipikwv ouvOekwv v diafoopoiouovtaia nToTic nnyec oTnTac
Xpólσóμφωva με τους kavovioμoúc XLED PRO ONE / Plus / Max
- Προβολέας LED.
- Eγκατάσταοή σε τοίχο σε εσωτερικός και εξωτερικός χώρους.
-AkataaAanlooc yia ouvδεση σε dimmer.
Xpno n oxi ouoova e touc kavovioouc
- O προβολέας LED δεν δίαθέτει ρεοστατική ρύθμιση.

XwpiC pEOoTataKn PooiOn
περιεχόμενο συσκευασίας
- XLED PRO ONE S
- XLED PRO ONE Plus S
- XLED PRO ONE Max S

3.1



1x

1x

2 ×
- 1 προβολέας LED με αισθητήρα κίνησης Απέρυθρων
-1 kλειδί Allen
-1 kaTaki
-2βiδεc - 2 Takákia
-2vδiαμεσοιδiokoI
-2aεΦαλεçβiδεc
-1 RC 12
-1Φuλáδio δεδομένων ασφáλεια
-1 ypnyopn ekkivnon
περιεχόμενο συσκευασίας
-XLED PRO ONE
- XLED PRO ONE Plus
- XLED PRO ONE Max
3.2


-1πρoβoλεaçLED
-1 kλειδί Allen
-2aεΦαλεçβiδεc
-2βiδεc
- 2 Takákia
-2vδiαμεσοιδiokoI
-1Φuλáδio δεδομένων aσφáλεια
-1 ypnyopn EKKivnon
Δiaστάσεις προίόντος XLED PRO ONE S
- XLED PRO ONE S (a)
- XLED PRO ONE Plus S (b)
- XLED PRO ONE Max S (c)
3.3

229 mm (a)
259 mm (b),(c)
182 mm (a)
202 mm (b),(c)

Δiaστάσεις προίόντος XLED PRO ONE
- XLED PRO ONE (a)
- XLED PRO ONE Plus (b)
- XLED PRO ONE Max (c)
3.4

229 mm (a)
259 mm (b),(c)
182 mm (a)
202 mm (b),(c)

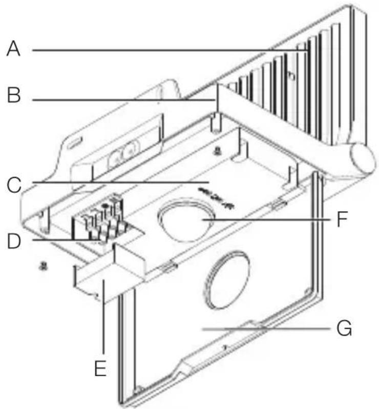
Eπιοκόπηση συσκεύncy XLED PRO ONE S / Plus S / Max S
3.5

GR
A Kεφαλή προβολέα LED
B Bpaxiovac ykataoana
C Puθμιστής
D Akpoδεκτης σύνδεοης
E KaLua aKpO8Ektn
F Mováδa aioθητήρα
G KaIuμua
3.6

H Póthmuon xóvou
Póμiən εuaioθησiac
J Baoikó φως
3.7

K Tŋλεκοντρόλ RC 12
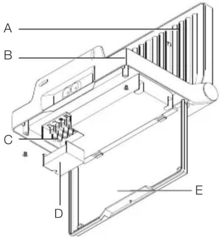
Eπισκόπηση συσκεύncy XLED PRO ONE / Plus / Max
3.8

GR
A Kεφαλή προβολέα LED
B Bpaxiovac ykaataoanc
C Akpoδεκτης σύνδεοης
D KaLua aKpO8EKTn
E KaIuμua
4. Hλεκτρική σύνδεση
Σχέδια συνδεσμολογίας
XLED PRO ONE S / Plus S / Max S
4.1




Σχέδια συνέσμολογίας XLED PRO ONE / Plus / Max

4.2



GR
O aywyoc trophiobooiaac anotelitai ano kaawio 3 oupuatow:
L = Φάση (ούνήθως μαύρο, καφέ ἡ γκρι)
N = Ouδετερος ayωγός (συνήθως μπλε)
PE = Aywyoc yεiωoç (πράσινο / κίτρινο)
H ouokun mnpei eianc va ouvdsthetaia ano diakottndelta tou, otav diaophiaizetai to yeyovoc oTI O diakottncdelta tou npaapevviotaepa evpyoioinveoc.
To LED tnc npouoac oovkue ncs ev mnpei va avtikataaotaehi. Efoov xpeiaotie, avtikataoTnote oloknpn tn ouokvun.
H c auou tou a p a v εival avtikata-otαiμn, oε περιπτωση που πρεπει va avtikataoτaθεi n c (π.x. με τη ληξη της διαρκειας ζωής της), πρεπει va avtikataoτaθει oλόκληρος o λαμπτήρaç.

5. ţυναρμολόγηση

Kivduvoç λóyw ηλεκτρικού ρεύματος!
H επαφή ρευματοφόρων εξαρτημάτων μπορείνα προκαλέσει ηλέκτρικό σόκ, εγκαύμata ἡ και θάνato.
- Anévεpyoioiετo ηλεκτρικό ρεúma kal διακόπτετε ην τροφοδσία τάος.
- Eλέγχετε με δοκιμαστικό τάσης av ἐχει διακοπείη τροφοδοσία τάσης.
Bεβαιωθείτε οτι η τροφοδοσία τάσης παραμένει διακεκομενη.
Kivouoc uikow znuiowv!
H avioptpofn twv aywyw v ouvdeonc mnpεi va npokaéoepβpauxukkλωμa.
- PpOoδiopioTe Touc aywouc ouvδεoŋc.
- Συνδέστε σωστά τους αγώγους σύνδεσης.
PpOeToia EykaTaoonc
- Eλέγχετε ολa Ta εξαρτήματa για Tυχόν ζημίες. Σε περίπτωση βλαβών δεν επιρέπεται η λειούργία της σουκεύής.
- Eπιλέγετε κατάλληλο σημείο εγκατάστασης. -Λαμβάνετε Απόψη τήν εμβέλεια.
-Aaβavετε unóψη tnv avixvεuon kivnoanc.
-Xwpic kpaadaoouc.
-Eupoc avixvuaonc aanlambdaayevo ano eunoidia.
-Ox i oE περioxéç πou npouoiáζouv kivduvo εkρηξης.
-Ox1 eTavw oE EUΦλEKTEC EπiΦaVεIEC.
-Mnv koitacetc otnv pnyn c aTIO kovtivn aTOSaON (< 30 cm).
-Σε aπόστaση τουλάχιοτov 50 cm aπό áλλους αισθη-Tήριους προβολείς LED.
Eμβέλεια XLED PRO ONE S / Plus S / Max S

5.1
GR
Avixvεuση κινήσεων πλayίως ως προς την κατεύθυνοι κινησης XLED PRO ONE S / Plus S / Max S
5.2

Avixvεuση κινήσεων στην κατεύθυνοι Κίνησους XLED PRO ONE S / Plus S / Max S
5.3

Euoypáμion ouokεuńc
5.4

- Eλέγχετε οτιη τροφόδσα τάσς εἶναι πενεργοποιμένη.
- Σημαδεύετε τα σημεία γι τρύπες.
5.6



- AvoiyTe TpuTc (0 6 mm) kai tooTheite ounat.
5.7

- Εεβιδώστε Το καλυμμα.
5.8

AvoiEToKaIuμua.
GR
5.9

- Περάστε το καλώδιο μέσα από το ἀνογμα.
5.10

→«4. Hλεκτρική σύνδεση»
5.12

- Εεβιδώστε το καλυμμα ακροδέκτη.
5.13

Kλείστε ο καλυμμα.
BiodwvTe aOphiaiotikEc βidEc.
5.14


Euuypauiετεtnv κεφaλn πpOβoλεα kai σερεωνετε με TIC aKεφaλεC βδεC.
5.15


- Evεργοποιείτε την τροφόδσα ρεύματος.
- Puθμίοτε τις λεῖουργίες.
→6. Αειτουργία
6. Λειτουργία
XLED PRO ONE S / Plus S / Max S
6.1



BiodwotE To kAulmua.
KavTe puOioεic.
Puθμioεις εργοστασίου
- Púθμiən xρόvou: 8 δειτερόλεπτα
- Póthuion opiou εuaioθησίας: λειουργia φωτός ημέρας 1.000 Lux
- Baoikó φωç: EKTOΣ
Póthuon xóvou (H)
O xpóvoç (kaθuστέρησαπενεργοποίŋος) μπορεί va puθμισεί αδιαβάθμητa anó περínou 8 δευτ. εως to avwτερo 35 λεπτό. Kaθε avixvεμενη κίνηση ενεργοποιει εκ vεου το φως.
Yπóδειξη: Mετά από καθε απενεργοποίηση του προβολεa LED, για περ. 1 δειτερόλεπτο δεν εῖαι δυνατή η εκ vέου ανίχνεύη κίνησης. Tέλος, o προβολεας LED μπορείνα ανίχνεύσει κίνηση εκ vέου.
Kata n puthetaion twv opiw kalupsi n kai yia To Tcot 1eitoupyiac npotevetai n puthetaion tou bpaxutepou xpovou.
Póθμiση ευαισθησίας (I)
H a anokpionc (aukofooc) mtopεi va puθμioTeiaβaθμηta aπo περ. 2 - 2.000 Lux.
- = Αειουργία φωτός ημέρας (avεξάρτητα από φωτεῖνότητα)
- = Λειτουργία λυκόφωτος (περ. 2 Lux)
KaTá Tn pUθμiση Twv opiw avixveuongc kai yia To TεOT λειουργiaç σε φως ημερaç πρεπει O puθμiστής va είνασε θέση
Baogó (J)
H βaɪkɪn φωτεινότητa μέσω LED βaɪkoʊ φωτός φροντίζει γία μικρή στάθμη φωτισμού.
To KevtpiKo EvpyoioiTaI moV yia Tov EpiEymuvo XpOvo oE πepiTTwON OXETIKnC kivnonc EVToc Tou Eupouc avixvEuOnC. Katoniv, To πepváεI OTNV EpiEymuEvn Baaikn
-OFF = Xomegaβaokó
- 10 min = Katá βáση yia 10 λεπτá μετá to πέρac της επιλεγμένης χρονοκaθυστέρησης.
-30 min = KaTá βáση γia 30 λεπτá μετá to περaç της επιλεγμένης χρονokaθυστέρησας.
- (C) = Baoikó φωc òη τη vúxτa. Baoikó φωc αμέσως μόλις το φως περιβάλλοντος πέσει κατως από τη ρυθμισμένη φωτεῖνότητa απόκρίσης.
Aeitoupyia ouvexouc c
6.2

GR
1) Avaμα συεχούς φωτός:
- Δiakóπης 2 x EKTOΣ και ENTOΣ.
O npoβoλéac LED puθμiετai yia 4 ωρεc σε ouvexεc φωc. Katóπiv o λαμπηρaç περνáει autóμata πáλι σε λειούργia aiσθητήρa.
2) Σβήσιμο συνεχός φωτός:
- Δiakóπης 1 x EKTOΣ και ENTOΣ.
O λαμπτήρας σβήνει ἡ περνάει σε λειτουργία αἰσθητήρα.
Σημαντικό:
Oi aoeic uetaywync npenv va eKTEoovtai o opia 0,2 eWc 1 dUepoAeTTou.
Póthuon περioxnc avixvouoç
Tia tov aopoKleioa oEmuTnc avixveuongn n Tn oToxueuEv npapakoouoon ouyekpiEvw v epioxw, n epioxn avixveuongc mopεi va πepiopiTe i na vpuθmuTe i e kaπaki.
6.3


ToioeTnOte To kaniak naw oTov aoentnpa.
- Σερεώσετο καπάκι κλεύνοντας το καλυμμα.
7. Aξεσουάρ τηλεκοντρόλ
Tηλεκοντρόλ RC 12
(EAN 4007841079000)
7.1

- Δεικολύνει την εγκατάσταση μεγάλων φωτισικών εγκαταστάσεων. Μι προβολείς LED μπορουν va puθμιστουν μαζι μετά από την εγκατάσταση.
- Me to tŋλεκovtpól εíval εφικτός o kaṭá βούληση ελεγχος πολλών προβολέων LED.
- Kaθε ἐγκύρο πάτημα πλήκτρου επιβεβαίνεται μέσω φωτόδόδου κατάστασης LED στη συσκεύŋ.
Στο τηλεκοντρόλ RC12 χρησιμοποιείαι μπαταρία τύπου CR2032.
Mε το τηλεκοντρόλ RC 12 εἶνι δυνατή η χρήση πρόσθε-των λειουργίών του XLED PRO ONE S / Plus S / Max S:
1 Póthμiəŋεuaioθηoiaç: To επιθυμntó opio εuaioθηoiaç μπορεί va puθμiστεί anó περ. 2-2.000 Lux.
→«Púθμiση ευαισθησίας (I)»
2 Αειουργία φωτός ημέρας (εξαρτάται aπό φωτεινότητα)
3 Λειτουργίανύχτας(2 Lux)
4 Puθμiən Φωτεινότητας με το πλήκτρο μνήμης / λειουργία εκμάθησος (Teach-Modus) (2-2.000 Lux). Εφόσουν επικρατουν σι επιθυμητές συνθήκες φωτός, κατά τις έποίες θα πρέπει μελλοντικάν αντιδρά o αἰσθητήρας σε κύνηση, πρέπεινα πατηθέί το πλήκτρο. H τρέχουσα τιμή σρόν ευαισθησοίας αποθήκεύεται.
5 PuθμiΩnXpovou:H επιθυμητή δίαρκεια φωτισμού μετά ην τέλευται ανίχνευού κίνησης μπορείνα ριθμιστεί με πάτημα τών πλήκτρων σε 10 δευτ., 1 λεπτό, 5 λεπτά, 15 λεπτά.
→«Póθμiση xρόvou (H)»
6 Eπiθuμntn δiαρκειa φωτισμού: Púθμion δiαρκειac φωτισμού σε επιθυμntó xρόvo. Kaθε πατημα πλήκτρου auεáνει ηγν τρέχουσα púθμion xρόvou avá 1 λεπτό (μέγ. 15 λεπτά).
7 Λειτουργia συνεχούς φωτός:
Me πατημa Tou πλήκτρου στη λειούργía aioθη-tnρa ενεργοποίειαι o προβολέac LED γia 4 ωρες (φωτόδόος κατάσταός LED διαρκώς αναμένη). Me πατημa Tou πλήκτρου στη λειούργía 4 h-ON aπενεργοποίειαι o προβολέac LED γia 4 ωρες (φωτόδόος κατάσταός LED διαρκώς αναμένη). H λειούργía 4 ωρών εγκataλέπεται μετά την παρέλευση Tou xρόνου, Tou πλήκτρου επavaφopáς (Reset) ἡ στη λειούργía 4 h EKTOΣ με πατημa Tou πλήκτου 4 ωρών (h).
→«Λειούργία συνεχόους φωτός»
8 Λειτουργία εγκατάσταοης (Install-Modus): H
λειουργία εγκατάσταοής εξυπηρετεί στον ἐλεγχολειουργίοκτητας και των σρίων ανίχνεύης.
Avεçapnteta aπó tη φωτείνότητa o προβολέac LED σε περίπτωση κίνησης aváβει για 5 δευτ. H κίνηση σηματοδοτείαι μέω της φωτοδίδου κατάσταόης LED. H λειούργia εγκατάσταόης (Install-Modus) ἐχει προτεραιότητa εναντι ὄλων των ἀλλων ριθμίσεων. Μετά 10 λεπτά γίνεται αυτόματη εγκατάλειψη της λειούργiaς εγκατάσταόης (Install-Modus). Μετά aπό πάŋμα πλήκτρου επαναφοράς (Reset) γίνεται αμέσως εγκατάλειψη της λειούργiaς εγκατάσταόης (Install-Modus).
Ppoox: H I oupyia eKuaOnonc (Teach-Modus) kai n I oupyia eykaTaoTaoNc (Install-Modus) v evai EphiKTo va xpnoiopoinoov tauToxpova.
9 Eπavaφopá: Eπavaφopá áλωv τωv ριθμίσεωv στις Χειροκίνητa ριθμίσενες τιμές του προβολέα LED ἡ Οτις ριθμίσεις εργοστασίου.
10 BaoiokofwC: H baikn fowtivotnta eow LED ba- oikou fwtoc pfovtiZei yia mikn otahm n foTiomuo. To kevtpiko wfc evpyoioi tai mvo yi tov EpiEy- mevo xpovo epiTTwoxETIKnc kivnonc Evtoc Tou eupouc avixveoan. Katoniv, to wfc npvae i OTnv EIIeYEvn baikn fowtivotnta.
→«Baσικό φως (J)»
Eeunvo tnlambdaepioptnpio (pnoaipetiká)
(EAN 4007841009151)
-
Puθμιστικός ἔλεγχος μέωd Smartphone n η Tablet.
-Avtikαθioτα to tηλεκοντρόλ. -
KaTeβáστε kaTaλληλo App kal συνδεστε μέσω Bluetooth.
8. Kaθαρισμός και φροντίδα
H ouokoun 8ev xpeiaeTaI ouvtnpnon.

Kivduvoç λóyw ηλεκτρικού ρεύμaτος!
H επaφή τουνερού μερευματοφόρα εξαρτήματα μπορείνα προκαλέσει ηλεκτρικό σοκ, εγκαύματαή και θάντο.
Kaθapiστε τη συοκεύη σε οτεγνή κατασταη.
Kivduvooc ulikowv zetaiowv!
H xρήση λανθασμένου απορριαντικόύ μπορείνα προκαλεσει ζημία στη συσκεύŋ.
Kaθapiotε tn ouokεuñ με εva ελaφpá voTiμévo navi χωpiç anoppunavtiko.
Σημαντικό: H συοκεύη λειτουργίας δεν μπορείνα αντικα-taσταθεί.

9. Aπόσυροη
Oi nεkτρικές συσκεύες, oι μπαταρίες, τα εξαρτήμata kai oι συσκεύασίες πρεπεινανακικλώνονται με τρόπο φιλικό προς το περιβάλλον.

επιτρέπεται va πετάτε ηλεκτρικές και μπατapiες στα oikiaka
aπορρίματα!
To a a a p i a túnou CR 2032 Li-Mn-δioειδiou / opyavikoi nλεκτρολúτες.
Móvo yia xópεç EE:
Σύμφωνα με τήν ιοχύουσα Ευρωπαική Μόγία σχετικά με ἀχρηστες ήλεκτρικές και ήλεκτρονικές συοκευές και τήν εφαρμούγή τής σε εθυκό δικαιο πρεπειού αχρηστες πλέον ήλεκτρικές συοκευές καιο μπαταρίες va αποσύρονται Εχωριστά καινα σόηγουύνται σε ανακύκλωση φιλική προς το περιβάλλον.
10. Eyyúnθη κατασκευαστή
Eav θέλετε va διατυπώετε παράπονα σχετικά με το προίόν που αγοράσατε, παρακαλουμε ὄπως το αποστείλετε σε πλήρη κατάσταση και ατελώς μαζί με την αυθεντική απόδειξη αγοράς, η σοία πρέπεινα αναφέρεινην ηερομηνία αγοράς και την συσμαία του προίόντος, στον αντιπρόσωπό σας ἡσην εταρεία μας ANTΠΡΟΣΩΝΟΙ-EΙΑΓΟΓΕΙΣ ΓΙΑ THN ΕΑΜΑΔΑ Π.Λύγκωνης & Yιοι oε / ApIoTOΦΑVOUÇ 8 Αθηνα 10554. Σaç συνισΤΟύμε λοιπόν έπως διαφυλάξετε προδεKTιΚά την απόδειξη αγοράς ἡως την παρέλευση της διαρκείας ἀγύŋος. Για τα ἐξόδa και τους κινδύνους μεταφοράς στα πλαισία επιστροφής του προίόντος η STEINEL δεν αναλαβάνει καμία εύθύνη.
Tia πληροφορίες σχετικά με τήν προβολή αξιωός σε περίπτωση εγγύŋος απευθυνθείτε σή έδαδικτuaκή πύλη www.steinel-professional.de/garantie
Eav vopiετε οπ πókεια γia περπτωη εγγύησης ἡ εάν εχετε έποιαδήποτε απορία σχετικό με το προίον σας, μπορείτε va μας τηλεφωνόετε avá πάσα στιγμή στη
γραμή ΘΛΕΦΩΝΑ ΚΙΟΣΤΗΡΕΗΣ & ΣΕΡΒΙΣ ΠΙΑ, ΝΗΝΕΜΑΔΑ / 2103212021 / 2103218558 / Φαξ: 2103218630.

11. Tεχνικά δεδομένα
- Δiaστάσεις (Y × Π× B):
XLED PRO ONE S: 230 × 229 × 182 mm
XLED PRO ONE PLUS S / Max S: 250 × 259 × 202 mm
XLED PRO ONE: 206 × 229 × 182 mm
XLED PRO ONE PLUS / Max: 226 × 259 × 202 mm
-Taondeltaou: 220-240V,50/60Hz
- Φωτεινή ροή / φωτεινότητα:
XLED PRO ONE S: 2.204 lm
XLED PRO ONE PLUS S: 4.370 lm
XLED PRO ONE Max S: 6.116 lm
XLED PRO ONE: 2.236 lm
-Σuvτελεστής απόδοσης:
XLED PRO ONE S: 0,86
XLED PRO ONE PLUS S: 0,92
XLED PRO ONE Max S: 0,95
XLED PRO ONE: 0,86
3.000 K (θερμό λευκό)
- Δείκτης χρωματικής απόδοσης:
R_a≥ 80
- Σύστημα αἰσθητήρα:
XLED PRO ONE S / PLUS S / Max S: Παθητικόνπεροθρο
-Eμβéλεια:
XLED PRO ONE S / PLUS S / Max S: Max. 10 m
- Γωvia αίχνεύσης:
XLED PRO ONE S / PLUS S / Max S: 240°
- Púθμiση xρόvou:
XLED PRO ONE S / PLUS S / Max S: 8 s-35 min
- Púθμiση ευαισθησίας:
XLED PRO ONE S / PLUS S / Max S: 2-2.000 Lux
-Kλáση IP:
IP44 / I
Eππλέον 1oXuc μετaywync
XLED PRO ONE S / PLUS S / Max S:
- Ααμπήρας πυράκτωσης / αλογόνου: 1.500 W
- Ααμπήρες φθορισμού στραγγλιστικό πηνίο: 430 W
- Ααμπήρες φθορισμού χωρίς αντίστάθμιση: 500 VA
- Ααμπήρες φθορισμου σερίακή αντίστάθμιση: 900 VA
- Ααμπήρες φθορισμού παράληλη αντίσταθμιση: 500 VA
- Ααμπήρες αλογόνου χαμηλής τάσης: 1.500 VA
- ∧uxviεç LED < 2 W: 16 W
- 2 W<λuχviεç LED<8 W: 64 W
- ∧uχviεç LED > 8 W: 64 W
-Xwpntikó φopτio: 88 μF
12. ApokataoTaon βλαβης
Σuσκευή χωρίς τάση
-AoΦaλεια μη ενεργοποιμένη ἡλαττωματική.
- Evεργοποιότε την ασφάλεια.
- AvtikataoTnOte Tnv EλaTTwμatikn aσφáλεia.
- ΔiaKóπηκε TO KúKλωμa.
- Eλέγειε το κύκλωμα με δόκιμαστικό τάσης.
- Bpaxukukawma oTo δiktuo trophiosioac.
- Eλέγξτε τις συνδέσεις.
-Evδεχομένως διακόπης διKTóU εKTÓC.
- Evεpyoioiσe Tov δiaκόπη δικτύου.
H ouokεuñ δev εvεpyoioiεitai.
-
Αανθασμένη επιλογή ρύθμισης σρίου ευαιθησίας.
-
PuθμioTe εκ vεou τη ρύθμiασ Σuaioθησίας.
- Διακόππης δικτύου ΕΚΤΟΣ.
- Puθμίστε Tov διακόπηδικτύου.
-AoΦaλεια μη ενεργοποιημένη ἡλαττωματική.
- Evεργοποιότε τήν ασφάλεία.
-
AvtikataoTnoTe Tny eλaTTwμatikn aσφáλεia.
-
Oi yprnyopcKivnoeicKaataiieovtai yia i n npaotuw n éiyev noLu μikpn n eofoevn puthetaion opiow avixveoonc
-
Eλέγχετε και ρυθμίζετε το εύρος ανίχνευσός.
-
Πηγή φωτός ελαττωματική.
H nynn c 8ev uipoei va aalaythetai. Avikata- otnoTe PAnpwoC Tn ouokuun.
H ouokvun 8ev aenvepyopoiitai.
-ΣuvexnC kivnon σtnv περioxn avixveoanc.
- Eλέγξτε ο εύρος ανίχνευσης.
Eav eivai aapaitnTo, nepiopioTe n aalaoTe To Eupoc avixvuaonc.
H ouokevun evepyoioitea avenueta.
-AoTaaHc EyKaTaOtaO n OuaKeuNC.
- EykataoTnOTe Otaepa Tn OuokEun.
-
Yπnpε κίνησ, aλλá δεν ἐγινε αντιληπή anó τον παρατηρηπή (κίνησ πίω anó τοίχο, κίνησ μικρου αντικεμένου στό αμεσο περιβάλλον τού λαμπηρα κ.λπ.)
-
Eλέγχετε τα ὄρια ανίχνεύσης.
Eav eiva aapaiTto, nepiopioTe n aaAeTo Eupoc avixveuongc.
Notice-Facile