XLED PRO ONE S - Lampă STEINEL - Manual de utilizare gratuit
Găsiți gratuit manualul dispozitivului XLED PRO ONE S STEINEL în format PDF.
Descărcați instrucțiunile pentru Lampă în format PDF gratuit! Găsiți manualul dvs. XLED PRO ONE S - STEINEL și luați din nou în mână dispozitivul dvs. electronic. Pe această pagină sunt publicate toate documentele necesare pentru utilizarea dispozitivului dvs. XLED PRO ONE S mărcii STEINEL.
MANUAL DE UTILIZARE XLED PRO ONE S STEINEL
- Despre acest document 641
- Instrukturi generale de securitate 641
- Descrierea dispositivului 642
- Conexiune electrică 650
- Montaj 652
- Functionarea 662
- Accesorii: telecoma 667
- Curăṭareași ingrijirea 670
- Eliminarea ca deseu 671
- Garantia de producador 672
- Date tehnice 673
- Remedierea defeciunilor 675
1. Despre acest document
- Protejat prin Legea drepturilor de autor. Reproducerea, inclusiv in extras, este permisă numai cu aprobarea noastră.
- Ne rezervám dreptul de a face modificári care servesc progresului tehnic.

Atentie, pericole!

Atentie, pericole din cauza curentului electric!

Atentie, pericole din cauza apei!
2. Instruktiuni generale de securitate

Pericol din cauza nerespectării instrucțiunilor de/utilizare!
Aceste instruţiuni contin informaţii importante despreeutilizarea sigură a aparatului. Se atrage atenţia in moddeosebit asupra pericolelor posibile. Nerespectarea poateduce la deces sau la vătamări corporale grave.
Citi ci cu atentie instructiunile.
- Respectaţi instruţiunile de siguranta.
Păstrați la indemână.
- Manipularea componentelor conducţoare de current electric poate duce la situţii periculoase. Atingerea pie-selor conducţoare de current poate duce la soc electric, la arsuri sau deces.
- Lucrările la tensiunea de rețea se pot realiza numai de câtre personal calificat de specialitate.
-
Se vor respectsa normele de instalareși condițiile de ra-cordare uzuale în tara respectivă (de ex. DE: VDE 0100, AT: ÖVE-ÖNORM E8001-1, CH: SEV 1000).
-Folosi numai把这些数的代数运算. -
Reparatiile se vor efectua numai de câtre firme de specialitate.
3. Descrierea dispositivului
Utilizare conform destinatiei XLED PRO ONE S / Plus S / Max S
- Proiector cu LED Şi senzor de mișcare cu infrarosu
- Montare pe perete, in interior si exterior.
- Inadecvat pentru conectarea la regulatoare de intensitate a luminii.
Principiul functionarii
- Senzorul infrarosu detectează radiția termica a corpusilor aflate în miscare (de ex. oameni, animale etc.). Radiția termica este convertitate electronicși determină aprinderea automată a projectorului cu LED.
- Cea mai sigură detectie a miscării se face prin montarea aparatului lateral față de directia de mers.
- Raza de actiune pentru detectia mișcării este limitata atunci cand vă indreptă direct spre aparat.
- Din cauza obstacolelor (de ex. copaci, ziduri sau geamuri) detectia miscarii poate fi limitata sau poate fi imposibla.
- Oscilatiiile bruste de temperatură ca urmare a influențelorn meteo nu se deosebesc de sursele de caldură.
Utilizare conform destinatiei XLED PRO ONE / Plus / Max
- Projoctor cu LED.
- Montare pe perete, in interior si exterior.
- Inadecvat pentru conectarea la regulatoare de intensitate a luminii.
Utilizare neconformă destinăției
- Proiectorul cu LED nu are trepte de luminozitate.

Fara trepte de luminozitate
Volumul livrãrii
- XLED PRO ONE S
- XLED PRO ONE Plus S
- XLED PRO ONE Max S

3.1






1x


2x

- 1 projector cu LED Şi senzor de mișcare cu infrarosu
- 1 cheie imbus
- 1 diafragmă de obturare
-2 suruburi - 2 dibluri
- 2 saibe-suport
-2 suruburi fara cap
-1 telecomanda RC 12 - 1 Físă tehnica de securitate
- 1 Ghid rapid de initiere
Volumul livrãrii
-XLED PRO ONE
- XLED PRO ONE Plus
- XLED PRO ONE Max
3.2


- 1 projector cu LED
- 1 cheie imbus
- 2 suruburi fara cap
-2 suruburi
-2dibruri - 2 saibe-suport
- 1 Físă tehnica de securitate
- 1 Ghid rapid de initiere
Dimensiunile produsului XLED PRO ONE S
- XLED PRO ONE S (a)
- XLED PRO ONE Plus S (b)
- XLED PRO ONE Max S (c)
3.3

229 mm (a)
259 mm (b),(c)
182 mm (a)
202 mm (b),(c)

Dimensiunile produsului XLED PRO ONE
- XLED PRO ONE (a)
- XLED PRO ONE Plus (b)
- XLED PRO ONE Max (c)
3.4

229 mm (a)
259 mm (b),(c)
182 mm (a)
202 mm (b),(c)

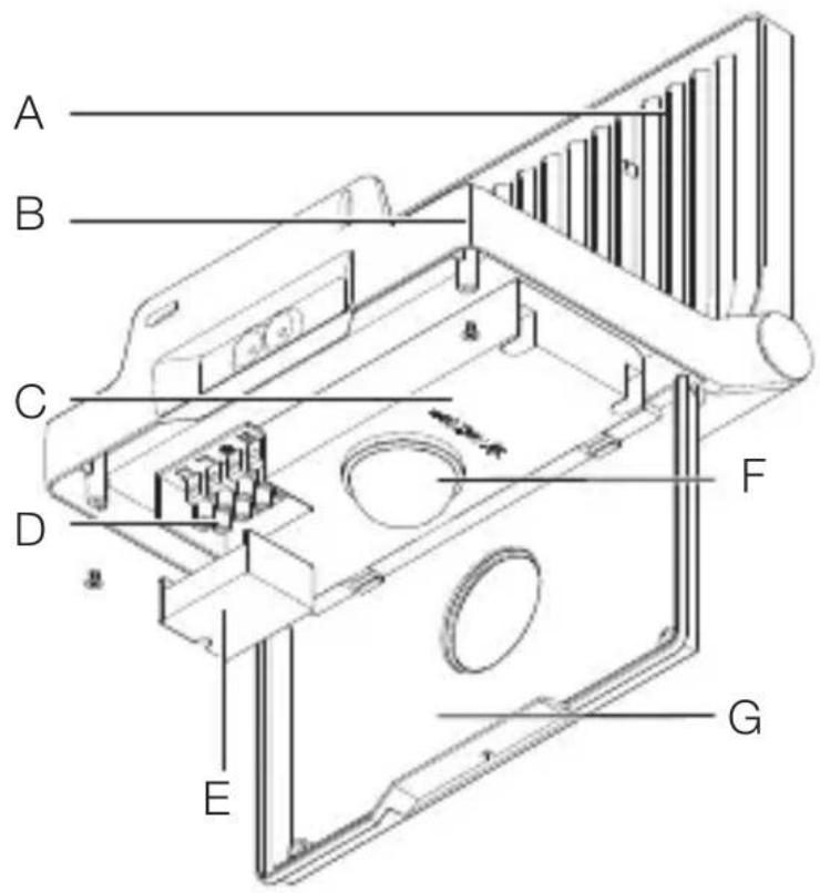
Prezentare generală a aparatuluiXLED PRO ONE S / Plus S / Max S
3.5

A Cap projector cu LED
B Clemà de fixare
C Regulator
D Bornă de conexiune
E Capac borne
F Unitate senzor
G Masca
RO
3.6

H Temporizare
I Setarea luminozitatii de comutare
J Lumină de veghe
3.7

K Telecomanda RC 12
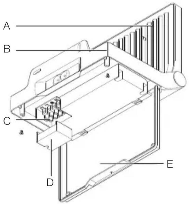
Prezentare generală a aparatuluiXLED PRO ONE / Plus / Max
3.8

A Cap projector cu LED
B Clemà de fixare
C Bornă de conexiune
D Capac borne
E Masca
4. Conexiune electrică
Scheme de conexiuni XLED PRO ONE S / Plus S / Max S
4.1




Scheme de conexiuni XLED PRO ONE / Plus / Max

4.2



Circuitul de alimentare este format dintr-un cablu cu 3 fire:
L = conductor de fază (de obicei negru, maro sau gri)
N = conductor neutru (de obicei albastru)
Aparatul poate fi connectat 山 electric dupa un intrerupator de retea, daca se garantază ca intrerupatorul de retea este permanent in stare pornita.
LED-ul acestui aparat nu se poate inlocui. Daca este necessitiesar, trebuie inlocuit intregul aparat.
Sursa de lumină a acesti lâmpi nu se poate înlocui; în ca-zul în care sursa de lumină trebuie înlocuită (de ex. la finalul duratei de viță), trebuie înlocuită întraea lampă.

5. Montaj

Pericol din cauza curentului electric!
Atingerea pieselor conducţoare de current poate duce la soc electric, la arsuri sau deces.
- Opriti curentul si intrerupeti alimentarea cu tensiune.
- Verificati absenta tensiunii cu ajutorul unui creion detensiune.
- Asigurat-vá că alimentarea cu tensiune rămâne intreruptă.
Pericol de daune materiale!
O eventuală inversare a cablurilor de conexiune poate duce la scurtcircuit.
Identificati caburile de conexiune.
- Conectaţi corect caburile de conexiune.
Pregatirea montajului
- Verificazioni toate componentele pentru a constata dacă prezintă deteriorari. Nu puneti in functiune aparatul dacă prezintă deteriorari.
- Alegeti un loc de montai adecvat.
-Tinand cont de raza de actiune.
-Tinând cont de raza de detectare a mișcării.
-Faravibratai.
-Zona de detectie fara obstacole.
- Nu in zone cu pericol deexplozie.
-Nu pe suprafete uesor inflamabile. - Nu priviţi în sursa de lumină de la distanță mica (< 30cm)
-La distanță de minimum 50 cm de alte proiectoare cu LED.

Raza de actiune XLED PRO ONE S / Plus S / Max S
5.1
RO
Detectia miscarii lateral pe directa de mers XLED PRO ONE S / Plus S / Max S
5.2

Detectia mișcarii în directia de mers XLED PRO ONE S / Plus S / Max S
5.3

Orientarea aparatului
5.4

- Orientaţi corect aparatul.
RO
Etapele montàrii

5.5


- Verificazioni ca alimentarea cu tensiune sα fie oprită.
Marcati locul unde vor fi gaurile.

5.6


- Faceti gaurile (Ø 6 mm).si introduceti diburile.

5.7
- Desfaceti masca din Şuruburi.

5.8
- Deschideti masca.

5.9
Treceti cablul prin descentidere.

5.10
Fixaţi帽子用在suruburi.

5.11

- Desfaceti din Şuruburi capacul bornelor.
- Conectati cablul de alimentare conform schemei de conexiuni.
,4 . Conexiune electrica"
5.12

Fixati in suruburi capacul bornelor.
5.13

Inchideti masca.
Strangei suruburile de siguranta.
5.14


- Orientaţi capul projectoruluiși fixaţi-l cușruburile fără cap.
5.15


- Porniti alimentarea cu current.
- Reglati functiile. →,6. Functionarea"
RO
6. Functionarea
XLED PRO ONE S / Plus S / Max S
6.1



- Deschideti masca, prin desurubare.
Realizati reglajele.
Reglaje din fabrica
- Temporizare: 8 secunde
- Reglarea luminozităti de comutare: regim de lumină naturală 1.000 lucsei
- Lumină de veghe: STINSă
Reglarea temporizări (H)
Temporizarea la oprire poate fi reglata continuu de la cca. 8 secunde până la max. 35 minute. Orice mișcare detectă aprimde din nou lumina.
Notă: După fiecare stingere a projectorului cu LED, tamp de cca. 1 secundă nu este posibila o nouă detectare de mișcare. Apoi projectorul cu LED se poate aprinde din noula detectarea mișcării.
La ajustarea zonei de detectie si pentru testul de functiOnare se recomanda setarea intervalului cel mai scurt.
Setarea luminozităti de comutare (I)
Pragul de comutare (luminozitatea de comutare) poate fi reglat continuu de la cca. 2 lucsi până la 2.000 lucsi.

regim de lumină naturală (independent de lumi-nozitate)

regim de amurg (cca. 2 lucsi)
La reglarea ariei de detectie si pentru verificarea functionala la lumina zilei butonul de reglare trebuie să fie poziptionat pe
Lumina de veghe (J)
Lumina de veghe, furnizata de LED-ul pentru luzină de veghe, garanteză un nivel redus al luminii.
Lumina principală se aprinde numaiând se detectează miscare în zona de detectie, pentru intervalul de tamp selectat. După aceasta, lumina trece înapoi pe lumina de veghe selectata.
- OFF = Fără lumină de veghe
- 10 min = Lumină de veghe pentru 10 minute după scurgerea intervalului de continuare a functio-nării selectat.
-
30 min = Lumină de veghe pentru 30 minute după scurgerea intervalului de continuare a functio-nării selectat.
-
C = Lumină de veghe întraaga noapte. Lumină de veghe, imediat ce lumina ambientală scade sub pragul de comutare setat.
Regim de fonctionare cu lumină continua
6.2

1) Aprinderea luminii continue:
- apasaţi pe intrerupător de 2 x STINGEREși APRINDERE. Proiectorul cu LED rămâne aprins continuu tamp de 4 ore. Ulterior revine la regimul de functionare cu senzor.
2) Stingerea luminii continue:
- apasaţi pe intrerupător de 1 x STINGEREși APRINDERE. Lampa se stinge, respectiv trece în regimul de functionare cu senzor.
Important:
Operatiile de comutare trebuie efectuate in intervalul de 0,2-1 secunda.
Pentru a exclude detecta neintentionata sau a monitoriza tintit anumite zone, zona de detecte poate fi limitata sau ajustata cu ajutorul unei diafragme de obturare.
6.3


- Plasati diafragma de obturare pe senzor.
Fixaţi diafragma de obturare prin închiderea măstii.
- Facilitează instalarea unor sisteme de iluminat de dimensiuni mai mari. Proiectoarele cu LED se pot seta impreună după instalare.
- Cu telecomanda pot fi comandate oricâte proiectoare cu LED se dorente.
- Fiecare apăsare validă de tastă este confirmata la nivalul aparatului prin intermediul unui LED de stare.
In telecomanda RC12 se utilizes a baterie de tipul CR2032.
Cu telecomanda RC 12 se pot utilizes functii supplementare aparatelor XLED PRO ONE S / Plus S / Max S:
1 Setarea luminozităti de comutare: Pragul dorit de comutare poate fi reglat de la cca. 2 la 2.000 lucsi.
"Setarea luminozitatai de comutare (I)"
2 Functionare in regim de lumină naturală (independent de luminozitate)
3 Regim de noapte (2 lucsei)
4 Reglarea luminozităti cu ajutorul tastei de memorare / modului de invățare (2-2.000 lucsei).
Când se ajunge la condiţiile de lumina à la care se dorente ca旨在 viitor senzorul sa reacţioneze la miscare: apăsăti tasta. Se memoreazu valoarea actuală.
5 Temporizare: Durata de iluminare dorita dupa ultima detectare de miscare poate fi reglata prin apasare detastă pe 10 s, 1 min, 5 min, 15 min.
,Reglarea temporizarii (H)"
6 Durata de iluminare dorita: Reglarea duratei de iluminare pe intervalul de temp dorit. Fiecare apaszare a tastei mareste intervalul de temp actual cu cate 1 minut (max. 15 min).
7 Regim de functiOnare cu luma nă continuă: La apăsarea tatesti în regim cu senzor, projectorul cu LED se aprinde pentru 4 ore (LED-ul de stare este aprimns continuu). La apăsarea tatesti în regim 4 h-ON, projectorul cu LED se stinge pentru 4 h (LED-ul de stare este aprimns continuu). Din regimul 4 h se iese la expirarea timpului, cu tasta Reset sau, dacă sunteti în regimul STINGERE 4 ore, prin actionarea tatesti 4 h.
Regim de fonctionare cu lumină continuă
8 Modul de instalare (modul de testare): Modul de instalare serveste la verificarea functiOnarii, precum si a zonei de detectie. Indiferent de luminozitate, projectorul cu LED se aprinde pentru 10 s de cate ori detectează mișcare. Mișcarea este semnalizata prin LED-ul de stare. Modul de instalare are prioritate fața de toate celealte reglâri. După 10 min modul de instalare este părsit automat. După o apăsare a tastei Reset, modul de instalare este părsit imediat. Atentie: Modurile de înțareși de instalare nu pot fi utilizezate simultan.
9 Reset: Resetarea tuturor reglajelor pe valorile reglate manual la projectorul cu LED, respectiv pe reglarile din fabrica.
10 Lumină de veghe: Lumina de veghe, furnizata de LED-ul pentru lumina de veghe, garanteză un nivel redus al luminii. Lumina principală se aprinde numai căş de detecteză mișcare în zona de detectție, pentru intervalul de temp selectat. După aceasta, lumina trece înapoi pe lumina de veghe setă.
„Lumină de veghe (J)"
Telecomanda intelligenta (optionala)
(EAN 4007841009151)
- Comanda prin smartphone sau tabletă.
-
Inlocuieste telecomanda.
-
Incarcați aplicata adevatași conectați prin bluetooth.
8. Curățareași ingrijirea
Aparatul nu necessities intretnere.

Pericol din cauza curentului electric!
Contactul apei cu pieselor conducţoare de current poate duce la soc electric, la arsuri sau deces.
- Nu curatai aparatul dechat in stare uscata.
Pericol de daune materiale!
Folosirea unor detergenti inadeva ti poate deteriorora aparatul.
- Curățați aparatul cu o lavetă ușor umezită, fără detergent.
Important: Aparatul de comanda nu se poate inlocui.

Aparatele electrice, bateriile, accesoriile Şi ambalajele trebuie să facă obiectul unei reciclări ecologice.

Nu aruncați aparatele electriceși bateriile la gunoiul menajer!
Telecomanda contine o baterie de tipul CR 2032 dioxid litiumangan / electrolyit organic.
Numai pentru tările UE:
In conformitate cu directiva europeana privind eliminarea deseurilor electrice si electronice in vigoare si transpunerii ei in legislata natională, aparatele electrice si bateriile care nu mai pot fi utilizetrebuie să fie colectate separat si sa facă obiectul unei reciclări ecologice.
10. Garantia de producutor
Garantia de producator STEINEL GmbH, Dieselstr. 80-84, DE-33442 Herzebrock-Clarholz, Germania
In calitate de cumpañator va bucurati dupa caz de todo drepturile prevázute prin lege privind garantía si reclama-rea defectelor impotrivava vanzatorului. In măsura in care acesto drepturi există in tara dumneavoastră, declarata noastră de garantie nici nu le restrângeși nici nu le reduce durata de valabilitate. Vă acordam 5 ani de garantie pentru functiOnarea ireproşabilași corespunzătoare a produsului dumneavoastră cu senzor din gama STEINEL ProfessiOnal. Garantăm ca incest produs nu prezinta niciun fel de erori de material, de produțieși de projectare. Garantăm functionalitatea tuturor componentelor electroniceși a cablurilor, precumși caracterul ireproşabal al tuturor materiaIelor utilizesși al suprafetelor acestora.
Solicitarea garantiei:
Dacă aveți o reclamataie referitoare la produsul dvs., va rugăm să Îl trimitețiÎntregși cu taxele de expediere plătie,Împreună cu chitanța originală care trebuie săContină data cumpărăriși demumirea produsului, distribuitorului dvs. Sau direct nouă, la adresa STEINEL Distribution SRL; 505400 Rasnov, jud.Brasov; Str. Campului, nr.1; FSR Hala Scularie Birourile 4-7. Din acest motiv va recomandam sâ pastrați cu grijă chitanța până la expirarea termenului de garantție. STEINEL nu suportă costurile de transportși nu Îsi asumă riscurile associate transportului pentru returnarea produselor.
Informații privind solicitarea unei prestații în garantie găsiți pe pagina noastră web
http://steinelshop.ro/termeni-si-conditionii#answer10
Dacă doriti și să solicitate și prestație în garantiei sau aveți o intrebare despree produsul dvs., ne puteti contacta la +40(0)268 - 530000.
5 ANI GARANTIA PRODUÇATORULUI
11. Date tehnice
- Dimensiuni (inältime x lātime x adâncime):
XLED PRO ONE S: 230 × 229 × 182 mm
XLED PRO ONE PLUS S / Max S: 250 × 259 × 202 mm
XLED PRO ONE: 206 × 229 × 182 mm
XLED PRO ONE PLUS / Max: 226 × 259 × 202 mm
-Tensiune de alimentare: 220 - 240V,50 / 60Hz
- Putere / eficientă:
XLED PRO ONE S: 120 lm/W
XLED PRO ONE PLUS S: 129 lm/W
XLED PRO ONE Max S: 122 lm/W
XLED PRO ONE: 126 Im/W
- Reglarea temporizări:
XLED PRO ONE S / PLUS S / Max S: 8 s-35 min
Luminozitate de comutare:
XLED PRO ONE S / PLUS S / Max S: 2-2.000 lucsi
12. Remedierea defeciunilor
Aparat fãrã tensiune.
-
Siguranta necuplată sau defectă.
-
Cuplatsiguranta.
Dacă este defectă, schimbați siguranta. -
Cablu intrerupt.
- Verificazioni cablul cu un testor de tensiune.
- Scurtcircuit in cablul de alimentare.
Verificati conexiunile. - Intrerupătorul de rețea eventual existent este decuplat.
- Cuplati intrerupatorul de retea.
Aparatul nu se aprinde.
-
Reglarea luminozităti de comutare este incorcêtă.
-
Resetatu luminozitatea de comutare.
-
Intrerupător de rețea OPRIT.
-
Porniti intrerupatorul de retea.
-
Siguranță necuplata sau defectă.
-
Cuplate siguranta.
Dacă este defectă, schimbați siguranta.
-
Detectarea mișcărilor rapide estedezactivata pentru reducerea numărului de semnalări eronate sau zona de detectie este setata la un nivel prea redus sau în mod incorrect.
-
Verificatişi ajustati zona de detectie.
-
Sursa de lumină defectă.
-
Sursa de lumină nu se poate schimba. Inlocuiţi aparatul în intregime.
Aparatul nu se stinge.
-
Verificazioni zona de detective.
-
Daca este besoinar, limitați sau modificati zona de detectie.
Aparatul se aprinde necontrolat.
- Aparatul n-a fost fixat bine la montare.
Montaţi aparatul aș incât să nu se deplaseze.
-
A avut loc mișcare, dar nu a fost sesizata de observator (mișcare în spatele unui perete, mișcarea unui obiect mic în imediata apropriere a lâmpii, etc.)
-
Controlati zona.
-
Daca este besoinar, limitati sau modificazioni zona de detectie.
Notice-Facile