XLED PRO ONE S - Lempa STEINEL - Nemokama naudojimo instrukcija
Raskite įrenginio instrukciją nemokamai XLED PRO ONE S STEINEL PDF formatu.
Atsisiųskite instrukciją savo Lempa PDF formatu nemokamai! Raskite savo instrukciją XLED PRO ONE S - STEINEL ir vėl perimkite savo elektroninį įrenginį. Šiame puslapyje skelbiami visi dokumentai, reikalingi jūsų įrenginio naudojimui. XLED PRO ONE S prekės ženklo STEINEL.
NAUDOJIMO INSTRUKCIJA XLED PRO ONE S STEINEL
- Apie šj dokumenta 789
- Bendrieji saugos nurodymai 789
- Prietaiso aprasymas 790
- Elektros jungtis 798
- Montavimas 800
- Veikimas 810
- Priedai nuotolinio valdymo pultas 815
- Valymas ir prieziura 818
- Šalinimas 819
- Gamintojo garantija 820
- Techninai duomenys 821
- Trikciu salinimas 823
- Autoriu teisés saugomos. Perspaasdinti, taip pat ir atskiras ištraukas, leidžiama tik gavus mūsù sutikimā.
- Pasiliekama teise daryti pakeitimus techninio tubulinimotikslais.

Ispejimas apie pavojus!

Ispejimas apie elektros pavoju!

Ispejimas apie vandens kelama pavoju!
2. Bendrieji saugos nurodymai

Pavojus del naudojimo instrukcijos nesilaikymo!
Sioje instrukcijoe pateikta saugaus elgesio su prietaisu informacija. Didziausias demesys kreipiamas j galimus pavojus. Nesilaikant nurodymu galimi mirtini arba sunkus sužalojimai.
Kruopschiai perskaity kite instrukcija.
- Laikykitès saugos nurodymu.
- Laikykite pasiekiamoje vietoje.
- Dirbant su elektros srove galimos pavojingos situacijos. Prisilietus prie daliu, kuriomis teka srové, galima patirti smūgi, nudegimus arba Žūti.
- Darbus, susijusius su tinklo jtampa, gali atlikti tik kvalifikuoti darbuotojai.
- Būtina laikytis šalyje galiojančių jrengimo instrukciju ir prijungimo reikalavimų (pvz., DE: VDE 0100, AT: ÖVEÖNORM E8001-1, CH: SEV 1000).
- Naudokite tik originalias atsargines dalis.
- Remontagali atlikti tik specializuotos jmones.
3. Prietaiso aprasymas
Naudiojimas pagal paskirtj XLED PRO ONE S / Plus S / Max S
- LED prożektorius su infraraudonuju spinduliu judesio sensoriumi.
- Sieninis montavimas patalpose ir lauke.
- Netinka naudoti su apšvietimo regulatoriumi.
Veikimo principales
- Infraraudonju spinduliu sensorius fiksuoja judanciu kūnü (žmoniu, gyvūnu ir t. t.) sklearndžiama šilumine spinduliuote. Šilumos spinduliuoté paverčiama elektroniniais signalais ir automatiskai jjungia LED prožektoriu.
- Patikimiausias budas aptikti judejima yra prietais sumontavimas šonu ejimo krypčiai.
- Judesio aptikimo jautrumo zonos ilgis yra ribotas, kai einama tiesiai j prietaisa.
- Kliutys (pvz., medžiai, sienos ar stiklai) gali apriboti judejimo aptikimä arba padaryti jj nejmanoma.
- Staigus temperaturosPokyciaidel oro salgyug nesiskirianuo silumos saltiniu.
Naudiojimas pagal paskirti XLED PRO ONE / Plus / Max
- LED prozektorius.
- Sieninis montavimas patalpose ir lauke.
-Netinka naudoti su apšvietimo regulatoriumi.
Naudiojimas ne pagal paskirtj
- LED prożektorius néra reguliuojamas.

Nereguluojamas
Tiekiamas komplektas
- XLED PRO ONE S
- XLED PRO ONE Plus S
- XLED PRO ONE Max S

3.1
- 1 LED prożektorius su infraraudonju spinduliu judesio sensoriumi
- 1 raktas su vidiniu šeşiabriauniu
- 1 dengiamoji užsklanda
-2varztai
-2murvinés - 2 poveržlès
- 2 varžtai be galvutës
- 1 nuotolinio valdymo pultas RC 12
- 1 saugos duomeny lapas
- 1 greitasis paleidimas
LT
Tiekiamas komplektas
-XLED PRO ONE
- XLED PRO ONE Plus
- XLED PRO ONE Max
3.2


- 1 LED prožektorius
- 1 raktas su vidiniu šeşiabriauniu
- 2 varžtai be galvutës
-2varztai - 2 mūrvīnès
- 2 poveržlès
- 1 saugos duomenu lapas
- 1 greitasis paleidimas
Gaminio matmenys XLED PRO ONE S
- XLED PRO ONE S (a)
- XLED PRO ONE Plus S (b)
- XLED PRO ONE Max S (c)
3.3
H Švietimo trukmès nustatymas
Prieblandos lygio nustatymas
J Bazinis apšvietimas
3.7

K Nuotolinio valdymo pultas RC 12
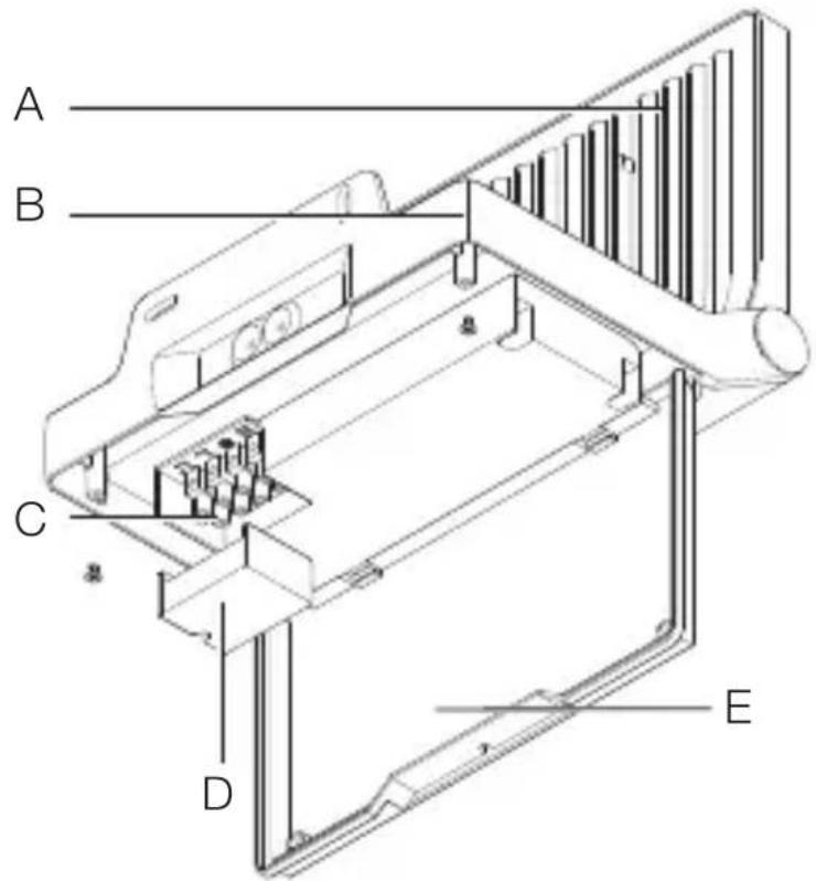
Irenginio apžvalga XLED PRO ONE / Plus / Max
3.8

A LED prozektoriaus galvuté
B Montavimo apkaba
C Gnybtai
D Gnybtu dangtelis
E Dangtelis
LT
4. Elektros jungtis
Elettros schemas XLED PRO ONE S / Plus S / Max S
4.1




Elettros schemas XLED PRO ONE / Plus / Max

4.2



Jvada sudaro triju laidu kabelis:
L = fazé (dažniausiai juodas, rudas arba pilkas laidas)
N = nulinis laidas (dažniausiai melynas)
PE = apsauginis laidas (žalias / geltonas)
Šviestuva taip pat galima prijungti prie elektros tinklo jungiklio, jei užtikrinama, kad tinklo jungiklis bus nuolat jjungtas.
Šio jrenginio šviesos diodas nekečiamas. Jei reikia, pa-keiskite visa prietaisā.
LT
Šio šviestuvo šviesos elementas yra nekeičiamas, todél prireikus jj pakeisti (pvz., pasibaigus tarnavimo laikui), reikia keisti visa šviestuva.

5. Montavimas

Elektros srové kelia pavoju!
Prisilietus prie daliu, kuriomis teka srové, galima patirti smügi, nudegimus arbaŽuti.
- Išjunkite srove ir nutraukite elektros energijos tiekima.
- Jtamos indicatorium patikrinkite, ar nera jtamos.
- Jsitikinkite, kad elektros energijos tiekimas nutrauktas.
Turto sugadinimo pavojus!
Jungiamuju laidu sukeitimas gali sukelti trumpaji jungimaj.
- Identifikukite jungiamuosius laidus.
- Tinkamai prijunkite jungiamuosius laidus.
Pasiruosimas montavimui
- Patikrinkite visas dalis, ar nera pažeidimu. Jei prietaisas yra pažeistas, jo nenaudokite.
- Pasirinkite montavimo vieta.
-Atsižvelkite j jautrumo zonos ilgi.
-Atsižvelkite j judèjimo aptikimä.
-Be vibraciños.
-Be kliuci jautrumo zonoje.
-Ne potencialiai sprogioje zonoje.
-Ne ant lengvai užsidegančiμ paviršiμ.
-Be galimybès ziūrèti j šviesos šaltinj is nedidelio atstumo (< 30 cm).
-Palikite bent 50 cm atstumę iki kity LED prożektoriu.
Diapazonas XLED PRO ONE S / Plus S / Max S

5.1
LT
Judesio aptikimas i šoná nuo éjimo krypties XLED PRO ONE S / Plus S / Max S
5.2

Judesio aptikimas èjimo kryptimi XLED PRO ONE S / Plus S / Max S
5.3

Irenginio padêtes nustatymas
5.4

Nustatykite prietaisaginkamoje padetye.
LT
Montavimo eiga

5.5


- Patikrinkite, ar atjungtas jtampos tiekimas.
- Pasizymèkite grežtiniu skyliu vietas.

5.6


- Isgrežkite skies (Ø 6 mm) ir jkiškite kaišcius.

5.7
- Atsukite dangtelj.

5.8
- Atidarykite dangtelj.
LT

5.9
- Ištraukite kabeli pro Angela.

5.10
- Priveržkite laikiklj.

5.11

- Atsukite gnybtu dangtelj.
- Prijunkite maitinimo linija pagal elektros schema.
→,4. Elektros jungtis"
LT
5.12

- Nustatykite prozektoriaus galvute ir užfiksuokite varžtais.
5.15


- Junkite elektros energijos tiekima.
- Funkciju nustatymas.
→,6. Veikimas"
LT
6. Veikimas
XLED PRO ONE S / Plus S / Max S
6.1



- Atsukite dangtelj.
- Atlikite nustatymus.
Gamyklos nustatymas
- Laiko nustatymas: 8 sekundès
- Prieblandas lygio nustatymas: dienos šviesos režimas 1.000 liuksy
-Bazinis apšvietimas: ISJ.
Švietimo trukmès nustatymas (H)
Išjungimo vělinimá galima nustatyti tolygiai nuo maždaug 8 sekundžiu jki maks. 35 minučiu. Kiekviena karta užfiksavus judejima iš naujo jjungiama šviesa.
Pastaba: kiekviena karta isjungus LED prozektoriu, maždaug 1 sekunde negalima aptikti naujo judesio. Véliau LED prozektorius gali vél jsijungti užfiksavus judejima.
Norint reguliuoti jautrumo zona ir patikrinti funkcjjas rekomenduojama pasirinkti trumpiauslaika.
Prieblandos nustatymas (I)
Reagavimo ryškumas (prieblanda) nustatomas tolygiai maždaug 2 - 2.000 liuksu diapazone.

dienos šviesos režimas (nepriklauso nuo apšviétrimo)

prieblados režimas (maždaug 2 liuksai)
Nustatant jautrumo zona ir atliekant funkcjju patikrinimaj dienos metu nustatymo regulatorius turi buti nustatytastes
Bazinis apšvietimas (J)
Bazinio apšvietimo šviesos diodai užtikrina nedidelj apšviestuma.
Pagrindinis apšvietimas jjungiamas pasirinktam laikui tik tuo atveju, jei jautrumo zonoje fiksuojamas atitinkamas judesys. Po to šviestuvas persijungia j pasirinktā bazinj apšvietimā.
- OFF = bazinio apšviétrimo néra
- 10 min. = pasibaigus pasirinktam inercinio veikimo laikui, bazinis apšvietimas veikia 10 minučiu.
-
30 min. = pasibaigus pasirinktam inercinio veikimo laikui, bazinis apšvietimas veikia 30 minučiu.
-
(C) = bazinis apšvietimas visă naktj. Bazinis apšviētimas, kai tik aplinkos apšviētimas nukrenta Žemiau nustatyto reagavimo ryškumo.
Pastovaus švietimo režimas
6.2

1) Pastovaus švietimo jungimas:
- jungiklj 2 x ISJUNGTI ir LJUNGTI.
LED prożektorius nustatyas nepertraukiamai šviesti 4 valandas. Paskui automatiskai věl perjungiama j jutiklio režimá.
2) Pastovaus švietimo išjungimas:
- jungiklj 1 x ISJUNGTI ir LJUNGTI.
Šviestuvas išsijungia arba persijungia j sensorinj darbo režima.
Svarbu!
Perjungimai turi būti atliekami 0,2 - 1 s diapazone.
LT
Norint išvengti netyčinio aptikimo arba specialiai stebétitam tikras sritis, jautrumo zona galima apriboti ir suregu-liuoti dengiamaja užsklanda.
6.3


Užděkite dengiamajá užsklanda ant sensoriaus.
- Uždarydami dengiamajá užsklanda užfiksuokite dangtelio korpusa.
7. Priedai nuotolinio valdymo putas
Nuotolinio valdymo pultas RC 12
(EAN 4007841079000)
7.1

- Palengvina didesniu apšvietimo sistemas jrengimaj. Sumontavus LED prožektorius galima reguluioti kartu
- Nuotolinio valdymo pultu galima valdyti bet kokj LED prożektorių skaičiu.
- Kiekvienas galiojantis mygtuko paspaudimas patvirtinamas prietaiso buklès šviesos diodu.
Nuotolinio valdymo pulte RC12 naudojama CR2032 baterija.
Naudojant nuotolinio valdymo pulta RC 12 galima naudotis papildomomis XLED PRO ONE S / Plus S / Max S funkci-jomis:
1 Prieblandos lygio nustatymas: pageidaujama šviestuvo suveikimo slenkstj galima nustatyti maždaug nuo 2 iki 2.000 liuksy.
→,Prieblandos nustatymas (I)"
2 Dienes šviesos režimas (nepriklauso nuo apšviietimo)
3 Naktinisrežimas (2 liuksai)
4 Apšvietimo lygio nustatymas išsaugojimo mygtuku / jsisavinimo režimu (2-2.000 liuksu).
Pageidaujamomis apšvietimo salygomis, kuriomis sensorius ateityje turi reaguoti j judsj: paspauskite mygtuka. Esama reiksmé išsaugoma.
5 Laikonustatymas: pageidaujama švietimo trukmę po paskutnio judesio fiksavimo mygtuko paspaudimu galima nustatyti ties 10 sekundžiu, 1 min., 5 min., 15 min.
→,Svietimo trukmès nustatymas (H)"
6 Pageidaujama švietimo trukmè: švietimo trukmès nustatymas pageidaujamam laikui. Kiekvienes myg-tuko paspaudimas padidina esama švietimo trukmès nustatymo dydj 1 minute (maks. 15 min.)
7 Pastovaus švietimo režimas:
kai veikiant sensoriniu režimu paspaudžiamas mygtukas, 4 val. jjungiamas LED prožektorius (būklès LED šviečia nuolat). Paspaudus mygtuka 4 val. jjungimo režimu, LED prožektorius 4 val. išjungiamas (būklès LED šviečia nepertraukiamai). 4 h režimas išjungiamas pasibaigus laikui, paspaudus atstatus mygtuka arba 4 val. ISJUNGIMO režimu paspaudus 4 h mygtuka.
Pastovaus švietimo režimas
8 Irengimo režimas (testavimo režimas): Irengimo režimas, skirtsas funkcjoms bei jautrumozonai patikrinti. Nepriklausomai nuo ryskumo, užfiksavus judesj LED prožektorius jsijungia 10 s. Apie judejima pranešama buklès šviesos diodais. Irengimo režimas yra prioritetinis lyginant su kitais nustatymais. Irengimo režimas isjungiamas automatiskai po 10 min. Paspaudus atstatos mygtuka Irengimo režimas isjungiamas nedelsiant. Demesio! lsisavinimo ir Irengimo režimai negali buti naudiojamvienu metu.
9 Atstata: visu nustatymu atstatymas j rankiniu budu LED prozektoriuje nustatyas reiksmes arba gamyklinius nustatymus.
10 Bazinisapsvietimas: bazinio apšvietimo šviesos diodai užtikrina nedidelj apšviestuma. Pagrindinis apšvietimas jungiamas pasirinktam laikui tik tu o atveju, jei jautrumo zonoje fiksuojamas atitinkamas judesys. Po to šviestuvas persijungia j pasirinkta bazinj apšvietima.
,Bazinis apšvietimas (J)"
Išmanusis nuotolinio valdymo pultas (pasirinktinai)
(EAN 4007841009151)
- Valdymas išmaniuoju Telefonu arba planşetiniu kompiuteriu
-
Pakeičia nuotolinio valdymo pulta.
-
Atsisiyskite tinkama programèle ir susiekite per „Bluetooth“.
8. Valymas ir priežiura
Prietaisui techniné priežiūra nereikalinga.

Elektros srové kelia pavoju!
Ant daliu, kuriomis teka srové, patekus vandens galima patirti elektros smugj, nudegimus arbaŽuti.
Prietaisa valykite tik sausos buklles.
TTurto sugadinimo pavojus!
Naudodami netinkama valymo priemone galite sugadinti prietaisa.
- Prietaisa valykite siek tiek sudrekintu skudureliu be valymo priemoniu.
Svarbu: valdymo prietaisas nekeičiamas.

9. Šalinimas
Elektros prietaisai, baterijos, priedai ir pakuotès turi buti perdirbami aplinkai nekenksmingu budu.

Neišmeskite elektros prietajsu ir bateriju kartu su buitinémis atliekomis!
Nuotolinio valdymo pultelyje yra CR 2032 ličio mangano dioksido ir organinio elektrolito baterija.
Tik ES šalims
Pagal galiojanica Europos direktyva del elektros ir elektronines jrangos atlieku ir jos igyvendinimna nacionalineje teisejebebenaudiojama elektros jranga ir baterijos turi buti surenkamos atskirai ir perdirbamos aplinkai nekenksmingu budu.
10. Gamintojo garantija
Kaip pirkëjas, priereikus, turite jums jstatymu suteiktas teises, reiskiamas pardavëjui. Jeigu šios teasës egzistuoja jusu šalyje, mūsu garantija ju negalisumažinti arba apriboti. Suteikiame jums 5 metu garantija užtikrindami puikias savybes ir sklandu „STEINEL-Professional“ sensorinio gaminio veikima. Garantuojame, kad šiame gaminye nera medziagos, gamybos ir konstrukciniu defektu. Garantuojame sklandu visu elektroniniu daliu ir kabeliu veikima ir užtikriname, kad visos naudotos medziagos ir ju paviršiai yra be trūkumu.
Galiojimas:
jeigu norite pareikstipretenzija del gaminio, atsijskite jj visa, apmokejgabenimo išlaidas, su originaliu pirkimo dokumentu, kuriameturi buti nurodyta pirkimo data ir pavadinimas, pardavejui is kurio pirkote arba STEINEL atstovui Lietuvoje UAB KVARCAS (Neries krantine 32, Kaunas) arba tiesiaigamintojui siuo adresu: Neries krantine 32, LT-48463 Kaunas.
Todél rekomenduojame pirkimo dokumenta saugoti iki garantinio laiko pabaigos. STEINEL nedengia gabenimo išlaidu ir neatsako už rizika gražinant. Informacijos kaip pasinaudoti garantine teasirasite mūsù svetainëje info@ kvarcas.It.
Garantinio ivykio atveju arba jeigu turite klausimug, susijusiug su šiuo gaminiu, bet kada galite skambinti STEINEL atstovui Lietuvoje UAB KVARCAS (8-37-408030) arba tiesiogiaigamintojui jo aptarnavimo skyriaus budincija linija 8-37-408030.
11. Techninai duomenys
- Šviesos srautas / šviesumas:
XLED PRO ONE S: 2.204 lm
XLED PRO ONE PLUS S: 4.370 lm
XLED PRO ONE Max S: 6.116 lm
XLED PRO ONE: 2.236 lm
- Energijos sunaudojimas:
XLED PRO ONE S: 18,4 W
XLED PRO ONE PLUS S: 33,8 W
XLED PRO ONE Max S: 50,1 W
XLED PRO ONE: 17,7 W
- Apšviečiamas plotas:
XLED PRO ONE S: 180 cm²
XLED PRO ONE PLUS S / Max S: 254 cm²
XLED PRO ONE: 180 cm²
XLED PRO ONE PLUS / Max: 254 cm²
-Svoris:
XLED PRO ONE S: 1,45 kg
XLED PRO ONE PLUS S: 1,7 kg
XLED PRO ONE Max S: 1,72 kg
- Spalvos atkūrimo indeksas:
R_a≥ 80
- Sensorika:
XLED PRO ONE S / PLUS S / Max S:
Pasyvus infraraudonieji spinduliai
- Jautrumo zona:
XLED PRO ONE S / PLUS S / Max S: maks. 10 m
- Apimties kampas:
XLED PRO ONE S / PLUS S / Max S: 240°
- Laiko nustatymas:
XLED PRO ONE S / PLUS S / Max S: 8 s - 35 min
- Prieblandos nustatymas:
XLED PRO ONE S / PLUS S / Max S: 2- 2.000 liuksu
- IP apsaugos klase: IP44 / I
Atskiras kontaktas papildomam vartotojui, kurio jungimogalingumas XLED PRO ONE S / PLUS S / Max S:
- Kaitrines / halogenines lemputés apkrova: 1.500 W
- Liuminescincines lemos elektroniniai
paleidimo jrenginiai (EVG): 430 W
-Liuminescincines lempos,nekompensuotos: 500 VA
-Liuminescincines lempos, isilginé kompensacija:
900 VA
-Liuminescincines lempos,
kompensuojamos lygiagrečiuoju būdu: 500 VA
- Žemos jtamos halogeninés lempos: 1.500 VA
- LED šviestuva<2 W: 16 W
- 2 W<LED šviestuva< 8 W: 64 W
- LED šviestuva i > 8 W: 64 W
-Talpiné apkrova: 88 F
12. Trikciug salinimas
Prietaise nera jtampos.
- Saugiklis nejjungtas arba sugedes.
- Junkite saugiklj.
- Pakeiskite sugedusj saugiklj.
- Nutrūko laidas.
- Jtamos indicatorium patikrinkite linija.
- Tinklo jvade jvyko trumpasis jungimas.
- Patikrinkite jungtis.
- Issijungè tinklo jungiklis (jei yra).
- Junkite tinklo jungiklj.
Prietaisas nejsijungia.
-
Neteisingai nustatyas prieblandes lygis.
-
Iš naujo parinkite prieblandas lygio nustatyma.
-
Tinklo jungiklis išjungtas.
-
Nustatykite tinklo jungiklj.
-
Saugiklis nejjungtas arba sugedes.
-
Junkite saugiklj.
-
Pakeiskite sugedusj saugiklj.
-
Greiti judesiai slopinami siekiant sumažinti trukdžius arba jautrumo zona yra per maža arba nustatyta netinkamai.
-
Patikrinkite jautrumo zona ir sureguliuokite.
-
Lemputé sugedo.
-
Lemputé nekeičiama. Pakeiskite visa prietaisa.
Prietaisas neissijungia.
-
Nuolatinis judejimas aptikimo zonoje.
-
Patikrinkite aptikimo zona.
-
Esant poreikiui, apribokite arba pakeiskite jautrumo zona.
Prietaisas jsijungia nepageidaujamu laiku.
- Prietaisas sumontuotas nepakankamai tvirtai.
Prietaisa sumontuokite tvirtai.
-
Judesys buvo, taciau stebétojas jo nepažino (judesys už sienos, judejo mažas objektas arti lempos ir t. t.).
-
Patikrinkite veikimo zonos nustatymus.
-
Esant poreikiui, apribokite arba pakeiskite jautrumo zona.
LV
Sats
- Par šo dokumentu 826
- Vispareji drosibas noradijumi 826
- Ierices apraksts 827
- Elektriskais pieslęgums 835
- Montaža 837
- Funkcijas 847
- Piederums: Talmadibas pults 852
- Tirisana un kopsana 855
- Utilizacija 856
- Ražotāja garantija 857
- Tehniskie dati 858
- Traucejumu novarsana 860
1. Par šo dokumentu
- Autortiesibas ir aizsargatas. Parpublicesana, ari atseviisku izvilkumu veida, tikai ar musu atlauju.
- Paturam tiesibas veikt izmainas, kas saistitas ar tehnikas attistibu.

Notice-Facile