XLED PRO ONE S - Lamppu STEINEL - Ilmainen käyttöohje ja opas
Löydä laitteen käyttöohje ilmaiseksi XLED PRO ONE S STEINEL PDF-muodossa.
Lataa ohjeet laitteellesi Lamppu PDF-muodossa ilmaiseksi! Löydä käyttöohjeesi XLED PRO ONE S - STEINEL ja ota elektroninen laitteesi takaisin hallintaan. Tällä sivulla julkaistaan kaikki laitteidesi käyttöön tarvittavat asiakirjat. XLED PRO ONE S merkiltä STEINEL.
KÄYTTÖOHJE XLED PRO ONE S STEINEL
- Tämä asiakirja 343
- Yleiset turvaohjeet 343
- Laitteen osat 344
- Sähköliitäntä 352
- Asennus 354
- Toiminta 364
- Lisavarusteena staatava kaukosään 369
- Puhdistus ja hoito 372
- Havittäminen 373
- Valmistajan takuu 374
- Tekniset tiedot 375
- Viankorjaus 377
1. Tämä asiakirja
- Tekijänoikeudellisesti suojattu. Jälkipainatus (myös osittainen) sallittu vain, mikäli annamme siihen luvan.
- Oikeudet teknistä kehitystä palveleviin muutoksiin pidätetaän.

Varaohila ilmoittava varoitus!

Sähköstä aiheutuvista vaaroista ilmoittava varoitus!

Vedestä aiheutuvista vaaroista ilmoittava varoitus!
2. Yleiset turvaohjeet

Käytöohjeen laiminlyönnista aiheutuva vaara!
Tämä käyttoohje sisältaa tärkeitä laitteen turvalliseen käsittelyyn liittyviä tietoja. Mahdollisiin vaaroihin viitataan erikseen. Ohjeiden noudattamatta jättäminen voi johtaa kuolemaan tai vakaviin vammoihin.
Lue käyttoohje huolellisesti.
Huomioi turvaohjeet.
Sailytä helposti saatakilla.
- Sähkövirta voi johtaa vaarallisiin tilanteisiin. Sähköä johtavien osien koskettaminen voi johtaa sähköiskuun, palovammoihin tai kuolemaan.
- Vain ammatitaitoinen henkilokunta saa tehdä verkkojän-nitettä koskevat työt.
- Voimassa olevia asennus- ja liitäntäohjeita on noudatettava.
- Käytä ainoastaan alkuperäisia varaosia.
Vain ammattiykit saavat tehdä korjauksia.
3. Laitteen osat
Käytötarkoituksen mukainen käyttoXLED PRO ONE S / Plus S / Max S
- Infrapunaliiketunnistimella varustetty LED-valonheitin.
- Kiinnitys seinaan sisallä ja ulkona.
-Ei sovellu liitettavaksi himmentimeen.
Toimintaperiaate
- Infrapunatunnistin havaitsee likkuvista ihmisista, elämistä jne. lahdevän lampösseilyn. Lampösseily muunnetaan elektronisesti ja LED-valonheitin kytkeytyy automaattisesti paälle.
- Tunnistus tapahtuu varmimmin, kun laite asennetaansivuttain kulkusuuntaan nahden.
- Tunnistuksen toimintaetäisyys on lyhyempi kuljettaessa suoraan laitetta kohti.
- Esteet (esim. puut, muurit tai lasiruudut) voivat rajoittaa tunnistusta tai estaa sen.
- Säüssä tapahtuvia äkillisia lampötilan vaihteluita ei eroteta muista lammönlähteista.
Käytötarkoituksen mukainen käyttoXLED PRO ONE / Plus / Max
- LED-valonheitin.
- Kiinnitys seinaan sisallä ja ulkona.
-Ei sovellu liitettavaksi himmentimeen.
Käytötarkoituksen vastainen käytto
- LED-valonheitä ei voi himmentä.

Eihimmennettavissä
Toimituslaajuus
- XLED PRO ONE S
- XLED PRO ONE Plus S
- XLED PRO ONE Max S

3.1
- 1 infrapunaliiketunnistimella varustetu LED-valonheitin
-1kuusiokoloavain
-1 linssinsuojus
-2ruuvia
-2tulppaa - 2 aluslaattaa
- 2 kannatonta ruuvia
-1kaukosaaadinRC12 - 1 käytöturvallisuustiedote
- 1 Quick start -opas
Toimituslaajuus
-XLED PRO ONE
- XLED PRO ONE Plus
- XLED PRO ONE Max
3.2


- 1 LED-valonheitin
- 1 kuusiokoloavain
- 2 kannatonta ruuvia
- 2 ruuvia
- 2 tulppaa
- 2 aluslaattaa
- 1 käytöturvallisuustiedote
- 1 Quick start -opas
Tuotteen mitat XLED PRO ONE S
-XLED PRO ONE S (a)
- XLED PRO ONE Plus S (b)
- XLED PRO ONE Max S (c)
3.3

229 mm (a)
259 mm (b),(c)
182 mm (a)
202 mm (b),(c)

Tuotteen mitat XLED PRO ONE
- XLED PRO ONE (a)
- XLED PRO ONE Plus (b)
- XLED PRO ONE Max (c)
3.4

229 mm (a)
259 mm (b),(c)

182 mm (a)
202 mm (b),(c)
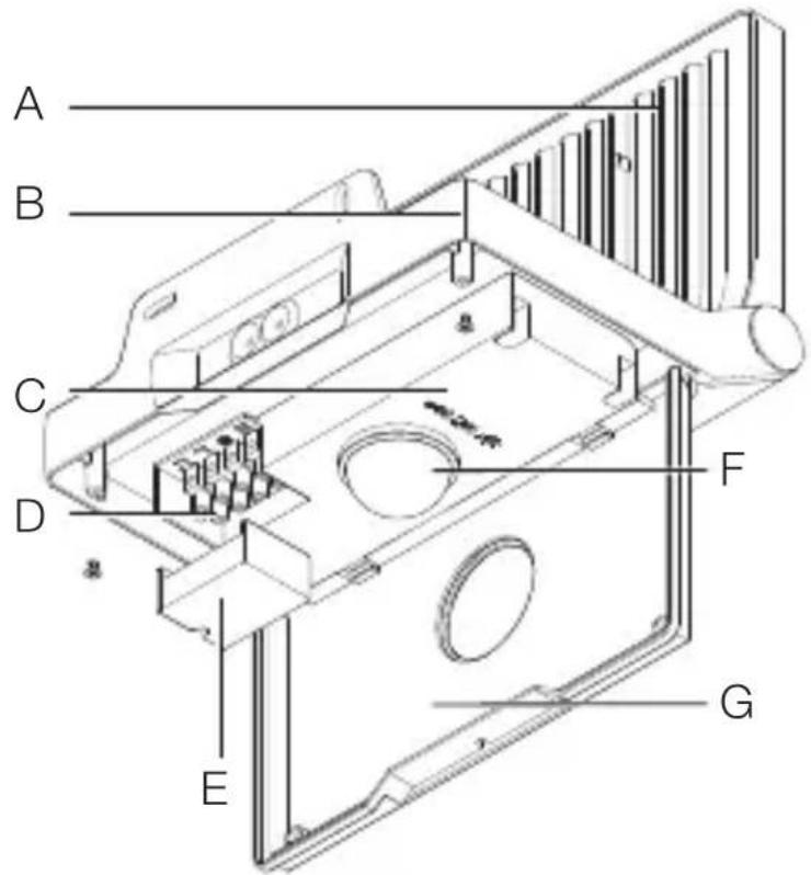
Laitteen yleiskuva XLED PRO ONE S / Plus S / Max S
3.5

FI
A LED-taulu
B Valipohjan Kannatin
C Saadin
D Kytkentaliitin
E Liitinkotelo
F Tunnistinyksikkö
G Suojus
3.6

H Kytkentaaajan asetus
I Hämärystason asetus
J Perusvalaistus
3.7

K Kaukosäädin RC 12
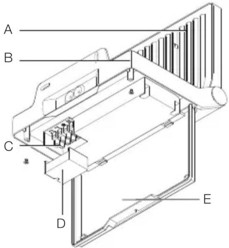
Laitteen yleiskuva XLED PRO ONE / Plus / Max
3.8

FI
A LED-taulu
B Valipohjan Kannatin
C Kytkentaliitin
D Liitinkotelo
E Suojus
4. Sahkoliitäntä
Kytkentäkaaviot XLED PRO ONE S / Plus S / Max S
4.1




Kytkentäkaaviot XLED PRO ONE / Plus / Max

4.2



Verkkjohtona käytetään 3-johtimista kaapelia:
L = varihe (useimmiten musta, ruskea tai harmaa)
N = nollajohdin (useimmitten sininen)
PE = suojamaajohdin (vihrea / keltainen)
Laite voidaan liittä sahköisesti myös verkkokytkimen perään, kun on varmaa, etta verkkokytkin on aina kytketynä paälle.
Laitteen LEDiä ei voi vaihtaa. Laite on tarvittaessa vaihdettava kokonaan.
Tämän valaisimen valonlähdettä ei voi vaihtaa; koko valaisin on vaihrettava uuteen, jos valonlähde ei enaä toimi (esim. sen käytöian paatytä).

5. Asennus

Sahkövirran aiheuttama vaara!
Sähköö johtavien osien koskettaminen voi johtaa sahköiskuun, palovammoihin tai kuolemaan.
- Katkaise virta.
- Tarkista jännitteettömyys jännitteenkoettimella.
- Varmista, etta virta ei palaudu.
Aineellisten vahinkojen vaara!
Liitäntäjohtojen vaihtuminen keskenään voi johtaa oikosulkuun.
Tunnista liitantajohdot.
Yhdistä liitantajohdot oikein.
Asennuksen valmistelu
- Tarkista, etta missaan komponentissa ei ole vaurioita.
Alä ota laitetta käyttoön, jos siinä on vikoja. - Valitse sopiva asennuspaikka.
-Huomioi toimintaetäisyys.
-Huomioi toiminta-alue.
-Tärinätön paikka.
-Toiminta-alueella ei ole esteita.
-Ei rajahdysvaarallisille alueille.
-Ei herkästi syttyville pinnoille.
-Ei mahdollisuutta katsoa valonlähteeseen lyhyeltä etäisyydeltä (< 30 cm).
-Etäisyys muihin LED-valonheittimiin vähintään 50 cm.

Toimintaetäisyss XLED PRO ONE S / Plus S / Max S
5.1
FI
Tunnistus sivuttain kulkusuuntaan nahden.
XLED PRO ONE S / Plus S / Max S
5.2

Tunnistus kulkusuunnassa
XLED PRO ONE S / Plus S / Max S
5.3

Laitteen suuntaaminen
5.4

- Suuntaa laite oikein.
FI
Asennuksen vaiheet

5.5


- Tarkista, etta virta on katkaistu.
- Merkitse reiät.

5.6


- Poraa reiät (Ø 6 mm) ja aseta tulpat.

5.7
FI
- Irrota suojus.

5.8
- Avaa suojus.

5.9
- Vedä kaapeli aukon lapi.

5.10
Kiinnitta asennusrauta.

5.11
FI

- Irrota liitinkotelo.
- Liitä verkkjoho to kytkentäkaavion mukaisesti.
→"4. Sähkölliitäntä"
5.12

Kiinnitä liitinkotelo.
5.13

- Sulje suojus.
Kierrä kiinnitysruuvit kiinni.
5.14


- Suuntaa valonheittimen taulu ja kiinnitä Kannattomilla ruuveilla.
5.15


Kytke virta paalle.
Saadà toiminnot.
→"6. Toiminta"
6. Toiminta
XLED PRO ONE S / Plus S / Max S
6.1



- Avaa suojus.
- Tee asetukset.
Tehdasasetukset
- Kytkentäajan asetus: 8 sekuntia
- Hämäryystason asetus: paiväkäytto 1.000 luksia
- Perusvalaistus: POIS PÄALTÄ
Kytkentaajan asetus (H)
Kytkentäajan asetus voidaan asettaa portaattomasti noin 8 sekunnin ja enintään 35 minuutin valille. Jokainen havaittu liike kytkee valon uudelleen.
Huomautus: LED-valonheitimen sammuttuakestäa aina noin yhden sekunnin, kunnes tunnistin reagoi jälleen likkeeseen toiminta-alueella. Sen jäldeen LED-valonheitin voi jälleen kytkeä valon liikkeen yhteydessä.
Toiminta-alueen säätämisen ja toiminnan testauksen ajaksi tunnistimen kytkentäika Kannattaa asettaa pienimmäksi mahdolliseksi.
Hämäryystason asetus (I)
Kytkeytymiskynnys (hamaryystaso) voidaan asettaa portaattomasti n. 2 luksin - 2.000 luksin valille.

päävääkäytö (valoisuudesta riippumatta)

hamärakäytto (n. 2 luksia)
Toiminta-alueen asettamisen ja toimintatestin suorittamisen ajaksi saadin on kaannettavä asentoon
Perusvalaistus (J)
Perusvalaistus perusvalaistuksen LEDillä mahdollistaa alhaisen valaistustehon.
Vain vastaava toiminta-alueella tapahtuva liike kytkee paëvalaistuksen valituksi ajaksi. Sen jälkeen valo kytkeytyy valittuun peruskirkkauteen.
- OFF = ei perusvalaistusta
- 10 min = perusvalaistus 10 minuuttia valitun kytkentä-ajan kuluttua umpeen.
-
30 min = perusvalaistus 30 minuuttia valitun kytkentä-ajan kuluttua umpeen.
-
C = perusvalaistus koko yön. Perusvalaistus heti, kun ympäristön valoisuus alittaa asetetun hamäryystason.
Jatkuvan valaistuksen kytkenta
6.2

FI
1) Jatkuvan valaistuksen kytkeminen paallee:
- Kytkin 2 x POIS PÄALTÄ ja PÄALLE.
LED-valonheitin kytketaan jatkuvan valaistuksen toimintoon 4 tunnin ajaksi. Sen jälkeen se siirtyy automaattisesti takaisin tunnistinkäyttoën.
2) Jatkuvan valaistuksen sammuttaminen:
- Kytkin 1 x POIS PÄALTÄ ja PÄALLE.
Valaisin kytkeytyy pois päältä / siirtyt y tunnistinkäyttoön.
Tärkeää:
Kytkennät on tehtävää 0,2 - 1 sekunnin sisällä.
Toiminta-alueen rajaaminen
Tahattoman tunnistuksen estämiseksi tai tiettyjen alueiden rajaamiseksi toiminta-aluetta voidaan rajata ja saaatä linssinsuojuksella.
6.3


- Aseta linssinsuojus tunnistimen paallee.
- Kiinnitä linssinsuojus sulkemalla suojus.
7. Lisävarusteena staatava kaukosäädin
Kaukosäedin RC 12
(EAN 4007841079000)
7.1

FI
- Helpottaa suurikokoisten valaistusjärkestelmien asentamista. LED-valonheittimet voidaan säätä yhdessä asennuksen jälkeen.
- Kaukosäätimellä voidaan ohjata kuinka montaa LED-valonheitintä tahansa.
- Jokainen painikkeen oikea painaminen kuitataan laitteessa status-LED-valon avulla.
Kaukosaatimessä RC12 käytetään tyypin CR2032 paristoa.
Kaukosäätimellä RC 12 voidaan käyttaa mallien XLED PRO ONE S / -Plus S / -Max S lisätoimintoja:
1 Kytkentäkynnys: Haluttu kytkeytymiskynnys voidaan asettaa portaattomasti noin 2 luksin - 2.000 luksin valille.
→"Hämärystason asetus (l)"
2 Päiväkäytö (valoisuudesta riippumatta)
3 Käytö pimeaan aikaan (2 luksia)
4 Kirkkauden säätö muistipainikkeella / Teachtoiminto (2-2.000 luksia). Tunnistimen asettaminen reagoimaan liikkeeseen tietyssa valossa: paina painiketta. Nykyinen arvo tallennetaan muistiin.
5 Kytkentäajanasetus: Viimeisimmän liikkeen tunnistuksen jälkeinen kytkentäaika voidaan asettaa painikkeita painamalla 10 sekunniks, 1 minuutiki, 5 minuutiki, 15 minuutiki.
→"Kytkentäajan asetus (H)"
6 Haluttu kytkentäaika: kytkentäajan asettaminen halutuksi ajaksi. Jokainen painikkeen painaminen pidentä nykyistä kytkentäaikaa 1 minuutilla (enint. 15 min).
7 Jatkuvan valaistuksen kytkenta:
LED-valonheitin kytketaan tunnistinkäytössä 4 tunniksi painiketta painamalla (status-LED palaa jatkuvasti). LED-valonheitin kytketaan 4 h -ON-käytössä pois pälta 4 tunniksi (status-LED palaa jatkuvasti). 4 h -toiminosta poistutaan, kun aika on kulunut loppuun, kun painetaan Reset-painikettatai 4 h -OFF-käytössä 4 h -painiketta.
"Jatkuvan valaistuksen kytkentä"
8 Asennustoiminto(testoiminto): Asennustoimintoa tarvitaan toiminnallisuuden ja toiminta-alueen tarkastamiseen. LED-valonheitin kytkeytyy paallee 10 sekunnin ajaksi liikkeen yhteydessä kirkkaudesta riippumatta. Liikkeestä ilmoitetaan status-LED-valon avulla. Asennustoiminto ohittaa kaikki muut asetukset. Asennustoiminna poistutaan automaattisesti 10 minuutin kuluttua. Asennustoiminna poistutaan valittomästi, kun painetaan Reset-painiketta. Huomio: Teach-toimintoa ja asennustoimintoa ei voi käyttaa samanaikaisesti.
9 Palautus: Kaikkien asetusten palauttaminen LED-valonheittimen manuaalisesti asetettuihin arvoihin / tehdasasetuksiin.
10 Perusvalaistus: Perusvalaistus perusvalaistuksen LEDillä mahdollistaa alhaisen valaistustehon. Vain vastaava toiminta-alueella tapahtuva liike kytkee paëvalaistuksen valituksi ajaksi. Sen jälkeen valo kytkeytyy valittuun peruskirkkauteen.
"Perusvalaistus (J)"
Alykas kaukosädin (valinnainen)
(EAN 4007841009151)
- Ohjaus älypuhelimella tai tablettitietokoneella.
-
Korvaa kaukosäätimen.
-
Lataa sopiva sovellus ja yhdistä Bluetooth-yhteyden avulla.
8. Puhdistus ja hoito
Laite on huoltovapaa.

Sähkövirran aiheuttama vaara!
Veden pääseminen kosketuksiin sahköä johtavien osien kanssa voi johtaa sahköiskuun, palovammoihin tai kuolemaan.
- Puhdista laite vain kuivana.
Aineellisten vahinkojen vaara!
Väärén puhdistusaineiden käytö voi vioittaa laitetta.
- Puhdista laite vain hieman kostutetulla liinalla ilman puhdistusaineita.
Tärkeää: Kayttolaitetta ei voi vaihtaa uuteen.

9. Havittäminen
Sähkölaitteet, paristot, tarvikkeet ja pakkaukset on toimitettava ympäristöystävälliseen kierrätykseen.

Äläheitä sähkölateita ja paristoja talousjatteiden sekaan!
Kaukosaädin sisältaa tyypin CR 2032 Li-Mn-Dioxid / Organic Electrolyte pariston.
Koskee vain EU-maita:
Voimassa olevan eurooppalaisen sahkö- ja elektroniikkaromua koskevan direktiivin ja sen kansalliseen lainsäddantöön saattamisen mukaisesti kayttökelvottomat sahkölaitteet on koottava erikseen ja toimitettava ympäristöystavalliseen kierrätykseen.
10. Valmistajan takuu
Valmistajan takuu STEINEL GmbH, Dieselstraße 80-84, DE-33442 Herzebrock-Clarholz, Saksa
Ostajana sinulla on oikeus omassa maassasi voimassa oleviin lakisäteisiin takuuoikeuksiin. Tämä takuilmoitus ei lyhennä tai rajoita niitä. Myönnämme sinulle STEINEL-Professional-tunnistintekniikantuotteen moitteettomia ominaisuksia ja asianmukaista toimintaakoskevan 5 vuoden takuun. Takaamme, ettei tassutotteessa ole materiaali-, valmistus- ja rakennevikoja. Takaamme kaikkien elektronisten rakenneosien ja johtojentoimitakyvyn sekä kaikkien käytettyjen raaka-aineiden ja niiden pintojen virheettömyyden.
Vaatimuksen esittäminen:
Jos haluat tehdä tuotteestasi reklamaation, toimita tuotetäydellisenä ja rahti maksettuna yhdessä ostotositteen (sisällettävä tiedot OSTopaiväyksestä ja tuotenimikkeestä) kanssa OSTopaikkaan. Suosittelemme siksi ostotositteenuholellista säilyttämistä aina takuuajan päättymiseen asti.
STEINEL ei vastaa palautukseen liittyvista kuljetuskuluista ja -riskeistä. Tietoja vaatimuksen esittämisestä takuutapauksessa loytyk kotisivuil-tamme www.steinel-professional.de/garantie
11. Tekniset tiedot
-
Verkkojannite: 220-240 V, 50/60 Hz
-
Teho / hyötysuhde:
XLED PRO ONE S: 120 lm/W
XLED PRO ONE PLUS S: 129 lm/W
XLED PRO ONE Max S: 122 lm/W
XLED PRO ONE: 126 lm/W
- Valovirta / kirkkaus:
XLED PRO ONE S: 2.204 lm
XLED PRO ONE PLUS S: 4.370 lm
XLED PRO ONE Max S: 6.116 lm
XLED PRO ONE: 2.236 lm
-
Valon vari: 3.000 K (lammmin valkoinen)
-
Värintoistoindeksi:
R≥80
-Tunnistinteknijkka:
XLED PRO ONE S / PLUS S / Max S: passiivinen infrapuna
- Toimintaetäisyys:
XLED PRO ONE S / PLUS S / Max S: enint. 10 m
-Toimintakulma:
XLED PRO ONE S / PLUS S / Max S: 240°
- Kytkentäajan asetus:
XLED PRO ONE S / PLUS S / Max S: 8 s-35 min
- Hämäryystason asetus:
XLED PRO ONE S / PLUS S / Max S: 2- 2.000 lukeia
- IP-suojausluokka:
IP44 / I
Lisakytkentäteho
XLED PRO ONE S / PLUS S / Max S:
- Hehku- / halogeenilampun kuorma: 1.500 W
- Loistelamput, elektr. liitantälaitteet: 430 W
- Loistelamput, kompensoimaton: 500 VA
- Loistelamput, sarjakompensoitu: 900 VA
- Loistelamput, rinnakkain kompensoitu: 500 VA
- Pienjännitehalophageenilamput: 1.500 VA
- LED-lamput < 2W : 16W
- 2 W < LED-lamput < 8 W: 64 W
- LED-lamput > 8 W: 64 W
- Kapasitiivinen kuorma: 88 F
12. Viankorjaus
Laitteessa ei ole jannitettä.
-
Sulaketta ei ole kytketty paallee tai se on vialinen.
-
Kytke sulake paallee.
Vaihda viallinen sulake. -
Katkos johdossa.
- Tarkasta johto jannitteenkoettimella.
- Oikosulku verkkojohdossa.
- Tarkasta liitännät.
- Valo sammutetu mahdollisesti verkkokytkimellä.
- Kytke verkkokytkin pälle.
Laite ei kytkeydy paalle.
-
Väärä hamäryystason asetus.
-
Sääddä hamärystaso uudelleen.
-
Verkkokytkin pois päältä.
Säädä verkkokytkin.
-
Sulaketta ei ole kytketty paallee tai se on vialinen.
-
Kytke sulake pälle.
Vaihda vialinen sulake.
-
Nopeat likkeet ohitetaan Häiriöiden minimoiniseksi tai toiminta-alue on asetetu liian pieneksi tai värärin.
-
Tarkista ja säädä toiminta-alue.
-
Valonlähde viallinen.
-
Valonlähdettä ei voi vaihtaa. Vaihda laite kokonaan uuteen.
Laite ei kytkeydy pois.
-
Jatkuvaa likettä toiminta-alueella.
-
Tarkista toiminta-alue.
Rajaa tai muuta toiminta-aluetta tarvittaessa.
Laite kytkeytyy ei-toivotusti pälle.
-
Laitetta ei ole asennettu liikkumattomasti.
-
Asenna laite liikkumattomalle alustalle.
-Liikettä on ollut, mutta tarkkailija ei pystynyt havaitsemaan sitä (like seinän takana, pienen kohteen liike valaisimen valittomässä laheisyydessä jne.)
- Tarkista alue.
Rajaa tai muuta toiminta-aluetta tarvittaessa.
NO
Innhold
- Om dette dokumentet 380
- Generelle sikkerhetsinstrukser 380
3.Beskrivelse avenheten 381
4.Elektrisk tlikobling 389 - Montering 391
- Funksjon 401
- Tilbehør fjernkontroll 406
- Rengjoring og stell 409
- Avfallsbehandling 410
- Produsentgaranti 411
- Tekniske spesifikasjoner 412
- Utbedring av feil 414
Euuypauiotε ootá tn ouokuen.
GR
Bnμata εykaṭασtaŋç
5.5



- loxuc / aiooToikóTeta:
XLED PRO ONE S: 120 lm/W
XLED PRO ONE PLUS S: 129 lm/W
XLED PRO ONE Max S: 122 lm/W
XLED PRO ONE: 126 lm/W
-1LED-kiirgur
-1kuuskantvoti
- 2 peitpeakruvi
- 2 kruvi
-2tüblit
- 2 alusseibi
- 1 ohutuskaart
-1kiirjuhend
EE
- Kruvige kinnitusklamber kinni.

5.11

- lüliti 2 x VÄLJA ja SISSE.
- lüliti 1 x VÄLJA ja SISSE.
Valgusti lulitub valja voi laheb ue sensorireziimile.
Tähtis!
Notice-Facile