XLED PRO ONE S - Lampe STEINEL - Gratis brugsanvisning og manual
Find enhedens vejledning gratis XLED PRO ONE S STEINEL i PDF-format.
Download vejledningen til din Lampe i PDF-format gratis! Find din vejledning XLED PRO ONE S - STEINEL og tag din elektroniske enhed tilbage i hånden. På denne side er alle dokumenter nødvendige for brugen af din enhed offentliggjort. XLED PRO ONE S af mærket STEINEL.
BRUGSANVISNING XLED PRO ONE S STEINEL
- Om dette dokument 306
- Generelle sikkerhedsanvisninger 306
- Beskrivelse af encheden 307
- Elektrisk tilslutning 315
- Montering 317
- Funktion 327
- Tilbehør, fjernbetjening 332
- Rengoring og vedligeholdelse 335
- Bortskaffelse 336
- Producentgaranti 337
- Tekniske data 338
- Afhjælpning af fejl 340
1. Om dette dokument
- Ophavrsretligt beskyttet. Eftertryk, ogsa i uddrag, kun med vores tilladelse.
- Vi forbeholder os ret til ændringer af hensyn til den tekniske udvikling.

Advarsel mod farer!

Advarsel mod farer på grund af strøm!

Advarsel mod farer på grund af vand!
2. Generelle sikkerhedsanvisninger

Fare, hvis brugsanvisningen ikke fjolges!
Denne brugsanvising indeholder vigtige informationer om sikker handtering af enheden. Der gores specifikt opmærk-som på mulige farer. Manglende overholdelse kan medfrole donden eller alvorlige kvæstelser.
-
Laes brugsanvisingen omhyggeligt.
Folg sikkerhedsanvisningerne.
Opbevar brugsanvisingen, sa der er adgang til den. -
Händtering af elektrisk strøm kan medføre farlige situationer. Berøring af strøm f Orende dele kan give elektrisk stød, forbrændinger og medfør dodsfald.
- Arbejde på netspænding på kun udføres af kvalificeret fagpersonale.
- Overhold det pagældende lands installationsforskrifter og tilstuningsregler (f. eks. DE: VDE 0100, AT: ÖVEÖNORM E8001-1, CH: SEV 1000).
- Brug kun originale reservedele.
- Reparationer mag kun udfores af specialvirksomheder.
3. Beskrivelse af encheden
Korrekt anvendelse
XLED PRO ONE S / Plus S / Max S
- LED-projektør med infrarød bevægelsessensor.
- Indendørs og udendørs vægmontering.
- Ikke egnet for tilslutning til lysdaemper.
Funktionsprincip
- Den infrarode sensor registrarer varme udstrålingen fra genstande (f. eks. mennesker, dyr), der bevæger sig. Varmeudstrålingen omsættes elektronisk og tænder automatisk LED-projektoren.
- Den sikreste bevægelsesovervågning foretages ved at montere encheden på tværs af gangretningen.
- Bevægelsesovervågningens rækkevidde er begraenset, hvis du går direkte hen mod encheden.
- Bevægelsesovervågningen kan nære begrænset eller umulig på grund af forbindringer (f.eks. traær, mure eller vinduesruder).
- Der skelnes ikke mellem pludselige temperaturudsving pga. vejret og varmekilder.
Korrekt anvendelse
XLED PRO ONE / Plus / Max
-LED-projektør.
- Indendørs og udendørs vægmontering.
- Ikke egnet for tilslutning til lysdaemper.
Ukorrekt anvendelse
- LED-projektoren kan/DDempes.

Kan/DDempes
Leveringsomfang
- XLED PRO ONE S
- XLED PRO ONE Plus S
- XLED PRO ONE Max S

3.1
- 1 LED-projektör med infrarod bevægelsessensor
- 1 unbrakonøgle
- 1 afdaekning
- 2 skruer
- 2 rawlplugs
- 2 spændeskiver
- 2 gevindtapper
- 1 fjernbetjening RC 12
- 1 sikkerhedsdatablad
-1Quick-Start
Leveringsomfang
-XLED PRO ONE
- XLED PRO ONE Plus
- XLED PRO ONE Max

3.2

- 1 LED-projektør
- 1 unbrakonøgle
- 2 gevindtapper
- 2 skruer
- 2 rawlplugs
- 2 spændeskiver
-1 sikkerhedsdatablad - 1 Quick-Start
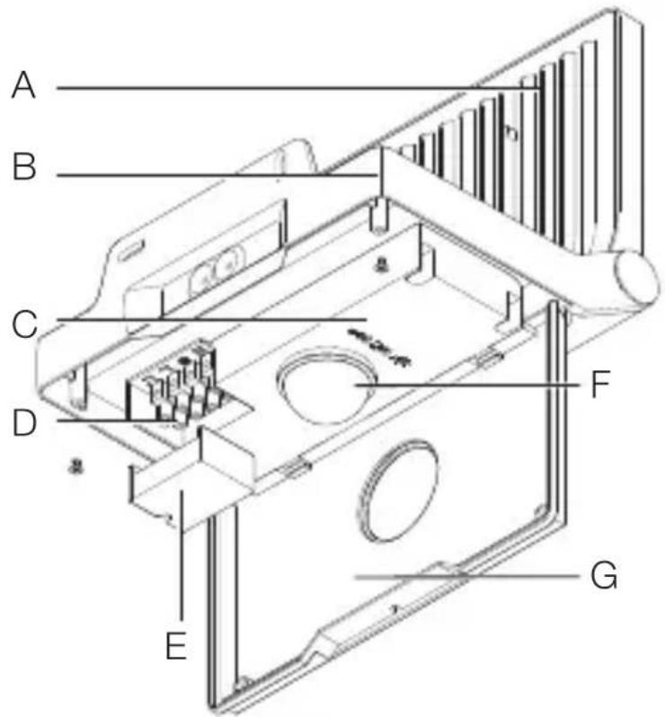
Oversigt over enhed XLED PRO ONE S / Plus S / Max S
3.5

A LED-projektørhoved
B Monteringsbøjle
C Indstillingsknap
D Tilslutningsklemme
E Klemmekappe
F Sensorenhed
G Kappe
3.6

H Tidsindstilling
Skumringsindstilling
J Grundlys
3.7

K Fjernbetjening RC 12
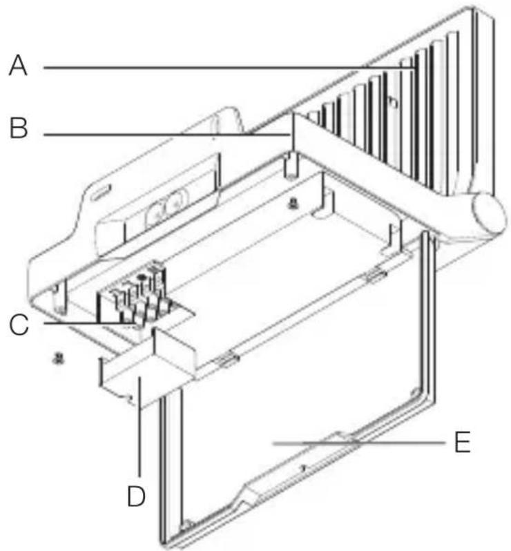
Oversigt over enhed XLED PRO ONE / Plus / Max
3.8

A LED-projektørhoved
B Monteringsbøjle
C Tilslutningsklemme
D Klemmekappe
E Kappe
Nettilforslen bestar af en ledning med 3 ledere:
L = fase (oftest sort, brun aller grä)
LED'en i donne enhed kan ikke udskiftes. Hvis det bliver不同程度, skal—hele enheden udskiftes.
Lyskilden i++, danne lampe kan化进程. Hvis lyskildenskal udskiftes (f.eks. när den化进程, skal hele lampen udskiftes.

5. Montering

Beröring af strømførende dele kan give elektrisk stød, forbrændinger og medføre dødsfald.
- Slå strømmen fra, og afbryd spændingstilførslen.
- Kontroller med en spændingstester, om spændingen er afbrudt.
- Sørg for, at spændingstilførslen forblinger afbrudt.
Fare for materielle skader!
Ombytning af tilslutningsledningerne kan medføre kortslutning.
- Identificer til Slutningsledningerne.
- Forbind tilslutningsledningerne korrekt.
Forberedelse af montering
- Kontroller alle komponenter for beskadigelser. Er enheden beskadiget, ma den ikke tages i brug.
Vaelg et egnet monteringssted.
-Tag hensyn til rækkevidden
-Tag hensyn til bevægelsesregisteringen
-Vibrationskrit.
-Overvågningsområde Eden forhind ringer.
- Ikke i eksplosionsfarlige områder.
- Ikke på let brændbare overflader.
- Ingen mulighed for at se ind i lyskilden fra kort afstand (< 30 cm).
-Mindst 50~cm afstand til andre LED-projektorer.
Rækkevidde for XLED PRO ONE S / Plus S / Max S

5.1
Bevægelsesovervågning på tværs af gangretningen XLED PRO ONE S / Plus S / Max S
5.2

DK
Bevægelsesovervågning i gangretningen XLED PRO ONE S / Plus S / Max S
5.3

Justering af enheden
5.4

- Juster enheden korrekt.
Monteringstrin

5.5


DK
- Kontroller, at spændingstilførslen er afbrudt
- Markér borehullerne

5.6


- Skru klemmekappen på.
5.13

Luk kappen.
- Skru sikringsskruerne i
5.14


- Slå strømforsyningen til
- Indstil Funktionerne.
- Skru kappen på.
- Foretag indstillinger.
Standardindstlinger
- Tidsindstilling: 8 sekunder
- Skumringsindstilling: Dagslysdrift 1.000 lux
- Grundlys: SLUKKET
Tidsindstilling (H)
Slukningsforsinkelsen kan indstilles trinløst fra ca. 8 sekunder til maks. 35 minutter. Enhver registreret bevægelse taender lyset igen.
Bemærk: Hver gang LED-projektøren slukkes, er en ny bevægelsenregistrering spærret i ca. 1 sekund. Derefter kan LED-projektørenændesigen ved bevægelse.
Ved justering af overvågningsområdet og ved Funktionstesten anbefales det at indstille den korteste tid.
Skumringsindstilling (I)
Aktiverings lysstyrken (skumring) kan indstilles trinløst fra ca. 2-2.000 lux.
- dagslystilstand (uafhaengigt af lysstyrke)
- = skumringsindstilling (ca. 2 lux)
Ved indstilling af overvågningsområdet og Funktionstest i dagslys skal indstellingsknappen stå på
Grundlys (J)
Grundlysstyrken ved hjælp af grundlys-LED'er sørger for et lavt belysningsniveau.
Hovedlyset tændes kun i den valgte tid, narr der registrereres en bevægelse i overvågningsområdet. Derefter skifter lyset til den valgte grundlysstyrke.
- OFF = intet grundlys
- 10 min = grundlys i 10 minutes after at den indstillede afterløbstid er udløbet.
-
30 min = grundlys i 30 minutes after at den indstillede afterløbstid er udløbet.
-
(C) = grundlys—hele natten. Grundlys, sä snart det omgivende lyskommen under den indstillede aktiveringstaerskel.
Permanent lys
6.2

1) Tænd permanent belysning:
LED-projektoren stilles på permanent lys i 4 timer. Derefter skifter den automatisk tilbage til sensorstyring.
2) Sluk permanent belysning:
Tænd og sluk skal udføres inden for 0,2 til 1 sekund.
Justering af overvågningsområde
For at udelukkeutilsigtet registreringller mårettet at overvåge bestemte områder kan overvågningsområdet begræses og justeres med afdækningen.
6.3


Anbring afdækningen på sensoren.
- Fastgor afdækningen ved at lukke kappen.
7. Tilbehør, fjernbetjening
Fjernbetjening RC 12
(EAN 4007841079000)
7.1

- Letter installationen af større belysningsanlag. LED-projektörerne kan indstilles samtidig after installationen.
- Du kan styre et vilkårligt antal LED-projektører med fjernbetjeningen.
- Ethvert gyldigt tryk på en knap bekraeftes på encheden ved hjælp af en status-LED.
I fjernbetjeningen RC12 anvendes et batteri af typen CR2032.
Med fjernbetjeningen RC 12 kan du bruge yderligere functi. tioner i XLED PRO ONE S / Plus S / Max S:
1 Skumringsindstilling: Den ønskede reaktionsværdi kan indstilles på ca. 2 - 2.000 lux.
→"Skumringsindstilling (l)"
2 Dagslystilstand (uafhaengigt af lysstyrke)
3 Nattilstand (2 lux)
4 Lysstyrkeindstilling vha. Gem-knappen / Teach-tilstand (2 - 2.000 lux). Ved lysforhold, hvor sensoren fremtidigt ønskes aktiveret ved bevægelse: Tryk på knappen. Den aktuelle værdi gemmes.
5 Tidsindstilling: Ved at trykke på knapperne kan du indstille den ønskede lysperiode after den seneste registrarering af bevægelser til 10 s, 1 min, 5 min og 15 min.
"Tidsindstilling (H)"
6 Ønsket lysvarighed: Indstilling af lysvarigheden på en ønsket tid. Hver gang du trykker på en knap, øges den aktuelle tidsindstilling med 1 min (maks. 15 min).
7 Permanentlys:
Når du trykker på en knap i sensordrift, tændes LED-projektoren i 4 h (status-LED'en lyser permanent). Når du trykker på knappen i 4 h-ON-drift, slukkes LED-projektoren i 4 h (status-LED'en lyser permanent). 4 h-driften forlades ved, at tiden udløber, ved at trykke på reset-knappen eller i 4 h-OFF-drift ved at trykke på 4 h-knappen.
→"Permanent lys"
8 Install-tilstand (test-tilstand): Install-tilstand anvendes til kontrol af Funktionerne samt overvågningsområdet. LED-projektoren tændes i 10 s ved bevægelse uanset lysstyrke. Bevægelse signaleres via status-LED'en. Install-tilstand har forsteprioritet i forhold til alle andre indstillinger. Install-tilstanden forlades automatisk after 10 min. Efter et tryk på tasten Reset forlades Install-tilstand straks.
OBS: Teach-tilstand og Install-tilstand kan/DD anvendes samtidig.
9 Reset: Reset af alle indstillinger til fabriksindstillinger aller indstillinger, der er foretaget manuelt på LED-projektoren.
10 Grundlys: Grundlysstyrken ved hjælp af grundlys-LED'er sørger for et lavt belysningsniveau. Hovedlyset tændes kun i den valgte tid,.nr der registrereres en bevægelse i overvågningsområdet. Derefter skifter lyset til den valgte grundlysstyrke. "Grundlys (J)"
Intelligent fjernbetjening (ekStraudstyr)
(EAN 4007841009151)
- Styring via smartphone eller tablet.
-
Erstatter fjernbetjeningen.
-
Installer den passende app, og tilslut via Bluetooth.
Hvis vandkommen i Kontakt med strømførende dele, kan det medføre elektrisk stød, forbrændinger eller død.
- Rengør kun encheden, hvis den er tør.
Fare for materielle skader!
Produkt kan blive beskadiget pga. forkerte rengörings-midler.
- Rengør Produktet med en let fugtig klud,uden rengor-ringsmiddel.
Vigtigt: Transformeren kan/DDskiftes.

9. Bortskaffelse
Smid/DD elapparater og batterier ud sammen med husholdningsaffaldet!
Fjernbetjeningen indeholder et batteri af typen CR 2032 Li-Mn-Dioxid / Organic Elektrolyte.
Kun for EU-lande:
I henhold til det europæiske direktiv om kasserede el- og elektronikapparater og dettes implementering i national lovgivning skal kasserede elapparater og batterier sorteres, indsamles og bortskaffes til miljøvenlig genvinding.
10. Producentgaranti
Producentgaranti STEINEL GmbH, Dieselstraße 80-84, DE-33442 Herzebrock-Clarholz, Tyskland
Som køber har du de lovbestemte rettigheder over for sælger. Sæfremt disse rettigheder eksisterer i dit land, hverken afkortes eller begrænses de af vores garantierklæring. Vi giver 5 Års garanti for fejlfri og korrekt Funktion på dit STEINEL-Professional-sensortechnologi-produkt. Vi garanteer, at dette produit ikke har materiale-, Produktions-ller konstruktionsfejl. Vi giver garanti for alle elektroniske komponenters og kablers Funktionsevne og for, at alle anvendte materialer og disses overflader ikke har mangler.
Fremsættelse af krav:
Hvis du vil fremsætte en reklamation over dit produit, bedes du sende produit komplet og fragtrit med den originale købsdokumentation, som skal indeholde købs-dato og produktbetegnelse, til din forhandler Wexøe A/S, Installation Division, Lejrvej 31, DK-3500 Værlose.
Vi anbefaler, at du opbevarer din købsdokumentation sikkert, indtil garantiperioden er udløbet. Roliba A/S hæfter ikke for transportomkostninger og risici under returnerin-gen afproduktet.
Du finder informationer om gennemførelse af et garantikrav på vores hjemmeside www.wexoe.dk
Hvis du har et garantitilfælde eller et spørgsmål til dit produit, kan du altid ringe på tlf. (+45) 45 46 58 00.
11. Tekniske data
- Mäl (H × B× D):
XLED PRO ONE S: 230 × 229 × 182 mm
XLED PRO ONE PLUS S / Max S: 250 × 259 × 202 mm
XLED PRO ONE: 206 × 229 × 182 mm
XLED PRO ONE PLUS / Max: 226 × 259 × 202 mm
-
Netspænding: 220-240 V, 50/60 Hz
-
Effekt / effektivitet:
XLED PRO ONE S: 120 lm/W
XLED PRO ONE PLUS S: 122 lm/W
XLED PRO ONE: 126 lm/W
Enhed.uden spænding.
-
Sikring/DD:
-
Slå sikringen til.
-
Udskift den defekte sikring.
-
Ledning afbrudt.
- Kontroller ledningen med en spændingstester.
-Kortslutning i nettilforslen. - Kontroller tilslutningerne.
- En eventuel netafbryder er slæt fra.
- Slå netafbryderen til.
Enheden tænder ikke.
-
Der er valgt en forkert skumringsindstilling.
-
Indstil skumringsindstillingen ingen.
-
Netafryder SLUKKET.
-
Indstil netafbryderen.
-
Sikring/DD:
-
Slå sikringen til.
-
Udskift den defekte sikring.
-
Hurtige bevægelser undertrykkes for at minimere fejl, aller der er indstillet et for lille eller ukorrekt overvågningsområde.
-
Kontroller og juster overvågningsområdet.
-Lyskilde defekt.
- Lyskilden kan/DDskiftes. Udskift encheden komplet.
Enheden slukker称之.
-
Konstant bevægelse i overvågningsområdet.
-
Kontroller overvågningsområdet.
-
Begraens aller ændr overvågningsområdet om nødvendigt.
Enheden tænder uønsket.
-
Enheden er ikke fast monteret.
-
Monter encheden, sá den sidder fast.
-
Der var en bevægelse, som dog ikke blev set af iagttageren (bevægelse bag vaeg, et[lille objekt har bevæget sig umiddelbart iærheden af lampen osv.).
-
Kontroller området.
-
Begraens aller ændr overvågningsområdet om nødvendigt.
FI
Sisällysluettelo
1. Om dette dokumentet
- Med opphavrsrett. Ettertrykk, ögså i utdrag, kun med varr tillatelse.
- Det tas forbehold om endringer som tjener tekniske fremskritt.
Advarsel om fare!
LED-ene i donne encheten kan ikke skiftes ut. Om不同程度, på hele encheten skiftes ut.
Lyskilden i++, danne lampen kan化进程 ut. Dersom lyskilden skal erstattes (f.eks. mot slutten av levetiden), ma hele lampen skiftes ut.

5. Montering

- Identifiser tilkoblingsledningene.
- Koble tilkoblingsledningene korrekt til.
Forberede montering
- Kontroller alle komponenter for skader. Ikke ta encheten i bruk hvis den er skadet.
- Velg et egnet monteringssted.
-Ta hensyn tilrekkevidden.
-Ta hensyn til bevegelsesregisteringen.
-Vibrasjonsfritt.
-Dekningsområdet er fritt for vindre.
- Ikke i eksplosive omgivelser.
- Ikke pålett antennelige overflater.
- Ikke se inn i lyskilden på kort avstand (< 30 cm).
-Hold minst 50 cm avstand til andre LED-lyskastere.
Rekkevidde XLED PRO ONE S / Plus S / Max S
5.1

Koblingsprosessene ma finne sted innenfor et område på 0,2 til 1 sekund.
7. Tilbehør fjernkontroll
Fjernkontroll RC 12
(EAN 4007841079000)
7.1

- Gjør det enklere Å installere større belysningsanlegg. LED-lyskasterne kan stilles inn samtidig etter installationen.
- Med fjernkontrollen kan det styres sö mange LEDlyskastere som ønsket.
- Hvert gyldige trykk på en tast kvitteres via en status-LED på,enheten.
-
Skift ut defekt sikring.
-
Raske bevegelserndertrykkes for feilminimering,
eller det er stilt inn et for lite aller ikke korrekt dekningsområde -
Kontroller og juster dekningsområdet.
-
Lyskilden er defekt.
-
Lyskilden kan/DDke skiftes ut. Skift ut hele enheten.
Notice-Facile