XLED PRO ONE S - Лампа STEINEL - Бесплатное руководство пользователя
Найдите руководство к устройству бесплатно XLED PRO ONE S STEINEL в формате PDF.
Скачайте инструкцию для вашего Лампа в формате PDF бесплатно! Найдите своё руководство XLED PRO ONE S - STEINEL и возьмите своё электронное устройство обратно в руки. На этой странице опубликованы все документы, необходимые для использования вашего устройства. XLED PRO ONE S бренда STEINEL.
РУКОВОДСТВО ПОЛЬЗОВАТЕЛЯ XLED PRO ONE S STEINEL
- Dimensions (H× W× D) ..
XLED PRO ONE S: 230 × 229 × 182 mm
XLED PRO ONE PLUS S / Max S: 250 × 259 × 202 mm
XLED PRO ONE: 206 × 229 × 182 mm
XLED PRO ONE PLUS / Max: 226 × 259 × 202 mm
-
Power supply: 220 - 240 ~V, 50 / 60 ~Hz
-
Output / efficiency:
XLED PRO ONE S: 120 lm/W
XLED PRO ONE PLUS S: 129 lm/W
XLED PRO ONE Max S: 122 lm/W
XLED PRO ONE: 126 lm/W
- Dimensions (H× I× P) ..
XLED PRO ONE S : 230 × 229 × 182 mm
XLED PRO ONE PLUS S / Max S : 250 x 259 x 202 mm
XLED PRO ONE: 206 × 229 × 182 mm
XLED PRO ONE PLUS / Max : 226 × 259 × 202 mm
-Afmetingen (H× B× D)
XLED PRO ONE S: 230 × 229 × 182 mm
XLED PRO ONE PLUS S / Max S: 250 × 259 × 202 mm
XLED PRO ONE: 206 × 229 × 182 mm
XLED PRO ONE PLUS / Max: 226 × 259 × 202 mm
- Netspanning: 220 - 240 V, 50/60 Hz
-Vermogen / efficientre:
XLED PRO ONE S: 120 lm/W
XLED PRO ONE PLUS S: 129 lm/W
XLED PRO ONE Max S: 122 lm/W
XLED PRO ONE: 126 lm/W
-Mitat (K× L× S) ..
XLED PRO ONE S: 230 × 229 × 182 mm
XLED PRO ONE PLUS S / Max S: 250 × 259 × 202 mm
XLED PRO ONE: 206 × 229 × 182 mm
XLED PRO ONE PLUS / Max: 226 × 259 × 202 mm
- Matmenys (I× P× A) ..
XLED PRO ONE S: 230 × 229 × 182 mm
XLED PRO ONE PLUS S / Max S: 250 × 259 × 202 mm
XLED PRO ONE: 206 × 229 × 182 mm
XLED PRO ONE PLUS / Max: 226 × 259 × 202 mm
-
Tinklo jtampa: 220-240 V, 50/60 Hz
-
Galingumas / efektyvumas:
XLED PRO ONE S: 120 lm/W
XLED PRO ONE PLUS S: 129 lm/W
XLED PRO ONE Max S: 122 lm/W
XLED PRO ONE: 126 lm/W
3.Описане на устюствOTO
K Дистанционно управленье RC 12
Засиане по посокату на движениXLED PRO ONE S / Plus S / Max S
5.3

HacouBaHe Ha ypeDa
5.4

- YpeIbT da ce HacOuN npaBnJIHo.
7.ПринадлжноTNДИСТаHцINHOуправleness
При натусяне на 6утон в сензорен реким LED-пожжекторгсе вклоча за 4 уаса (LED с Bretи постон). При натусяне на 6утон в 4-часов работен реким LED-пожжекторгсе иЗклоча за 3a 4 уаса (LED с Bretи постон). 4-часов rat реким ппклоча сдд n3туне на Врето, с натусяне на 6утона Reset илв реким 4-часobo ИЗКЛЮУВане постом натусяне на 6утона 4 h.
→,ПОCTОЯнна CBETЛинна"
8 Pexn m nyskahe B eKcnloataa (TeCTOB pexim):
peKIMbT cIyKn 3a npOBepKa Ha cyHKcIOHaJI-HocTTa, KaKTo n Ha oxbBaTa. He3aBnCmO OTOCBeTeHocTTa, pRi DvIXeHne LED-npOxKeToppa Ce BkIIOUba 3a 10 cek. DvIXeHne ce cnHaN3npa NocpeDCTBOM LED 3a cbCToHNeto. PeKIMbT NycKaHe B eKcPLOaTuqia E C npEIMCTBO PpeD BCNUKIN OCTaHaN HAcTpoiKn. CleD 10 mN. peKIMbT 3a NysKaHe B eKcPLOaTuqia ABTomATuHNO pRiKJIIOUBA. CleD hATnCKaHe Ha Reset peKIMbT NysKaHe B eKcPLOaTuqia BeDHaRa npRkJIIOUBA.
Bнмане: рекIMTe 3a obyuHne nпуckaHe B ekCnIooataцЯ He MoT Дa 6bДaT n3ПОЛЗВaHn eДНOBpeMeHNo.
9 Pecet:Врьша BCИЧКИ HaCTpoIKN Ha рБУHOn ɪЗбpaHnte ha LED-прoxkeTopa CTойHOCTи nIи Ha 3aBOДСКИ HaCTpoIKN.
10 Ba3OBA CBETJIHa: OCHOBHOTO OCBETJIeHne C 6a3OBn LED oCnIpyra HnCKo HnBO Ha OCBTeHocT. IaBHaTa CBETJIHa Ce BkJIIOvBa 3a n36paHOTo BpeMe cAmO pRi CbOTBETHO DnIXKeHne B O6XbAta. CJeI KOEtO CBETJIHaTa OTHOBO PpEMInHaba Ha OCHOBHO OCBETJIeHne.
→ „БаЗОВО оСВЕТЛЕне (J)"
Дистанционно управленье сьдьржа батерия морел CR 2032 Li-Mn-Dioxide / Organic Elektrolyte.
Camo 3a cTpaHn ot EC:
Cnopei DeiCTBaAaTa DnpeKtNaHa EC 3a cTapn eJeKtpoHn i eJeKtpOyPei n TpaHCNoHnpaHeTo N B Ha- zioHaJIHo npaBO, eJeKtpOyPei, KOITo NOBue He MoRaT da 6bDaT yNtpe6BaHn, i 6aTePm Tp8Ba Da 6bDaT pa3dJIHo Cb6nPaHn i peuKJnpaHn, C ceI Opa3BaHe Ha OKoJIHaTa CpeHa.
Информаця 3a п体现在Таьге на rapанционен ИСК Ше поочитЕ на нашаТа ИNTерпET CTраница WWW. tashev-galving.com
Ako nMaTe rapaHcNoHEn clyuAynBbnpoc NO BaShnI npOyKT, MoKeTe Da Hn Ce oBaAnTe
ПО BCЯКО ВрЕме На Нашь Сервизэн Телегон +359 (2)700 45 454.
5 TODINH TAPAHZJ 0T PON3BODNTEJI
11. Texhnueckn daHHN
3.000 K (тοῦно баяно)
- INHdeKc Ha CBeTOBOTO OTPaXKeHne:
R_a≥ 80
- Cen3opHa yact:
XLED PRO ONE S / PLUS S / Max S: nacnBeH
HpaepBeHceH3Op
- 06xbaT:
XLED PRO ONE S / PLUS S / Max S: Max. 10 M
- bngnHa OTuNTaHe:
XLED PRO ONE S / PLUS S / Max S: 240°
- Hactpoika Ha BpeMeTo:
XLED PRO ONE S / PLUS S / Max S: 8 c-35 mH
- Hac tropona Ha CBetnoyBCTBNTeJIHOCTTta:
XLED PRO ONE S / PLUS S / Max S: 2-2.000 lykca
- IP klaç 3aúnta:
IP44 / I
Опасноctь по Нecоблюденьи Инструкции по заци!
Данная ИНСТРУКЦА СОДЕРЖИТ ВAXKHYО ИНФОРМАЦИО ДЯ 6еЗопасною образшия сизденим.Η БОЗ можные опас-hocтдадотся особbie уkaазань. Hecoблioденье может ПпвODиТь K ЛетальHOMU ИСХODY ИЛN ТяжелВIM ТраВмAM.
TuaTeIbHo npOueCTb IHcTpkyKzIIO.
- Cobliodatb yka3aHnI NO TEXHnke 6e3OpacHOCTN.
XpaHntbBdoCTyHOMMeCTe.
- 06paueHne c əJIeKtpnueckm TOKOM moXeT npINBOITb K onaChbIM cnTyauqnaM. PpIKoCHOBeHne K TOKOpRoBOdIaIIM DeTaIaM MOXeT pINBOIDtB K yIapy əJIeKtpnueCKm TOKOM, OxKOram nIi JeTaIbHOMy IcXOdy.
- Bылолненье paбOT c ceTeВbIM NOДКЛЮЧЕНЕМ NOpyaТь TOльКо KBалифицИрOBaHHOMy CпeциалзИрOBaHHOMу PercoHaJy.
- Co6JIHOdaTb HaaIOHaJIbHbIe yKa3aHnI NO yCTaHOBKe I yCIOBnI POdKJIouHeHnI (HaIpIMep, DE: VDE 0100, AT: OVE-ÖNORM E8001-1, CH: SEV 1000).
- IcnoIb30BaTb TolbKO opnHaJIbHbIe 3aIacHbIe qactN.
- Pemont pa3peuaeTcBbINOJHrToJbKO CneuaJIINpOBAHHbIM npedprnTnM.
3.Опсанеиздени
Приименения по наз nauseюXLED PRO ONE S / Plus S / Max S
- CBeToIIOIbI INpOKeTOp C INHpaKpaChbIM DaTnIKOM DBNXEHHIA
- HacTeHbI MOHTaX Ha yIncaX IV B NOMEeHnA.
- He noxdxodnt dIy BkIoueHnY cyMepeuHoro ocBeueHnY.
PpHnnp pa6OtbI
- BcTpoeHbI INHΦpaKpaChbI CecHcop peHnCTpnpyeTe TeploBoe n3JyueHne DBNkUxxCra ObBeKTOB (Ha npi-Mep, IIOdei, XINBOTbIX n T.d.). TeTPOBoe n3JyueHne Ppeo6pa3yETcB 3JIeKTPoHHbI CNrHaI, KOTOpbI Bbl3bIBaET aBTOMaTUnECKOe BKJIuOueHne CBEtODINOHDHO npoxKeToppa.
- Camaj HanejHaj peRnCTpaCnJ DnXKeHnJ oBeCneYnBaETcM MOHTaXOM n3JeNnC6OKy OTHOCnteJIbHO HnPaBJIeHnJ DnXKeHnJ.
- Paɪnyc DeɪcTBnɪr peɪncTpaɪn DBɪŋkeHnɪ ORpɑnHueH,
ecɪn Bbɪ nɒdXoɪnte HænOspɛdCTBeHNo K iɪzdeJInuO. - B TOM clyuae, ecn Ha nyTu IMeOTc npenrTCTBna (HaNPIMep, CteHbI nn OkOHhie CTeKla) peRnCTpa-zna DvIXeHm MoXeT 6bITb OgraHnueHHoN nn He BO3MOxKHa.
- Pe3Kne n3MeHeHnI TeMnepaTpybI n3-3a NOrOdHbIX BO3DeIcTBn I3DeJIe He CnOCo6Ho OTJInuHTb OTNCTOChNKOB Tepla.
Приименке по наз nauseюXLED PRO ONE / Plus / Max
- CBeToIOnIOHbI npOKeKTop.
- HacTeHbI MOHTaX Ha yInuax N B POMeUeHnA.
- He podxodit dans BKJIOueHnA cymepeuHoro OCBeUeHnA.
Приименке He no Ha3HaueHnIO
-Ярковсбеть сбетоюного пожжтopa He peулірүүя.

Ярков He pyrynpyetc
06bem noctabkn
- XLED PRO ONE S
- XLED PRO ONE Plus S
- XLED PRO ONE Max S
3.1



1x
1x


2x

- 1 cBeToIIOIbI INPOXKeTOp C INHpaKpaChbIM DaTCHKOM DIBNXEHNIA
- 1 KJIIOUДЯ BInTOB C BHyTpEHHIM WecTnIgpaHHNKOM
-1 nlafoH
-2BnHTa
-2dIO6eJIa
-2 nodknaHbIX shaib
-2NOTaHbIX BnHTa
- 1 Достанционhoe управ lienе RC 12
- 1 ceptnФпкат 6e3oNaChOCTN
- 1 nictobka no 6bictpomy 3aynycky
06bem noctabkn
-XLED PRO ONE
- XLED PRO ONE Plus
- XLED PRO ONE Max
3.2


- 1CBETODIOHbI INPOXKeTOp
- 1 KIIOUДЯВИNTOB C BHyTpEHHIM WecTnrgpaHNNKOM
-2NotaNbIX BNHTa
-2BnHTa
-2ДIO6eJIa
-2 nodknaHbIX 7a86bl
- 1 ceptnФнкat 6e3oNaChocTn
- 1лincTobKa no 6bICTpOmy 3aNyCKy
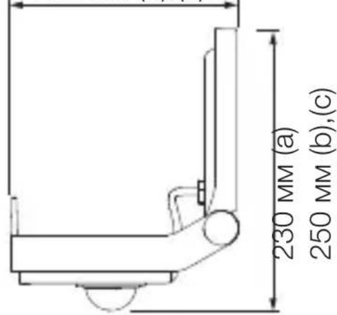
Pa3mepbI n3delenXLED PRO ONE S
- XLED PRO ONE S (a)
- XLED PRO ONE Plus S (b)
- XLED PRO ONE Max S (c)
3.3

229 MM (a)
259 MM (b),(c)

182 MM (a)
202 MM (b),(c)
Pa3mepb i n3delen XLED PRO ONE
- XLED PRO ONE (a)
- XLED PRO ONE Plus (b)
- XLED PRO ONE Max (c)
3.4

229 MM (a)
259 MM (b),(c)
182 MM (a)
202 MM (b),(c)

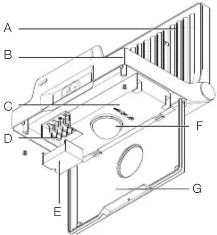
Оьзориздени XLED PRO ONE S / Plus S / Max S
3.5

A Tolobka c CnД
B MoHTaXHaR cKo6a
C YcTaHOBOUHbI peYyJrTOp
D KIeMa nOdkJIuOueHnA
E KneMMHaKpbIwka
F CeHcOpHbI 6JIOK
GПладон
3.6

H BpemrBkIIOueHnra
YcTaHOBka CymepeHOrO BKnIOueHnIa
J PocBcTka
3.7

K Дистанционhoe упраь lienе RC 12
Оьзор пделя XLED PRO ONE / Plus / Max
3.8

A Tolobka c CnД
B Mohtaxkna cko6a
C KIeMa IODKJIouHEnIa
D KJIeMMHaKpbIiSha
EПладон
4.Злектуеское подкючени
Схembl coeДинэнгл XLED PRO ONE S / Plus S / Max S
4.1




Схembl coeINHeHn XLED PRO ONE / Plus / Max
4.2




L = φa3a (объцно черно, Корочевого по сэроюцьета)
Прикочовене К TOKоюваяшим DeТалм может Пробдь К удау Злковсян TomKOM, Oхогам Или Леталь"HOMY ИСХODу.
- Otkлючпь заелковсяво и перваь поаду наpopженья.
- Пюверпь OTCYтCTBVE наразжени ИндикатOPМ наразжени.
- ObecneuNb, yTo hAnpJxKeHne He nOdaetcra.
Onachoctb mMyueeCTBehHoro yuepe6a!
3aMeHa coeHInTeIbHbIX Ka6JIeM MOKeT npINBOdntb K KOpOTKOMy 3aMbIkaHnIO.
- Indentnupobatb coeHHntbHbIe Ka6JI.
KoppeKTHO IOdcoeINHITb COeINHITeIbHbIe Ka6eJI.
Iodrotobka MOHTaxa
- Праверпь Се КОнструктунные DeТали на Ррдmet повржденья. Рр повржденьях He BKлючать Издели.
-
Bыбраь поховяшемecTo ДЯ моHTажа. -С учETOM радиуca.Deйствя.
-
C yuyeTom peRnCTpaCnn DBNXKeHn.
-Бe3Вибраци. - 3oHa oxbata cbo6oHa OT npenTCTBn.
- He B0 B3pbIBOONaChbIX 30HaX.
- He ha Jereko Bo3ropaembIX NOBepxHocTax.
- He cmoTpeTb Ha nCTOuHnK CBeta C He6oJIbIooIopacCTOaHnR (< 30 cm).
- Ha ydaJIeHn He MeHee 50 cm OT pyrnx CBeToNDnOd-HbIX nPoJKeKTopoB.
Радиус действахLED PRO ONE S / Plus S / Max S

5.1
Pernictpauzaia DvIXeHnaC6Oky OTHOCHTeNbHO HappaBJIeHna DvIXeHna XLED PRO ONE S / Plus S / Max S
5.2

Pernctpaцnia DBxkeHnca6Oky no HappaBleHnIO dBxkeHnXLED PRO ONE S / Plus S / Max S
5.3

BbipabHnBaHne n3dennr
5.4

- Издени вовая Корпкто.
ПорадOK мONTака
5.5



- PpOBepntb, OTKJIouyeHa JI N IODaHa HapJxKeHnA.
HaMeTb OTBepCTnI JI CBepeHnI.
5.6



- PpocBepJIbTb OTBepCTn8 (6 MM) n BcTaBnTB JIO6eJI.
5.7

- OTKpyTITb nlafoH.
5.8

- OtkpbIb nlafoH.
5.9

- Празнтукавелчepe3 OTBepCTne.
5.10

- PnKpyTntb Duy.

5.11

- OTKpyTITb KJIeMMHyIO KpbIiSKy.
- Поклочь сею поворсогlaCHO схeme coe-dINHeHn.
→«4. Θлектpresckoe PodknioueHne»
5.12

- Пикрутугь КLEMнHyю КрblшКу.
5.13

3aKpbTb nlafoH.
BkpyTntb cToOpHbIe BNHTbl.
5.14


- Bыровны Голову пожектора и заф尼克сировать NOTайнбIMN BИNTamN.
5.15


BknHouHTb 3JneKtpoNTaHHe.
Hac troponka n3deleny.
→«6. Θκπήγαταιŋa»
6.Экплuyaataця
XLED PRO ONE S / Plus S / Max S
6.1



HaKpyTntb nlafoH.
- Bылнить peгунювки.
3aBODCKne HacTPOIKN
- BpemrBkIIOueHnnaMnbl: 8 ceKynd
- YctaHObKa cymepeHoro nOpora: peXIM dHeBHOOcBeueHn 1.000 Jk
-ПодсВетka:ВыКЛ.
PergunpoBka BpeMeHn (H)
ПюлжITEьность BKЛюченя может ьыть установп ha павно в диапазоне от пим. 8 ceк. до мakс. 35 мин. Kaждoe obnapуженье движенье сюва BKЛючаet CBET.
Yka3aHne: PocJIe KaJIOrO pPoUcecca OTKJIIOUeHnRA CBETO- DINOHOrO npOXKeTOpa ObHApUxKeHnE HOBOrO DBNXKeHnRA PPepbIbAeTcra PrIM. Ha 1 cekyHdy. 3aTeM CBeTOdIOHbI INpOXKeTOp MOXET CHOBA BkJIIOuHaTb CBET PrN DVBIXeHnR.
При ретулировке зоны обнаружения и рри проведения Кскплuyaразционно Тесда pekomендуETСУCTаHAВИВаТь наболee корOTКOE ВсЕМЯ.
YcTaHOBka cymepeHoro nopora (I)
Порог срабатуваши (настулени сумeper) можно установпь палвно от поим. 2 до 2.000 лк.
- = pejkmДневHorO OCBeIeHn(He3aBnCmO OT npKocTn)
- C = pejkmCymepeHOro BkIIOueHnA CO 3HaueHnEM (ok.2Jk)
При установке зоны об hapухени и рп поведен эксплуатационно Тоста пri Дневим сбete ретуларot долженьсяь установелен на
POncBetka (J)
ПОДСВЕТКАСПOMOЦБЮСВЕТДИОДВПОДСВЕТКИОБЕСпЕчИВаETНИЗКИУРОBEHBOCBEШЕНИЯ.
ToIbKO pRn COOTBETCTByIOUeM DvNKeHn B 3OHe
OBnapyKeHn OCHOBHOe OCBeUeHne BKJIouaETcna
HaYCTaHOBJIeHHoe BpeMa. IocNe 3TOrO OCBeUeHne CHOBA
PpeKJIIOuAeTcra Ha Bbl6paHHb yPoBEh b IOdCBETKn.
- OFF =6e3 nOДСВЕТКИ
- 10 min = посветка на 10 минут по устецки ВьIBLEпогов Беремен OCTaTOHOrO BKJIQUЧЕня.
- 30 min = посветka на 30 минут по Истецки ВьIBLEпогов Беремен OCTaTOHOrO BKJIIOUeHЯ.
- C = NOДСВЕТКа BCIO HOч. ПОДСВЕТКa, KaK TOnьКо уровень OСБешени Okржени УпадET ИХKe yCTaHOBJIeHHOrO nOpora cpa6aTbIBaHЯ.
Pexim noctoHHoro OcBeueHnA
6.2

1)Вклочене постаяного освеценья:
- BbIKIIOUaTeIb BbIKIIOuHTb I BKIIOuHTb 2 pa3a.
CBeToIIOJHbI IpoXKeTOp Ha 4 yaca yCTaHaBJIbAeTcRa Ha IOCTOJHHoe OCBeUeHne. IIO nCTeUeHn BpeMeHn IpoIIN3BOJNTcra aBTOMaTInueCKoe nepeKJIuOeHne B CeHCOPHbI pEXkM.
2) BbIKJIIOHTb NOCTOARHHOE OCBeueHne:
- BBKJIIOUaTeIb BbIKJIIOuHTb N BKJIIOUHTb 1 pa3. CBETINbHnK BbIKJIIOUaETcra IIN NepeKJIIOUaETcra B CeHCOpHbI pEXkIM.
BaXHo:
IpoueccbI nepeKIOUeHnA DOJXHbIBbINOJIHTbcB Dnana3OHe oT 0,2 do 1 ceKyHdbI.
PergunpoBka 30hbl 6napyKeHna
Дя ИСКЛЮЧЕНЯ СLYЧАйнOrO образужени ял Oсу-шесТВLEнЯ селенапраВлeнHOrO KOHTpoJЯ 3aОпpeделEHbIM MeCTAmN MOЖно ORpaHnUHTь N OTpeRyЛINPoBAtb 3OHу образужени засLOнКоJ.
6.3


Pa3mecntb 3acNoHky Ha daTnuKe.
3aФИКСИРОВаТь 3aСLOHку 3aKpbITиЕМ ПlaФona.
7. Komплесуюше - Достанционhoe уразавленne
Дистанционhoe упразьелене RC 12
(EAN 4007841079000)
7.1

- ynpoaaet MOHTaK oBnHoro OCBeTntbHoro o6OpydoBaHna. CBeToNDnHbIe npoxKeTopa MoXHo hAcTpoNTb npN JIObOM INx KOJIInueCTBe NocJe INx yCTaHOBKn.
C NOMOJIbIO INCTaHcIHOHOro ynpaBJIeHnMoXHO ynpaBJIaTb IIO6bIM KOJIInueCTBOM CBETODIOHbIX npOXKeKTopOB. - KaJdoe DeIcTBInTeIbHoe HaXaTne KHOpKn Ha n3JeINn KBInTpPyETcBcToIDNOdom COCTOHNIA.
B pylbTe dinctaHcnoHHoro ynpabIeHnra RC12 nCnoJIb3y- etcra 6aTaapeiKa Tnna CR2032.
C NOMOUIIpyIbTa IINCTaHcIOHHOrO ynpaBJIeHnRA RC 12 MOxHNO IICNoJIb3OBaTb IOnoJIHInTeJIbHbIe FyHKcII XLED PRO ONE S / Plus S / Max S:
1 YctaHaBnBaembIcymepeHbI NOPr: XeJaemblnopOr cpa6aTbIBaHnM OXKHO yCTaHOBHTb OT npIM. 2 Do 2.000 Jk.
→ «YctaHObKa cymepeHoro nopora (I)»
2 Pexim dHeBHO OcBeueHn (He3aBnCmO OT npKoCTn)
3 HocnopeXm(2nk)
4 YctaHObKa cymepeHoro nOpora c NOMOuKHOKN 3aONHaHn / pexmAm o6yehn
(2-2.000 Jk).При Heo6xOIMbIX yCIOBnIX OCEWeHnI,При KOTOpbIX DaTnK B 6yDyUeM DoJXeH peaHnpOBaTB Пri DnBXKeHn, CJeDyET HaxaTb KHOJky. CoXpaHЯETcY TeKyUe 3HaYeHne.
5 Peru npovka BpeMeHn: Heo6xOIMoe BpeMBAKIOUeHNA CBeta nocJIe nocJeDHeI peNCTpaCIN DBIXKeHNA MOXHO yCTaHOBNTb HaxKaTHeM KHOJOK Ha10 cek., 1 MIn., 5 MIn. n 15 MIn.
→ «Р发电机вка врemeи (H)»
6 Heo6xOIMa npoJXHTbHOCTb BKIOUeHnA:
YCTaHOBka BpeMeHn BKJIoueHnCBeTa NO INIINbN- dyaJIbHbIM NOTpe6HoCTaM. KaKIOe HaxKaTne KHOPIKu YBeJIuHBAe TKeUyO DInTeJIbHOcTB BKJIoueHnHa 1 MInHyTu (MaKc. 15 MIn.).
7 PexnM nocToHHoro ocBeueHna:
При Нжати Кногь В сehсорном ржиме CBETODIOHbI npoxeKTop BKJIHOaETcRa 4 quac (CBETODIOC COCTOAHN rOpNT NOCTOAHNO).При Нжати KногьВ 4-уасOBOM pexIMe BKNIOUeHnA CBETODIOHbI npoxeKTop BKJIHOaETcRa 4 quac (CBETODIOC COCTOAHN rOpNT NOCTOAHNO).BbIXoJ n3 4-часOBOrpoexIMa OCUsEcTBJAreTcЯ NO nCTeueHn BpeMeHn, cnomoMbKHO pKOnKn C6poc nII nB 4-uaCOBOM pexIMe BblkJI. HaxatneM KhoNkn 4 q.
→«Рек imm NOCTOHHORO OCBeueHnra»
8 Pexim yctaHOBN (TeCTOBn peKIM): Pexim yCTaHOBN cIyKIT dIy IIOBepKn pa6OtBi, a TaKKe 3OnbI OXBaTa. He3aBNCIMo OT OCBeUeHNOCTN CBeTODNoHBn IPOXKeKTOp BKJIouaETcHa 10 CeKyHd. O DvIXeHN CNrHaIN3npyet CBeTOINOJ COCTOHN. Pexim yCTaHOBN nMeET npOpNTet HaD BCEMN OCTaJIbHbIMn HAcTpoiKaMn. Upe3 10 MIn. peKIM yCTaHOBN aBTOMATnueCKN BbIKJIouaETcR. IocNe HaxkATnK HoPkn C6poc npOCxOJIT HeMeJeHHbI BbIXoN i3 peKIMa yCTaHOBN.
9 C6poc: C6poc BCEX yCTaHOBOK Ha yCTaHOBJIeHHbIe BpyHyIO Ha CBETOINODHom pOxKeKTOpe 3HaueHnIy IIn Ha 3aBOIDCKHe NaCTPOiKN.
10ПОДСВЕТКА:ПОДСВЕТКаСПOMOШьЮ CBETODINOOB ПОДСВЕТКИ обеспецныгнИЗКИУРовень OСBE-шени.Толбк�При COOTBETCTBYЮшем ДВИЖЕ-HINВ 3Оне obнаруженья OСНOBHoe OСБЕSUENHe BKЛюЧаETСЯ на установленьhoe Врем.Посл eТOTO OСВЕSUENHe CHOBa переключael ся на ВыбраHHBI yPObEHb ПОДСВЕТКI. «ПОДСВЕТКa(J)»
YMHoe DnCTaHcNOHoe ynpaBJeHne (OOnoJIHnteJbHO) (EAN 4007841009151)
- YnpaBHeHne co cMapToHa nIi PnaHseTa.
- 3amehreT dinCTaHcnoHHoe ynpabJIeHne.
- 3a rgy3ntb noDxOJaIeepnIoJXeHne n yCTaHOBtbo coedInHeHne no Bluetooth.
8.Чистка и ухов
I3dJIeHe Tpe6yET TexHnueCKOrO 06cnyKuBaHnJ.

Опасноctь n3-3a удара щл ekтческIM TOKOM!
Понадане ВОды Ha TOKОпроваяше DeТали может\ ПрИВODИТь К удау щелковские TOKOM, OЖогам Или\ Леталь"HOMу ИСХоу.
- YnCTITb n3dJIne TOJbKO B CyXOM COCTOHN.
Onachoctb mMyueeCTBehHoro yuep6a!
HenpaBnIbHbIe YnCTaIe CpeIcTbAMoYr NOBpeIITb n3dJIne.
- YnCTnTb n3dJIne cIeRka yBlaJxHHeHNo TpIKNo 6e3 YnCTraXnCpeDCTB.
Baxho:Pa6ooye n3dJIne 3aMeHnTb HeJb3r.

9.Ут Tunnelaцnia
Öléktrpɒnpɒbɒpɒbl, 6aTapeɪŋKn, KOMPJIeKtUOùnne i n ypa-KOBkY cIeɪdyet HappaBJIaTb Ha 3KoJIoRnHnyO BToPnHnyO nepepa6ɔTky.

He BbI6paCbIBaTb 3JIeKTpOpnpu6Opbl N 6aTapeiKN B 6bITOBbl e OTXoDbI!
В пьытудостацноногу управлению спльзуется ба-tAPEйка типа CR2032 Li-Mn-Dioxid / Organic Elektrolyte.
TolbkoДлЯстразн EC:
Corglacno DeiCTBvUoIe EBrpoJeCKoI DnpeKtNBe IIO OTPa6OtaHHOMy 3JIeKTPnueCKOMy I 3JIeKTPoHHOMy O6Opuy-DoBaHnIO I ee peaIN3aIIN B HauNHOHaNbHbIX 3aKHOdaTeJbCTBax OTPa6OtaHHbIe 3JIeKTPoPn6OpbI I 6aTapeKIn DoJIxHbI CObIPaTBcR OTrdJIbHO I HaPpABJrTBcR Ha 3KOJIoTnHyIO BToPnHyIO nepepa6OTKy.
10. Гараня позиюнтул <|im_start|>assistant 10. Гараня позиюнтул <|im_start|>assistant 10. Гараня позиюнтул <|im_start|>assistant 10. Гараня позиюнтул <|im_start|>assistant 10. Гараня позиюнтул <|im_start|>assistant 10. Гараня позиюнтул <|im_start|>assistant 10. Гараня поз� <|im_start|>assistant 10. Гараня поз� <|im_start|>assistant 10. Гараня поз� <|im_start|>assistant 10. Гараня поз� <|im_start|>assistant 10. Гараня поз� <|im_start|>assistant 10. Гараня поз� <|im_start|>assistant 10. Гараня поз� <|im_start|>assistant 10. Гараня поз�
TapaHTnI npOn3BODnteJI STEINEL GmbH, Dieselstr. 80-84, DE-33442 Herzebrock-Clarholz, TepMaHnA Bbl, kAk NokyPntb, ImMeTe npeDyCMOTpeHHbIe 3aKOHOM npaba B OTHOWeHn IpOdaBua. EcIn TaKHe npaba CyUeCTbYOT B BaWeJ CTpaHe, To Haua rapaHTnI He COKpa7aET n He OgrAnuHbAet ux. Mbl npeOCTabIaem Bam 5-JeTHIO rapaHTnIO Ha 6eZypneHbIe XapaKTepNtIKn I NaJIeXaUyIO pa6Otu BaWeIco CECOPHOro n3dJIeNIA STEINEL ProfessoNal. Mbl rapaHTnpyeM, UTO 3TO n3dJIeNe He ImeET DeΦeKToB MaTePnaJa, KOHCTpyKcIi N I pOn3BOIDCTBeHHoro 6paka. Mbl rapaHTnpyeM pa6OtocNoC6HocTb BCEx 3JIeKTPoHHbIX KOHCTpyKtNBbIX 3JIeMeHTOB n Ka6JIeN, a TAKKe OTCytCTBVe DeΦeKToB BO BCEX NCIOJIb3OBaHHbIX MaTePnaJax n Ha IN NOBepxHOCTn.
IpeBbIeHne Tpe6oBaHn:
EcIn Bbl xOTnTe 3aBnTb peKlaMaCnIO NO BaUeMy n3deJIIO, OTnpaBbTe n3dJIne B CO6paHHOM I yNaKOBaHHOM BnDE BMecTe
C npINIOJXeHHbIM KACCOBbIM YeKOM IJI NKBITaHcnei C DaTOn IpoJaXn I yKa3aHHeM HAnMeHOBaHnI N3dJIy BaUeMy DInIepy IJIH HeNOCpeIcTBeHNO HAM NO aDpeCy: REAL.Electro, 109029, MockBa, yI. CpeHny KaJIIT-NHKOBCKa, d. 26/27. Po3Tomy Mbl peKOMeHdyem Bam COxpaHNTb KACCOBbI Yek IJI NKBITaHcNIO O IpOdaJxe Do nCTeueHry rapaHTnIHoro cPoka. KomnaHry STEINEL He HeceT pIckN I paCXoDbI Ha TpaHCnOpTnPOBky B paMKax BO3Bpata n3deJIy.
Информацию O TOM, КАЗЯВИТь O rapaHTиHOM CЛучae, Вы надete Ha нашей Домашень CTраHиZe WWW. steinel-russland.ru
EcIn y Bac HacTynnI rapaHTnHbI CnyaI nIn NMeOTcBOpocbl NO BaShemy I3deJIIO, Bbl MoKTe B JIO6OeBpeMn03BOHnTb B Cnyk6y TexHN-
YeckoIpoJepKnIO TeJeOHy +7(495)2303132.
JIETIAPAHNTINPOIN3BODNTEJIA
11. Texhnueckne daHHbIe
- Ra6apnTHbIe pa3mepbl (B x Lx I):
XLED PRO ONE S: 230 × 229 × 182 MM
XLED PRO ONE PLUS S / Max S: 250 × 259 × 202 MM
XLED PRO ONE: 206 × 229 × 182 MM
XLED PRO ONE PLUS / Max: 226 × 259 × 202 MM
-
CeteBoe napjKeHne: 220-240 B, 50/60 T
-
MoiHocTb / əΦΦeKTHBHOCTb:
XLED PRO ONE S: 120 Jm/Bt
XLED PRO ONE PLUS S: 129 Jm/Bt
XLED PRO ONE Max S: 122 Jm/Bt
XLED PRO ONE: 126 Jm/Bt
-Прoeцириемая NOВерхноctь:
XLED PRO ONE S: 180 cm²
XLED PRO ONE PLUS S / Max S: 254 cm²
XLED PRO ONE: 180 cm²
XLED PRO ONE PLUS / Max: 254 cm²
- Bec:
XLED PRO ONE S: 1,45 κr
XLED PRO ONE PLUS S: 1,7 Kr
XLED PRO ONE Max S: 1,72 kR
- Koэффицент CBetОперетач:
R_a≥ 80
- Cechopika:
XLED PRO ONE S / PLUS S / Max S: naccnBhni NK
-Даьноctb DeiCTBnIa:
XLED PRO ONE S / PLUS S / Max S: Max. 10 M
- YrOJ o6HapyKeHnIa:
XLED PRO ONE S / PLUS S / Max S: 240°
- Bpemr BKJIIOUeHnIa:
XLED PRO ONE S / PLUS S / Max S: 8 ceK. -35 mH.
- YctaHObKa cyMepeHoro nopora:
XLED PRO ONE S / PLUS S / Max S: 2-2.000 Jк
- Klaacc 3aunTbI IP:
IP44 / I
ДОП.ВКЛ.MOШноctь
XLED PRO ONE S / PLUS S / Max S:
-Harpy3ka JIaMn HaKaJIbBaHnra/raJIoReHHbIX JaAMn: 1.500 B
-Люнесcentные лампь 3ПРА: 430Вт
-ДИOMNHeCZeHTHOe JIaMnbl, HeKOMnEHCnPOBaHHbIe: 500 BA
-ЛюМиHeCцeHTHbIe Лamпы, прД. KOMпeHcaцИЯ: 900 BA
-ДюмнесецHTьe Лamпы, парл. КOMпсалиев: 500 BA
- Hn3KOBOLbTHbIe raloreHHbIe IaMnbl: 1.500 BA
- CIVД-лампь<2 Bт: 16 Bт
-2Bt<CNJ-JaMnbl<8BT:64BT
- CIVД-JaMnbl>8Bt:64BT
- EmkocthaHa rpy3ka: 88 MkΦ
12.Устараенье сбов
I3delle 6e3 hapjxehn.
-
Преторханпелов вкюец ил неспразен.
-
Bключпь пpeохсангь.
3aMeHnTb HeNCpBbI INpeOxpaHTeIb.
-Обравkaобеля. -
Праверпь праворинданкатором наразжения.
-
Kopotkoe 3aMbikaHne Ha cTeBOM npOBoJe.
-
Поберпь сединенья.
-
BbIKJIIOUeH BO3MOXHO IMeIounCra CeTeBOB BbIKJIO-HaTeJIb
-
Пocстонhoe Движенье в 3онe обнapуженья
-
Праверпь зону обаружения.
- Пин Heo6xOДIMOCtN ORpaHnHTb 3OHy OXBaTa Ил nI N3MeHnTb.
HexeIaTeIbHoe BkIIOUeHne I3dJIy.
3aФИКСИРОВАТь n3ДeЛп.
-ДВИЖЕHHe 6bILO,ODHaKO,Ha6JIIOJaTeJb erO He paCNo3HaJ (ДВИЖЕHHe 3a CTeHOn,ДВИЖЕHne He6OJIbWoTo O6BJeKTA B HeNOCpeIcTBeHHoB 6JIu3OcTn K CBETnJIbHNky i np.)
- Праверпь зону обаруженя.
- Прп Нeoбходимоctи огранчить 3Ohу oxBaTa ИллИЗМEHNTb.
STEINEL GmbH
Dieselstraße 80-84
33442 Herzebrock-Clarholz
Tel: +49/5245/448-188
www.steinel.de
Notice-Facile