XLED PRO ONE S - Lampa STEINEL - Bezmaksas lietošanas instrukcija
Atrodiet ierīces rokasgrāmatu bez maksas XLED PRO ONE S STEINEL PDF formātā.
Lejupielādējiet instrukcijas savam Lampa PDF formātā bez maksas! Atrodiet savu rokasgrāmatu XLED PRO ONE S - STEINEL un atgūstiet kontroli pār savu elektronisko ierīci. Šajā lapā ir publicēti visi dokumenti, kas nepieciešami jūsu ierīces lietošanai. XLED PRO ONE S zīmola STEINEL.
LIETOŠANAS INSTRUKCIJA XLED PRO ONE S STEINEL
Ši pamáčíba ietver svarīgu informáciju drošai icerces lietošanai. Uz iespějamiem riskiem tiek ipaşi noradīts. Neievěrošana var izraisit navi vai smagu savainošanos.
Rupigi izlasiet pamacibu.
leverojiet drošibas norades.
Uzglabajiet pieejama vieta.
- Darbošanās ar elektrisko stravu var izraisit bistamas situacijas. Pieskaršanās stravu vadošam dallevar izraisit šoku, apdegumus vai navi.
- Darbu ar elektrotíkla spriegumu jäveic profesiónali kvalificētam personalālam.
- Jäievero vietējo instalëšanas un pieslēgšanas tehnisko priekšrakstu prasības (piem., D: VDE 0100, A: ÖVEÖNORM E8001-1, CH: SEV 1000).
- Izmantojiet tikai originalas detalias.
- Remontu dríkst veikt tikai specializetas darbīcas.
3. lerices apraksts
Pareiza lietošana
XLED PRO ONE S / Plus S / Max S
- LED starmetis ar infrasarkano staru kustibu sensoru.
-Motzaizai pie sienas iekstelpas un ara. - Nav piemérots pievienošanai reostatam.
Darbības princips
- lebūvētais infrasarkanais sensors uzter kustīgu kermenü (cilveku, dzivnieku u.tml.) neredzamo siltuma starojumu. Šis sanemtais siltuma starojums tiek elektroniski parveidots un automatiski ieslēdz sensorstarmeti.
- Drosaka kustibas uztere, uzmontejot ierici saniski pret ieşanas virzenu.
- Ja Jus virzisieties tieši uz gaismekli, sniedzamība būs ierobežota.
- Caur škērsliem (piem., kokiem, mūri vai stiklu) kustūbu uztvere var notikt tikai ierobežotā apjomā, vai aī nebūt iespējama.
- Pekşnas temperatūras izmainas laikapstaklu ietekmē siltuma avoti neatskir.
Pareiza lietošana
XLED PRO ONE / Plus / Max
- LED starmetis.
-Motzaizi pie sienas iekstelpas un ara. - Nav piemérots pievienošanai reostatam.
Nepareiza lietošana
- LED starmetis nav aptumšojams.

Nav aptumšojams
Piegades apjoms
- XLED PRO ONE S
- XLED PRO ONE Plus S
- XLED PRO ONE Max S
3.1

- 1 LED starmetis ar infrasarkano staru kustibu sensoru
-1iekseja seskansu atslega - 1 nosegs
- 2 skrūves
-2dibeli - 2 paplaksnes
- 2 iekšējā seškanta skruves
- 1 tālvadības pults RC 12.
- 1 Drošības dati lava
- 1 Atrais starts
Piegades apjoms
-XLED PRO ONE
- XLED PRO ONE Plus
- XLED PRO ONE Max
3.2


- 1 LED starmetis
-1iekseja seskansu atslega - 2 iekšējā seškanta skruves
- 2 skrūves
-2dibeli - 2 paplaksnes
- 1 Drošības datu lava
- 1 Atrais starts
Izstrādājuma izmēri XLED PRO ONE S
- XLED PRO ONE S (a)
- XLED PRO ONE Plus S (b)
- XLED PRO ONE Max S (c)
3.3

229 mm (a)
259 mm (b),(c)
182 mm (a)
202 mm (b),(c)

Izstrādājuma izmēri XLED PRO ONE S
- XLED PRO ONE (a)
- XLED PRO ONE Plus (b)
- XLED PRO ONE Max (c)
3.4

229 mm (a)
259 mm (b),(c)

182 mm (a)
202 mm (b),(c)
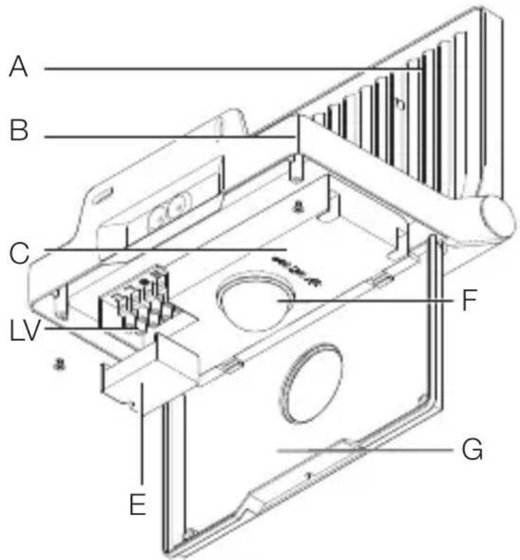
lerices pärskats XLED PRO ONE S / Plus S / Max S
3.5

A LED starmeša galva
B Montañas stipa
C lestatijumu regulators
D Pieslēguma aizspiednis
E Klemmju nosegs
F Sensora vieniba
G Nosegs
3.6

H Laika iestatisana
Kreslas slieksna iestatijums
J Pamata gaisma
3.7

K Talvadibas pults RC 12
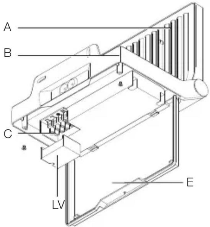
lericesparskats XLED PRO ONE / Plus / Max
3.8

A LED starmeša galva
B Montañas stipa
C Piesleguma aizspiednis
D Klemmju nosegs
E Nosegs
4. Elektriskais pieslęgums
Slēguma plāni XLED PRO ONE S / Plus S / Max S
4.1




LV
Slęguma plāni XLED PRO ONE / Plus / Max

4.2



Tikla pievadvadu veido 3 dzislu kabelis:
Šīs ierīces LED nav nomaināms. Ja vajadžīgs, jānomaina visa ierīce.
Šī gaismeklá gaismas avots nav nomaināms, ja gaismas avotu ir jánomaina (piem., tā darba muža beigās), ir jano-maina viss gaismeklis.

5. Montaža

Risks saistibā ar elektrisko strāvu!
Pieskar'sanas stravu vadosam dalam var izraisit šoku, apdegumus vai navi.
- Atslédziet stravu un partrauciet sprieguma padevi.
- Parbaudiet ar sprieguma testeri, vai sprieguma vairs nav.
- Parliecinieties, ka sprieguma padeve paliek partraukta.
Bojājumu risks!
Piesleguma kabelu sajauksana var izraisit issavienojumu.
- Identificējiet pieslēguma kabelus.
- Savienojiet pieslēguma kabelus pareizi.
Sagatavošanās montăžai
- Parbaudiet visas detalias, vai tās nav bojatas. Bojāumu gadijumā nelietojiet ierici.
- Izvělieties piemérotu montážas vietu.
-Nemiet vērā sniedzamūb.
-Nemiet vērā kustūbu uztveri.
-lzvairieties no vibracijas.
-Uztveres laukā nav škērsli.
-Gaismekli nedrikst montet spradzienbistamas zonas.
-Nemontējiet ierici pie viegli uzliesmojosām vīrsmām.
-Neskatieties gaismas avotā no tuva attaluma (< 30 cm).
-Vismaz 50 cm attalumā no citiem LED starmešiem.
Sniedzamība XLED PRO ONE S / Plus S / Max S

5.1
Kustibu uztreve iešanas virziena XLED PRO ONE S / Plus S / Max S
5.2

Kustibu uztvere iešanas virzienaXLED PRO ONE S / Plus S / Max S
5.3

LV
lerices virziena iestatijums
5.4

- lestatiet erici pareizi.
Montažas soli

5.5


- Pärbaudiet, lai strāvas pievade butu partraukta.
- Atzimejiet urbuma vietas.

5.6


- Izurbiet caurumus (Ø 6 mm) un ievietojiet dibelus.
LV
5.7

- Noskrüvejiet nosegu.
5.8

- Atveriet nosegu.

5.9
- Izvelciet kabeli caur atveri.

5.10
- Laika iestatijums: 8 sekundes
- Aptumšojuma iestatīsana: Dienesgaismas režims 1.000 luksi
- Pamata gaisma: IZSL.
Laika iestatīsana (H)
Vēlamo gaismekla degšanas ilgumu (izslegšanas aizturi) iespëjams iestatīt bez pakapēm no apm. 8 s lidz maks. 35 min. Katra uztverta kustība no jauna iesledz gaismu.
Norāde! Pēc katras LED starmeša izslegsanās uz apm. 1 s ir pātraukta jaunas kustības uztvere. Beigās LED starmetis, uztverot kustūbu, atkal var ieslēgt gaismu.
Justejot uzteres lauku un parbaudot darbibu, ieteicams iestatit isako laiku.
Kreslas sensora iestatisana (I)
Vēlamo reakcjjas (aptumšošanas) slieksni iespejams bez pakāpēm iestatīt robežās no apm. 2 - 2.000 luksiem.
- Dienesgaismas režims (atkarībā no apgaismojuma)
- = Kreslo'sanas rezims (apm. 2 luksi)
lestatot uzteres lauku un pärbaudot gaismekla darbibudienasgaismā, iestatijumu regulatoram jabut pagrieztam pret
Pamata gaisma (J)
Pamata gaisma ar pamata gaismas LED palidzibu nodrošina nelielu apgaismojuma limeni.
Galvena gaisma tiek ieslegta kustibas gadijumu uzteres zona uz iestatito laiku. Pec tam gaisma iesledzas izveletaja pamata apgaismojuma rezima.
- OFF = Nav pamata apgaismojuma
- 10 min = Pamata gaisma uz 10 minūtēm pēc izveletā Čečdarbības laika beigām.
-
30 min = Pamata gaisma uz 30 minutēm pēc izveletā Čečdarbības laika beigām.
-
C = Pamata apgaismojums visu nakti. Tiklidz apkärtnes gaisma ir zemäka par reakcjjas sleiksni, iesledzas pamata gaisma.
Ilgstoša apgaismojuma režims
6.2

LED starmetis tiek iestatits 4 stundu ilgstoša apgaismojuma režimā. Beigās gaismeklis automatiski atkal pariet uz sensora režimu.
Uztveres zonas justešana
Lai izslęgtu nepareizu slegsanos vai parraudzitu konkretas zonas, utveres zonu var ierobeźot un justēt ar nosegu.
6.3


- Novietojiet nosegu uz sensora.
- Nofiksejiet nosegu, izverot parsegu.
LV
7. Piederums: Tālvadības pults
Talvadibas pults RC 12.
(EAN 4007841079000)
7.1

- Atvieglo lielaku apgaismes ieriču instalëšanu. LED starmešus var iestatīt kopā pec instalácijas.
- Izmantojot tālvadības puli, var vadīt jebkādu LED starmešu daudzumu.
- Katra pareiza pogas nospiešana tiek paradīta uz ierices kā mirgojoša LED statusa diode.
Talvadibas pults RC12 ietver CR2032 tipa bateriju.
Ar RC 12 tālvadības puli iespejams iestatīt XLED PRO ONE S / Plus S / Max S papildfunkcjjas:
1 Kreslasiestatijums: Velamo reakcijas sleiksni iespejams iestatit robezas no apm. 2 lidz 2.000 luksiem.
→“Kreslas sensora iestatisana (I)”
2 Dienesgaismas rezims (atkaribā no apgaismojuma)
3 Nakts režims (2 luksi)
4 Kreslas slieksna iestatisana ar saglabasanas taustina / Teach rezima palidzibu (2-2.000 luksi). Nospiediet so taustu tajos gaismas apstaklos, kados sensoram turpmak jareage uz kustibu. Tiek saglabata aktuala vertiba.
5 Laikaiestatisana: Izveleto degsanas ilgumu pec pe dedjas kustibas, nospiezot tausti, var iestatit uz 10 s, 1 min, 5 min, 15 min.
"Laika iestatisana (H)"
6 Velamais degsanas ilgums: Individuala gaismekla degsanas ilguma iestatisana. Katra taustiina nospiesana aktualo laika iestatijumu palielina par 1 minuti (maks. 15 min).
7 Ilgstoša apgaismojuma režims:
Nospiežot taustiŋu sensora režimā, LED starmetis tiek ieslēgts uz 4 stundām (ilgstoši iedegas statusa LED). Nospiežot taustiŋu 4 h ON režimā, LED starmetis tiek izslēgts uz 4 stundām (ilgstoši iedegas statusa LED). 4 stundu režims tiek pamests pēc laika beigām, Reset taustiŋa nospiešanas vai 4 h IZSL. (AUS) režimā, nospiežot 4 h taustiŋu.
"Ilgstoša apgaismojuma režims"
8 Instalešanas režims (Testa režims): instalëšanas režims kalpo funkcionalitates, kā arī uzteres zonas pārbaudei. Neatkarīgi no apgaismojuma, LED starmetis kustības gadījumā ieslēgsies uz 10 sekundēm. Par kustību zino statusa LED. Instalešanas režimam ir priekšrocība attiecībā uz visiem citiem iestatijumiem. Instalešanas režims pēc 10 min tiek automatiski izsglgts. Pēc Reset taustiṇa piespiešanas instalëšanas režims tiek izslegts nekavējoties. Uzmanūb! Teach un instalëšanas režimus nav iespējams izmantot vienlaicīgi.
9 Atiestatīsana: Visu iestatījumu noregulešana atpakal uz LED starmetim manuāli iestatīto vertibu vai rūpnīcas uzstādijumu.
10 Pamatgaisma: Pamata gaisma ar pamata gaismas LED palidzibu nodrošina nelielu apgaismojuma limeni. Galvena gaisma tiek ieslēgta kustības gadijumā uzteres zona uz iestatīto laiku. Pec tam gaisma iesledzas izveletajā pamata apgaismojuma režimā. →"Pamata gaisma (J)"
Inteligenta tālvadības pults (pēc izvēles)
(EAN 4007841009151)
- Vadība ar viedtālruni vai planseti;
-Aizvieto talvadibas pulti.
Lejupladejiet atbilstošo lietotni un savienojiet ar Bluetooth
8. Tīrīsana un kopsana
Izstrādājumam apkope nav nepiecesama.

Risks saistibā ar elektrisko strāvu!
Udens kontakts ar stravu vadošam daß var izraisit šoku, apdegumus vai navi.
Tiriet tikai sausu ierici.
Bojājumu risks!
lerici var sabojat, lietojot nepareizus tirisanas lidzeklus.
- Tiriet ierici ar viegli mitru lupatiu bez tirisanas lidzekla.
Svarigi! Bateriju ierice nav nomainama.

9. Utilização
Elektroierces, baterijas, piederumi un iepakojumi janodod dabai draudzigai atkartotai pärsträdei.

Nemetiet elektrierices un baterijas parastajosatakritumos!
Pults ietver CR 2032 Li-Mn-Dioxide / Organic elektroliu tipa bateriju.
Tikai ES valstim:
Atbilstoši Eiropas vadlinijam par vecām elektroiericēm un elektroniskām ionicēm, un to lietojumam nacionalās tiesī-bās, nefunkcejošas elektroierices un baterijas jāsavac atseviški un tās JANodod dabai draudzīgai atkārtotai pārstrādei.
10. Ražotāja garantija
Ražotāja garantija STEINEL GmbH, Dieselstraße 80-84, DE-33442 Herzebrock-Clarholz, Väcija
Kā pircejam Jums attiecībā pret pārdevēju ir spekā likumā paredzētās garantijas tiesības. Mūsu garantijas saistības nesamazina un neierobežo šīs tiesības, ciktāl tādas pastāv Jūsu valsti. Mēs pieškiram 5 gadu garantiju nevainojamām Jūsu STEINEL profesionalā sensorikas produkta ipašibām un darbībai. Mēs garantējam, ka šim produktam nav materiaīla, rǎzošanas un konstrukcjjas defektu. Mēs garantējam visu elektronisko būvdaμu un kabeiμeksplaatacijas drošumu, kā ari visu izmantoto materiaiμu un to virsmu nevainojamību.
Sudzibu iesniegšana:
Ja vēlaties reklamēt Jūsu iegādāto produktu, lūdzu, nosūtiet to pilnā komplektācījā, apmaksājot pasta izdevumus, pievienojot origināo Čeku, kā ari norādot pirkuma datamu un produkta apzimējumu, Jūsu pārdevējam vai tiesi mums: SIA Ambergs, Brīvības gatte 195-20, LV-1039, Rīga. Tādel mēs iesakām rūpīgi saglabāt pirkuma Čeku līdz garantijas laika beigām. STEINEL nenes atbildūb u partransporta bojājumiem un atpakašu sūtīsanas riskiem.
Informaciju par garantijas pieteikumu Jus atradisiet musu majas lapa www.steinel-professional.de/garantie
Ja Jums ir garantijas gadijums vai Jums ir jautajumi par Jusu iegadato produktu, Jus jebkura laikā varat vérsties servisa dienesta: 00371 29460997.
11. Tehniskie dati
- Izmēri (A x P x Dz):
XLED PRO ONE S: 230 × 229 × 182 mm
XLED PRO ONE PLUS S / Max S: 250 × 259 × 202 mm
XLED PRO ONE: 206 × 229 × 182 mm
XLED PRO ONE PLUS / Max: 226 × 259 × 202 mm
-
Elektrotíkla spriegums: 220 - 240 V, 50/60 Hz
-
Jauda / Efektivitate:
XLED PRO ONE S: 120 lm/W
XLED PRO ONE PLUS S: 129 lm/W
XLED PRO ONE Max S: 122 lm/W
XLED PRO ONE: 126 lm/W
- Strāvas pašpatērīns:
XLED PRO ONE S: 18,4 W
XLED PRO ONE PLUS S: 33,8 W
XLED PRO ONE Max S: 50,1 W
XLED PRO ONE: 17,7 W
- Projicêtais laukums:
XLED PRO ONE S: 180 cm²
XLED PRO ONE PLUS S / Max S: 254 cm²
XLED PRO ONE: 180 cm²
XLED PRO ONE PLUS / Max: 254 cm²
- Svars:
XLED PRO ONE S: 1,45 kg
XLED PRO ONE PLUS S: 1,7 kg
XLED PRO ONE Max S: 1,72 kg
- Krasas attelošanas indekss:
R_a≥ 80
- Sensorika:
XLED PRO ONE S / PLUS S / Max S: pasivs infrasarkans
-Sniedzamiba:
XLED PRO ONE S / PLUS S / Max S: maks. 10 m
-Uztveres lenkis:
XLED PRO ONE S / PLUS S / Max S: 240°
-Laika iestatisana:
XLED PRO ONE S / PLUS S / Max S: 8 s-35 min
- Kreslas sensora iestatisana:
XLED PRO ONE S / PLUS S / Max S: 2-2.000 luksi
- IP / Aizsargklase:
IP44 / I
LV
Papildu slēguma jauda
XLED PRO ONE S / PLUS S / Max S:
-Kvēlspuldžu / halogēno spuldžu slodze: 1.500 W
- Dienesgaismas spuldzes EVG: 430 W
- Nekompensētas dienasgaismas spuldzes: 500 VA
- Rindās kompensētas dienasgaismas spuldzes: 900 VA
- Paraleli kompensetas dienasgaismas spuldzes: 500 VA
- Zema sprieguma halogenu lampas: 1.500 VA
- LED lampas < 2W : 16W
- 2 W < LED lamps < 8 W: 64 W
- LED lampas > 8 W: 64 W
- Kapacitativa slodze: 88 F
12. Traucejumu noversana
lericei netiek pievadita strava.
-
Drošinatajs nav ieslęgts vai ir bojats.
-
lesledziet drošinātāju.
-
Nomainiet bojato drošinātāju.
-
Bojats kabelis.
- Pärbaudiet kabeli ar sprieguma testeri.
- Issavienojums tikla pievadvada.
- Parbaudiet pieslēgumus.
- lespejams izslegtstikla sledzis, ja tads ir ierikots.
- lesledziet tikla sledzi.
lerice neiesledzas.
-
Kreslas slieksna iestatijums izveletsnepareizi.
-
lestatiet no jauna kreslas slieksna iestatijumu.
-
IZSL. tikla sledzis.
-
lestatiet tikla sledzi.
-
Drošinatajs nav ieslęgts vai ir bojats.
-
lesledziet drošinātāju.
-
Nomainiet bojato drošinātāju.
-
Atras kustibas netiek uzvertas, lui mazinatu traucejumus, vai airi uzstadits parak mazs vai nepareizs uzteres lauks
-
Pärbaudiet un justējiet uztversanas zonu.
-Gaismas avots ir bojats.
Gaismas avots nav nomainams. Nomainiet visu ierici.
lerice neizsledzas.
-
Nepārtraukta kustība uztversānas zona.
-
Parbaudiet uztversanas zonu.
-
Pie vajadzības iberbežojiet vai izmainiet uztveres zonu.
- lerice ir piestiprinata tā, ka tā nav pasargata no vibracijām.
- Stingri uzmontejiet ierici.
- Bija kustība, taču novērotājs to neatpazina (kustība aiz siensa, neliela objekta kustība tieša lampas tuvumā utt.).
- Parbaudiet uztveres zonu.
- Pie vajadzibas ierobežojiet vai izmainiet uztveres zonu.
BG
CbDbPkaHne
- 3a To3n DokymeHT 863
- 06и уka3aHЯ 3a 6e3oNaCHOCT 863
- Onincanhe ha yctpoicTBOTO 864
- EneKtpnuecko Cbbp3BaHe 872
- MoHTaX 874
- Φункция 884
8.Почистван e ngржа 892 - OTCTpaHЯBaHe 893
- TapaHcIa OT npOn3BODnteJI 894
- TexHnueckn daHHn 895
- OtrpaHЯBaHe Ha nobpei 897
1. 3a To3n DoKymeHT
- BcuiKn npaba 3aapa3eHn. IpeNeuTaBaHe, DOpN OTKbCJIeHNo, cAmO C HaIe pa3peSeHne.
- 3ana3BaMe cn npaBOTO 3a npomEni, KOnTO cJyKaT Ha TexHnueCKOTO pa3BNTne.

IpeynpejdeHne 3a onacnoctn!

IpeDynpexKdene 3a onacnoctn ot en. Tok!

IpeynpejdeHne 3a onacnoCTn OT Boda!
2.Овциуka3аняза6e3опасноCT

Опасноct пи HeспаЗВане на упьТВанeTo 3a уnotpe6a!
ToBa yIbTbaHe cIbIbpXa BaxHa nHΦopMaζη 3a 6e3Opachoto bopabHe c ypea. Oco6eHo BnImaHne ce NocOuBa KbM Bb3MOxHnte OnaChOCTn. Hecna3BaHeto MOKe Da IIOBeDe Do CMBPT IJI IN TeKKn HapaHЯBaHnY.
- YnbtbaHeto da ce yeTe BHMaTeJHo.
- Yka3aHnraTa 3a 6e3oNaCHOCT da ce cna3BaT.
- Да ce сьхранява на дocъпно място.
- Pa6oTaTc eIeKtpnueckn TOK MoKe Da IIOBeJe Do ONaCHN CInTuaun. IOnIrpBT Do YaactN, IpoBexKaun ToK, MoKe Da IIOBeJe Do eIeKtpnueckn IJOK, IN3rApAHHaIN cMbptT.
- Pa6oTaTaNpexKOBTo HnpeXeHne e DOnyCTMa cMo OT KBaJIuΦnUpaH NepCoHaJ.
-Да ce спаЗВaT cБОТВeTHNte ДьрЖaВиnppeДПИСАнЯ 3a CBbP3BaHe И мOnтж (HaNP. DE: VDE 0100, AT: OVE-ONORM E8001-1, CH: SEV 1000). - Изполизвайто само оригинални peзервни части!
- PemOHTu Ca DoIpyCTnMn Camo OT CpeZnaJn3npaHn 6nprMn.
Notice-Facile