XLED PRO ONE S - Lâmpada STEINEL - Manual de utilização gratuito
Encontre gratuitamente o manual do aparelho XLED PRO ONE S STEINEL em formato PDF.
Baixe as instruções para o seu Lâmpada em formato PDF gratuitamente! Encontre o seu manual XLED PRO ONE S - STEINEL e retome o controlo do seu dispositivo eletrónico. Nesta página estão publicados todos os documentos necessários para a utilização do seu dispositivo. XLED PRO ONE S da marca STEINEL.
MANUAL DE UTILIZADOR XLED PRO ONE S STEINEL
Pelicro por corriente electrica!
Pelicro por corriente electrica!
- Consumo característico:
XLED PRO ONE S: 18,4 W
XLED PRO ONE PLUS S: 33,8 W
XLED PRO ONE Max S: 50,1 W
XLED PRO ONE: 17,7 W
- Sobre este documento 231
- Instruções de segurança gerais 231
- Descrição do aparecido 232
- Ligação eletrica 240
- Montagem 242
- Funcionamento 252
- Acessórios: controlo remoto 257
- Limpeza e conservacao 260
- Reciclagem 261
- Garantia do fabricante 262
- Dados技术和 263
- Eliminação de avarias 265
1. Sobre este documento
- Protegido pela lei sobre direitos de autor. Qualquer reimpressão, mesmo que apenas parcial,sole permitteda com oignon consentimento.
- Reservado o direito a alteracoes que visem o progresso técnico.

Aviso de perigo!
Aviso de perigo originado por eletricidade!
2. Instruções de segurança gerais

A inobservança das instruções de'utilisation acarreta perigos!
Estas instruções contém informações importantes para a utilizesçao segura do aparelho. Potenciais perigos são identificados por indicatores especialicas. A inobservança destas indicatores pode fazer a morte ou ferimentos graves.
- Leia as instruções atentamente.
- Siga as instruções de segurarça.
-
Guarde as instruções num lugar acessível.
-
Lidar com a corrente elétrica pode levar a situações perigosas. O contacto com peças conductoras de corrente pode resultar em什麽 elétrico, queimaduras ou na morte.
- Os trabalho com tensão de rede são permitidos se foram executados por pessoal profissional devidamente qualificado.
-
É necessário respeitar as prescrições de instalação e condições de conexão em vigor nos diversos paises (por ex., DE: VDE 0100, AT: ÖVE-ÖNORM E8001-1, CH: SEV 1000).
-
Utilize somente peças de reposicao originais.
- Reparações são permitidas se foram realizadas por entreprises especializadas.
3. Descrição do aparecido
Utilização prevista XLED PRO ONE S / Plus S / Max S
- Projetor LED com detetor de movimento de infravernelhos.
- Montagem em parede, tanto no interior como no exterior.
- Não apropriadão para ser ligado a reguladores de luz.
- O sensor de raios infravermelhos deteta a radiacaoTERMICA proveniente de corpos em movimento (por ex., pessoas, animais). A radiacaoTERMICA é convertida por meio de umsystema eletronico, ligando o projector LED automaticamente.
- A detecção mais segura de movimento fica salvaguardada se o aparecido for montado lateralismente ao sentido de aproximação.
- A detecção de movimento sera limitada se algoém se aproximar diretamente do aparecido.
- Os obstáculos (por ex., árvores, muros ou vidros) podem limitar ou até impossibilitar a detecção de movimento.
- As oscilações repentinas da temperatura provocadas por condiçõesantes meteorológicas não são distinguíveis de fontes tírmicas.
Utilização prevista XLED PRO ONE / Plus / Max
- Projetores LED.
- Montagem em parede, tanto no interior como no exterior.
- Não apropriadão para ser ligado a reguladores de luz.
Utilização para fins não previstos
- A intensidade de iluminação do projector LED não é regularavel.

Intensidade não regularavel
Itens fornecidos
- XLED PRO ONE S
- XLED PRO ONE Plus S
- XLED PRO ONE Max S
3.1



1 ×


2 ×

- 1 projector LED com detetor de movimento de infravernelhos
- 1 chave Allen
- 1 obturador
-2parafusos - 2buchas
-2anilhas - 2 parafudos semCESSA
- 1 controlo remoto RC 12
- 1 ficha de dados de segurarca
- 1 guia=rápido
Itens fornecidos
- XLED PRO ONE
- XLED PRO ONE Plus
- XLED PRO ONE Max
3.2


- 1 projector LED
- 1 chave Allen
- 2 parafudos semCESSA
- 2 parafusos
- 2buchas
- 2 anilhas
- 1 ficha de dados de segurarca
- 1 guia=rápido
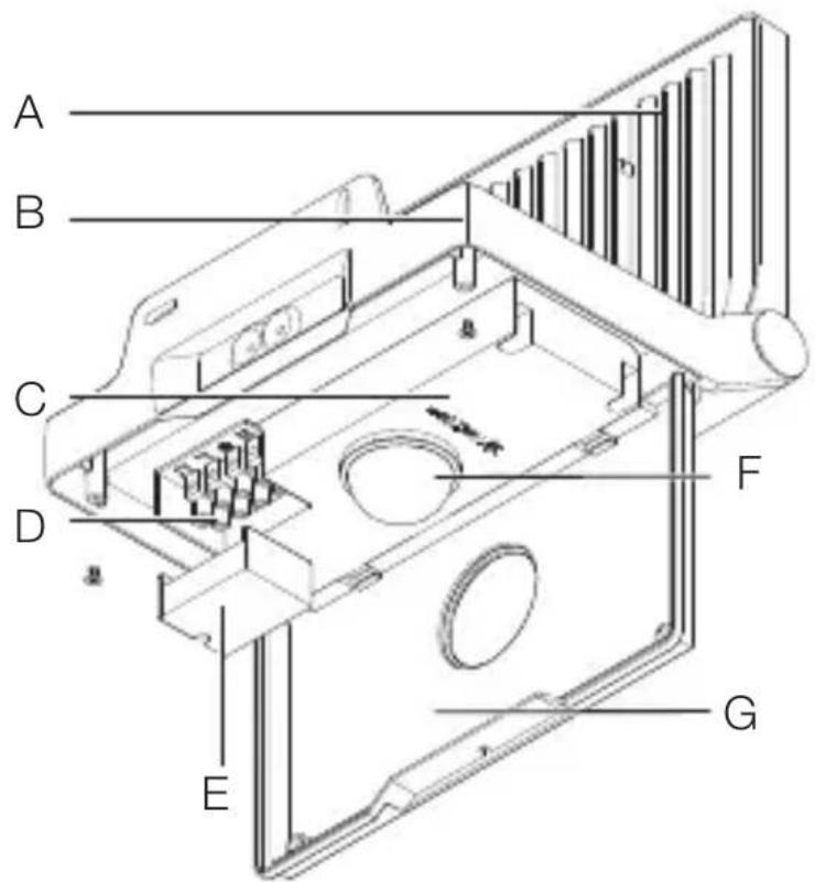
Vista geral do aparelho
XLED PRO ONE S / Plus S / Max S
3.5

PT
A Cabeça do projector LED
B Estribo de montagem
C Potenciómetro
D Barra de junção
E Cobertura da barra de junção
F Unidade de detetores
G Tampa
3.6

H Ajuste do tempo
I RegULAÇÃO crepuscular
J Illuminação de Presence
3.7

K Controlo remoto RC 12
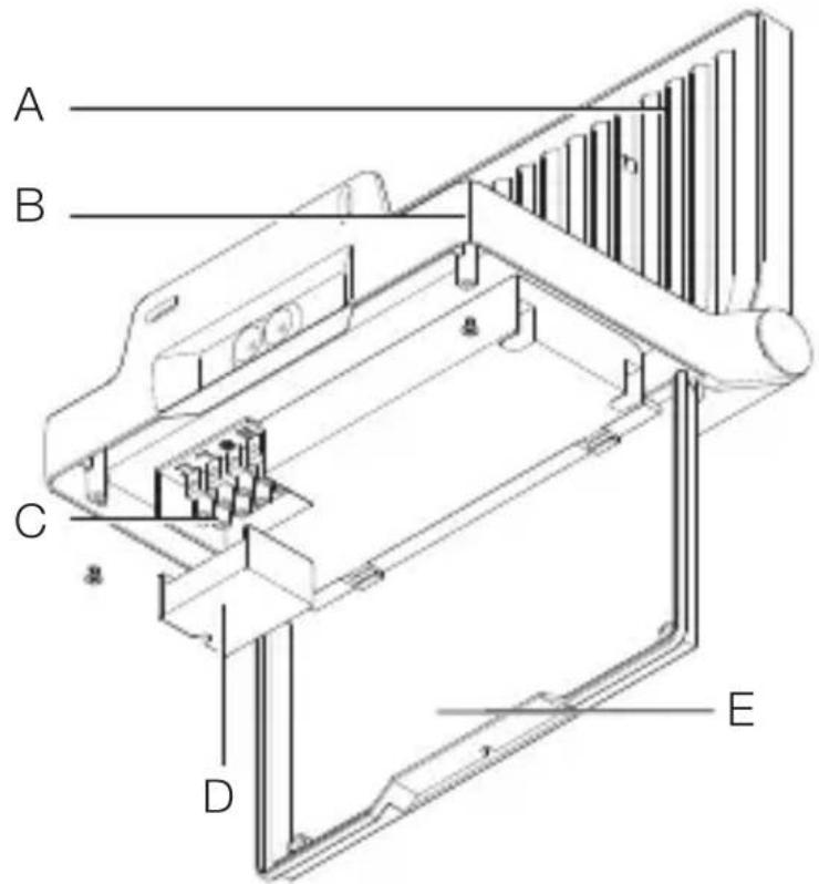
Vista geral do aparelho XLED PRO ONE / Plus / Max
3.8

PT
A Cabela do projector LED
B Estribo de montagem
C Barra de junção
D Cobertura da barra de junção
E Tampa
4. Ligação eletrica
Esquemas electricos XLED PRO ONE S / Plus S / Max S
4.1




Esquemas electricos XLED PRO ONE / Plus / Max

4.2



O cabo de alimentação eletrica é constituído por um cabo de 3 condutores:
L = Fase (geralmente preto, castanho ou cinzento)
N = neutro (geralmente azul)
PE = conductor terra (verde / amarelo)
O aparecido también pode ser ligado a um interruptor de rede se ficar assegurar que o interruptor está sempre ligado.
O LED deste aparecido não pode ser substituído. quando for necessário, ter-se-á de substituir o aparecidoplete.
A fonte de luz这其中 armadura não pode ser substituía, caso soit necessário substitui-la (por ex. no fim da sua vida úlil), tera de ser substituía toda a armadura.

5. Montagem

Perigo de eletrocussao!
Ocontactocompeçascondutorasde corrente poderesultar emchoqueelétrico,queimadurasou na morte.
- Desligue a corrente e suspenda a alimentacao de tensao.
- Verifique a ausência de tensão com um busca-polos.
- Assegure-se de que a alimentação de tensão permanece interrompida.
Perigo de danos materiais!
Se os cabos de ligação foram trocados, poderá ocorrer um curto-circuito.
- Identifique os cabos de ligação.
- Ligue os cabos de ligação corretemente.
Preparação da montagem
- Verifique todos os componentes para detetar eventuals danos. Se detetar qualquer dano, não colque o aparecido em funcaoamento.
Procure um local de montagem adequado.
-Tenha o alcance em conta.
-Tenha a detecao de movimentos em conta.
-À prova de trepidações.
-Área de detectação livre de quaisquer obstáculos.
- Não em和地区 potencialmente explosivas.
- Não em cima de superfícies fácilmente inflamáveis.
- Não olhe para a fonte de luz a distâncias curtas (<30 cm).
-Manter una distancia minima de 50 cm entre os projetores LED.
Alcance XLED PRO ONE S / Plus S / Max S
5.1

PT
Deteçao de movimento lateralmente ao sentido de aproximaço XLED PRO ONE S / Plus S / Max S
5.2

Deteção de movimento no sentido de aproximação XLED PRO ONE S / Plus S / Max S
5.3

Alinhamento do aparelho
5.4

PT
- Alinhe o aparelho corretamente.
Passos para montagem

5.5


- Certifique-se de que a alimentação de tension está desligada.
- Marque os furos.

5.6

- Faça os furos (0 6 mm) e coloque as buchas.

5.7
PT
Desaparafuse a tampa.

5.8
- Abra a tampa.

5.9
- Passe o cabo pada aberruta.

5.10
- Aparafuse o suporte.

5.11
PT

- Desaparafuse a cobertura da barra de junção.
- Faça a ligaçao à rede segundo o esquema elétrico.
"4. Ligação eletrica"
5.12

- Aparafuse a cobertura da barra de junção.
5.13

- Feche a tampa.
- Aparafuse os parafusos de fixação.
5.14


- Alinhe aCESSA do projector e fixe-a com os parafusos semecessa.
5.15


Ligue a fonte de alimentacao eltrica.
- Ajuste as funções.
→“6. Funcimiento”
6. Funcionamento
XLED PRO ONE S / Plus S / Max S
6.1



- Aparafuse a tampa.
- Proceda aos ajustes.
Configurações de fabrica
- Ajuste do tempo: 8segundos
- RegULAção crepuscular: regime diurno 1.000 lux
- Iluminação de presence: DESLIGADO
Ajuste do tempo (H)
O tempo desejado para luz ligada pode ser ajustado continually entre aprox. 8segundos e, no max., 35minutos.Cada movimento detetado acendera a luz de novo.
Nota: sempre que se desliga o projector LED, não é possível nova detecção de movimento durante aprox. 1 segundo. Passado esse tempo, o projector LED volta a poder acender a iluminação ao detetar movimento.
Ao realizar o ajuste da area de detectao e o teste de funcionamento, recomendamosaabustar o tempo mais curto.
Regulação crepuscular (I)
A luminosidade de resposta (crepúsculo) pode ser ajustada progressivamente de aprox. 2 a 2.000 lux.
- Modo diurno (independente da luminosidade)
- = Modo crepuscular (aprox. 2 lux)
Para regular a area de detectao e para o teste de funcaoamento à luz natural, o potenciometro tem de estar em
Illuminação de presence (J)
A iluminação de presence com os LEDs de iluminação bássica produz uma luz de pouca intensidade.
A luz principalsole sera ligadapelotempo predefinido se ocorrerummovimento dentro da area de detecao.A seguir,aluzmuda paraaluminosidabasica selecionada.
- OFF = sem iluminaçãobineira
- 10 min = iluminação tíisica durante 10 minutos antes de decorrindo o tempo de ligação predefinido.
-
30 min = iluminação tíisica durante 30 minutos antes de decorrindo o tempo de ligação predefinido.
-
C = iluminação基本情况 durante toda a noite.
Illuminação的基础的光源。
1) Ativar luz permanente:
- DESLIGAR e LIGAR interruptor 2 vezes.
O projector LED é ligado por 4 horas em modo de luz permanente. A seguir, passa automaticamente para o等功能amento de detetor.
2) Desativar luz permanente:
- DESLIGAR e LIGAR interruptor 1 vez.
A armadura desliga-se ou passa para o functi冗amento de detetor.
Important:
Os processos de comutatione devem ser executados numafiaixa de 0,2 a 1 segundo.
Ajuste da area de detectao
Para excluir as detecções inadvertidas ou monitorizar de forma direcionada pontos especialicos, a area de detectão pode ser limitada e ajustada com o obturador.
6.3


- Posizione o obturador sobre o detetor.
Fixo obturador fechando a tampa.
7. Acessórios: controlo remoto
Controlo remoto RC 12
(EAN 4007841079000)
7.1

PT
- Facilita a instalação de sistemas de iluminação de grandes dimensoes. Àpós a instalação, os projetores LED podem ser ajustados todos de uma vez.
- O controlo remoto permite controlar um número ilimitado de projetores LED.
- Cada premir do botão é confirmado através de um LED de estado no aparecido.
O controlo remoto RC12 funciona com uma pilha do tipo CR2032.
O controlo remoto RC 12 permite usar funções adiconais dos modelos XLED PRO ONE S / Plus S / Max S:
1 RegULAçãocrepuscular: o;nível de luminosidade desejado pode ser ajustado de aprox. 2 a 2.000 lux.
→“Regulação crepuscular (I)”
2 Mododiurno (independente da luminosidade)
3 Modonoturno(2 lux)
4 Ajuste da luminosidade através do botão de memória / modo Teach (2 a 2.000 lux). Este botão deve ser premido no momento em que se verificam as condições de luminosidade desejadas para a ativação futura do detetor de movimento. O valor atual fica memorizado.
5 Ajuste do tempo: premindo os botões, a duração da luz ligada desejada antes a ultima detecção de movimento pode ser definida para 10 s, 1 min., 5 min., 15 min.
"Ajuste do tempo (H)"
6 Duração da luz ligada desejada: fazer aatura da luz ligada para o tempo que se deseja. Cada vez que se premir o botão, o ajuste do tempo aumenta 1 minuto (max. 15 min).
7 Funcionamento de luz permanente: ao premir este botão em funcionamento de detetor, o projector LED acende-se por 4 horas (o LED de estado fica aceso permanente). Ao premir este botão em funcionamento LIGADO por 4 h, o projector LED des Liga-se por 4 horas (o LED de estado fica aceso permanente). O funcionamento de 4 h é cancelado antes de ser decorrido o tempo, premindo o botão reset ou, em funcionamento DESLIGADO por 4 h, premindo o botão 4 h.
"Funcionamento de luz permanente"
8 Modelo Install (modo de teste): o modo Install destiná-se à verificação do funct ionamento e da area de detecção. Independente,mente da luminosidade, o projector LED liga-se por 10 s ao detetar movimento. O movimento é sinalizado através do LED de estado. O modo Install tem prioridade face a todas as outras definições.Passados 10 min.,o modo Install é cancelado automaticamente.Depois de ser premido uma vez o botão reset, o modo Install é cancelado automaticamente.
Atença: o modo Teach e o modo Install não pode ser usados ao mesmo tempo.
9 Reset: recolocação de todas as configurações nos values definidos manualmente no projector LED ou nas configurações de fabrica.
10 Iluminação de presence: a iluminação de presence com os LEDs de iluminação tírica produz uma luz de pouca intensidade. A luz principal está ligada pelo tempo predefinido se ocorrê um movimento dentro da区内 de detectação. A seguir, a luz muda para a luminosidade tírica selecionada. % "Iluminação de presence (J)"
Controlo remotol integiente (optional)
(EAN 4007841009151)
- Controlo por smartphone ou tablet.
-
Substitui o controlo remoto.
-
Descarregue a app correspondente e proceda à ligação via Bluetooth.
8. Limpeza e conservação
O aparecido não require qualquer tipo de manutenção.

Perigo de eletrocussão!
Ocontacto de agua com peças conductoras de corrente pode resultar emCHOque eltrico, queimaduras ou na morte.
- Limpe o aparelho apenas se estiver seco.
Perigo de danos materiais!
Autilização dos detergentes errados pode danificar o aparecido.
- Limpe o aparelho com um pano ligeiramente humedecido sem detergente.
Important: o aparecido não é substituível.

9. Reciclagem
Equipamentos eletricos, pilhas, acessórios e embalagens tem de ser entrega num posto de revalorização ecológica.

Nunca deite equipamentos electrolycos ou pilhas para o lixo domestico!
O controlo remoto contém umailha do tipo CR 2032 de litio / dióxido de manganês / eletrólitos orgânicos.
Apenas para Estados membros da U.E.:
Segundo a diretiva europeia relativa aos resíduos de equipamentos eletricos e eletrónicos, e a respetiva transposão para o direito nacional, todos os equipamentos eletricos e eletrónicos e pilhas em fim de vidautildevem ser recolhidos separadamente e entrega nos pontos de recolha previstos para fins de revalorização ecológica.
10. Garantia do fabricante
Garantia do fabricante STEINEL GmbH, Dieselstraße 80-84, DE-33442 Herzebrock-Clarholz, Alemania
Enquanto comprador, tem direito a uma garantia quer seja legal ou por defeitos de fabrico junto do vendedor. A)nossa declaração de garantia não tem qualquer efeito substitutivo nem limitador sobre"These direitos. Nós concedepos-lhe 5 anos de garantia sobre o perfeito estado e o correto functimento do seu produits da série STEINEL Professional. Garantimos-lhe que o produit não apareça quando defeitos de material, fabrico e construção.
Garantimos as perfeitas condições de functimento de todos os componentes eletrónicos e cabos, bem como a ausência de defeitos em todos os materiais realizados e respetivos acontemados.
Reclamação:
se pretender fazer uma reclamação, ao abrigo da garantia, envie por favor, o seu produto completeo com os respetivos portes PQOs e acompanhado pEO original da fatura de comprA, que devera contrer obligatoriamente a data da comprA e a designação inequivoca do produits, ao seu revendedor ou diretamente a nos: F. Fonseca, S.A. - Rua João Francisco do Casal 87-89, 3800-266 Aveiro. Por isso, recomendamos que guarde a sua fatura de compranum local seguro ate o prazo de garantia expirar. A F. Fon-seca, S.A. não assumira qualquer responsabilitadede los estos e riscos de transporte na devolucao de um produits. Para obter informacoes sobre como reclamar o seu direito a uma intervencao ao abrigo da garantia, visite o nosso site em www.ffonseca.com
Se necessitar de uma intervenção ao abrigo da garantia ou se tiver qualquer DHCPa em relaçao ao seu produits,
contactenos através da)nossa linha de assistência: +351 234 303 900.
5 ANOS GARANTIA DO FABRICANTE
11. Dados技术和
- Dimensoes (a x l x p):
XLED PRO ONE S: 230 × 229 × 182 mm
XLED PRO ONE PLUS S / Max S: 250 × 259 × 202 mm
XLED PRO ONE: 206 × 229 × 182 mm
XLED PRO ONE PLUS / Max: 226 × 259 × 202 ~mm
-
Tensão de rede: 220-240 V, 50/60 Hz
-
Potência / Eficiência:
XLED PRO ONE S: 120 lm/W
XLED PRO ONE PLUS S: 129 lm/W
XLED PRO ONE Max S: 122 lm/W
XLED PRO ONE: 126 lm/W
- Fluxo luminoso / luminosidade:
XLED PRO ONE S: 2.204 lm
XLED PRO ONE PLUS S: 4.370 lm
XLED PRO ONE Max S: 6.116 lm
XLED PRO ONE: 2.236 lm
-
Temperatura de luz: 3.000 K (branco quente)
-
Índice de reprodução de cores:
-
Sistema de detetores:
XLED PRO ONE S / PLUS S / Max S:
infravermelhos passivos
-
Alcance: XLED PRO ONE S / PLUS S / Max S: 10 m, no max.
-
Ângulo de DETECÇÃO:
XLED PRO ONE S / PLUS S / Max S: 240°
-
Ajuste do tempo: XLED PRO ONE S / PLUS S / Max S: 8 s-35 min
-
RegULAção crepuscular: XLED PRO ONE S / PLUS S / Max S: 2-2.000 Lux
-
Classe de proteção IP: IP44 / I
Potência de comutatione suplementar
XLED PRO ONE S / PLUS S / Max S:
- Carga de lampada incandescente / halogeneo: 1.500 W
- Lámpadas fluorescentes, balastro eletrónico: 430 W
- Lampsas fluorescentes, descompensado: 500 VA
-Lampadas fluorescentes, compensado em série: 900 VA - Lámpadas fluorescentes, compensado em paralelo: 500 VA
- Lâmpadas de halogéneo de baixa voltagem: 1.500 VA
- Låmpadas LED < 2 W: 16 W
- 2 W< lampadas LED< 8 W: 64 W
- Låmpadas LED > 8 W: 64 W
- Carga capacita: 88 F
12. Eliminação de avarias
Aparelho sem tensão.
- O fusível não está ligado ou está com defeito.
Ligue o fusivel.
- Substitua o fusivel defeituioso.
-
Linha interrompida.
-
Verifique aLINHA com um busca-polos.
- Curto-circuito no cabo de alimentação eletrica.
- Verificar as ligações.
- Interruption de rede eventualmente existente está desligado.
- Ligue o interruptor de rede.
O aparecido não se liga.
-
Foi escolhida a regulação crepuscular errada.
-
Reajuste a regulação crepuscular.
-
Interruptor de rede DESLIGADO.
-
Ligue o interruptor de rede.
-
O fusível não está ligado ou está com defeito.
Ligue o fusivel.
-
Substitua o fusivel defeituioso.
-
Os movimentos rápidos são suprimados para minimizar as falhas de detectação ou a area de detectação definida é demasiado很小, ou está incorrente.
-
Controle a area de detectao e ajuste.
-
Fonte de luz avariada.
-
A fonte de luz não pode ser substituía. Substitua o aparecido no seu todo.
O aparecido não se desliga.
-
Movimento constante na area de detectao.
-
Controle a area de detectao.
- Se for necessário, restrinja ou modifique a area de detecção.
Oteness of the L -axis.
- O aparecido não foi montado corretamente.
Monte o aparelho com firmeza. - Ocorreu um movimento, mas o observador não reparou (movimento por vezes da parede, movimento de um objeto pouco no nas imédiações diretas da armadura, etc.)
- Controle a area.
- Se for necessário, restrinja ou modifique a area de DETECÇÃO.
SE
Innehäll
BiodwvTeTovbpaxiova.

5.11
GR

- Εεβιδώστε ο το καλυμμα ακροδέκτη.
- u v to a y w o a t o c v a to x i o u v o l o y i a c .
9. Eliminarea ca deseu
Hämarusnivoo seadistamine
J Pohivalgusti
3.7

L = faze (parasti melns, bruns vai peleks)
N = nulles vads (parasti zils)
PE = zemëjums (zaɪs / dzeltens)
lerici var pieslegt aiz tikla sledza ari elektriski, ja ir nodrošinats, ka tikla sledzis ir pastavigi ieslegt.
Notice-Facile