XLED PRO ONE S - Svetilka STEINEL - Brezplačna navodila za uporabo
Brezplačno poiščite navodila za napravo XLED PRO ONE S STEINEL v formatu PDF.
Prenesite navodila za vaš Svetilka v formatu PDF brezplačno! Poiščite svoja navodila XLED PRO ONE S - STEINEL in vzemite svojo elektronsko napravo nazaj v roke. Na tej strani so objavljeni vsi dokumenti, potrebni za uporabo vaše naprave. XLED PRO ONE S znamke STEINEL.
NAVODILA ZA UPORABO XLED PRO ONE S STEINEL
- Vypinač 1× vypnout a zapnout.
- O tem dokumentu 678
- Splošna varnostna navodila 678
3.Opis naprave 679 - Elektruci priključek 687
- Montaža 689
- Delovanje 699
- Oprema daljinski upravljalnik 704
- Čišćenje in nega 707
- Odstranjevanje 708
- Garancija proizvajalca 709
- Tehnicni podatki 710
- Odprava motenj 712
1. O tem dokumentu
- Zašciteno z avtorskimi pravicami. Ponatis v celoti ali po delih je dovoljen le z našim soglasjem.
- Spremembe zaradi tehničega napredka so pridržane.

Opozorilo pred nevarnostmi!

Opozorilo pred nevarnostmi zaradi elektrike!

Opozorilo pred nevarnostmi zaradi vode!
2. Splošna varnostna navodila

Če ne upostevate navodil za uporabo, grozi nevarnost!
Ta navodila vsebujejo pomembne informacije za varno uporabo naprave. Še posebej opozarjamo na mogočene nevarnosti. Neupoštevanje lahko ima za posledico smrtne ali težje poškodbe.
Navodila skrbno preberite.
- Upoštevajte varnostne napotke.
- Shranite jih na dostopnem mesti.
Ravnanje z elektricnim tokom lahko povzroci nevarne situacione. Dotikanje delov pod napetostjo lahko povzroci elektricni udar, opekline ali smrt.
- Dela na omrežni napetosti lahko izvaja le usposobljeno tehnicno osebje.
- Upostevajte lokalne predpise za instalacijo in priključitev (npr. DE: VDE 0100, AT: ÖVE-ÖNORM E8001-1, CH: SEV 1000).
- Uporabljajeismo originalne nadomestndele.
- Popravila naj izvajajo le strokovne delavnice.
3. Opis naprave
Namenska uporaba
XLED PRO ONE S / Plus S / Max S
- LED-reflektor z infrardečim senzorjem gibanja
- Svetilka za montažo na steno v stavbah in zunanjih področijh
- Ni primerno za priključek na elektrICI regulator
Princip delovanja
- Infrardeči senzor zaznava toplotno sevanje premikajocih se teles (ljudi,Živali itd.). Toplotno sevanje se elektron-sko pretvori in takov samodejno vklopi LED-reflektor.
- Najbolj varno zajetje premikanja dobimo pri montaži na strani glede na smer premikanja.
- Doseg zajetja premikanja je omejen, kadar se senzorju približujete negosredno.
- Ovire (npr. drevesa, zidovi ali steklene šipe) lahko omejijo ali onemogocijo zajemanje premikanja.
- Nenadnih temperaturnih spremb zaradi vremenskih vplivov toplotni viri ne razlikujejo.
Namenska uporaba
XLED PRO ONE / Plus / Max
- LED-reflektor.
- Svetilka za montažo na steno v stavbah in zunanjih področijh
- Ni primerno za priključek na elektrichi regulator
Nenamenska uporaba
- LED-reflektorja ni mogoće zatemniti.

Ni mogoče zatemniti
Obseg dobave
- XLED PRO ONE S
- XLED PRO ONE Plus S
- XLED PRO ONE Max S

3.1
- 1 LED-reflektor z infrardečim senzorjem gibanja
- 1 ključ z notranjim šestrobom
- 1 prekrivna skodelica
-2vijaka
-2vložka
-2 podložki - 2 navojna vijaka
- 1 daljinski upravljalnik RC 12
- 1 varnostni list
- 1 hiter zagon
Obseg dobave
-XLED PRO ONE
- XLED PRO ONE Plus
- XLED PRO ONE Max
3.2


- 1 LED-reflektor
- 1 ključ z notranjim šestrobom
- 2 navojna vijaka
-2vijaka - 2 vložka
-2 podložki - 1 varnostni list
- 1 hiter zagon
Mere izdelka XLED PRO ONE S
- XLED PRO ONE S (a)
- XLED PRO ONE Plus S (b)
- XLED PRO ONE Max S (c)
3.3

229 mm (a)
259 mm (b),(c)
182 mm (a)
202 mm (b),(c)

Mere izdelka XLED PRO ONE
- XLED PRO ONE (a)
- XLED PRO ONE Plus (b)
- XLED PRO ONE Max (c)
3.4

229 mm (a)
259 mm (b),(c)
182 mm (a)
202 mm (b),(c)

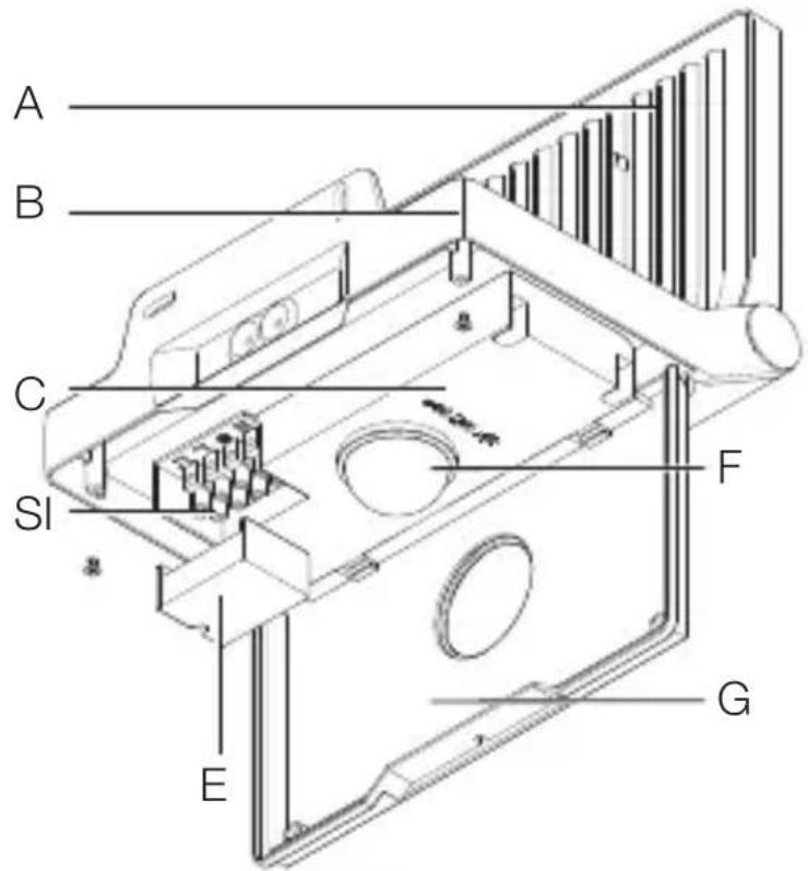
Pregled naprav XLED PRO ONE S / Plus S / Max S
3.5

A LED-glava reflectkorja
B Montažni ročaj
C Nastavitveni gumb
D Priključna sponka
E Pokrov sponk
F Senzorska enota
G Pokrov
3.6

H Nastavitev Časa
I Nastavitev zatemnitve
J Osnovna osvetlitev
3.7

K Daljinski upravljalnik RC 12
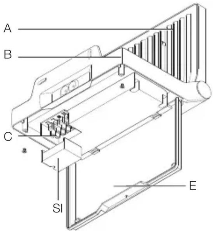
Pregled naprav XLED PRO ONE / Plus / Max
3.8

A LED-glava reflectkorja
B Montažni ročaj
C Priključna sponka
D Pokrov sponk
E Pokrov
Vezni načrti XLED PRO ONE / Plus / Max

4.2



Elektricna napeljava je sestavljena iz 3-žilnega kabla:
L = Faza (praviloma crn, rjav ali siv)
N = Nevtralni vodnik (praviloma moder)
PE = Varnostni vod (zeleno / rumen)
Napravo je mogoce priključiti tudi elektricno na omrežno stikalo, Če se zagotovi, da je omrežno stikalo stalno vključeno.
Dotikanje delov pod napetostjo lahko povzroci elektricni udar, opekline ali smrt.
- Izklopite tok in prekinite dovajanje napetosti.
- S faznim preizkuševalcem preverite, da ni napetosti.
- Poskrbite, da ostane dovajanje napetosti prekinjeno.
Nevarnost gmotne škode!
Pri zamenjavi priključnih napeljav lahko pride do kratkega stika.
- Identificirajte priključne napeljave.
- Priključne napeljave pravilno zvežite.
Priprave za montažo
- Preverite vse sklope, ali so morda poskodovani.
Poškodovanega izdelka ne uporabljajte.
- Izberite primerno mesto montaže.
-Upostevajte doseg.
-Upostevajte doseg zaznavanja gibanja.
-Stabilna montaža.
-V območju zaznavanja ni ovir.
-Naprave ne smete nikoli montirati v predelu, kjer obstaja nevarnost eksplozije.
-Ne montirajte na lahko vnetljive povrsine.
-Ne usmerjaje pogleda v svetlobni vir iz kratke razdalje (< 30 cm).
- Ohranjaje oddaljenost vsaj 50 cm od drugih LED-reflektorjev.
- Napravo prvilno usmerite.
Navodila za montažo

5.5


- Preverite, ali je dovod napetosti izklopljen.
Zarisite luknje za vrtanje.

5.6


- Izvirtajte luktne (Ø 6) in vstavite vložke.
5.7

- Pokrov odvijačite.
5.8

- Pokrov odprite.

Kabel povlecite skozi odprtino.

- Privijačite locenj.
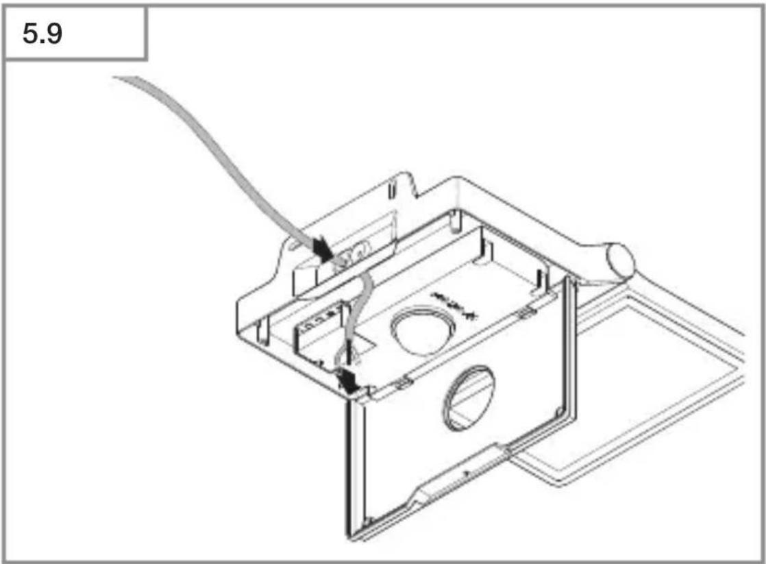
5.11


- Pokrov sponk odvijačite
- Elektricno napeljavo priključite v skladu s stikalnim načrtom.
→»4. Elektricni priključek«
5.12

- Pokrov sponk privijačite.
5.13

- Pokrov zaprite.
Uvijačite varnostne vijake.
5.14


- Poravnajte glavo reflektorja in jo pritrdite z navojnimi vijaki.
5.15


Tovarniške nastavitve
- Nastavitev Časa: 8 sekund
- Nastavitev zatemnitve: delovanje pri dnevni svetlobi 1.000 luksov
- Osnovna osvetlitev: IZKLOP
Nastavitev Časa (H)
Zakasnitev izklopa lahko nastavite brezstopenjsko od pribl. 8 sekund do največ 35 minut Vsako zajeto premikanje znova vklopi luč.
Napotec: Po vsakem izklopu LED-reflektorja je po pribl. 1 sekundi onemogočeno ponovno zajemanje premikanja LED-reflektor nato po premikanju ponovno vklopi luč.
Za nastavitev območja zaznavanja in preverjanje delovanja se priporoča majkrajša nastavitev šasa.
Nastavitev zatemnitve (I)
delovanje ob dnevni svetlobi (neodvisno od svetlobe)

zatemnitveno delovanje (pribl. 2 luksa)
Pri nastavitvi območja zajemanja in za test delovanja pri dnevni svetlobi mora biti gumb za reguliranje na
Osnovna osvetlitev (J)
Osnovna svetlost s pomočjo osnovnih svetlobnih diod zagotavlja nizko stopnjo osvetlitve.
Šele pri ustreznem gibanju v območju zaznavanja se glavna luč vklopi za nastavljeni čas. Po tem svetilka ponovno preklopi na osnovno svetlobo.
- OFF = ni osnovne osvetlitve
- 10 min = osnovna osvetlitev za 10 minut po poteku izbranegaČasa naknadega teka.
-
30 min = osnovna osvetlitev za 30 minut po poteku izbranegaČasa naknadega teka.
-
C = osnovna osvetlitev vso noč. Osnovna osvetlitev, takoj ko svetloba okolice pade pod nastavljeno svetlost odziva.
Stalna osvetlitev
6.2

1) Nastavitev stalne osvetlitve:
Stikalo 2 x IZKLJ. in VKLJ.
LED-reflektor se za 4 ure preklopi na trajno osvetlitev (statusna LED-dioda VKLJ.). Po tem se samodejno spel preklopi v delovanje senzorja.
2) Izklapljanje stalne osvetlitve:
Stikalo 1 x IZKLJ. in VKLJ.
Svetilka ugasne oziroma preklopi v senzorsko delovanje.
Pomembno:
Stikalni postopki morajo biti izvedeni v območju od 0,2 do 1 sekunde.
Nastavitev območja zaznavanja
Da se izognete napačnemu vklapljanju ali za namensko nadziranje dolocenih območij, lahko območje zaznavanja omejite in nastavite s prekrivno skodelico.
6.3


- Prekrivno skodelico dajte na senzor.
- Prekrivno skodelico pritrdite z zaprtjemPokrova.
7. Oprema daljinski upravljalnik
Daljinski upravljalnik RC 12
(EAN 4007841079000)
7.1

- Olajsa nastavitve večjih systemov razsvetljave. Po name-stitvi lahko LED-reflektorje nastavite skupaj.
- Z daljinskim upravljalnikom lahko krnilite poljubno stevilo LED-reflektorjev.
- Vsak veljavni pritisk tipke se na napravi potradi s statusno LED-diodo.
V daljinskem upravljalniku RC12 se uporablja baterija CR2032.
Z daljinskim upravljalnikom RC 12 lahko uporabljatedodatne funkcjje XLED PRO ONE S / Plus S / Max S:
1 Nastavitev zatemnitve: Želeni zaznavni prag senzorja svetilke je možno nastavlji med pribl. 2 do 2.000 luksov.
Nastavitev zatemnitve (I)
2 Delovanje ob dnevni svetlobi (neodvisno od svetlobe)
3 Delovanjeponovi(2 luksa)
4 Nastavitev svetlosti s tipko pomnilnika / način učenja (2 do 2.000 luksov). PriŽelenih svetlobnih razmerah, pri katerih raj senzor v prihodnje ob zaznanem premikanju reagira, pritisnite tipko. Shranjena bo trenutna vrednost.
5 Nastavitevčasa:Želeni šas svetenja svetilke po zadnjem zaznanem premikanju lahko s tipkami nastavite na 10 sek., 1 min., 5 min., 15 min.
→»Nastavitevčasa (H)«
6 Želeno trajanje svetenja: Nastavitev trajanja svetenja posamične svetilke na točno dolocen čas. Vsak pritisk tipke poveča trenutno nastavitev časa za 1 minuto (največ 15 min.).
7 Stalnaosvetlitev:
Ob pritisku na tipko med senzorskim delovanjem bo LED-žaromet neprekinjeno vklopljena 4 ure (statusna LED-dioda stalno sveti). Ob pritisku na tipkov 4-urnem delovanju bo LED-reflektor 4 ure izklopljen(statusna LED-dioda stalno sveti). 4-urno delovanje zapustite po potekuČasa s tipko ponastavitev ali pri 4-urnem delovanju s pritiskom tipke 4 h.
→»Stalna osvetlitev«
8 Namestitveni način (testni način): Namestitveni način je namenjen preverjanju funkcjie in območja zajemanja. Neodvisno od osvetljenosti se LED-reflektor pri gibanju vklopi za pribl. 10 sek. Gibanje signalizira statusna LED-dioda. Namestitveni način ima prednost pred vsemi drugimi nastavitvami. Po 10 min. sledi samodejni izhod iz namestitvenega načina. Po pritisku na ponastavitveno tipko sledi izhod iz namestitvenega načina. Pozor: Način učenja in nastavitveni način ne morete uporabljati hkrati.
9 Reset: Ponastavitev vseh nastavitev javljalnika na vrednosti, ki so bile ročno nastavljene na LED-reflektorju oz. na tovarniške nastavitve.
10 Osnovnasvetlost: Osnovna svetlost s pomočjo osnovnih svetlobnih diod zagotavlja nizko stopnjo osvetlitve. Šele pri ustreznem gibanju v območju zaznavanja se glavna luč vklopi za nastavljeni čas. Po tem svetilka ponovno preklopi na osnovno svetlobo. →»Osnovna osvetlitev (J)«
Inteligentni daljinski upravljalnik (dodatna možnost)
(EAN 4007841009151)
- Upravljanje s pametnim Telefonom ali tablico
-
Nadomesti daljinski upravljalnik.
-
Naložite ustrezno aplikacijo in povežite s funkcjio Bluetooth.
8. Čišćenje in nega
Naprave ni treba vzdhrževati.

Nevarnost zaradi elektricnega toka!
Stik vode z deli pod napetostjo lahko povzroci elektrichi udar, opekline ali smrt.
- Napravo Čistite le, ko je suha.
Nevarnost gmotne škode!
Napačno Čistilo lahko poskoduje napravo.
- Napravo Čistite z nekoliko navlaženo krpo brez Čistila.
Pomembno: Krmilna naprava ni zamenljiva.

9. Odstranjevanje
Elektricne aparate, baterije, opremo in embalažo je treba oddati v okolju prijazno ponovno predelavo.

Elektricnih aparatov in baterij ne odstranjujtes hišnimi opadki!
V daljinskem upravljaliniku se uporablja baterija CR 2032 Li-Mn-dioksid / organski elektroliti.
Samo za države Članice EU:
V skladu z veljavno Evropsko direktivo o izrabljenih elektrich-nih in elektronskih aparatih in njenim prenosom v nacional-no zakonodajo je elektriche aparate in baterije, ki niso več uporabni, treba zbirati ločeno in jih oddati v okolju prijazno ponovno predelavo.
10. Garancija proizvajalca
Garancija proizvajalca STEINEL GmbH, Dieselstraße 80-84, DE-33442 Herzebrock-Clarholz, Nemčija
Kot kupcu so vam v skladu s 437. Členom in nadalnjimi Členi Civilnega zakonska (BGB, Bürgerliches Gesetzbuch) na voljo zakonske garancijske pravice (naknadna izpolnitev, odstop od kupoprodajne pogodbe, zmanjšanje kupnine, odškodnina in nadomestilo za stroške). Naša garancijska izjava teh pravic ne krajša in ne omejuje. Poleg zakonske-ga garancijskega obdobja vam dajemo 5-letno garancijo na brezhibno sestavo in pravilno delovanje tega izdelka STEINEL-Professional-Sensorik. Jamčimo, da izdelek nima materialnih in tovarniških napak ali napak v sestavi. Jamčimo za delovanje vseh elektronskih sklopopov in kablov ter za brezhibnost vseh uporabljenih materialov in njihovih povrsin.
Uveljavljanje:
Čeželite izdelek reklamirati, posljite cel izdelek s placano poštninger in prilozite originalni račun, ki vsebuje datum nakupa in poimenovanje izdelka, svojemu trgovcu ali neposredno na nasnaslov: VP ELEKTRO-PROJEKT D.O.O., SREDNJE BITNJE 70, 4209 ŽABNICA. Priporočamo vam, da račun skrbno hranite do poteka garancijskega obdobja. Za transportne stroške in tveganja v okviru vračila družba STEINEL ne prevzema jamstva.
Informacione o uveljavljanju garancijskega primera najdete na naši splletni strani www.veleprodaja-ep.si / www.steinel.de
Če imate garancijski primer ali vprašanje glede izdelka, nas lahkoPokličete na Telefonsko številko servisa 040 856-555 / 059 365-750 (-751 / -752).
11. Tehnični podatki
-Mere (V× × G)
XLED PRO ONE S: 230 × 229 × 182 mm
XLED PRO ONE PLUS S / Max S: 250 × 259 × 202 mm
XLED PRO ONE: 206 × 229 × 182 mm
XLED PRO ONE PLUS / Max: 226 × 259 × 202 mm
- Omrežna napetost: 220-240 V, 50/60 Hz
-Moc/učinkovitost:
XLED PRO ONE S: 120 lm/W
XLED PRO ONE PLUS S: 129 lm/W
XLED PRO ONE Max S: 122 lm/W
XLED PRO ONE: 126 Im/W
- Svetlobni tok / svetlost:
XLED PRO ONE S: 2.204 lm
XLED PRO ONE PLUS S: 4.370 lm
XLED PRO ONE Max S: 6.116 lm
XLED PRO ONE: 2.236 lm
- Nastavitev zatemnitve:
XLED PRO ONE S / PLUS S / Max S: 2-2.000 luksov
Razred zaščite IP:
IP44 / I
Dodatna vklopna moč
XLED PRO ONE S / PLUS S / Max S:
- Obremenitev Žarnice / halogenske svetilke: 1.500 W
- Neonske svetilke EVG: 430 W
- Neonske svetilke nekompenzirane: 500 VA
- Neonske svetilke zaporedno kompenzirane: 900 VA
- Neonske svetilke vzporedno kompenzirane: 500 VA
- Nizkovoltne halogenske svetilke: 1.500 VA
- Sijalke LED < 2 W: 16 W
- 2 W < sijalke LED < 8 W: 64 W
- Sijalke LED > 8 W: 64 W
- Kapacitivna obremenitev: 88 F
12. Odprava motenj
Naprava je brez napetosti
- Varovalka ni vklopljena ali je okvarjena.
Vklopite varovalko.
- Zamenjaje okvarjeno varovalko.
- Prekinjena napeljava.
- Preverite napeljavo z indicatorjem napetosti.
- Kratek stik v elektrichi napeljavi.
Preverite priključke. - Morebitno prisotno omrežno stikalo je izklopljeno.
Vklopite omrežno stikalo.
Naprava se ne vklopi.
-
Nastavitev zatemnitve je napačno izbrana.
-
Nastavitev zatemnitve nastavite na novo.
-
Omrežno stikalo je izklopljeno.
-
Nastavite omrežno stikalo.
-
Varovalka ni vklopljena ali je okvarjena.
Vklopite varovalko.
-
Zamenjaje okvarjeno varovalko.
-
Hitra premikanja so zatrta z namenom zmanjsati motnje ali pa je področje zaznavanja nastavljeno nepravilno.
-
Preverite in nastavite območje zaznavanja.
-
Okvarjeni vir svetlobe.
-
Vir svetlobe ni nadomestljiv. Napravo v celoti zamenjaje.
-
Stalno premikanje na območju zaznavanja.
-
Preverite območje zaznavanja.
- Po potrebi omejite ali spremenite območje zaznavanja.
Naprava se nezaželeno vklopi.
-
Naprava ni dovolj Čvrsto nameščena.
-
Napravo trdno montirajte.
-
Premikanje je obstajalo, toda opazovalec ga ni prepoznal (premikanje za steno, premikanje majhnega predmetaČisto v blizini svetilke, itd.)
-
Preverite področje.
- Po potrebi omejite ali spremenite območje zaznavanja.
HR
Sadržaj
- Uz ovaj Dokument 715
- Opé sigurnosne napomene 715
3.Opis uredaja 716 - Elektrichi priključak 724
- Montaža 726
- Funkcija 736
- Pribor za daljinski upravljanje 741
- Čišćenje i njega 744
- Zbrinjavanje 745
- Jamstvo proizvodača 746
- Tehnicki podaci 747
- Uklanjanje smetnji 749
1. Uz ovaj Dokument
Poravnavanje uredaja.
5.4

Inteligentno daljinski upravljanje (opcija)
(EAN 4007841009151)
- Upravljanje pomocu pametnog Telefona ili tableta
-
Zamjenjuje daljinski upravljač.
-
Učitajte odgovarajuću aplikaciju i spojite putem Bluetootha.
8. Čišćenje i njega
Ureaj ne treba održavati.

Notice-Facile