XLED PRO ONE S - Lampe STEINEL - Notice d'utilisation et mode d'emploi gratuit
Retrouvez gratuitement la notice de l'appareil XLED PRO ONE S STEINEL au format PDF.
| Caractéristiques techniques | LED, puissance 20 W, température de couleur 4000 K, flux lumineux 2000 lm |
|---|---|
| Utilisation | Éclairage extérieur, idéal pour les jardins, entrées et façades |
| Maintenance et réparation | Remplacement des LED non nécessaire, nettoyage régulier recommandé |
| Sécurité | Indice de protection IP44, résistant aux projections d'eau |
| Informations générales | Installation facile, compatible avec détecteurs de mouvement, garantie 2 ans |
FOIRE AUX QUESTIONS - XLED PRO ONE S STEINEL
Téléchargez la notice de votre Lampe au format PDF gratuitement ! Retrouvez votre notice XLED PRO ONE S - STEINEL et reprennez votre appareil électronique en main. Sur cette page sont publiés tous les documents nécessaires à l'utilisation de votre appareil XLED PRO ONE S de la marque STEINEL.
MODE D'EMPLOI XLED PRO ONE S STEINEL
1.Àproposdecedocument 79
2. Consignes de sécurité generales 79
3. Description de l'ordinateil 80
4. Branchement électrique 88
5. Montage 90
6. Fonctions 100
7. Accessoires télécommande 105
8. Nettoyage et entretien 108
9. Recyclage 109
10. Garantie du fabricant 110
11. Caractéristiques techniques 113
12. Dépannage 115
- Il est protégé par la loi sur les droits d'auteur. Une réimpression, même partielle, n'est autorisée qu'après notre accord préalable.
- Sous réserve de modifications techniques permettant des améliorations techniques.

Attention danger!

Attention danger du au courant electrique!

Attention danger du à l'eau!
2. Consignes de sécurité générales

Danger en cas de non-respect des instructions du mode d'emploi!
Leprésent document contient des informations importantes sur la manipulation et l'utilisation en toute sécurité de l'appareil. Nous signalerons les risques éventuels au fur et à mesure dans ce document. L'ignorance des risques peut entrainer de graves blessures, voir la mort.
- Veuillez dire attentivement le mode d'emploi.
- Veuillez respecter les consignes de sécurité.
-
Le conserver à portée de la main.
-
Le travail sur des installations électriques peut désenter des dangers. Le contact avec des pieces sous tension peut entrainer une électrocution, des brûlures, voir la mort.
- Seules des personnes qualifiées et spécialisées sont autorisées à effectuer des travaux sur le réseau électrique.
- Ces travaux doivent donc être effectuels correctement et conformément aux normes en vigueur (p. ex. NF C-15100, A - ÖVE / ÖNORM E8001-1, CH - SEV 1000).
- Utiliser uniquement des pieces de rechange d'origine.
- Uniquement des entreprises spécialisées sont autorisées à effectuer des réparations.
- Projecteur LED avec détecteur de mouvement infrarouge.
- Montage mural à l'intérieur et à l'extérieur.
- Ne convient pas à une connexion avec variateur de lumière.
Principe de fonctionnement
- Le détecteur infrarouge détecte le rayonnement de chaleur invisible émis par les corps en mouvement (personnes, animaux, etc.). Le rayonnement de chaleur ainsi capte est ensuite traité par un système électrique qui met en marche automatiquement le projecteur LED.
- La détction des mouvements est la plus fiable quand l'appareil est monté perpendicular à un sens de passage.
- La portée de la détction du mouvement est limitée si vous avancez directement vers le détecteur.
- Les obstacles comme les arbres, les murs ou les vitres peuvent limiter, voir donc impossible la détction des mouvements.
- L'appareil ne peut pas faire la différence entre des variations brutes de température dues à des intempérières ou à des sources de chaleur.
Utilisation conforme aux prescriptions XLED PRO ONE / Plus / Max
- Projecteur LED.
- Montage mural à l'intérieur et à l'extérieur.
- Ne convient pas à une connexion avec variateur de lumière
Utilisation non conforme aux prescriptions
- Il n'est pas possible de régler l'intensité lumineuse du projecteur LED.

Sans variateur
Contenu de la livraison
- XLED PRO ONE S
- XLED PRO ONE Plus S
- XLED PRO ONE Max S

3.1
FR
- 1 projecteur LED avec détecteur de mouvement infrarouge
- 1 clé Allen
- 1 cache enchachable
- 2 vis
- 2 chevilles
- 2 rondelles plates
- 2 vis sans tête
- 1 télécommande RC 12
- 1 fiche technique de sécurité
- 1 guide de démarrage rapide
Contenu de la livraison
- XLED PRO ONE
- XLED PRO ONE Plus
- XLED PRO ONE Max
3.2


- 1 projecteur LED
- 1 clé Allen
- 2 vis sans tête
- 2 vis
- 2 chevilles
- 2 rondelles plates
- 1 fiche technique de sécurité
- 1 guide de démarrage rapide
Dimensions du produit XLED PRO ONE S
- XLED PRO ONE S (a)
- XLED PRO ONE Plus S (b)
- XLED PRO ONE Max S (c)
FR
3.3

229 mm (a)
259 mm (b),(c)
182 mm (a)
202 mm (b),(c)

aee
Dimensions du produit XLED PRO ONE
- XLED PRO ONE (a)
- XLED PRO ONE Plus (b)
- XLED PRO ONE Max (c)
3.4

229 mm (a)
259 mm (b),(c)
182 mm (a)
202 mm (b),(c)

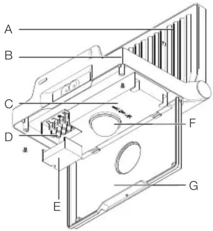
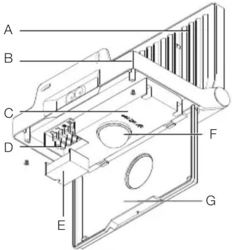
Vue d'ensemble de l'appareil XLED PRO ONE S / Plus S / Max S
3.5

A Tete du projecteur LED
B Etrier de montage
C Boutons de réglage
D Domino
E Cache de la borne
F Deteceur
G Cache
3.6

H Temporisation
Réglage du seuil de déclenchement
J Balisage
3.7

K Telecommande RC 12
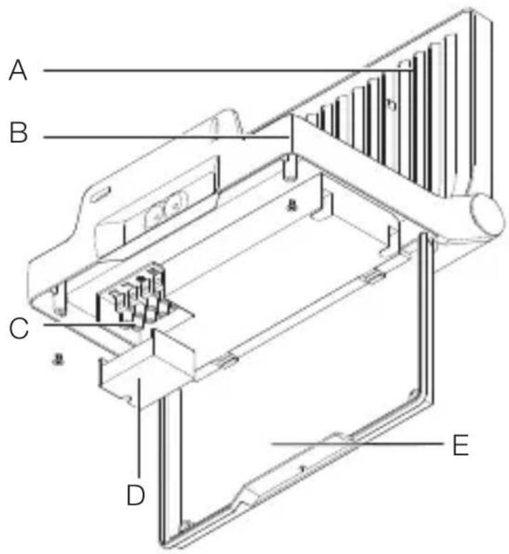
Vue d'ensemble de l'appareil
XLED PRO ONE / Plus / Max
FR
3.8

A Tete du projecteur LED
B Etrier de montage
C Domino
D Cache de la borne
E Cache
4. Branchement électrique
Schémas des connexions du XLED PRO ONE S / Plus S / Max S
4.1




Schémas des connexions du XLED PRO ONE / Plus / Max
FR
4.2




Le cable secteur est composé d'un cable à 3 conducteurs :
L = phase (généralement noir, marron ou gris)
N = neutrre (généralement bleu)
PE = conducteur de terre (vert / jaune)
Il est possible de brancher l'appareil également en aval d'un interrupteur secteur s'il est garantie que ce dernier est toujours en position MARCHE.
Il n'est pas possible de remplacer la LED de ce projecteur. Il faut, si nécessaire, remplacer tout l'ordinateil.
Il n'est pas possible de remplacer la source de ce luminaire. S'il fallait la remplacer (par ex. si elle est brûlée), il faut remplacer le luminaire en entier. S'il fallait la remplacer (par ex. si elle est brûlée), il faut remplacer le luminaire en entier.

5. Montage

Risque d'électrocution!
Le contact avec des pieces sous tension peut entrainer une électrocution, des brûlures, voir la mort.
- Mettre l'appareil hors tension et couper l'alimentation électrique.
- Vérifier l'absence de tension à l'aide d'un testeur de tension.
- S'assurer que l'alimentation électrique demeure coupée.
Risque de dommages matériels!
Une intervention des cables de raccordement peut conduire à un court-circuit.
- Repérer les câbles de raccordement.
- Brancher correctement les cables de raccordement.
Préparatifs de montage
- Contrôler l'absence de dommages sur toutes les pieces. Ne pasmettre l'appareil en service en cas de dommage.
- Sélectionner le lieu d'installation approprié.
- En tenant compte de la portée et de la détction des mouvements.
-Monter l'appareil à l'abri d'eventuelles secousses.
-Zones de détention sans obstacle.
-Il est interdit d'installer l'appareil dans des zones à risque d'explosion.
-Ne pas monter l'appareil sur des surfaces inflammables.
-Ne pas regarder directement la source lumineuse allumée à une courte distance (< 30 cm).
-À une distance minimale de 50 cm des autres projecteurs LED.
Portée du XLED PRO ONE S / Plus S / Max S
5.1

Détection de mouvement perpendicular àusens du passage XLED PRO ONE S / Plus S / Max S
5.2
$$ \leq 1 0 _ {m} $$
Détection de mouvement dans le sens du passage XLED PRO ONE S / Plus S / Max S
5.3
$$ \sim 4 m $$
Orientation du projecteur
5.4

FR
- Projecteur correctement orienté.
Étapes de montage

5.5


- Vérifier que l'alimentation électrique a été coupée.
- Marquer l'emplacement des trous.

5.6


- Percer les troughs (Ø 6 mm) puismettre les chevilles.

5.7
FR
- Dévisser le couvercle.

5.8
Ouvril couvercle.
5.9

- Faire passer le cable à travers l'orifice.
5.10

- Visser l'étrier.

5.11
FR

- Dévisser le cache de la borne.
- Brancher le cable secteur conformément au schéma des connexions.
→ « 4. Branchement électrique »
5.12

- Visser le cache de la borne.
5.13

Refermer le couvercle.
- Serrer les vis de blocage.
5.14

FR

- Orienter la tête du projecteur et la fixer en serrant les vis sans tête.
5.15


- Mettre l'appareil sous tension.
- Régler les fonctions.
→ « 6. Fonctions »
6. Fonctions
XLED PRO ONE S / Plus S / Max S
6.1



- Visser le couvercle.
- Proceder aux réglages.
Réglages effectuels en usine
- Temporisation : 8 seconds
- Réglage du seuil de déclenchement : fonctionnement diurne 1.000 lx
-Balisage:DESACTIVE
Temporisation (H)
Il est possible de régler progressivement la temporisation d'environ 8 secondes à 35 minutes au maximum. Tout mouvement détecté allume à nouveau le projecteur.
Remarque : après chaque extinction du projecteur LED, une nouvelle détction de mouvement est interrompue pendant 1 seconde environ. Ce n'est qu'à l'issue de ce laps de temps que le projecteur LED peut à nouveau enclencher l'éclairage en cas de mouvement.
Lors du réglage de la zone de détention et du test de fonctionnement, nous recommendons de régler la durée la plus courte.
Réglage du seuil de déclenchement (I)
Il est possible de régler progressivement la luminosité de déclenchement entre env. 2 à 2.000 lx.

fonctionnement diurne (indépendamment de la luminosite)

fonctionnement nocturne (env. 2 lx)
Lors du réglage de la zone de détction et du test de fonctionnement en plein jour, le bouton de réglage doit être sur
Balisage (J)
Les LED de balisage garantissant un niveau d'éclairage minimum (balisage).
Ce n'est que lorsqu'un mouvement est detecté dans la zone de détction que l'éclairage principal s'allume pendant la durée régée. Le projecteur passe ensuite au balisage programme.
- OFF = pas de balisage
- 10 min = balisage 10 min une fois la durée de fonctionnement programme écoulée.
-
30 min = balisage 30 min une fois la durée de fonctionnement programme écoulée.
-
balisage toute la nuit. Balisage des que la lumière ambiante baisse en dessous du seul de luminosité de déclenchement régle.
Mode marche forcee
6.2


FR
1) Allumer la marche forcee :
Actionner l'interrupteur 2 x ARRÉT / MARCHE.
Le projecteur LED s'allume pour 4 heures en marche force. Il repasse ensuite automatiquement en mode détction.
2) Éteindre la marche forcee :
Actionner l'interrupteur 1 x ARRET / MARCHE.
Le projecteur s'eteint ou passe en mode détention.
Important :
les commutations doivent être executées en l'espace de 0,2 à 1 seconde.
Ajustage de la zone de détction
Pour éviter toute détction non voulue ou pour surveiller de manière ciblée certaines zones, il est possible de limiter et d'ajuster la zone de détction en utilisant le cache enchachieable.

6.3

- Mettre le cache enchichable sur le détecteur.
Fixer le cache enchachieble en fermant le couvercle.
7. Accessoires télécommande
Télécommande RC 12
(EAN 4007841079000)
FR
7.1

- Facilité l'installation de grands systèmes d'éclairage. Les projecteurs LED peuvent être régés ensemble après installation.
- La télécommande permet de piloter un nombre quelconque de projecteurs LED.
- Chaque pression sur le bouton valide est confirmée par une LED d'etat sur le projecteur.
La télécommande RC12 contient une batterie du type CR 2032.
La télécommande RC 12 permet d'utiliser des fonctionssupplémentaires du XLED PRO ONE S / Plus S / Max S :
1 Réglage du seuil de déclenchement : le seuil de déclenchement souhaité peut être régle d'env. 2 à 2.000 lx.
→« Réglage du seuil de déclenchement (I) »
2 Fonctionnementdiurne (indépendant de la luminosite)
3 Fonctionnementnocturne (2 lx)
4 Réglage de la luminosité via le bouton de mémorisation / mode Teach (apprentissage) (de 2 à 2.000 lx). Appuyer sur ce bouton quand la luminosité ambiente a atteint la valeur à laquelle le détecteur devra réagir à l'avoir en cas de mouvement. La valeur actuelle est mémorisée.
5 Temporisation : il suffit d'appuyer sur les boutons pour régler la durée d'éclairage souhaitation après la的最后一 détction d'un mouvement à 10 s, 1 min, 5 min ou 15 min.
« Temporisation (H) »
6 Durée d'éclairage souhaitation: réglage de la durée d'éclairage sur une durée souhaitation. Chaque pression sur le bouton augmente la temporisation actuelle d'une minute à chaque fois (max. 15 min).
7 Mode marche forcee:
En mode détction, une pression sur le bouton allume le projecteur LED pendant 4 heures (la LED d'etat est allumée en permanence). En mode marche forcee 4 heures, une pression sur le bouton eteint le projecteur LED pendant 4 heures (la LED d'etat est allumee en permanence). Il est possible de quitter le mode de 4 h une fois la durée ecoullee, en appuyant sur le bouton de réinitialisation « reset » ou en appuyant sur le bouton de 4 h lorsque l'appareil est en mode 4 h ARRÊT.
« Mode marche force »
8 Mode installation (mode test): le mode installation permet de contrôle le bon fonctionnement et la zone de détction. Indépendamment de la luminosité, le projecteur LED s'allume pendant env. 10 secondes en cas de détction d'un mouvement. Un mouvement est signalé via la LED d'etat. Le mode installation est prioritaire par rapport à tous les autres réglages. Le projecteur quitte automatiquement le mode installation au bout de 10 min. Le projecteur quitte immédiatement le mode installation dés que l'on appuie sur le bouton de réinitialisation « reset ». Attention: le mode Teach et le mode installation ne peuvent pas été utilisés en même temps.
9 Reset (réinitialisation): tous les réglages du projecteur LED sont remis aux valeurs programmées manuellement ou aux valeurs d'usine.
10 Balisage : les LED de balisage garantissant un niveau d'éclairage minimum (balisage). Ce n'est que lorsqu'un mouvement est détecté dans la zone de détction que l'éclairage principal s'allume pendant la durée réglée. Le projecteur passe ensuite au balisageprogrammé. « Balisage (J) »
Télécommande intelligente (en option)
(EAN 4007841009151)
- Commande via le smartphone ou la tablette.
-
Remplace la télécommande.
-
Charger l'appli nécessaire et se connecter via Bluetooth.
8. Nettoyage et entretien
L'appareil ne nécessiteaucunentretien.

Risque d'électrocution!
Si des pieces sous tension sont au contact avec de l'eau, il y a risquè d'électrocution, de brûlures, voire danger de mort.
- Nettoyer l'appareil uniquement à sec.
Risque de dommages matériels!
Des détergents inappropriés risquent d'endommager l'appareil.
- Nettoyer le projecteur avec un chiffon légarement humide sans détergent.
Important : il n'est pas possible de remplacer l'appareil.

9. Recyclage
Les apparèils électriques, les batteries, les accessoires et les emballages doivent être soumis à un recyclage respectieux de l'environnement.

Ne pas jeter les apparciels électriques et les batteries avec les ordures menagères!
La télécommande contient une batterie du type CR 2032 de dioxyde de manganèse au lithium / electrolyte organique.
Uniquement pour les pays de l'UE :
Conformément à la directive européen en vigueur relative aux apparêils ELECTriques et électroniques usages et à son application dans le droit national, les apparêils ELECTriques et les batteries qui ne fonctionnent plus doivent être collectés séparément des ordures menagères et doivent faire l'objet d'un recyclage écologique.
10. Garantie du fabricant
Garantie du fabricant de la société STEINEL GmbH, Dieselstrasse 80-84, DE-33442 Herzebrock-Clarholz, Allemagne
Tous les produits STEINEL satisfont aux exigences de qualité les plus strictes. C'est pourquoi, en tant que fabricant, nous vous accordons, en tant que client, une garantie conforme aux conditions suivantes :
La garantie couvre l'absence de defaults dont il est prové qu'ils résultat d'un defaulted de matériel ou de fabrication et qui nous sont signalés immédiatement après leur constatation et pendant la période de garantie. La garantie s'applique à tous les produits STEINEL Professional achetés et utilisés en France.
Nos prestations de garantie pour les consommateursurs
Les dispositions suivantes sont valables pour les consommateurs. Un consommateur est toute personne physique qui, au moment de la conclusion de l'achat, n'agit ni dans l'exercice d'une activités commerciale ni dans celui d'une activité professionnelle indépendante.
Vous avez le choix entre une réparation gratuite, un remplacement gratuite (le cas échéant par un modele de remplacement de même valeur ou de valeur supérieure) ou l'établissement d'un avoir.
La période de garantie pour le produit STEINEL Professional acheté est pour les détecteurs, les projecteurs ainsi que pour les luminaires d'intérieur et d'extérieur 5 ans dans chaque cas, à compter de la date d'achat du produit.
Nous prenons en charge les frais de transport, mais pas les risques de transport du_retour de la marchandise.
Nos prestations de garantie pour les entrepreneurs
Les dispositions suivantes sont valables pour les entrepreneurs. Un entrepreneur est une personne physique ou morale ou une société de personnes ayant la capacité
juridique qui, lors de la conclusion de l'achat, agit dans l'exercice de son activités commerciale ou de son activité professionnelle indépendante.
Nous pouvons désir d'honorer la garantie en réparant gratuitemment les défauts, en remplaçant gratuitemment le produit (le cas échéant, par un modele de remplacement de valeur égale ou supérieure) ou en établissant un avoir correspondant.
La période de garantie pour le produit STEINEL Professional achete est pour les détecteurs, les projecteurs ainsi que pour les luminaires d'intérieur et d'extérieur 5 ans dans chaque cas, à compter de la date d'achat du produit.
Dans le cadre de la prestation de garantie, nous ne prenons pas en charge les dépenses nécessaires à l'exécution ultérieure de la prestation ni vous frais de démontage du produit défectueux et de montage d'un produit de remplacement.
Droits legaux en cas de defaults et gratuite
Les prestations décrites ici s'appliquent en plus des droits de garantie légaux - y compris les dispositions de protection particulières pour les consommateurs - et ne les limitent pas ou ne les remplacent pas. Le recours à vos droits légaux en cas de défaut est gratuite.
Exceptions à la garantie
Toutes les sources replácables sont expressément exclues de cette garantie.
Sont, en outre, exclus de la garantie :
- les pieces qui sont soumises à une utilisation normale ou à une usure naturelle ainsi que les défauts de produit STEINEL Professional qui résultat d'un usage normal ou de toute autre usure naturelle,
- le produit qui n'a pas eté utilisé comme prévu ou qui a été utilisé de manière incorrecte ou si les consignes d'utilisation n'ont pas eté respectées,
- les ajouts et transformations ou autres modifications du produit réalisés arbitraiment ou les définuts occasionnés par l'utilisation d'accessoires, de pieces rajoutées
ou détachées qui ne sont pas des pieces STEINEL d'origine,
- la maintenance et l'entretien des produits qui n'ont pas eu lieu conformément au mode d'emploi,
- le montage et l'installation qui n'ont pas eté réalisés conformément aux directives d'installation de STEINEL,
- les dommages ou les pertes survenus durant le transport.
Application du droit allemand
Le droit applicable est le droit allemand à l'exclusion de l'accord des Nations Unies sur les contrats touchant à la vente internationale de marchandises (CISG).
Réclamation
Si vous souhaitez bénéficier de la presente garantie, veuillez envoyer votre produit complet accompagné de la preuve d'achat originale qui doit comprendre la date de l'achat et la désignation du produit à votre revendeur ou directement à STEINEL France SAS - service des réclamations -, 29 rue des Marlières, FR-59710 AVELIN (CH : PUAG AG, Oberebenestrasse 51, CH-5620 Bremgarten). C'est pourquoi nous vous conseillons de conserver soigneusement notre preuve d'achat jusqu'à l'expiration de la période de garantie.
11. Caractéristiques techniques
-Tension du réseau : 220- 240 V, 50/60 Hz
- Puissance / efficacité :
XLED PRO ONE S: 120 lm/W
XLED PRO ONE PLUS S: 129 lm/W
XLED PRO ONE Max S: 122 lm/W
XLED PRO ONE: 126 lm/W
- Flux lumineux / luminosite :
XLED PRO ONE S: 2.204 lm
XLED PRO ONE PLUS S: 4.370 lm
XLED PRO ONE Max S: 6.116 lm
XLED PRO ONE: 2.236 lm
-Consommation propre :
XLED PRO ONE S: 18,4 W
XLED PRO ONE PLUS S: 33,8 W
XLED PRO ONE Max S: 50,1 W
XLED PRO ONE: 17,7 W
- Surface au vent du produit :
XLED PRO ONE S : 180 cm²
XLED PRO ONE PLUS S / Max S : 254 cm²
XLED PRO ONE: 180 cm²
XLED PRO ONE PLUS / Max : 254 cm²
- Poids :
XLED PRO ONE S : 1,45 kg
XLED PRO ONE PLUS S : 1,7 kg
XLED PRO ONE Max S:1,72 kg
XLED PRO ONE:1,4 kg
XLED PRO ONE PLUS : 1,7 kg
XLED PRO ONE Max : 1,72 kg
- Courant du secteur :
XLED PRO ONE S : 86,73 mA
XLED PRO ONE PLUS S:233,1 mA
XLED PRO ONE Max S : 158,4 mA
XLED PRO ONE : 88,28 mA
XLED PRO ONE PLUS : 233,3 mA
XLED PRO ONE Max : 160,7 mA
- Facteur de puissance :
XLED PRO ONE S : 0,86
XLED PRO ONE PLUS S : 0,92
XLED PRO ONE Max S : 0,95
XLED PRO ONE:0,86
XLED PRO ONE PLUS : 0,92
XLED PRO ONE Max : 0,95
-
Température de lumière : 3.000 K (blanc chaud)
-
Indice de rendu des couleurs : IRC ≥ 80
-
Système de détction :
XLED PRO ONE S / PLUS S / Max S : infrarouge passif
- Portée :
XLED PRO ONE S / PLUS S / Max S : max. 10 m
- Angle de détction :
XLED PRO ONE S / PLUS S / Max S : 240°
- Temporisation :
XLED PRO ONE S / PLUS S / Max S : 8 s - 35 min
- Réglage du seuil de déclenchement :
XLED PRO ONE S / PLUS S / Max S : 2- 2.000 lx
- Classe de protection IP : IP44 / I
Puisance d'éclairage supplémentaire
XLED PRO ONE S / PLUS S / Max S :
- Lampe à incandescence / halogène : 1.500 W
- Tubes fluorescents ballasts électroniques : 430 W
- Tubes fluorescents non compensés : 500 VA
- Tubes fluorescents compensés par série : 900 VA
- Tubes fluorescents compensés en parallèle : 500 VA
- Lampes halogènes basse tension : 1.500 VA
- Lamps LED < 2W : 16W
- 2 W< Lampes LED< 8 W: 64 W
- Lamps LED > 8 W : 64 W
- Charge capacitive : 88 F
12. Dépannage
L'appareil n'est pas sous tension.
-Fusible non enclenché ou defectueux.
- Enclencher le fusible.
-
Remplacer le fusible défectueux.
-
Câble coupé.
- Vérifier le cable à l'aide d'un testeur de tension.
- Court-circuit dans le cable secteur.
- Vérifier le branchement.
- L'interrupteur secteur éventuellesment presente en position arrêt.
- Mettre l'interrupteur secteur en position MARCHE.
L'appareil ne s'allume pas.
-
MauvaisCHOIX DU REGLAGE DU SEUIL DE déclenchement.
-
Régler à nouveau le seuil de déclenchement.
- Interrupteur secteur en position ARRET.
- Mettre l'interrupteur secteur en position MARCHE.
-Fusible non enclenché ou defectueux.
- Enclencher le fusible.
-
Remplacer le fusible défectueux.
-
Les mouvements rapides ne sont pas identifiés afin de limiter les dysfonctionnements ou la zone de détction réglée est trop petite ou n'est pas correcte.
- Contrôler ou régler la zone de détention.
- Source lumineuse défectueuse.
- Il n'est pas possible de replacer la source lumineuse de ce projecteur. Changer de projecteur.
L'appareil ne s'esteint pas.
-
Mouvement continu dans la zone de détention.
-
Contrôler la zone de détention.
- Si besoin est, réduire ou modifier la zone de détéction.
L'appareil s'allume de façon intempeste.
- Le projecteur est mal fixé et rouge.
-
Monter le projecteur de manière fixe.
-
Un mouvement a eu lieu, l'observateur ne l'a cependant pas remarqué (mouvement derrière le mur, mouvement d'un petit objet à proximité immédiate du projecteur, etc.).
-
Contrôler la zone de détention.
- Si besoin est, réduire ou modifier la zone de détention.
NL
Inhoud
- Corriente électrique:
XLED PRO ONE S: 86,73 mA
XLED PRO ONE PLUS S: 233,1 mA
XLED PRO ONE Max S: 158,4 mA
XLED PRO ONE: 88,28 mA
Dimensoes do produits XLED PRO ONE S
- XLED PRO ONE S (a)
- XLED PRO ONE Plus S (b)
- XLED PRO ONE Max S (c)
3.3
Dimensoes do produits XLED PRO ONE
- XLED PRO ONE (a)
- XLED PRO ONE Plus (b)
- XLED PRO ONE Max (c)
3.4
Bridinajums par bistamibu!

Bridinajums par bistamibu elektribas del!

Bridinajums par bistamibu udens del!
2. Vispareji drošibas noradijumi

Neieverojot lietošanas pamacibu, draud briesmas!
Ynotpe6a no npedHa3NaueHne
XLED PRO ONE S / Plus S / Max S
- LED-пожектор синфрачервен сehзор.
- Mohtaxk Ha cTeHa Ha 3aKpITo nJn Ha OTKpITo.
- Hénpoхояш 3a CBbрзВанс дИмер.
Функционален пинцин
- ИнфрачерВенят сенихваши ТОПЛINHOTO ИЗЛьчваны на движшп се тела (напр. Хopa, КИВOTН).ТОПЛINHOTO ИЗЛьчваны се пeoобразува eNEКТРОНно вавTomатунов BKлючва LED-nрожектора.
- Hau-cnrgyphoto 3acuane Ce noctura npin MOHTaK Ha ypeDa CtpaHnUHO cnpraMo NocOKaTa Ha dBVxKeHne.
- O6xbaTbT Ha 3acnUaHe e orpaHnueH, KOraTO dBNKeHNeTo e DnpeKTHO Cpeu cyen30pa.
-Поради пpenятCTВЯ (нар.ДьрБета,стенилпpo30рц)Засунанeto можедабдe огранчehоин HeBb3MOxHNo. - Bhe3aHn npomEnB TeMnepaTpaTa, nopadN KInMaTHUHO BJIaHHe, He Ce OTJIuHaBaT OT N3TOUHNi Ha TOJINHa.
Ynotpe6a no npedna3naueHne
XLED PRO ONE / Plus / Max
-LED-npoxkeKTop.
- Mohtaxk Ha cTeHa Ha 3aKpITo nJn Ha OTKpITo.
- HénpoДхоДяш 3a CBьрЗВанe C ДИМер.
Ynotpe6a He no npedHa3NaueHne
- LED-npoxkeKTopbT He ce dImnpa.

He ce dnmnpa
CbIbpxaHne Ha KOMnJIeKTa
- XLED PRO ONE S
- XLED PRO ONE Plus S
- XLED PRO ONE Max S
3.1







1x


2x

-1LED-npoxekTopcHpaepBcH30p
-1 KJIIOU CHECTORpaM
-1 nokpmbauna cepynka
-2BnHTa
-2dIO6eNa
-2poJIOXHn 1aJ6n
- 2 BnHTa (6e3 rnaBn)
- 1 Достанционно упразné RC 12
-1 daHHn 3a 6e30napocct
-16bp3 cTapT
CbIbpxaHne Ha KOMnJIeKTa
-XLED PRO ONE
- XLED PRO ONE Plus
- XLED PRO ONE Max
3.2


-1LED-npoxkeKtop
-1KJIIOUyIeCTOrpam
- 2 BnHTa (6e3 rnaBn)
-2BnHTa
-2dIO6eNa
-2poJIOXHn 1aJ6n
-1 daHHn 3a 6e30napocct
-16bp3 cTapT
Pa3mepn XLED PRO ONE S
- XLED PRO ONE S (a)
- XLED PRO ONE Plus S (b)
- XLED PRO ONE Max S (c)
3.3

229 MM (a)
259 MM (b),(c)
182 MM (a)
202 MM (b),(c)

Pa3mepn XLED PRO ONE
- XLED PRO ONE (a)
- XLED PRO ONE Plus (b)
- XLED PRO ONE Max (c)
3.4

229 MM (a)
259 MM (b),(c)
182 MM (a)
202 MM (b),(c)

Преглед на урEDA XLED PRO ONE S / Plus S / Max S
3.5

A LED-npoxkeKTop, rIaBa
B MoHTaxHa cko6a
C Perynatop
D KIema 3a CBbp3BaHe
E Kanak 3a Kjemata
F CeH3Op
G Kanak
3.6

H HactpoIka Ha BpeMeTo
HaCtpoKa Ha CBETIOUyBCTBNTENHOCTT
J Ba3OBO OCBetJeHne
3.7

Notice Facile