XLED PRO ONE S - Lámpa STEINEL - Ingyenes használati útmutató
Találja meg az eszköz kézikönyvét ingyenesen XLED PRO ONE S STEINEL PDF formátumban.
Töltse le az útmutatót a következőhöz Lámpa PDF formátumban ingyenesen! Találja meg kézikönyvét XLED PRO ONE S - STEINEL és vegye vissza elektronikus eszközét a kezébe. Ezen az oldalon közzé van téve az eszköze használatához szükséges összes dokumentum. XLED PRO ONE S márka STEINEL.
HASZNÁLATI ÚTMUTATÓ XLED PRO ONE S STEINEL
- Tudnivalo a dokumentumkalapcsolatban 491
- ÁltalánosBiztonsági utmutatások 491
- A berendezés ismertetése 492
- Elektromos csatlakozás 500
- Szerelés 502
- Funkció 512
- Tartozék távirányító 517
- Tisztlatas es apolas 520
- Artalmatlanitás 521
- Gyárigarancia 522
- Muszaki adatok 523
- Hibaelhárítás 525
1. Tudnivaló a Dokumentummal kapcsolatban
- Szerzői jogvédelem alatt áll. Sokszorosítani, kivonatosan is,Csak az engedélyünkel szabad.
- A muszaki fejlodest szolgalo valtoztatasok jogat fennartjuk.

Figyelmeztétés veszélyekre!
Figyelmeztetes áram miatti veszélyekre!
Figyelmeztetes viz miatti veszelyekre!
2. Általános biztonsági utmutatások

A használati utmutató figyelmen kívül hagyásanak veszélye!
Az utmutató fontos informaciókat tartalmaz a berendezésBiztonságos kezeléséhez. Kiemelten figyelmeztet a lehetséges veszélyekre. A figyelmeztetések figyelmen kivul hagyása halálos vagy súlyos sérülsekhez vezethet.
-
Figyelmesen olvassa el az utmutatót.
Hajtsa végre aBiztonságióvintézkedeseket.
Tartsa azokat jol hozzaférhétő helyen. -
Áram alatt vegzett munka veszelyes helyzetek kialakulá-sahoz gezethet. Áram alatt levó alkatrészek megerintése aramütéshez, égési serülësekhez vagy halálos balesethez gezethet.
- Hálózati feszültségen munkátCsak szakképzett szakemberek végezhetnek.
- Tartsa be az adott országban hatályos villanyszerelési előirásokat és bekötesi feltételeket (pl. DE: VDE 0100, AT: ÖVE-ÖNORM E8001-1, CH: SEV 1000).
- Csak eredeti potalkatrészeket használjon.
- Csak szaküzemek öltali javitás megengedett.
3. A berendezés ismertétese
Rendeltetésszerú használat
XLED PRO ONE S / Plus S / Max S
- LED-fényszóró infravörös mozgásérzékelővel
- Falra szerelheto, bel- és kültéri használatra.
- Fényerőszabályzó nem csatlakoztatható.
Mukodési elv
- Az infravörös érzekelő a mozgó testek (pl. emberek, állatok) által kibocsátott hősugárzást érzekeli. Az eszköz a felfogott hősugárzást elektronikus jellé alakítja, és ennek segítségevel önmüködoen bekapcsolja a LED-fényszörét.
- A mozgásérzékelés akkor a leghatékonyabb, ha a berendezést a mozgás oldalrol történő érzékeléséhez szerelik fel.
- A mozgásérzékelés hatótvolsága korlátozott, ha a mozgás iránya közvetlenül a berendezés felé mutat.
- Akadályok (pl. fák, falak vagy üvegek) miatt a mozgásérzékelés korlátozott vagy lehetlen lehet.
-Az idojaras altal kivaltott hirtelen homersekletvaltozasokat a keszulek nem tudja megkulonboztetni a hoforrasoktól.
Rendeltetésszerú használatXLED PRO ONE / Plus / Max
- LED-fényszóró.
- Falra szerelheto, bel- és kultéri használatra.
- Fényerőszabályzó nem csatlakoztatható.
Nem rendeltetesszeru hasznalat
- A LED-fényszóró fényereje nem szabályozható.

Nem szabályoz-ható fényerejú
Acsomag tartalma
- XLED PRO ONE S
- XLED PRO ONE Plus S
- XLED PRO ONE Max S

3.1
- 1 LED-fényszóró infravörös mozgásérzékelővel
- 1 imbuszkulcs
-1 takaróbetét - 2 csavar
-2 tipli - 2 alátét
- 2 hernyócsavar
-1 RC 12 távirányító - 1 biztonsági adatlap
- 1 gyorsinditási utmutató
A csomag tartalma
-XLED PRO ONE
- XLED PRO ONE Plus
- XLED PRO ONE Max
3.2


- 1 LED-fényszóró.
-1 imbuszkulcs - 2 hernyócsavar
- 2 csavar
-2 tipli - 2 alátét
- 1 biztonsági adatlap
- 1 gyorsinditási utmutató
Az XLED PRO ONE S termék méreiei
- XLED PRO ONE S (a)
- XLED PRO ONE Plus S (b)
- XLED PRO ONE Max S (c)
3.3

229 mm (a)
259 mm (b),(c)
182 mm (a)
202 mm (b),(c)

(0) (q) wuu 092 (e) uuu 082
Az XLED PRO ONE termék méretei
- XLED PRO ONE (a)
- XLED PRO ONE Plus (b)
- XLED PRO ONE Max (c)
3.4

229 mm (a)
259 mm (b),(c)
182 mm (a)
202 mm (b),(c)

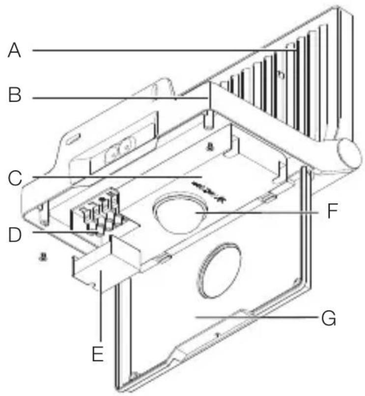
Az XLED PRO ONE S / Plus S / Max S berendezés àttekintése
3.5

HU
A LED-fényszórófej
B Szerelókengyel
C Szabályozó gomb
D Csatlakozókapocs
E Kapocstakaró
F Erzekelö egység
G Boritas
3.6

H Idórtam-beállitas
I Alkonykapcsoló-beállítás
J Alapvilagitas
3.7

K RC 12 távirányító
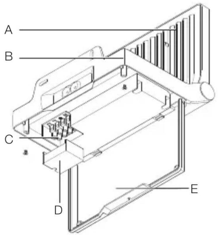
Az XLED PRO ONE / Plus / Max berendezés attekintése
3.8

HU
A LED-fényszórófej
B Szerelókengyel
C Csatlakozókapocs
D Kapocstakaró
E Boritas
4. Elektromos csatlakozás
Az XLED PRO ONE S / Plus S / Max S kapcsolási rajzai
4.1




Az XLED PRO ONE / Plus / Max kapcsolási rajzai

4.2



HU
A halózati gezeték egy 3 erú kabel:
L = faszis (többnyire fekete, barna vagy szürke)
N = nulla gezeték (többnyire kék)
PE = védóföldelés (zöld / sárga)
A berendezés elektromosan csatlakoztathato halózati kapcsoló után is, haBiztosítva van, hogy a halózati kapcsoló állandoan be van kapcsolva.
Ennek a berendezésnek a LED-je nem cserélheto. Szük-seg eseten a komplett berendezest ki kell cserélni.
A lámpa fényforrásat nem lehet cserélni; amennyiben a fényforrást cserélni kell (pl. ha élettartamának vegère ert), a teljes lámpát le kell cserélni.

5. Szerelés

Áramütes veszélye!
Áram alatt levó alkatrészek megerintése áramüteshez, égési sérülèsekhez vagy haláos balesethez vezethet.
- Kapcsolja le az áramot és szakítsa meg a feszültsegellátást.
- Feszültsegellenőrővel ellenőrìzze a feszültşegmentedességet.
Gondoskodjon rola, hogy ne kapcsolhassak vissza a feszültsegellátást.
Anyagi károk veszélye!
A halózati kábelek felcserélse rovidzárlathoz vezethet.
- Azonosítsa be a halózati kábeleket.
- Helyesen kõsse össze a halózati kábeleket.
Elokeszületek a szereles megkezdese elott
- Minden alkatrészt Ellenőrizzzen sérului szempontjából. Sérulések esétén ne vegye használatba a berendezást.
- Valasszon ki égy alkalmas felszerelési helyet.
-A hatotávolság figyelembevételével.
-A MOZgásérzékelés figyelembevételével.
-Legyen raskódásmentes.
-Az érzekelési tartomány legyen akadálymentes.
-Ne szerelje fel robbanásveszélyes területre.
-Ne helyezze gyulékony felületekre.
-Ne lehessen a fenyforrasba nezni kozelrol (< 30 cm).
-Más LED-fényszóráktól legyen legalább 50 cm távolságra.

Az XLED PRO ONE S / Plus S / Max S hatotávolsága
5.1
A mozgás oldrál történő érzekelése
XLED PRO ONE S / Plus S / Max S
5.2

A mozgás menetirányban történő érzékelése
XLED PRO ONE S / Plus S / Max S
5.3

A berendezés irányanak beállítasa
5.4

- lgazitsa be helyesen a berendezest.
HU
A szereles lépései
5.5



Ellenorizze le, hogy a tapfeszültseg ki van kapcsolva.
- Jelölje be a furatok helyét.
5.6



- Fürja ki a furatokat (Ø 6 mm) és rakja be a tipliket.

5.7
- Csavarozza le a boristast.

5.8
Nyissa ki a boritast.

5.9
Húzza át a kábelt a nyiláson.

5.10
- Csavarozza fel a kengyelt.

5.11

- Csavarozza le a kapocstakarót.
- Csatlakoztassa a halózati gezetéket a kapcsolási rajz szerint.
→,4. Elektromos csatlakozás"
5.12

- Csavarozza fel a kapocstakarót.
5.13

Csukja be a boritast.
- Csavarja be a rögzító csavarokat.
5.14


- lgazitsa be a fenyszórófejet és rögzítse hernyócsavarokkal.
5.15


- Kapcsolja be az aramellatast.
- Alitsa be a mukodest.
,6 .Funkció"
6. Funkcio
XLED PRO ONE S / Plus S / Max S
6.1



- Csavarozza fel a boritást.
- Végezze el a beallitásokat.
Gyári beállitások
- Idöbeällitas: 8 masodperc
- Alkonykapcsoló-beállítás: nappali üzem 1.000 lux
- Alapvilágítás: kikapcsolvera
Idórtam-beállítás (H)
A kikapcsolás-késleltetés kb. 8 mp és max. 35 perc közott fokozatmentesen beállithato. A világítás minded mozgás hatására ismetelten bekapcsol.
Megjegyzés: A LED-fényszóró minded egyes lekapcsolása után kb. 1 masodperc idótartamig nem lehetséges az ujabb mozgásérzékelés. Ezután tud a LED-fényszóró mozgás esétén ujra világítást kapcsolni.
Az erzekelési tartomány finombeállitasa és muködésellenőrzés esétén javasoljuk a legrovidebb idő beállitásat.
Alkonykapcsoló-beállítás (I)
A mücködésbe lépéshez szükséges fényerő (szürkület) fokozatmentesen állithato kb. 2 lux-tól 2.000 lux-ig.
nappali üzem (fényerőtól független)
- = alkony-üzemmod (kb. 2 lux)
Az érzekelési tartomány beallitásakor és a nappali fenynél vegzett muködésprobánal a szabályozónak kallasban kell állnia.
Alapvilágítás (J)
Az alapfenyerő az alapvilágítás LED-jei segítségével alacsony megvilágítási szintról gondoskodik.
A fó világításCsak az érzekelési tartományban észlelt megfelelo mozgásesétén, a kivalasztottidore kapcsol be. Ezután a világítás a kivalasztott alapfényerőre kapcsol.
- OFF = Nincs alapvilágítás
- 10 perc = Alapvilágítás 10 percig a kivalasztott utánvilágítási idő letelte után.
-
30 perc = Alapvilágítás 30 percig a kivalasztott utánvilágítási idő letelte után.
-
C = Alapvilágítás egész éjszaka. Alapvilágítás, amint a környezeti fény a múködésbe lépéshez szükséges beálított fényerő alá csökken.
Folyamatos vilagitas
6.2

1) Folyamatos világítás bekapcsolása:
- Kapcsoló 2-szer KI és BE.
A LED-fényszóró 4 orára folyamatos világításra áll be. Utána automatikusan ismét érzekelós üzemmodra kapcsol át.
2) Folyamatos vilagítás kikapcsolása:
- Kapcsoló 1-szer KI és BE.
A lampa elalszik, ill. érzekelós üzemmodra kapcsol át.
Fontos:
A kapcsolásokat 0,2 és 1.masodperc közötti idóartamon belül kell elvegezni.
Az érzekelési tartomány finombeállitasa
A véletlen érzekelés kizárasa vagy meghatározott területek celzott felügyelèse celjából az érzekelési tartomány a takaróbetéttel korlátozható és finombeálítasa elvegezhető.
6.3


- Helyezzen takaróbetétet az érzekelőre.
Rögzütse a takarobetétet a borítas becsukásával.
7. Tartozék távirányító
RC 12 távirányító
(EAN 4007841079000)
7.1

- Megkonnyiti a nagyobb vilagitóberendezések bekötesét. A LED-fenyszórók a bekötes utan együtt beállithatok.
- A távirányítóval tetszés szerinti mennyiségő LED-fenyaszóró vezérelhétő.
- A berendezés minded érvényes gombnyomást egy allapotjelzo LED-del nyugtáz.
Az RC12 távirányítóban egy CR2032 típusú element használunk.
Az RC 12 távirányítóval az XLED PRO ONE S / Plus S / Max S kiegészítő funkciói használhatók:
1 Alkonykapcsoló-beállitás: A kívant érzekenységi kuszöb kb. 2- 2.000 lux érték böze allithato be.
,Alkonykapcsoló-beállítás (l)"
2 Nappaliüzem (fényerö'tol fuggetlen)
3 Ejszakaiüzem (2 lux)
4 Fényerő-beállítás a tárológombbal / tanuló üzemmoddal (2-2.000 lux). A kívant fényviszonyoknál, amelyekné az érzekelonek a jovöben a mozgásra reagálnia kell: Nyomja meg a gombat. Az aktuális érték eltárolódk.
5 Idótartam-beállitás: Azt a világítási idótartamot, hogy a lámpa mennyi ideig világítson az utolsó mozgásérzékelést követően, a gombok nyomogatásával 10 mp-re, 1 percre, 5 percre, vagy 15 percre lehet beállitani.
,Idotartam-beallitas (H)"
6 Kívánt világítási idóttartam: A világítási idóttartam beállitása egy kívant idore. Minden egyes gombnyomás 1 perccel noveli meg az aktuális idöbeállitást (max. 15 perc).
7 Folyamatosvilágítás:
Érzekelós üzemmodban gombnyomásra a LED-fenySZóró 4 orás idó tartamra bekapcsol (az állapotjelzőLED folyamatosan világít). A 4 orás bekapcsolt üzemeltetés alatt gombnyomásra a LED-fenyszóró 4 orás idó tartamra kikapcsol (az állapotjelző LEDfolyamatosan világít). A 4 orás üzemeltetés abbamarad az idó letelte után, a Reset gomb megnyomásakor vagy a 4 orás kikapcsolás esétén a 4 orás gomb megnyomásával.
,Folyamatos vilagitás"
8 Beállitó üzemód (teszt-üzemód): Beállitó üzemód a muködǒképesség, valamint az érzekelési tartomány vizsgálatára. A környezeti fényerǒtól fuggetlenül a LED-fényszó ro mozgás eseten 10 masodpercre bekapcsol. A mozgás bekovetkezését az állapotjelzo LED jelzi. A beállitó üzemmod az összes többi beállitással szemben elonyt elvez. A készülék 10 perc után automatikusan elhagyja a beállitó üzemmodot. A Reset gomb megnyomása után a készülék azonnal kilép a beállitó üzemmodból. Figyelem! A tanuló üzemmod és a beállitó üzemmod nem használható egyidejúleg.
9 Reset: Minden beallitás visszaallitása a LED-fenyaszórn manuálisan beallitott értékekre, ill. gyári beallitásokra.
10 Alapvilagitás: Az alapvilagitás-LED-ek által adott alapfényerő enyhe vilagitási szintról gondoskodik. A fő vilagitás csak az érzekelési tartományban észltt megfelelo mozgás esétén, a kivalasztott időre kapcsol be. Ezután a vilagitás a kivalasztott alapfényerő Kapcsol.
,Alapvilagitas (J)"
Intelligens távirányító (extraként rendelhétő)
(EAN 4007841009151)
-
Irányítás okostelefonnal vagy tablagéppel.
-Helyettesiti a taviranyitot. -
Töltsle a hozzávaló alkalmazást, és kapcsolódjon össze vele Bluetooth hasznalatával.
8. Tiszítás és ápolas
A berendezés nem igényel karbantartást.

Áramütes veszélye!
Áram alatt lévo alkatrészek vizzel való érintkezésé
áramütéshez, égési sérülsekhez vagy halálos balesethez
vezethet.
- A berendezéstCsak szaraz allapotaban tisztitsa.
Anyagi károk veszélye!
A rosszul megvalasztott tisztitószer megrongálhatja a készüléket.
- A berendezést egy gyengén benedvesitett ruhával, tiszítószer használata nélkül tiszíttsa.
Fontos: A vezérlómu nem cserélheto.

9. Ártalmatlanítás
Az elektromos keszülékeket, elemeket, tartozékokat és csomagolásokat kõtelező környezetbarát MODON Ujrahasz-nosítani.

Ne dobjon elektromos keszülékeket és elementekat a háztartási szemétbe!
A távirányító CR 2032 típusú Li-Mn-dioxidot / szerves elektrolitot tartalmaz.
Csak az EU-országok esetében:
A használt elektromos és elektronikus berendezésekre vonatkozó hatályos europai irányelv értelmében és annak nemzeti jogrendszerbe történő átultetese szerint külön kell gyüjteni a már nem használató elektromos berendezéseket és elementeket, valamint környezetbarát ujrahasznóstó helyen le kell adni azokat.
10. Gyári garancia
Gyártói garancia STEINEL GmbH, Dieselstrasse 80-84, DE-33442 Herzebrock-Clarholz, Németország
Önnek, mint a termek vevöjének, adott esetben jogaban all az eladóval szemben érvényesitési az Önt törvényesen megillető hiánypótlás-, ill. termékszavatossági jogokat.
Amennyiben léteznek ilyen jogok az Öl lakohelye szerinti országban, jelen jotállasi nyilatkozatkunk semmiben sem szúkiti és korlátozza azokat. A magunk részéröl 5 év jotállast adunk arra, hogy az Öl altal vásárolt STEINEL professzionalis érzekelő termék kifogástalan minõsegüés rendesen működik. Szavatoljuk, hogy ez a termék mentes az anyaghíktól, a gyartási és szerkezeti hibáktól. Szavatoljuk továbbá, hogy az összes elektronikus alkatrész és kabel működókes, továbbá, hogy/GLEN alkalmazott szerkezeti anyag és azok felülete hibátlan.
Jotallasi igenyek ervenyesitese:
Amennyiben a termékével kapcsolatban reklamációval kiván élni, kérjuk, hogy a terméket hiánytalanul és bérmentesítve kuldje vissza a kereskedőjének vagy közvetlenülnekünd a DINOCOOP Kft, Radvány u. 24, H-1118 Budapest címre, mellekelve az eredeti vásárlási bizonylatot, amelyen rajta kell lennie a vásárlás datumának és a termék elnevezésének. Ezert a garancia idő végéig ajánlatos gondosan megöriznie a vásárlási bizonylatát. A visszaküldés során keletkező szállításiköltsegekér és kockázatokér t STEINEL nem vallal felelosséget.
A jotallás érvényesítéséról a www.steinel-professional.de/ garantie honlapunkon kap tajékoztatást.
Aennyiben a garancia körébe eső esemény következett be, vagy a termékével kapcsolatban szeretne kérdezni valamit, bármikor felhívhat pennünket a +36/1/3193064 szervizvonal számon.

11. Mészaki adatok
-
Hálózati feszültseg: 220 - 240 V, 50/60 Hz
-
Teljesitmény / hatékonyság:
XLED PRO ONE S: 120 lm/W
XLED PRO ONE PLUS S: 129 lm/W
XLED PRO ONE Max S: 122 lm/W
XLED PRO ONE: 126 lm/W
-Megvilagitott felulet:
XLED PRO ONE S: 180 cm²
XLED PRO ONE PLUS S / Max S: 254 cm²
XLED PRO ONE: 180 cm²
XLED PRO ONE PLUS / Max: 254 cm²
- Súly:
XLED PRO ONE S: 1,45 kg
XLED PRO ONE PLUS S: 1,7 kg
XLED PRO ONE Max S: 1,72 kg
-Teljesitménytényező:
XLED PRO ONE S: 0,86
XLED PRO ONE PLUS S: 0,92
XLED PRO ONE Max S: 0,95
XLED PRO ONE: 0,86
-
Színvisszaadási index:
-
Erzékelők:
XLED PRO ONE S / PLUS S / Max S: passziv infravörös
- Hatótvolság:
XLED PRO ONE S / PLUS S / Max S: max. 10 m
- Érzekelési szög:
XLED PRO ONE S / PLUS S / Max S: 240°
- Idöbeállítás:
XLED PRO ONE S / PLUS S / Max S: 8 mp-35 perc
Alkonykapcsoló-beallitás:
XLED PRO ONE S / PLUS S / Max S: 2- 2.000 lux
- IP védelmi osztály:
IP44 / I
Kiegészítő kapcsolásí teljesítmény
XLED PRO ONE S / PLUS S / Max S:
- Izzó- / halogenlámpa terhelés: 1.500 W
-Fenycsovek, elektronikus elotetek: 430 W - Kompenzálatlan fenyncsövek: 500 VA
-Sorosan kompenzalt fenycsovek: 900 VA - Párhuzamosan kompenzált fenyncsövek: 500 VA
- Kisfeszültsegő halogenizzők: 1.500 VA
- LED-izzók < 2 W: 16 W
- 2 W < LED-izzók < 8 W: 64 W
- LED-izzók > 8 W: 64 W
- Kapacités terhelés: 88 μF
12. Hibaelhárítás
A berendezés nem kap feszültseget
-
A biztositék nincs bekapcsolva vagy hibás.
-
Kapcsolja be a biztositékot.
Cserelje ki a hibas biztositekot.
-A gezetek megszakadt.
Ellenőrìzze a vezétéket feszültsegellenőrzővel.
- Róvidzárlat a halózati gezetékben.
Ellenőrizable a csatlakozókat.
-Az esetleges halozati kapcsoló ki van kapcsolva.
- Kapcsolja be a halózati kapcsolót.
Nem kapcsol be a berendezés.
-Az alkonykapcsoló-beallitás hibás.
-
Állítsa be Újra az alkonykapcsoló-beállítást.
-
A halózati kapcsoló ki van kapcsolva.
-
Állitsa be a halózati kapcsolót.
-
Abiztositék nincs bekapcsolva vagy hibás.
-
Kapcsolja be a biztositékot.
Cserelje ki a hibas biztositekot.
- A zavar minimálisraCsökkentese érdekében a berende-zés figyelmen kívül hagyja a gyors mozgáskat, vagy tól kicsi vagy nem megfelelo az érzékelési tartomány.
Ellenorizze, es allitsa be az erzekelési tartományt.
-Hibas a fenyforras.
- Nem cserélhető a fenyforrás. Cserélje ki a komplett készüléket.
Nem kapcsol ki a keszülék.
-Folyamatos MOZgás az érzekelési tartományiban.
Ellenőrìzze az érzekelési tartományt.
- Szükség esetén korlátozza vagy modositsa az érzekelési tartományt.
A berendezés szükségteplenül bekapcsol.
- A felszerelt berendezés nincsBiztosítva mozgás Ellen.
Rögzítve szerelje fel a berendezést.
- Uglyan mozgás törtent, de a mozgásfigyelő nem ismerte fel (fal mögotti mozgás, kicsi tárgy mozgása az izzó kozvetlen kozelében stb.).
Ellenőrìzze az érzékelesi tartományt.
- Szükség eseten korlátozza vagy modosítsa az érzekelési tartományt.
CZ
Obsah
Varováni préd nebezpecím!

Notice-Facile