XLED PRO ONE S - Lamba STEINEL - Ücretsiz kullanım kılavuzu
Cihazın kılavuzunu ücretsiz bulun XLED PRO ONE S STEINEL PDF formatında.
Cihazınız için talimatları indirin Lamba PDF formatında ücretsiz! Kılavuzunuzu bulun XLED PRO ONE S - STEINEL ve elektronik cihazınızı yeniden ele alın. Bu sayfada cihazınızın kullanımı için gerekli tüm belgeler yayınlanmaktadır. XLED PRO ONE S markasının STEINEL.
KULLANIM KILAVUZU XLED PRO ONE S STEINEL
- Bu doküman hakkinda 454
- Genel güvenlik uyarilari 454
3.Cihaz açiklamasi 455 - Elektrik böglantı 463
- Montaj 465
- Fonksiyon 475
- Aksesuar Kablosuz kumanda 480
- Temizlik ve koruyucu bakim 483
- Tasfiye 484
- Üretici garantisi 485
- Teknik Özellikler 486
- Sorun giderme 488
1. Bu doküman hakkında
- Telif haklanı korunmaktadır. Kismen de olsa basilmasi, ancak onayimiz alinarak mumkundür.
- Teknik gelismelere hizmet eden要考虑likler yapma hakki saklidir.

Tehlikere karst uyari!

Elektriken kaynaklanan tehlikere karsi uyari!

Sudan kaynaklanan tehlikere karst uyari!
2. Genel güvenlik uyarilari

Kullanim kılıvuzunun dikkate alınmaması nedeniyle tehlike!
Bu kılıvuzda, cihazın emniyetli kullanimi,—ünemli bilgiler yer almaktadır. Olası tehlükeler"—zellikle vurgulan)—ir.
Dikkate alinmaması halinde, olüm veya/agir yaralanmalar meydana gelebilir.
- Kilavuzu dikkatli okuyun.
Güvenlik uyarilarina riayet edin. -
Erisilebilir sekilde saklayin.
-
Elektrik akimiyla yapilan calismalar, tehlikeli durumlara yol acabilir. Elektrik ileten parçalara dokunmak, elektrik carpmasina, yaniklara veya olume yol acabilir.
- Sebeke gerilimindeki calisma, yalnizca uzman teknik personel tarafindan yapilabilir.
- Ülkeye Özgü kurulum yönergeleri ve baglanti kosulları dikkate alınmalidir (örn. DE: VDE 0100, AT: ÖVE-ÖNORM E8001-1, CH: SEV 1000).
- Sadece orijinal yedek parçalar kullanin.
- Onarimlar yalinizca uzman Şirketler tarafindan yapilabilir.
3. Cihazalıkması
Amacina uygun kullanim
XLED PRO ONE S / Plus S / Max S
- Kizilötesi hareket sensörlü LED spot.
- Iç ve dis mekanda duvara montaj iciin.
-Bir kisi ci anahtara baglamak icin uygun degildir.
Fonksiyon prensibi
- Kizlotesi sensörü, hareket eden vucutlardan (insanlar, hayvanlar, vb.))yayilan isi radyasyonunu algilar. Bu isi radyasyonu, elektronik forma donustürülür ve LED spotu otomatik olarak calistirir.
- En güvenli hareket algilama, cihazi hareket yönünün yan tarafina monte ederek yapilir.
- Doğrudan cihazın üzerine.Doğru yürundugunde,hareket algilamaninmenzili kistlanir.
- Engeller (örn. açaçlar, duvarlar veya cam bölmeler) nedeniyle hareket algilama kisdtlanabilir veya hiç yapilamayabilir.
- Hava kosullarindan dolayi ani sicutlik degisiklikleri, isi kaynaklarinda farklilik olusturmaz.
Amacina uygun kullanim
XLED PRO ONE / Plus / Max
- LED spot.
- iç ve dis mekanda duvara montaj icin.
-Bir kisi ci anahtara baglamak icin uygun degildir.
Amacina uygun olmayan kullanim
- LED spot kisilmaz.

Kisilmaz
Teslimat kapsami
- XLED PRO ONE S
- XLED PRO ONE Plus S
- XLED PRO ONE Max S

3.1
- 1 kizilötesi hareket sensörlü LED spot
- 1 imbus anahtar
- 1 muhafaza siperligi
- 2 vida
-2dubel - 2 rondela
- 2 setuskur
- 1 kablosuz kumanda RC 12
- 1 Güvenlik Bilgi Formu
-1 Hizli Barangatma Kilavuzu
Teslimat kapsami
-XLED PRO ONE
- XLED PRO ONE Plus
- XLED PRO ONE Max
3.2


- 1 LED spot
- 1 imbus anahtar
-2 setuskur - 2 vida
-2dubel - 2 rondela
- 1 Güvenlik Bilgi Formu
-1 Hizli Barangatma Kilavuzu
Ürünün boyutlari XLED PRO ONE S
- XLED PRO ONE S (a)
- XLED PRO ONE Plus S (b)
- XLED PRO ONE Max S (c)
3.3

229 mm (a)
259 mm (b),(c)
182 mm (a)
202 mm (b),(c)

Ürünün boyutlari XLED PRO ONE
- XLED PRO ONE (a)
- XLED PRO ONE Plus (b)
- XLED PRO ONE Max (c)
3.4

229 mm (a)
259 mm (b),(c)
182 mm (a)
202 mm (b),(c)

TR
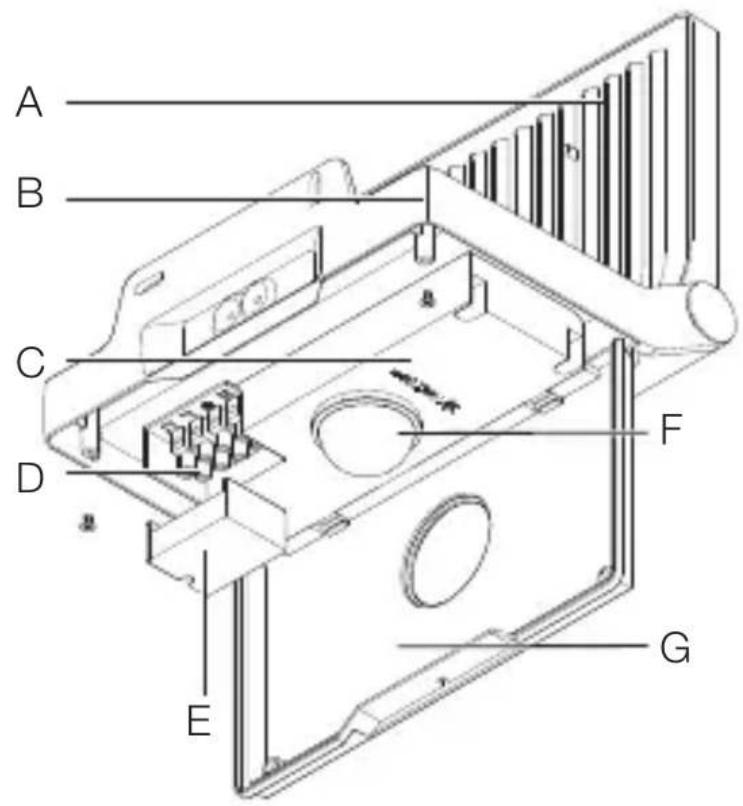
Cihazın genelGORUNUMUXLED PRO ONE S/Plus S/Max S
3.5

A LED spot basligi
B Montaj askisi
C Ayar dugmesi
D Baglanti terminali
E Terminal muhafazasi
F Sensor unitesi
G Kapak
3.6

H Zaman ayari
Alacakaranlik ayari
J Fon isigi
3.7

K Kablosuz kumanda RC 12
TR
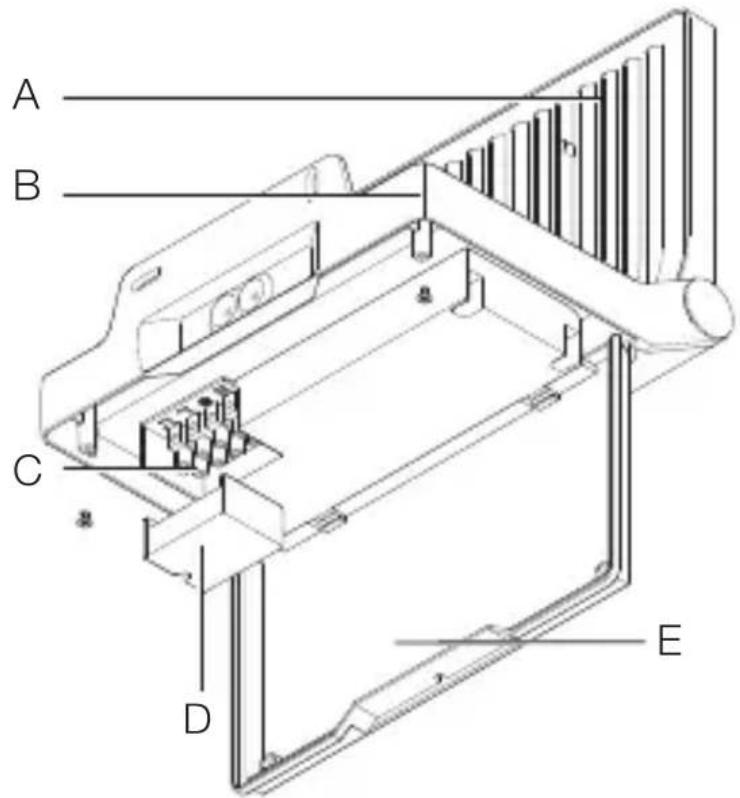
Cihazın genelGORUNUMXLED PRO ONE/Plus/Max
3.8

A LED spot basligi
B Montaj askisi
C Baglanti terminali
D Terminal muhafazasi
E Kapak
4. Elektrik böglantı
Devre Şemaları XLED PRO ONE S / Plus S / Max S
4.1




TR
Devre Şemaları XLED PRO ONE / Plus / Max
4.2




Elektrik kablosu, 3 iletkenli bir kablodur:
L = Faz (genellikle siyah, kahverengi veya gri)
N = Nötr hatti (genellikle mavi)
PE = Topraklamahatti(yesil/sari)
Sebeke anahtarinin her zaman açık Olduğundan emin olunması halinde, cihaz elektriksel olarak bir sebeke anahtarindan sonra da böglanabilir.
Bu cihazin LED'i degiştirilemez. Gerektiginde, tum cihaz degiştirilmelidir.
Bu lambanin isik kaynagi degistirilemez; isik kaynaginin degistirilmesi gerektiginde (orn. calisma omru sola erdiğinde), komple lambanin yenilenmesi gerekir.

5. Montaj

Elektrik akimi nedeniyle tehlike!
Elektrik ileten parçalara dokunmak, elektrik carpmasina, yaniklara veya olume yol acabilir.
- Elektrigi kapatin ve elektrik beslemesini kesin.
- Elektrigin kesik oldugunu, kontrol kalemi ile kontrol edin.
- Elektrik beslemesinin kesik kalacagindan emin olun.
Maddi hasar tehlikesi!
Baglanti tesisatlarin n karistirilmasi, kisa devreye yol acabilir.
- Baglanti tesisatlarini tanimlayin.
- Baglanti tesisatlariniogrupsbaglayin.
Montaj hazirligi
- Butün yapi parçalarinda hasar kontrolü yapın. Hasarlar olduğunda, cihazi,isletime almayın.
Uygun montaj yerini secin.
-Erisim mensilini goz onune alarak.
-Hareketlerin algilanmasini goz onune alarak.
-Titresimsiz.
-Kapsama alaninda engeller yok.
-Patlama tehlikesi olmayan bölgelerde.
-Kolay tutusmayan yüzeylerin üzerinde.
- lşik kayıngünın icine kisa mesafeden (< 30 cm) bakilmayacak sekilde.
-Diger LED spotlardan en az 50 cm uzakta.
Menzil XLED PRO ONE S / Plus S / Max S

5.1
Hareket yönünün yan tarafinda hareket algilama XLED PRO ONE S / Plus S / Max S
5.2

Hareket yönunde hareket algilama XLED PRO ONE S / Plus S / Max S
TR
5.3

Cihazın hizalanması
5.4

Cihazi doitru hizalayin.
Montaj adimlari

5.5


- Elektrik beslemesinin kapatildigi ini kontrol edin.
Delik yerlerini isaretleyin.
TR

5.6


- Delikleri delin (Ø 6 mm) ve dubelleri yerleşirin.
5.7

- Kapağın vidalarını Çikartın.
5.8

- Kapagi acın.

Kabloyu araliktan cekin.

Kulpu vidalayin.

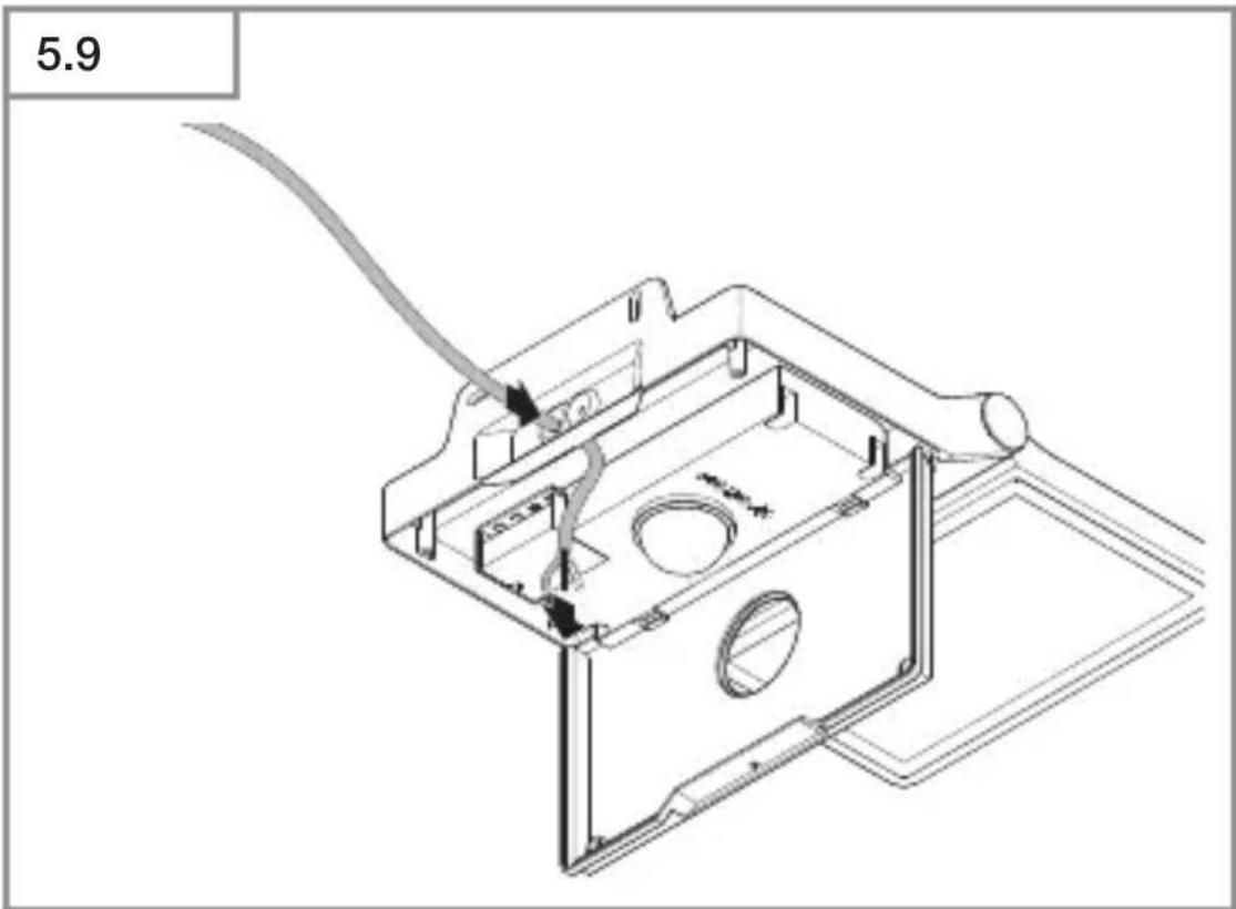
5.11

- Terminal muhafazasin vidalarini Çikartı.
- Elektrik beslemesini devre Şemasina gore baglayin.
→“4. Elektrik baglantisi”
5.12

- Terminal muhafazasin vidalarini takin.
5.13

- Kapagi kapatin.
- Emniyet vidalarini vidalayin.
5.14


- Spot börligişi hizalayin ve setuskurlar ile sabitleyin.
5.15


- Elektrik beslemesiniinceton.
- Fonksiyonlari ayarlayin. "6. Fonksiyon"
6. Fonksiyon
XLED PRO ONE S / Plus S / Max S
6.1



- Kapaşi vidalayin.
- Ayarli yapin.
TR
Fabrika ayarlari
- Zaman ayari: 8 saniye
- Alacakaranlik ayari: Günd,isişi,isletimi 1.000 Lux
-Fonisigi:KAPALI
Zaman ayari (H)
Kapatma gecikmesi, yak. 8 saniye ile maks. 35 dakikaarasinda kademesiz olarak ayarlanabilir. Algilanan herhareketle birlikte isik yeniden açilir.
Not: LED spotun her durdurulusunu takiben yak. 1 saniye boyunca yeti bir hareket algilaması yapilamaz. Bunun ardindan LED spot, hareket halinde,isigi tekrar açar.
Algilama alaninin ayarlanması sirasinda ve fonksiyon testi icin, en kisa surenin ayarlanması onerilmektedir.
Alacakaranlik ayari (I)
Devreye girme parlakligi (alacakaranlik), yak. 2 - 2.000 Luxarasinda kademesiz olarak ayarlanabilir.

Gün,isigi isletimi(parlakliktanbagimsiz)

Alacakaranlik isletimi (yak. 2 Lux)
Kapsama alaninin ayari sirasinda ve gun isiginda fonksiyont testi icin, ayar dugmesi konumunda durmalidir.
Fonisigl(J)
Fon isigi LED'leri araciliigiyla fon parlakigi, duesuk duzeyde bir aydinlatma saglar.
Temel isik yalinizca algilama alanindaki ilgili hareket halinde, ayarlanan sure boyunca calistirilir. Ardindan isik, seilmis olan fon parlakliginaDSLer.
-KAPALI = Fon iSigi yok
- 10 dak = Ayarlanan ardir calisma suresi bittikten 10 dakika sonra fon isigi.
- 30 dak = Ayarlanan ardil calisma suresi bittikten 30 dakika sonra fon isigi.
- C = Tüm gelece boyunca fon,isigi. Ortam isigi ayarlanan tepki parlakliginin alta duser dusmez fon isigi.
Surekli isik isletimi
6.2


1) Surekli isigin acilmasi:
- Anahtari 2 defa KAPA ve AC.
LED spot 4 saat sureyle surekli isiga ayarlanir. Ardindan, otomatik olarak tekrar sensorlu isletime geleer.
2)Surekli isigin kapatilmasi:
- Anahtari 1 defa KAPA ve AC.
Lamba kapanir ya da sensorli ü isletime geçer.
Önemli:
Anahtarlama islemleri 0,2 ile 1 saniye araliginda yapilmalidir.
Kapsama alani ayari
Istem disi algilamayi engellemek veya belirli alanlan hedeflenen sekilde izlemek icin, kapsama alanı muhafaza siperligi ile sinirlandirilir ve ayarlanabilir.
6.3


- Muhafaza siperligini sensörün üzerine yerleştin.
- Muhafaza siperligini, kapaşi kapatarak sabitleyin.
7. Aksesuar Kablosuz kumanda
Kablosuz kumanda RC 12
(EAN 4007841079000)
7.1

- Buyuk aydinlatma sistemlerinin kurulumunu kolaylasi. LED spotlar, kurulumdan sonra birlikte ayarlanabilir.
- Kablosuz kumanda yardimiyla, seks sayida LED spota kumanda edilebilir.
- Her bir geleçerli tuşa basma, cihazda bir durum LED'i yardimiyla onaylanir.
RC12 kablosuz kumandada CR2032 tipi bir pil kullanilir.
Kablosuz kumanda RC 12 ile, XLED PRO ONE S / Plus S / Max S'nin ek fonksiyonlar kullanilabilir:
1 Alacakaranlikayarı: istenen tepkime eşigi, yak.
2-2.000 Luxarasinda ayarlanabilir.
"Alacakaranlik ayari (l)"
2Gunisigi isletimi (parlakliktan bagimsiz)
3 Gece isletimi (2 Lux)
4 Kaydetme tuşu / Öğretme modu yardimıyla parlaklik ayarı (2 - 2.000 Lux). Sensörün daha ileride hareketlere tepkimesinin istendişi,isik kosullarinda: Tuşa basin. Günceldehye kaydedilir.
5 Zamanayari: Son hareket algilamasinin ardindan istenen aydinlatma suresi 10 sn, 1 dak, 5 dak, 15 dak tuşlarina basmak suretiyle ayarlanabilir.
"Zaman ayari (H)"
6 isteren aydinlatma suresi: Aydinlatma suresinin, kisisel olarak istenen sureye ayarlanması. Her tuşa basılsa birlikte,GPCEL SURE ayari her seferinde 1 dak artar (maks. 15 dak).
7 Surekli isik isletimi: Sensorlu isletimde tuça basildificanta, LED spot 4aat boyunca calistirlir (Durum LED'i surekli yanar). 4aat ACIK isletimde tuça basildificanta, LED spot 4aat boyunca kapatilir (Durum LED'i surekli yanar). 4aat isletim modundan surenin dolmasıyla, Reset tuşuna veya 4aat KAPALI isletimde 4aat tuşuna basilarak Çiçilir.
"Surekli isik isletimi"
8 Kurulum modu (Test modu): Kurulum modu, islevselliğin ve ayrìca kapsama alanınin kontrol edilmesi,—çın. LED spot, parlak)—ga bagımlı olmaks)—sin hareket halinde 10 sn—but—"çal"—ir. Hareket, durum LED'üzerinden sinyalize edilir. Kurulum modunun,—with—but—in ayar)—gore—"ön”—bunu maktadir. Kurulum modundan, 10 dak sonra otomatik olarak"—ç"—ir. Reset"—tu"—nasa bas"—igindla, kurulum modundan hemen—"ç"—ir. Dikkat:—"Ögre"—me modu ile kurulum modu,—ay)—anda kullan—Ilamaz.
9 Reset: Bütün ayarlying, LED spotta manuel ayarlanandehyerlere ya da fabrika ayarlying geri alinması.
10 Fon isigi: Fon isigi LED'leri araciliigiyla fon parlakligi, duşuk duzeyde bir aydinlatma sekslar. Temel isik yalinizca algilama alanindaki ilgili hareket halinde, ayarlanan sure boyunca calistirilir. Ardindan isik, seçilmis扩容 fon parlakliginaDSLer. "Fon isigi (J)"
Akilli kablosuz kumanda (opsiyonel)
(EAN 4007841009151)
- Smartphone veya Tablet üzerinden kumanda.
- Kablosuz kumandanin yerine geleçer.
- Uygun App'i yükleyin ve Bluetooth yardimiyla baglayin.
8. Temizlik ve koruyucu bakim
Cihaz bakim gerektirmez.

Elektrik akimi nedeniyle tehlike!
Elektrik ileten parçalara suyun temasi, elektrik carpmasina, yaniklara veya olume yol acabilir.
Cihazi yalinizca kuru haldeyken temizleyin.
Maddi hasar tehlikesi!
Yanlş temizlik maddeleri nedeniyle, cihaz zarar gorebilir.
- Cihazi, deterjan kullanmadan hafif nemli bir bezletemizleyin.
Önemli: iletim cihazi degistirilemez.

9. Tasfiye
Elektrikli cihazlar, piller, aksesuar ve ambalajlar, cevre dostubir donusume gonderilmelidir.

Elektrikli cihazlari ve pilleri evsel atiklarin icine atmayin!
Kablosuz kumandada, CR 2032 Li-Mn-Dioxid / Organic Elektrolyte tipi bir pil kullanilir.
Sadece AB ülkeleri icin:
Atik Elektrikli ve Elektronik Cihazlar icin geleçerli olan Avrupa yönergesine ve bunun DONUŞTÜG Ü ulusal yasaya gore, artic kullanilamayacak haldeki elektrikli cihazlarin ve pillerin ayrı toplanması ve bir Çevre dostu geri DONUŞÜme gonderilmesi zorunludur.
10. Üretici garantisi
Uretici garantisi STEINEL GmbH, Dieselstrasse 80-84, DE-33442 Herzebrock-Clarholz, Almanya
Aliçı sifatıyla satiyyakışıkanun ile öngörülen garanti hakların sahipsiniz. Bu haklar ülkenizde geleeri oldugu surece, garanti beyanimizla kılıilmamakta ve sinirlanmamaktadir. STEINEL-Professional Sensorlu ürünüzün kusursuz kullanilabilirligi ve duzenli fonksiyonu konusunda 5yllık bir garanti suresi taniyoruz. Bu ürünün malzeme, uretim ve tasarim hatalarindan arınmş olduguṇu garanti ediyoruz.
Tüm elektronik parçaların ve kabolarin,islevselliğini ve ayrıca kullananan:tüm hammaddelerde ve bunlarin yüzeylerinde kusursuzluğu garantı ediyoruz.
Garanti haklarindan faydalanma:
Urününüzle ilgili seksayetiniz Oldugunda, lütfen tam ve gonderi ücreti ödenmiş olarak, üzerinde satiş tarihinin ve ürün tanimın bilunması gereken original satin alma belgesyle birlikte satićiniza veya.Doğrudan Saos Teknologi Elektrik LTD. STI. Halil Rifat Paşa Mah. Yüzer Havuz Sk. Perpa Ticaret Merkezi A Blok Kat: 5 No: 313 Şişli / Istanbul adresine,gonderiniz.
Bu nedenle, satin alma belgenizi garanti suresi sona erene\ kadar saklamanizı tavsiye ediyoruz. Geri gondermeyle\ ilgili nakliye maliyetleri ve riskleri hakkında, STEINELmişbir\ sorumluluk almaz.
Bir garanti durumunda yapilmasi gerekenler hakkindaki bilgileri web sitemizde bulabilirsiniz: www.saosteknoloji.com.tr
Bir garanti durumu veya ürününüzle ilgili herhangi bir sorunuz olduğunda, bize her zaman memnuniyetle Acil Servis Hatti +90 212 220 09 20 üzerinden ulasabilirsiniz.
5YIL URETICI GARANTISI
11. Teknik Özellikler
- Boyutlar (Y × G × D) :
XLED PRO ONE S: 230 × 229 × 182 mm
XLED PRO ONE PLUS S / Max S: 250 × 259 × 202 mm
XLED PRO ONE: 206 × 229 × 182 mm
XLED PRO ONE PLUS / Max: 226 × 259 × 202 mm
-
Sebeke gerilimi: 220-240 V, 50/60 Hz
-
Performans / Verim:
XLED PRO ONE S: 120 lm/W
XLED PRO ONE PLUS S: 129 lm/W
XLED PRO ONE Max S: 122 lm/W
XLED PRO ONE: 126 lm/W
Cihazda elektrik yok.
-Sigorta calistirilmamis veya arizali.
- Sigortayi calistirin.
-
Arizali sigortayi degistirin.
-
Kablo kopuk.
Kabloyu avometre ile gozdenGPCirin. - Elektrik kablosunda kisa devre.
- Baglantilari gozdenGPCirin.
- Muhtemelen, mevcut elektrik anahtarı kapali.
- Elektrik anahtarin calistirin.
Cihaz devreyegirmiyor.
-
Alacakaranlik ayari yanlş/seçilmş.
-
Alacakaranlik ayarini yeniden ayarlayin.
- Elektrik anahtarı KAPALI.
- Elektrik anahtarı yeniden ayarlayın.
-Sigorta calistirilmamis veya arzali.
- Sigortayi calistirin.
-
Arizali sigortayi degistirin.
-
Hizl hareketler, arizalarin minimuma indirilmesi amaciyla bastiriliyor veya algilama alanı;cok kucuk ayarlanmigi ya da.Doğru degil.
Algilama alanini kontrol edin ve ayarlayin.
- Isik kaynagi arizali.
- Isik kaynagi degistirilemez. Cihazi komple degistirin.
Cihaz kapanmiyor.
- Algilamaalaninda surekli hareketvar.
Algilama alanini kontrol edin.
- Gerektiğinde, algilama alanini sinirlayin veya degisi-tirin.
Cihaz istem disi calisiyor.
-Cihaz harekete karsi guvenli monte edilmemis.
Cihazı siki monte edin.
-
Hareket mevcut, ancak izleyici tarafindan algilanmiyor (duvar arkasinda hareket, lambanin cok yakininda kucuk bir objenin hareketi vb.).
-
Alani kontrol edin.
- Gerektiginde, algilama alanini sinirlayin veya degistirin.
Notice-Facile