XLED PRO ONE S - Lampe STEINEL - Kostenlose Bedienungsanleitung
Finden Sie kostenlos die Bedienungsanleitung des Geräts XLED PRO ONE S STEINEL als PDF.
Laden Sie die Anleitung für Ihr Lampe kostenlos im PDF-Format! Finden Sie Ihr Handbuch XLED PRO ONE S - STEINEL und nehmen Sie Ihr elektronisches Gerät wieder in die Hand. Auf dieser Seite sind alle Dokumente veröffentlicht, die für die Verwendung Ihres Geräts notwendig sind. XLED PRO ONE S von der Marke STEINEL.
BEDIENUNGSANLEITUNG XLED PRO ONE S STEINEL
- Zu diesen Dokument 3
- Allgemeine Sicherheitshinweise 3
- Gerätebeschreibung 4
- Elektrischer Anschluss 12
- Montage 14
- Funktion 24
- Zubehör Fernbedienung 29
- Reinigung und Pflege 32
- Entsorgung 33
- Herstellergarantie 33
- Technische Daten 36
- Störungsbehebung 38
1. Zu diesen Dokument
- Urheberrechtlich geschützt. Nachdruck, auch auszugsweise, nur mit unserer Genehmigung.
- Änderungen, die dem technischen Fortschriftdienen, vorbehalten.

Warning vor Gefahren!

Warning vor Gefahren durch Strom!

Warning vor Gefahren durch Wasser!
2. Allgemeine Sicherheitseinweise

Gefahr durch Nichtbeachtung der Gebrauchsanleitung!
These Anleitung enthalt wichtige Informationen für den sicheren Umgang mit dem Gerät. Auf mögliche Gefahren wird besonderss fingewiesen. Die Nichtbeachtung kann zu Tod oder schweren Verletzungen führen.
Anleitung sorgfältiglesen.
- Sicherheitshinweise befolgen.
- Zugänglich aufbewahren.
- Der Umgang mit elektrischem Strom kann zu gefährlichen Situationen führen. Die Berührung von strom führenden Teilen kann zu elektrischem Schock, Verbrennungen oder Tod führen.
- Die Arbeit an der Netzspannung ist nur durch qualifizierte Fachpersonal zulässig.
- Landesübliche Installationsvorschriften und Anschlussbedingungen sind zu beachten (z. B. D: VDE 0100, A: ÖVE-ÖNORM E8001-1, CH: SEV 1000).
- Nur Original-Ersatzteile verwenden.
- Reparaturen sind nur durch Fachbetriebe zulässig.
3. Gerätebeschreibung
Bestimmungsgemäßer GebrauchXLED PRO ONE S / Plus S / Max S
- LED-Strahler mit Infrarot-Bewegungssensor.
- Wandmontage im Innen- und Außenbereich.
- Nicht geeignet für den Anschluss an einen Dimmer.
Funktsprinzip
- Der Infrarot-Sensor erfasst die Wärme strahlung von sich bewegenden Körpern (z. B. Menschen, Tieren). Die Wärmestrahlung wird elektronisch umgesetzt und schal-tet den LED-Strahler automatisch ein.
- Die{sicherste Bewegungserfassung erfolgt bei Montagedes Gerats seitlich zur Gehrichtung.
- Die Reichweite der Bewegungserfassung ist eingeschrankt, wenn direkt auf das Gerät zugegangen wird.
- Durch Hindernisse (z. B. Bäume, Mauern oder Glas-scheiben) kann die Bewegungserfassung eingeschränkt werden oder nicht möglich sein.
- Plätzliche Temperaturschwankungen durch Wettereinfüsse werden nicht von Wärmequellen unterschieden.
Bestimmungsgemäßer Gebrauch XLED PRO ONE / Plus / Max
- LED-Strahler.
- Wandmontage im Innen- und Außenbereich.
- Nicht geeignet für den Anschluss an einen Dimmer.
Nicht bestimmungsgemäßer Gebrauch
- Der Sensor-LED-Strahler ist nicht dimmbar.

Nicht dimmbar
Lieferumfang
- XLED PRO ONE S
- XLED PRO ONE Plus S
- XLED PRO ONE Max S
3.1







1x


2x

- 1 LED-Strahler mit Infrarot-Bewegungssensor
-1 Imbusschlüssel - 1 Abdeckschale
- 2 Schrauben
-2Dübel - 2 Unterlegscheiben
- 2 Madenschrauben
- 1 Fernbedierung RC 12
-1 Sicherheitsdatenblatt - 1 Quick-Start
Lieferumfang
-XLED PRO ONE
- XLED PRO ONE Plus
- XLED PRO ONE Max
3.2


- 1 LED-Strahler
-1 Imbusschlüssel - 2 Madenschrauben
- 2 Schrauben
-2Dübel - 2 Unterlegscheiben
- 1 Sicherheitsdatenblatt
- 1 Quick-Start
Produktmaße XLED PRO ONE S
- XLED PRO ONE S (a)
- XLED PRO ONE Plus S (b)
- XLED PRO ONE Max S (c)
3.3

229 mm (a)
259 mm (b),(c)
182 mm (a)
202 mm (b),(c)

250 mm 6
Produktmaße XLED PRO ONE
- XLED PRO ONE (a)
- XLED PRO ONE Plus (b)
- XLED PRO ONE Max (c)
3.4

229 mm (a)
259 mm (b),(c)
182 mm (a)
202 mm (b),(c)

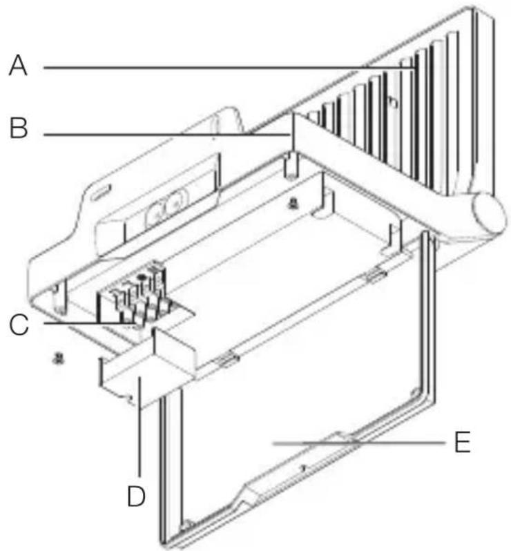
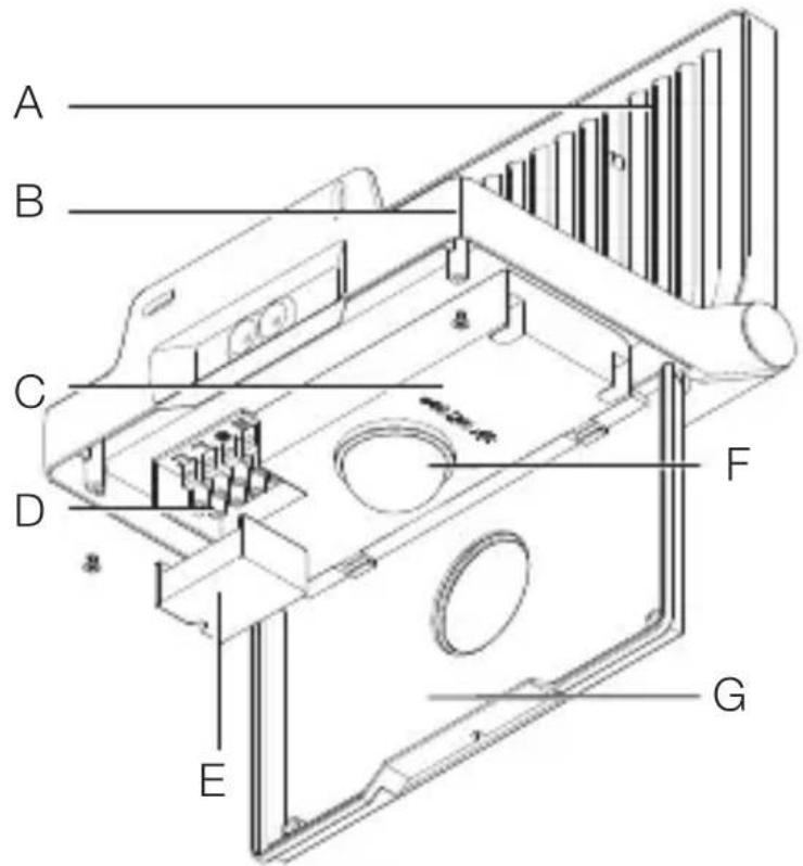
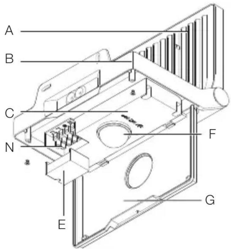
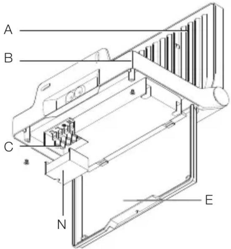
Geräteübersicht XLED PRO ONE S / Plus S / Max S
3.5

A LED-Strahlerkopf
B Montagebügel
C Einstellregler
D Anschlussklemme
E Klemmenabdeckung
F Sensoreinheit
G Abdeckung
3.6

H Zeiteinstellung
Dämmerungseinstellung
J Grundlicht
3.7

K Fernbedienung RC 12
Geräteübersicht XLED PRO ONE / Plus / Max
3.8

A LED-Strahlerkopf
B Montagebügel
C Anschlussklemme
D Klemmenabdeckung
E Abdeckung
4. Elektrischer Anschluss
Schaltpläne XLED PRO ONE S / Plus S / Max S
4.1




Schaltpläne XLED PRO ONE / Plus / Max

4.2



Die Netzzuleitung besteht aus einem 3-adrigen Kabel:
L = Phase (meistens schwarz, braun oder grau)
N = Neutralleiter (meistens blau)
PE = Schutzleiter (grün / gelb)
Das Gerät kann auch elektrisch nach einem Netzschalter angeschlossen werden, wenn sichergestellt ist, dass der Netzschalter ständig eingeschaltet ist.
Die Lichtquelle这点es LED-Strahlers ist nicht ersetzbar; falls die Lichtquelle ersetzt werden muss (z.B. am Ende ihrer Lebensdauer), ist der komplette LED-Strahler zu ersetzen.

5. Montage

Gefahr durch elektrischen Strom!
Die Berührung von stromfuhrenden Teilen kann zu elektrischem Schock, Verbrennungen oder Tod führen.
- Strom abschalten und Spannungs zufuhr unterbrechen.
- Spannungsfreiheit mit Spannungs prüfer kontrollieren.
- Sicherstellen, dass die Spannungs zufuhr unterbrochen bleibt.
Gefahr von Sachschäden!
Ein Vertauschen der Anschlussleitungen kann zu Kurzschluss führen.
- Anschlussleitungen identifizieren.
- Anschlussleitungen korrekt verbinden.
Montagevorbereitung
- Alle Bauteile auf Beschädigung prufen. Bei Schädendas Gerät nicht in Betriebnehmen.
Geeigneten Montageort auswahlen.
-Unter Berücksichtigung der Reichweite.
-Unter Berücksichtigung der Bewegungserfassung.
-Erschütterungsfrei.
-Erfassungsbereich frei von Hinder nissen.
-Nicht in explosionsgeführdeten Bereichen.
-Nicht auf leicht entflammbaren Oberflächen.
-Kein Einblick in die Lichtquelle aus kurzer Distanz (< 30 cm).
-Mindestens 50~cm von anderen LED-Strahlern entfernt.
Reichweite XLED PRO ONE S / Plus S / Max S
5.1

Bewegungserfassung seitlich zur Gehrichtung XLED PRO ONE S / Plus S / Max S
5.2

Bewegungserfassung in Gehrichtung XLED PRO ONE S / Plus S / Max S
5.3

Ausrichtung des Geräts
5.4

Gerat korrekt ausrichten.
Montageschritte
5.5



- Prüfen, dass die Spannungs zufuhr abgeschalte ist.
Bohrlicher anzeichnen.
5.6



- Löcher bohren (Ø 6 mm) und Dübel einsetzen.
5.7

Abdeckung abschrauben.
5.8

Abdeckung offen.

5.9
Kabel durch die Öffnung ziehen.

5.10
Bügel anschrauben.
5.11


- Klemmenabdeckung abschrauben.
- Netzzuleitung laut Schaltplan anschließen.
→,4. Elektrischer Anschluss"
5.12

- Klemmenabdeckung anschrauben.
5.13

Abdeckung schlieben.
- Sicherungsschrauben einschrauben.
5.14


- Strahlerkopf ausrichten und mit Madenschrauben fixieren.
5.15


- Stromversorgung einschalten.
- Funktionen einstellen.
→,6. Funktion"
6. Funktion
XLED PRO ONE S / Plus S / Max S
6.1



Abdeckung aufschrauben.
- Einstellungen vornehmen.
Werkseinstellungen
- Zeiteinstellung: 8 Sekunden
- Dämmerungseinstellung: Tageslichtbetrieb 1.000 Lux
- Grundlicht:AUS
Zeiteinstellung (H)
Die Ausschaltverzögerung kann stufenlos von ca. 8 Sekunden bis max. 35 Minuten eingestellt werden. jeder erfasste Bewegung schaltet das Licht erneut ein.
Hinweis: Nach jedem Ab schalten des LED-Strahlers ist für eine Dauer von ca. 1 Sekunde keine erneute Bewe gungserfassung möglich. Anschließlich kann der LED-Strahler bei Bewegung wieder Licht schalten.
Be der Justierung des Erfassungsbereiches und für den Funktionstest wird empfohlen, die kürzeste Zeit einzustellen.
Dämmerungseinstellung (I)
Die Ansprech helligkeit (Dämmerung) kann stufenlos von ca. 2-2.000 Lux eingestellt werden.

Tageslichtbetrieb (helligkeitsunabhängig)

Dämmerungsbetrieb (ca. 2 Lux)
Bei der Einstellung des Erfassungsbereiches und für den Funktionstest bei Tageslicht muss der Einstellregler auf stehen.
Grundlicht (J)
Die Grundhelligkeit mittels Grundlicht-LEDs sorgt für ein geringes Beleuchtungsiveau.
Das Hauptlicht wird nur bei entsprechender Bewegung im Erfassungsbereich für die gewährte Zeit eingeschaltet. Dann schaltet das Licht auf die gewährte Grundhelligkeit.
- OFF = Kein Grundlicht
- 10 min = Grundlicht für 10 Minuten nach Ablauf der gewährten Nachlaufzeit.
-
30 min = Grundlicht für 30 Minuten nach Ablauf der gewährten Nachlaufzeit.
-
C = Grundlicht in der gesamten Nacht. Grundlicht sobald das Umgebungslicht unter die eingestellte Ansprechhelligkeit fällt.
Dauerlichtbetrieb
6.2

1) Dauerlicht einschalten:
Schalter 2× AUS und AN.
Der LED-Strahler wird für 4 Stunden auf Dauerlicht gestellt. Anschließlich goes the automatisch wieder in den Sensorbetrieb über.
2) Dauerlicht ausschalten:
Schalter 1× AUS und AN.
Leuchte Goes aus bzw. in den Sensorbetrieb über.
Wichtig:
Die Schaltvorgänge müssen im Bereich von 0,2 bis
1 Sekunde durchgeführt werden.
Justierung Erfassungsbereich
Um unbeabsichtigte Erfassung auszuschlieben oder bestimmte Bereiche gezielt zu überwachen, kann der Erfassungsbereich mit der Abdeckschale eingeschränkt und justiert werden.

6.3

Abdeckschale auf dem Sensor platzieren.
- Abdeckschale durch Schlieben der Abdeckung fixieren.
7. Zubehr Fernbedienung
Fernbedienung RC 12
(EAN 4007841079000)
7.1

- Erleichtert die Installation von größeren Beleuchtungsanlagen. Die LED-Strahler können gemeinsam nach der Installation eingestellt werden.
- Mit der Fernbedienung konnen beliebig wie LED-Strahler gesteuert werden.
- Jeder gültige Tastendruck wird an dem Gerät über eine Status-LED quittiert.
In der Fernbedienung RC12 wird eine Batterie des Typs CR2032 verwendet.
Mit der Fernbedienung RC 12 konnen zusätzliche Funktionen der XLED PRO ONE S / Plus S / Max S genutzt werden:
1 Dämmerungseinstellung: Die gewünschte Ansprechschwelle kann von ca. 2 - 2.000 Lux eingestellt werden. →,Dämmerungseinstellung (I)"
2 Tageslichtbetrieb (helligkeitsunabhängig)
3 Nachtbetrieb (2 Lux)
4 Helligkeitseinstellung über die Speichertaste / Teach-Modus (2-2.000 Lux). Bei gewünschten Lichtverhältnissen, bei denen der Sensor zukünftig auf die Bewegung reagieren soll: Taste drücken. Der aktuelle Wert wird gespeichert.
5 Zeiteinstellung: Die gewünschte Leuchtdauer nach der letzten Bewegungserfassung kann durch Drücken der Tasten auf 10 s, 1 min, 5 min, 15 min eingestellt werden.
„Zeiteinstellung (H)“
6 Gewünschte Leuchtdauer: Einstellen der Leuchtdauer auf eine gewünschte Zeit. Jeder Tastendruck erhöht die aktuelle Zeiteinstellung um jeweils 1 min (max. 15 min).
7 Dauerlichtbetrieb: Bei Tastendruck im Sensorbetrieb wird der LED-Strahler 4 h eingeschaltet (Status-LED leuchtet dauerhaft). Bei Tastendruck im 4 h-ON-Betrieb wird der LED-Strahler 4 h ausgeschaltet (Status-LED leuchtet dauerhaft). Der 4 h-Betrieb wird durch Ablauf der Zeit, der Reset-Taste oder im 4 h AUS-Betrieb durch Betätigten der 4 h Taste verlassen.
→ „Dauerlichtbetrieb“
8 Install-Modus(Test-Modus): Install-Modus zur Prüfung der Funktionalität sowie des Erfassungsbereiches. Unabhängig von der Helligkeit schaltet der LED-Strahler bei Bewegung für 10 s ein. Bewegung wird über die Status-LED signalisiert. Der Install-Modus hat Vorrang vor allen anderen Einstellungen. Nach 10 min wird der Install-Modus automatisch verlassen. Nach einem Tastendruck Reset wird der Install-Modus(sofort verlassen. Achtung: Teach-Modus und Install-Modus können nicht gleichzeitig verwendet werden.
9 Reset: Zurücksetzen aller Einstellungen auf die an dem LED-Strahler manuell eingestellten Werte bzw. Werkseinstellungen.
10 Grundlicht: Die Grundhelligkeit mittels Grundlicht-LEDs sorgt für ein geringes Beleuchtungsiveau. Das Hauptlicht wird nur bei entsprechender Bewegung im Erfassungsbereich für die gewährte Zeit eingeschaltet. Danach schaltet das Licht auf die gewährte Grundhelligkeit.
„Grundlicht (J)“
Intelligente Fernbedienung (optional)
(EAN 4007841009151)
- Steuerung über Smartphone oder Tablet.
- Ersetzt die Fernbedienung.
Passende App laden und per Bluetooth verbinden.
8. Reinigung und Pflege
Das Gerät ist wartungsfrei.

Gefahr durch elektrischen Strom!
Der Kontakt von Wasser mit stromführung Teilen kann zu elektrischem Schock, Verbrennungen oder Tod führen.
Gerat nur im trockenen Zustand reinigen.
Gefahr von Sachschäden!
Durch falsche Reinigungsmittel kann das Gerät beschädigt werden.
- Gerät mit einem leicht angefeuchteten Tuch ohne Reinigungsmittel reinigen.
Wichtig: Das Betriebsgerät ist nicht austauschbar.

9. Entsorgung
Elektrogeräte, Batterien, Zubehör und Verpackungen müssen einer umweltgerechten Wiederverwertung zugeführten werden.

Werfen Sie Elektrogeräte und Batteriennicht in den Hausmüll!
Die Fernbedienung enthalt eine Batterie des Typs CR 2032 Li-Mn-Dioxide / Organic Elektrolyte.
Nur für EU-Länder:
Gemäß der geltenden Europäischen Richtlinie über Elektro- und Elektronik-Altgeräte und ihrer Umsetzung in nationales Recht mussen nicht mehr gebrauchsfähige Elektrogeräte und Batterien getrennt gesammelt und einer umweltgerechten Wiederverwertung zugeführrt werden.
10. Herstellergarantie
Herstellergarantie der STEINEL GmbH, Dieselstraße 80-84, 33442 Herzebrock-Clarholz
Alle STEINEL-Produkte erfüllen höchste Qualitätsansprüche. Aus thisem Grund leisten wir als Hersteller Ihnen als KundeigeriaeineGarantie gemaB den nachstehenden Bedingungen:
Die Garantie umfasst die Freiheit von Mängeln, die nachweislich auf einem Material- oder Herstellungsfehler berufen und uns unverzüglich nach Feststellung und innerhalb der Garantiezeit gemeldet werden. Die Garantie erstreckt sich auf sámttliche STEINEL Professional-Produkte, die in Deutschland gekauft und verwendet werden.
Unsere Garantieleistungen fur Verbraucher
Die nachstehenden Regelungen gelten für Verbraucher.
Verbraucher ist jeder natürliche Person ist, die bei Abschluss des Kaufes weder in Ausübung ihrer gewerblichen noch ihrer selbständigen beruflichen Tätigkeit handelt.
Sie haben die Wahl, ob wir die Garantieleistung durch kostenlose Reparatur, kostenlosen Austausch (ggf. durch ein gleich- oder höherwertiges Nachfolgemodell) oder Erstellung einer Gutschrift leisten.
Die Garantiezeit für Ihr erworbenes STEINEL Professional-Produkt beträgt bei Sensoren, Strahlern, Außen- und Innenleuchten 5 Jahre jeweils ab Kaufdatum des Produkts.
Wir tragen die Transportkosten, jedoch nicht die Transportrisiken der Rücksendung.
Unsere Garantieleistungen für Unternehmer
Die nachstehenden Regelungen gelten für Unternehmer. Unternehmer ist eine natürliche oder juristische Person oder eine rechtsfähige Personengesellschaft ist, die bei Abschluss des Kaufes in Ausübung ihrer gewerblichen oder selbständigen beruflichen Tätigkeit handelt.
Wir haben die Wahl, ob wir die Garantieleistung durch kostenlose Behebung der Mängel, kostenlosen Austausch (ggf. durch eine gleich- oder höherwertiges Nachfolgemodell) oder Erstellung einer Gutschrift leisten.
Die Garantiezeit für Ihr erworbenes STEINEL Professional-Produkt beträgt bei Sensoren, Strahlern, Außen- und Innenleuchten 5 Jahre jeweils ab Kaufdatum des Produkts.
Im Rahmen der Garantieleistung tragen wir nicht ihre zum Zwecke der Nacherfüllung erforderlichen Aufwendungen und nicht ihre Aufwendungen für den Ausbau des mangelhaften Produkts und den Einbau eines Austauschprodukts.
Gesetzliche Mängelrechte, Unentgeltlichkeit
Die hier beschriebenen Leistungen gelten zusammen zu den gesetzlichen Gewährleistungsansprüchen – einschließlich besonderer Schutzbestimmungen für Verbraucher – und beschränken oder ersetzen diese nicht. Die Inanspruchnahme ihrer gesetzlichen Rechte bei Mängeln ist unentgeltlich.
Ausnahmen von der Garantie
Ausdrücklich ausgenommen von dieser Garantie sind alle auswechselbaren Leuchtmittel.
Darüber hinaus ist die Garantie ausgeschlossen:
- bei einem gebrauchsbedingten oder sonstigen natürlichen Verschleiß von Produktteilen oder Mängeln am STEINEL Professional-Produkt, die auf gebrauchsbedingtem oder sonstigem natürlichen Verschleiß zugrückzuführen sind,
- bei nicht bestimmungs- oder unsachgemäßem Gebrauch des Produkts oder Missachtung der Bedienungshinweise,
- wenn An- und Umbauten bzw. sonstige Modifikationen an dem Produkt eigenmächtig vorgenommen wurden oder Mängel auf die Verwendung von Zubehör-, Ergänzungs- oder Ersatzteilen zurückzuführn sind, die keine STEINEL-Originalteile sind,
- wenn Wartung und Pflege der Produkte nicht entspruchend der Bedienungsanleitung erfolgt sind,
- wenn Anbau- und Installation nicht gemäß den Installationsvorschriften von STEINEL ausgeführrt wurden,
- bei Transportschäden oder -verlusten.
GeltungdeutschenRechts
Es gilt deutsches Recht unter Ausschluss des Übereinkommens der Vereinten Nationen über Verträge über den internationalen Warenkauf (CISG).
Geltendmachung
Wenn Sie die Garantie in Anspruchnehmen sollen, senden Sie Ihr Produktitte vollständig mit dem Original-Kaufbeleg, der die Angabe des Kaufdatumss und der Produktbezeichnung enthalten muss, an ihren Handler oder direkt an uns, die STEINEL GmbH - Reklamationsabteilung-, Dieselstraße 80-84, 33442 Herzebrock-Clarholz (AT: STEINEL Austria GmbH - Hirschstettnerstraße 19/G/1/1, AT-1220 Wien, CH: PUAG AG, Oberebenestrasse 51, CH-5620 Bremgarten).
Wir empfehlen Ihnen dazu, ihren Kaufbeleg bis zum Ablauf der Garantiezeit sorgfältig aufzubewahren.
5 JAHRE HERSTELLER GARANTIE
11. Technische Daten
-
Netzspannung: 220-240 V, 50/60 Hz
-
Leistung / Effizienz:
XLED PRO ONE S: 120 lm/W
XLED PRO ONE PLUS S: 129 lm/W
XLED PRO ONE Max S: 122 lm/W
XLED PRO ONE: 126 lm/W
XLED PRO ONE PLUS: 132 Im/W
XLED PRO ONE Max: 123 lm/W
- Lichtstrom / Helligkeit:
XLED PRO ONE S: 2.204 lm
XLED PRO ONE PLUS S: 4.370 lm
XLED PRO ONE Max S: 6.116 lm
XLED PRO ONE: 2.236 lm
XLED PRO ONE PLUS: 4.370 lm
XLED PRO ONE Max: 6.093 lm
-Eigenverbrauch:
XLED PRO ONE S: 18,4 W
XLED PRO ONE PLUS S: 33,8 W
XLED PRO ONE Max S: 50,1 W
XLED PRO ONE: 17,7 W
XLED PRO ONE PLUS: 33,1 W
XLED PRO ONE Max: 49,4 W
- Projizierte Fläche:
XLED PRO ONE S: 180 cm²
XLED PRO ONE PLUS S / Max S: 254 cm²
XLED PRO ONE: 180 cm²
XLED PRO ONE PLUS / Max 254 cm²
Gewicht:
XLED PRO ONE S: 1,45 kg
XLED PRO ONE PLUS S: 1,7 kg
XLED PRO ONE Max S: 1,72 kg
XLED PRO ONE: 1,4 kg
XLED PRO ONE PLUS: 1,7 kg
XLED PRO ONE Max: 1,72 kg
-Netzstrom:
XLED PRO ONE S: 86,73 mA
XLED PRO ONE PLUS S: 233,1 mA
XLED PRO ONE Max S: 158,4 mA
XLED PRO ONE: 88,28 mA
XLED PRO ONE PLUS: 233,3 mA
XLED PRO ONE Max: 160,7 mA
- Leistungsfaktor:
XLED PRO ONE S: 0,86
XLED PRO ONE PLUS S: 0,92
XLED PRO ONE Max S: 0,95
XLED PRO ONE: 0,86
XLED PRO ONE PLUS: 0,92
XLED PRO ONE Max: 0,95
- Lichtfarbe:
3.000 K (warmweiB)
- Farbwiedergabeindex:
R_a≥ 80
- Sensorik:
XLED PRO ONE S / PLUS S / Max S: Passiv Infrarot
- Reichweite:
XLED PRO ONE S / PLUS S / Max S: Max. 10 m
-Erfassungswinkel:
XLED PRO ONE S / PLUS S / Max S: 240°
- Zeiteinstellung:
XLED PRO ONE S / PLUS S / Max S: 8 s-35 min
- Dämmerungseinstellung:
XLED PRO ONE S / PLUS S / Max S: 2-2.000 Lux
- IP Schutzklasse: IP44 / I
Zusätzliche Schalteistung
XLED PRO ONE S / PLUS S / Max S:
- Gluh-/ Halogenlampenlast: 1.500 W
- Leuchtstofflampen EVGs: 430 W
- Leuchtstofflampen unkompensiert: 500 VA
- Leuchtstofflampen reihenkompensiert: 900 VA
- Leuchtstofflampen parallelkompensiert: 500 VA
- Niedervolt-Halogenlampen: 1.500 VA
- LED-Lampen < 2W : 16W
- 2 W < LED-Lampen < 8 W: 64 W
- LED-Lampen > 8 W: 64 W
- Kapazitive Belastung: 88 F
12. Störungsbehebung
Gerät ohne Spannung.
- Sicherung nicht eingeschaltet oder defekt.
- Sicherung einschalten.
Defekte Sicherung austauschen. - Leitung unterbrochen.
- Leitung mit Spannungssprüfer überprüfen.
- Kurzschluss in der Netzzuleitung.
Anschlisse überprüfen. - Eventuell vorhandener Netzschalter aus.
- Netzschalter einschalten.
Gerat schaltet nicht ein.
-
Dämmerungseinstellung falsch gewählt.
-
Dämmerungseinstellung neu einstellen.
- Netzschalter AUS.
-
Netzschalter einstellen.
-
Sicherung nicht eingeschaltet oder defekt.
-
Sicherung einschalten.
Defekte Sicherung austauschen. -
Schnelle Bewegungen werden zur Störungsmini mierung unterträckt oder Erfassungsbereich zu Klein oder nicht korrekt.
-
Erfassungsbereich kontrollieren und justieren.
-Lichtquelle defekt.
Die Lichtquelle ist nicht wechselbar. Gerät kompletter setzen.
Gerät schaltet nicht aus.
-
Dauernde Bewegung im Erfassungsbereich.
-
Erfassungsbereich kontrollieren.
- Bei Bedarf den Erfassungsbereich einschränken oder verändern.
Gerat schaltet unerwünscht ein.
- Gerät nicht bewegungssicher montiert.
- Gerät fest montieren.
-Bewegung lag vor, wurde jedoch vom Beobachternicht erkannt (Bewegung hinter Wand, Bewegung eineskleinen Objektes in unmittelbarer Lampennähe etc.). - Bereich kontrollieren.
- Bei Bedarf den Erfassungsbereich einschränken oder verändern.
GB
Contents
XLED PRO ONE PLUS: 132 Im/W
XLED PRO ONE Max: 123 lm/W
XLED PRO ONE S: 2,204 Im
XLED PRO ONE PLUS S: 4,370 lm
XLED PRO ONE Max S: 6,116 lm
XLED PRO ONE: 2,236 lm
XLED PRO ONE PLUS: 4,370 lm
XLED PRO ONE Max: 6,093 lm
- Power consumption:
XLED PRO ONE S: 18.4 W
XLED PRO ONE PLUS S: 33.8 W
XLED PRO ONE PLUS: 33.1 W
XLED PRO ONE Max: 49.4 W
XLED PRO ONE PLUS: 1.7 kg
XLED PRO ONE Max: 1.72 kg
- Mains current:
XLED PRO ONE S: 86.73 mA
XLED PRO ONE PLUS S: 233.1 mA
XLED PRO ONE Max S: 158.4 mA
XLED PRO ONE: 88.28 mA
XLED PRO ONE PLUS: 233.3 mA
XLED PRO ONE Max: 160.7 mA
- Power factor:
XLED PRO ONE S: 0.86
XLED PRO ONE PLUS S: 0.92
XLED PRO ONE Max S: 0.95
XLED PRO ONE: 0.86
XLED PRO ONE PLUS: 0.92
XLED PRO ONE Max: 0.95
-
Light colour: 3,000 ~K (warm white)
-
Colour rendering index: R ≥ 80
-
Sensor technology:
XLED PRO ONE S / PLUS S / Max S: passive infrared
- Reach:
XLED PRO ONE S / PLUS S / Max S: Max. 10 m
- Angle of coverage:
XLED PRO ONE S / PLUS S / Max S: 240°
- Time setting:
XLED PRO ONE S / PLUS S / Max S: 8 s-35 min
Twilight setting:
XLED PRO ONE S / PLUS S / Max S: 2-2,000 lux
3. Description de l'ordinateil
Utilisation conforme aux prescriptions XLED PRO ONE S / Plus S / Max S
XLED PRO ONE PLUS: 132 Im/W
XLED PRO ONE Max: 123 lm/W
XLED PRO ONE PLUS: 4.370 lm
XLED PRO ONE Max: 6.093 lm
XLED PRO ONE PLUS: 33,1 W
XLED PRO ONE Max: 49,4 W
11. Technische gegevens
XLED PRO ONE PLUS: 132 Im/W
XLED PRO ONE Max: 123 lm/W
- Lichtstroom / lichtsterkte:
XLED PRO ONE S: 2.204 lm
XLED PRO ONE PLUS S: 4.370 lm
XLED PRO ONE Max S: 6.116 lm
XLED PRO ONE: 2.236 lm
XLED PRO ONE PLUS: 4.370 lm
XLED PRO ONE Max: 6.093 lm
- Eigen verbruik:
XLED PRO ONE S: 18,4 W
XLED PRO ONE PLUS S: 33,8 W
XLED PRO ONE Max S: 50,1 W
XLED PRO ONE: 17,7 W
XLED PRO ONE PLUS: 33,1 W
XLED PRO ONE Max: 49,4 W
- Verlicht oppervlak:
XLED PRO ONE S: 180 cm²
XLED PRO ONE PLUS S / Max S: 254 cm²
XLED PRO ONE: 180 cm²
XLED PRO ONE PLUS / Max 254 cm²
Gewicht:
XLED PRO ONE S: 1,45 kg
XLED PRO ONE PLUS S: 1,7 kg
XLED PRO ONE Max S: 1,72 kg
XLED PRO ONE: 1,4 kg
XLED PRO ONE PLUS: 1,7 kg
XLED PRO ONE Max: 1,72 kg
-Netstroom:
XLED PRO ONE S: 86,73 mA
XLED PRO ONE PLUS S: 233,1 mA
XLED PRO ONE Max S: 158,4 mA
XLED PRO ONE: 88,28 mA
XLED PRO ONE PLUS: 233,3 mA
XLED PRO ONE Max: 160,7 mA
- Vermogensfactor:
XLED PRO ONE S: 0,86
XLED PRO ONE PLUS S: 0,92
XLED PRO ONE Max S: 0,95
XLED PRO ONE: 0,86
XLED PRO ONE PLUS: 0,92
XLED PRO ONE Max: 0,95
- Lichtkleur: 3.000 K (warm wit)
- Index kleurweergave: R
- Sensor:
XLED PRO ONE S / PLUS S / Max S: passief infrarood
- Reikwijdtte:
XLED PRO ONE S / PLUS S / Max S: Max. 10 m
- Registratiehoek:
XLED PRO ONE S / PLUS S / Max S: 240°
- Tijdinstelling:
XLED PRO ONE S / PLUS S / Max S: 8 sec. -35 min.
- Schemermodus:
XLED PRO ONE S / PLUS S / Max S: 2-2.000 lux
- IP beschermingsklasse:
IP44 / I
Extra schakelvermogen
XLED PRO ONE S / PLUS S / Max S:
- Gloei- / halogeenlampen: 1.500 W
-TI-lampen elektronische voorschakelapparaten: 430 W
-TI-lampen ongecompenseerd: 500 VA
-TI-lampenseriegecompenseerd: 900 VA
-TI-lampen parallel gecompenseerd: 500 VA - Halogeneampen laag voltage: 1.500 VA
- Led-lampen < 2 ~W : 16 W
- 2 W < led-lampen < 8 W: 64 W
- Led-lampen >8 ~W : 64 W
- Capacitieve belasting: 88 F
De lamp schakelt nicht in.
De lamp schakelt nicht UIT.
XLED PRO ONE PLUS: 132 Im/W
XLED PRO ONE Max: 123 lm/W
XLED PRO ONE PLUS: 4.370 lm
XLED PRO ONE Max: 6.093 lm
- Consumo / potenza:
XLED PRO ONE S: 18,4 W
XLED PRO ONE PLUS S: 33,8 W
XLED PRO ONE Max S: 50,1 W
XLED PRO ONE: 17,7 W
XLED PRO ONE PLUS: 33,1 W
XLED PRO ONE Max: 49,4 W
XLED PRO ONE: 1,4 kg
XLED PRO ONE PLUS: 1,7 kg
XLED PRO ONE Max: 1,72 kg
- Corrente di rete:
XLED PRO ONE S: 86,73 mA
XLED PRO ONE PLUS S: 233,1 mA
XLED PRO ONE Max S: 158,4 mA
XLED PRO ONE: 88,28 mA
XLED PRO ONE PLUS: 233,3 mA
XLED PRO ONE Max: 160,7 mA
- Fattore potenza:
XLED PRO ONE S: 0,86
XLED PRO ONE PLUS S: 0,92
XLED PRO ONE Max S: 0,95
XLED PRO ONE: 0,86
XLED PRO ONE PLUS: 0,92
XLED PRO ONE Max: 0,95
XLED PRO ONE PLUS: 132 Im/W
XLED PRO ONE Max: 123 lm/W
- Fluo luminoso / luminosidad:
XLED PRO ONE S: 2.204 lm
XLED PRO ONE PLUS S: 4.370 lm
XLED PRO ONE Max S: 6.116 lm
XLED PRO ONE: 2.236 lm
XLED PRO ONE PLUS: 4.370 lm
XLED PRO ONE Max: 6.093 lm
XLED PRO ONE PLUS: 33,1 W
XLED PRO ONE Max: 49,4 W
XLED PRO ONE: 1,4 kg
XLED PRO ONE PLUS: 1,7 kg
XLED PRO ONE Max: 1,72 kg
XLED PRO ONE PLUS: 233,3 mA
XLED PRO ONE Max: 160,7 mA
- Factor de potencia:
XLED PRO ONE S: 0,86
XLED PRO ONE PLUS S: 0,92
XLED PRO ONE Max S: 0,95
XLED PRO ONE: 0,86
XLED PRO ONE PLUS: 0,92
XLED PRO ONE Max: 0,95
XLED PRO ONE PLUS: 132 lm/W
XLED PRO ONE Max: 123 lm/W
XLED PRO ONE PLUS: 4.370 lm
XLED PRO ONE Max: 6.093 lm
- Consumo版权所有:
XLED PRO ONE S: 18,4 W
XLED PRO ONE PLUS S: 33,8 W
XLED PRO ONE Max S: 50,1 W
XLED PRO ONE: 17,7 W
XLED PRO ONE PLUS: 33,1 W
XLED PRO ONE Max: 49,4 W
-Área projetada:
XLED PRO ONE S: 180 cm²
XLED PRO ONE PLUS S / Max S: 254 cm²
XLED PRO ONE: 180 cm²
XLED PRO ONE PLUS / Max: 254 cm²
-Peso:
XLED PRO ONE S: 1,45 kg
XLED PRO ONE PLUS S: 1,7 kg
XLED PRO ONE Max S: 1,72 kg
XLED PRO ONE: 1,4 kg
XLED PRO ONE PLUS: 1,7 kg
XLED PRO ONE Max: 1,72 kg
- Corrente elektrica:
XLED PRO ONE S: 86,73 mA
XLED PRO ONE PLUS S: 233,1 mA
XLED PRO ONE Max S: 158,4 mA
XLED PRO ONE: 88,28 mA
XLED PRO ONE PLUS: 233,3 mA
XLED PRO ONE Max: 160,7 mA
- Fator de potência:
XLED PRO ONE S: 0,86
XLED PRO ONE PLUS S: 0,92
XLED PRO ONE Max S: 0,95
XLED PRO ONE: 0,86
XLED PRO ONE PLUS: 0,92
XLED PRO ONE Max: 0,95
Produktmatt XLED PRO ONE
- XLED PRO ONE (a)
- XLED PRO ONE Plus (b)
- XLED PRO ONE Max (c)
3.4

229 mm (a)
259 mm (b),(c)
182 mm (a)
202 mm (b),(c)

Produktoversikt XLED PRO ONE S / Plus S / Max S
3.5

Därefter übergen den automatisch i sensordriftigen.
2) Frankoppla det fasta skenet:
Li-Mn-Dioxid / Organic Elektrolyt.
Gäller endast EU-länder:
Nedanstäende bestammelser gäller für foretagare.
XLED PRO ONE PLUS: 132 Im/W
XLED PRO ONE Max: 123 lm/W
-Ljusflöde:
XLED PRO ONE S: 2.204 lm
XLED PRO ONE PLUS S: 4.370 lm
XLED PRO ONE Max S: 6.116 lm
XLED PRO ONE: 2.236 lm
XLED PRO ONE PLUS: 4.370 lm
XLED PRO ONE Max: 6.093 lm
- Egen Förbrukning:
XLED PRO ONE S: 18,4 W
XLED PRO ONE PLUS S: 33,8 W
XLED PRO ONE Max S: 50,1 W
XLED PRO ONE: 17,7 W
XLED PRO ONE PLUS: 33,1 W
XLED PRO ONE Max: 49,4 W
- Projekterad yta:
XLED PRO ONE S: 180 cm²
XLED PRO ONE PLUS S / Max S: 254 cm²
XLED PRO ONE: 180 cm²
XLED PRO ONE PLUS S / Max S: 254 cm²
-Vikt:
XLED PRO ONE S: 1,45 kg
XLED PRO ONE PLUS S: 1,7 kg
XLED PRO ONE Max S: 1,72 kg
XLED PRO ONE: 1,4 kg
XLED PRO ONE PLUS: 1,7 kg
XLED PRO ONE Max: 1,72 kg
- Nätström:
XLED PRO ONE S: 86,73 mA
XLED PRO ONE PLUS S: 233,1 mA
XLED PRO ONE Max S: 158,4 mA
XLED PRO ONE: 88,28 mA
XLED PRO ONE PLUS: 233,3 mA
XLED PRO ONE Max: 160,7 mA
- Effektfaktor:
XLED PRO ONE S: 0,86
XLED PRO ONE PLUS S: 0,92
XLED PRO ONE Max S: 0,95
XLED PRO ONE: 0,86
XLED PRO ONE PLUS: 0,92
XLED PRO ONE Max: 0,95
-Ljusfarg: 3.000 K (varmvit)
Produktmal for XLED PRO ONE S
- XLED PRO ONE S (a)
- XLED PRO ONE Plus S (b)
- XLED PRO ONE Max S (c)
3.3

229 mm (a)
259 mm (b),(c)
182 mm (a)
202 mm (b),(c)

Produktmal for XLED PRO ONE
- XLED PRO ONE (a)
- XLED PRO ONE Plus (b)
- XLED PRO ONE Max (c)
3.4

229 mm (a)
259 mm (b),(c)
182 mm (a)
202 mm (b),(c)

"6. Funktion"
6. Funktion
XLED PRO ONE S / Plus S / Max S
6.1

DK


XLED PRO ONE PLUS: 132 Im/W
XLED PRO ONE Max: 123 lm/W
XLED PRO ONE PLUS: 4.370 lm
XLED PRO ONE Max: 6.093 lm
- Eget forbrug:
XLED PRO ONE S: 18,4 W
XLED PRO ONE PLUS S: 33,8 W
XLED PRO ONE Max S: 50,1 W
XLED PRO ONE: 17,7 W
XLED PRO ONE PLUS: 33,1 W
XLED PRO ONE Max: 49,4 W
- Projiceret flade:
XLED PRO ONE S: 180 cm²
XLED PRO ONE PLUS S / Max S: 254 cm²
XLED PRO ONE: 180 cm²
XLED PRO ONE PLUS / Max: 254 cm²
-Vaegt:
XLED PRO ONE S: 1,45 kg
XLED PRO ONE PLUS S: 1,7 kg
XLED PRO ONE Max S: 1,72 kg
XLED PRO ONE: 1,4 kg
XLED PRO ONE PLUS: 1,7 kg
XLED PRO ONE Max: 1,72 kg
-Netstrøm:
XLED PRO ONE S: 86,73 mA
XLED PRO ONE PLUS S: 233,1 mA
XLED PRO ONE Max S: 158,4 mA
XLED PRO ONE: 88,28 mA
XLED PRO ONE PLUS: 233,3 mA
XLED PRO ONE Max: 160,7 mA
- Effektfaktor:
XLED PRO ONE S: 0,86
XLED PRO ONE PLUS S: 0,92
XLED PRO ONE Max S: 0,95
XLED PRO ONE: 0,86
XLED PRO ONE PLUS: 0,92
XLED PRO ONE Max: 0,95
- Lysfarve: 3.000 K (varm hvid)
- Farvegengivelsesesindeks: R_a ≥ 80
- Sensortechnologi: XLED PRO ONE S / PLUS S / Max S: Passiv infrarod
- Rækkevidde: XLED PRO ONE S / PLUS S / Max S: Maks. 10 m
- Overvågningsvinkel: XLED PRO ONE S / PLUS S / Max S: 240°
- Tidsindstilling: XLED PRO ONE S / PLUS S / Max S: 8 s-35 min
- Skumringsindstilling: XLED PRO ONE S / PLUS S / Max S: 2-2.000 lux
- IP-kapslingsklasse: IP44 / I
Ekstra effekt
XLED PRO ONE S / PLUS S / Max S:
- Glode-/ halogenpaeerelast: 1.500 W
-Lysstofrør elektron. forkobl.-enheder: 430 W - Lysstofrørukompenseret: 500 VA
-Lysstofrørseriekomperseret: 900 VA - Lysstofrør parallelkompenseret: 500 VA
-Lavspændings-halogenpærer: 1.500 VA - LED-paerer < 2 ~W : 16 W
- 2 W < LED-paerer < 8 W: 64 W
- LED-paerer > 8 W: 64 W
- Kapacitiv belastning: 88 F
XLED PRO ONE PLUS: 132 Im/W
XLED PRO ONE Max: 123 lm/W
XLED PRO ONE PLUS: 4.370 lm
XLED PRO ONE Max: 6.093 lm
- Tehonkulutus:
XLED PRO ONE S: 18,4 W
XLED PRO ONE PLUS S: 33,8 W
XLED PRO ONE Max S: 50,1 W
XLED PRO ONE: 17,7 W
XLED PRO ONE PLUS: 33,1 W
XLED PRO ONE Max: 49,4 W
- Projisoitu alue:
XLED PRO ONE S: 180 cm²
XLED PRO ONE PLUS S / Max S: 254 cm²
XLED PRO ONE: 180 cm²
XLED PRO ONE PLUS / Max: 254 cm²
- Paino:
XLED PRO ONE S: 1,45 kg
XLED PRO ONE PLUS S: 1,7 kg
XLED PRO ONE Max S: 1,72 kg
XLED PRO ONE: 1,4 kg
XLED PRO ONE PLUS: 1,7 kg
XLED PRO ONE Max: 1,72 kg
- Verkkovirta:
XLED PRO ONE S: 86,73 mA
XLED PRO ONE PLUS S: 233,1 mA
XLED PRO ONE Max S: 158,4 mA
XLED PRO ONE: 88,28 mA
XLED PRO ONE PLUS: 233,3 mA
XLED PRO ONE Max: 160,7 mA
-Tehokerroin:
XLED PRO ONE S: 0,86
XLED PRO ONE PLUS S: 0,92
XLED PRO ONE Max S: 0,95
XLED PRO ONE: 0,86
XLED PRO ONE PLUS: 0,92
XLED PRO ONE Max: 0,95
Produktmal XLED PRO ONE S
- XLED PRO ONE S (a)
- XLED PRO ONE Plus S (b)
- XLED PRO ONE Max S (c)
3.3

229 mm (a)
259 mm (b),(c)
182 mm (a)
202 mm (b),(c)

Produktmål XLED PRO ONE
- XLED PRO ONE (a)
- XLED PRO ONE Plus (b)
- XLED PRO ONE Max (c)
3.4

229 mm (a)
259 mm (b),(c)
182 mm (a)
202 mm (b),(c)

Enhetoversikt XLED PRO ONE S / Plus S / Max S
3.5

A LED-lyskasterhode
B Monteringsboyle
C Stillskrue
D Koblingsklemme
E Klemmedeksen
F Sensorenhet
G Deksel
3.6

H Tidsinnstilling
I Skumringsinnstilling
J Grunnlys
3.7

K Fjernkontroll RC 12
Enhetsoversikt XLED PRO ONE / Plus / Max
3.8

A LED-lyskasterhode
B Monteringsboyle
C Koblingsklemme
D Klemmedeksen
E Deksel
4. Elektrisk tinkobling
Koblingsskjema XLED PRO ONE S / Plus S / Max S
4.1




NO
Koblingsskjema XLED PRO ONE / Plus / Max

4.2



XLED PRO ONE PLUS: 132 Im/W
XLED PRO ONE Max: 123 lm/W
XLED PRO ONE PLUS: 4.370 lm
XLED PRO ONE Max: 6.093 lm
- Egetforbruk:
XLED PRO ONE S: 18,4 W
XLED PRO ONE PLUS S: 33,8 W
XLED PRO ONE Max S: 50,1 W
XLED PRO ONE: 17,7 W
XLED PRO ONE PLUS: 33,1 W
XLED PRO ONE Max: 49,4 W
-Belyst flate:
XLED PRO ONE S: 180 cm²
XLED PRO ONE PLUS S / Max S: 254 cm²
XLED PRO ONE: 180 cm²
XLED PRO ONE PLUS / Max: 254 cm²
-Vekt:
XLED PRO ONE S: 1,45 kg
XLED PRO ONE PLUS S: 1,7 kg
XLED PRO ONE Max S: 1,72 kg
XLED PRO ONE: 1,4 kg
XLED PRO ONE PLUS: 1,7 kg
XLED PRO ONE Max: 1,72 kg
- Strømtilførsl:
XLED PRO ONE S: 86,73 mA
XLED PRO ONE PLUS S: 233,1 mA
XLED PRO ONE Max S: 158,4 mA
XLED PRO ONE: 88,28 mA
XLED PRO ONE PLUS: 233,3 mA
XLED PRO ONE Max: 160,7 mA
- Effektfaktor:
XLED PRO ONE S: 0,86
XLED PRO ONE PLUS S: 0,92
XLED PRO ONE Max S: 0,95
XLED PRO ONE: 0,86
XLED PRO ONE PLUS: 0,92
XLED PRO ONE Max: 0,95
- IP kapslingsklasse: IP44 / I
Ekstra koblingseffekt
XLED PRO ONE S / PLUS S / Max S:
-Lyspaere-/ halogenlampelast: 1.500 W
-Lysrør elektronisk ballast: 430 W
-Lysrørukompensert: 500 VA
-Lysrørseriekompensert: 900 VA
-Lysrør parallelkompensert: 500 VA
-Lavvolt-halogenpærer: 1.500 VA
- LED-Iys < 2 W: 16 W
- 2 W < LED-Iys < 8 W: 64 W
- LED-Iys > 8 W: 64 W
- Kapasitiv belastning: 88 F
- Sikringen/DD:innkoblet/defekt.
Koble inn sikringen.
- Skift ut defekt sikring.
Eyyúnón κataσκεuaστή STEINEL GmbH, Dieselstraße 80-84, DE-33442 Herzebrock-Clarholz, Ερμαία
ayopaoNTc mnpeTE va kavte xpnoT Twv voumuw
Eyyuntikwv diakaiuMATWv evavTI Tou nIomegaN. Efoov Ta
diakaiuMaTa auta 1oxouv otN Xwpa oac, dev ouvtenuoT aoute TepiopiOvta ano Tn dikn mac nolwn Eyyunoc.
Zac napexoupe 5 etn yyunon ia tnv aoyn kataokun
kai Tnv kavovikn IeIToupyia Tou npoiovtoc STEINEL Professional-Sensorik. Napexoue Tnv yyyunon oTl autoTo
tpoiovdelta napouiae IeAATTwmaTuAikoU, kataokune
n oxdeltaanc. Napexoue yyyunon IeIToupyiknc
ikavotntac oawv twv nEKTPOVIKWv dooostoixeiWv kai
kaawdiwv, onwc eianc eAAeipnc ophaMaTsw OawvTwv
xpoioTOnThEvTiw uikwV kaiTwvETiapaveiw autwv.
PpOBoLn aEiwoeWv:
XLED PRO ONE PLUS: 132 Im/W
XLED PRO ONE Max: 123 lm/W
XLED PRO ONE PLUS: 4.370 lm
XLED PRO ONE Max: 6.093 lm
-Kataváλωσηιοχύος:
XLED PRO ONE S: 18,4 W
XLED PRO ONE PLUS S: 33,8 W
XLED PRO ONE Max S: 50,1 W
XLED PRO ONE: 17,7 W
XLED PRO ONE PLUS: 33,1 W
XLED PRO ONE Max: 49,4 W
- Eπiφávεia προβoλής:
XLED PRO ONE S: 180 cm²
XLED PRO ONE PLUS S / Max S: 254 cm²
XLED PRO ONE: 180 cm²
XLED PRO ONE PLUS / Max: 254 cm²
- Bápoc:
XLED PRO ONE S: 1,45 kg
XLED PRO ONE PLUS S: 1,7 kg
XLED PRO ONE Max S: 1,72 kg
XLED PRO ONE: 1,4 kg
XLED PRO ONE PLUS: 1,7 kg
XLED PRO ONE Max: 1,72 kg
- Pεύμα δικτύου:
XLED PRO ONE S: 86,73 mA
XLED PRO ONE PLUS S: 233,1 mA
XLED PRO ONE Max S: 158,4 mA
XLED PRO ONE: 88,28 mA
XLED PRO ONE PLUS: 233,3 mA
XLED PRO ONE Max: 160,7 mA
XLED PRO ONE PLUS: 0,92
XLED PRO ONE Max: 0,95
-Xpωμa φωτός:
XLED PRO ONE PLUS: 132 Im/W
XLED PRO ONE Max: 123 lm/W
- Isik akimi / Parlaklik:
XLED PRO ONE S: 2.204 lm
XLED PRO ONE PLUS S: 4.370 lm
XLED PRO ONE Max S: 6.116 lm
XLED PRO ONE: 2.236 lm
XLED PRO ONE PLUS: 4.370 lm
XLED PRO ONE Max: 6.093 lm
-Öz tüketim:
XLED PRO ONE S: 18,4 W
XLED PRO ONE PLUS S: 33,8 W
XLED PRO ONE Max S: 50,1 W
XLED PRO ONE: 17,7 W
XLED PRO ONE PLUS: 33,1 W
XLED PRO ONE Max: 49,4 W
- Öngörulen alan:
XLED PRO ONE S: 180 cm²
XLED PRO ONE PLUS S / Max S: 254 cm²
XLED PRO ONE: 180 cm²
XLED PRO ONE PLUS / Max: 254 cm²
-Agirilik:
XLED PRO ONE S: 1,45 kg
XLED PRO ONE PLUS S: 1,7 kg
XLED PRO ONE Max S: 1,72 kg
XLED PRO ONE: 1,4 kg
XLED PRO ONE PLUS: 1,7 kg
XLED PRO ONE Max: 1,72 kg
-Elektrik gucu:
XLED PRO ONE S: 86,73 mA
XLED PRO ONE PLUS S: 233,1 mA
XLED PRO ONE Max S: 158,4 mA
XLED PRO ONE: 88,28 mA
XLED PRO ONE PLUS: 233,3 mA
XLED PRO ONE Max: 160,7 mA
-Guc katsayisi:
XLED PRO ONE S: 0,86
XLED PRO ONE PLUS S: 0,92
XLED PRO ONE Max S: 0,95
XLED PRO ONE: 0,86
XLED PRO ONE PLUS: 0,92
XLED PRO ONE Max: 0,95
- lşik rengi: 3.000 K (sicak beyaz)
- Renk yansitma endeksi: R_a ≥ 80
- Algilama sistemi: XLED PRO ONE S / PLUS S / Max S: Pasif kizilotesi
- Menzil: XLED PRO ONE S / PLUS S / Max S: Maks. 10 m
-Kapsama aciSi: XLED PRO ONE S/PLUS S/Max S: 240^ - Zaman ayari: XLED PRO ONE S / PLUS S / Max S: 8 sn-35 dak
- Alacakaranlik ayari: XLED PRO ONE S / PLUS S / Max S: 2-2.000 Lux
- IP Koruma sinifi: IP44 / I
ilave calistirma gucu
XLED PRO ONE S / PLUS S / Max S:
-Akkor / halojen ampul yukü: 1.500 W
- Floresan ampuller EVG: 430 W
-Floresan ampuller, dengesiz: 500 VA
-Floresan ampuller,seridengeli: 900 VA
-Floresan ampuller, parallel dengeli: 500 VA
- Alçak gerilim halojen ampuller: 1.500 VA
- LED lambalar < 2 W: 16 W
- 2 W < LED Iambalar < 8 W: 64 W
- LED lambalar > 8 W: 64 W
- Kapasitif yükleme: 88 μF
12. Sorun giderme
XLED PRO ONE PLUS: 132 Im/W
XLED PRO ONE Max: 123 lm/W
-Fenyaram/fenyero:
XLED PRO ONE S: 2.204 lm
XLED PRO ONE PLUS S: 4.370 lm
XLED PRO ONE Max S: 6.116 lm
XLED PRO ONE: 2.236 lm
XLED PRO ONE PLUS: 4.370 lm
XLED PRO ONE Max: 6.093 lm
- Fogyasztás:
XLED PRO ONE S: 18,4 W
XLED PRO ONE PLUS S: 33,8 W
XLED PRO ONE Max S: 50,1 W
XLED PRO ONE: 17,7 W
XLED PRO ONE PLUS: 33,1 W
XLED PRO ONE Max: 49,4 W
XLED PRO ONE: 1,4 kg
XLED PRO ONE PLUS: 1,7 kg
XLED PRO ONE Max: 1,72 kg
- Halózati áram:
XLED PRO ONE S: 86,73 mA
XLED PRO ONE PLUS S: 233,1 mA
XLED PRO ONE Max S: 158,4 mA
XLED PRO ONE: 88,28 mA
XLED PRO ONE PLUS: 233,3 mA
XLED PRO ONE Max: 160,7 mA
XLED PRO ONE PLUS: 0,92
XLED PRO ONE Max: 0,95
-A feny szine:
3.000 K (melegfehér)
P_a≥ 80
XLED PRO ONE PLUS: 132 Im/W
XLED PRO ONE Max: 123 lm/W
XLED PRO ONE PLUS: 4.370 lm
XLED PRO ONE Max: 6.093 lm
-Vlastni prikon:
XLED PRO ONE S: 18,4 W
XLED PRO ONE PLUS S: 33,8 W
XLED PRO ONE Max S: 50,1 W
XLED PRO ONE: 17,7 W
XLED PRO ONE PLUS: 33,1 W
XLED PRO ONE Max: 49,4 W
- Promitáná plocha:
XLED PRO ONE S: 180 cm²
XLED PRO ONE PLUS S / Max S: 254 cm²
XLED PRO ONE: 180 cm²
XLED PRO ONE PLUS / Max: 254 cm²
Hmotnost:
XLED PRO ONE S: 1,45 kg
XLED PRO ONE PLUS S: 1,7 kg
XLED PRO ONE Max S: 1,72 kg
XLED PRO ONE: 1,4 kg
XLED PRO ONE PLUS: 1,7 kg
XLED PRO ONE Max: 1,72 kg
- Sǐtový proud:
XLED PRO ONE S: 86,73 mA
XLED PRO ONE PLUS S: 233,1 mA
XLED PRO ONE Max S: 158,4 mA
XLED PRO ONE: 88,28 mA
XLED PRO ONE PLUS: 233,3 mA
XLED PRO ONE Max: 160,7 mA
- Učiník:
XLED PRO ONE S: 0,86
XLED PRO ONE PLUS S: 0,92
XLED PRO ONE Max S: 0,95
XLED PRO ONE: 0,86
XLED PRO ONE PLUS: 0,92
XLED PRO ONE Max: 0,95
- Barva světla:
3.000 K (tepla bila)
XLED PRO ONE PLUS: 132 Im/W
XLED PRO ONE Max: 123 lm/W
- Svetelný tok / jas:
XLED PRO ONE S: 2.204 lm
XLED PRO ONE PLUS S: 4.370 lm
XLED PRO ONE Max S: 6.116 lm
XLED PRO ONE: 2.236 lm
XLED PRO ONE PLUS: 4.370 lm
XLED PRO ONE Max: 6.093 lm
-Vlastná spotreba:
XLED PRO ONE S: 18,4 W
XLED PRO ONE PLUS S: 33,8 W
XLED PRO ONE Max S: 50,1 W
XLED PRO ONE: 17,7 W
XLED PRO ONE PLUS: 33,1 W
XLED PRO ONE Max: 49,4 W
- Projektovaná plocha:
XLED PRO ONE S: 180 cm²
XLED PRO ONE PLUS S / Max S: 254 cm²
XLED PRO ONE: 180 cm²
XLED PRO ONE PLUS / Max: 254 cm²
Hmotnost:
XLED PRO ONE S: 1,45 kg
XLED PRO ONE PLUS S: 1,7 kg
XLED PRO ONE Max S: 1,72 kg
XLED PRO ONE: 1,4 kg
XLED PRO ONE PLUS: 1,7 kg
XLED PRO ONE Max: 1,72 kg
- Sietovy prud:
XLED PRO ONE S: 86,73 mA
XLED PRO ONE PLUS S: 233,1 mA
XLED PRO ONE Max S: 158,4 mA
XLED PRO ONE: 88,28 mA
XLED PRO ONE PLUS: 233,3 mA
XLED PRO ONE Max: 160,7 mA
- Faktor vykonu:
XLED PRO ONE S: 0,86
XLED PRO ONE PLUS S: 0,92
XLED PRO ONE Max S: 0,95
XLED PRO ONE: 0,86
XLED PRO ONE PLUS: 0,92
XLED PRO ONE Max: 0,95
-
Farba svetla: 3.000 K (teplá biela)
-
Index reprodukcie farieb: R_a ≥ 80
-
Senzorika:
XLED PRO ONE S / PLUS S / Max S: pasíva infracervéná
- Dosah:
XLED PRO ONE S / PLUS S / Max S: max. 10 m
-Uhol snimania:
XLED PRO ONE S / PLUS S / Max S: 240°
- NastavenieČasu:
XLED PRO ONE S / PLUS S / Max S: 8 s-35 min
- Nastavenie stmievania / svitania:
XLED PRO ONE S / PLUS S / Max S: 2-2.000 lx
- IP krytie:
IP44 / I
XLED PRO ONE PLUS: 132 Im/W
XLED PRO ONE Max: 123 lm/W
- Strumien swietlny / jasnosć:
XLED PRO ONE S: 2.204 lm
XLED PRO ONE PLUS S: 4.370 lm
XLED PRO ONE Max S: 6.116 lm
XLED PRO ONE: 2.236 lm
XLED PRO ONE PLUS: 4.370 lm
XLED PRO ONE Max: 6.093 lm
- Pobórmocy:
XLED PRO ONE S: 18,4 W
XLED PRO ONE PLUS S: 33,8 W
XLED PRO ONE Max S: 50,1 W
XLED PRO ONE: 17,7 W
XLED PRO ONE PLUS: 33,1 W
XLED PRO ONE Max: 49,4 W
XLED PRO ONE: 1,4 kg
XLED PRO ONE PLUS: 1,7 kg
XLED PRO ONE Max: 1,72 kg
- Prad sieciowy:
XLED PRO ONE S: 86,73 mA
XLED PRO ONE PLUS S: 233,1 mA
XLED PRO ONE Max S: 158,4 mA
XLED PRO ONE: 88,28 mA
XLED PRO ONE PLUS: 233,3 mA
XLED PRO ONE Max: 160,7 mA
- Współczynnik mocy:
XLED PRO ONE S: 0,86
XLED PRO ONE PLUS S: 0,92
XLED PRO ONE Max S: 0,95
XLED PRO ONE: 0,86
XLED PRO ONE PLUS: 0,92
XLED PRO ONE Max: 0,95
XLED PRO ONE PLUS: 132 Im/W
XLED PRO ONE Max: 123 lm/W
- Flux luminos / luminozitate:
XLED PRO ONE S: 2.204 lm
XLED PRO ONE PLUS S: 4.370 lm
XLED PRO ONE Max S: 6.116 lm
XLED PRO ONE: 2.236 lm
XLED PRO ONE PLUS: 4.370 lm
XLED PRO ONE Max: 6.093 lm
- Consumul propriu:
XLED PRO ONE S: 18,4 W
XLED PRO ONE PLUS S: 33,8 W
XLED PRO ONE Max S: 50,1 W
XLED PRO ONE: 17,7 W
XLED PRO ONE PLUS: 33,1 W
XLED PRO ONE Max: 49,4 W
XLED PRO ONE: 1,4 kg
XLED PRO ONE PLUS: 1,7 kg
XLED PRO ONE Max: 1,72 kg
- Current de la retea:
XLED PRO ONE S: 86,73 mA
XLED PRO ONE PLUS S: 233,1 mA
XLED PRO ONE Max S: 158,4 mA
XLED PRO ONE: 88,28 mA
XLED PRO ONE PLUS: 233,3 mA
XLED PRO ONE Max: 160,7 mA
- Factor de putere:
XLED PRO ONE S: 0,86
XLED PRO ONE PLUS S: 0,92
XLED PRO ONE Max S: 0,95
XLED PRO ONE: 0,86
XLED PRO ONE PLUS: 0,92
XLED PRO ONE Max: 0,95
-
Culoarea luminii: 3.000 K (alb receive)
-
Index reproducere culoare: R_a ≥ 80
-
Senzori:
XLED PRO ONE S / PLUS S / Max S: Pasiv Infrarosu
-Rază de actiune:
XLED PRO ONE S / PLUS S / Max S: Max. 10 m
- Unghi de detectie:
XLED PRO ONE S / PLUS S / Max S: 240°
Die Ansprech helligkeit (Dämmerung) kann stufenlos von ca. priblžno 2 luksa do 2.000 luksov.

XLED PRO ONE PLUS: 132 Im/W
XLED PRO ONE Max: 123 lm/W
XLED PRO ONE PLUS: 4.370 lm
XLED PRO ONE Max: 6.093 lm
- Poraba:
XLED PRO ONE S: 18,4 W
XLED PRO ONE PLUS S: 33,8 W
XLED PRO ONE Max S: 50,1 W
XLED PRO ONE: 17,7 W
XLED PRO ONE PLUS: 33,1 W
XLED PRO ONE Max: 49,4 W
- Projicirana povrsina reflektorja:
XLED PRO ONE S: 180 cm²
XLED PRO ONE PLUS S / Max S: 254 cm²
XLED PRO ONE: 180 cm²
XLED PRO ONE PLUS / Max: 254 cm²
- Teža:
XLED PRO ONE S: 1,45 kg
XLED PRO ONE PLUS S: 1,7 kg
XLED PRO ONE Max S: 1,72 kg
XLED PRO ONE: 1,4 kg
XLED PRO ONE PLUS: 1,7 kg
XLED PRO ONE Max: 1,72 kg
- Omrežni tok:
XLED PRO ONE S: 86,73 mA
XLED PRO ONE PLUS S: 233,1 mA
XLED PRO ONE Max S: 158,4 mA
XLED PRO ONE: 88,28 mA
XLED PRO ONE PLUS: 233,3 mA
XLED PRO ONE Max: 160,7 mA
-Faktormo:
XLED PRO ONE S: 0,86
XLED PRO ONE PLUS S: 0,92
XLED PRO ONE Max S: 0,95
XLED PRO ONE: 0,86
XLED PRO ONE PLUS: 0,92
XLED PRO ONE Max: 0,95
- Barva svetlobe:
3.000 K (topla bela)
- Indeks reprodukcije barv:
R_a≥ 80
- Senzorika:
XLED PRO ONE S / PLUS S / Max S: pasivna infrardeča
- Doseg:
XLED PRO ONE S / PLUS S / Max S: Max. 10 m
Kot zaznavanja:
XLED PRO ONE S / PLUS S / Max S: 240°
- Nastavitev Časa:
XLED PRO ONE S / PLUS S / Max S: 8 s-35 min
XLED PRO ONE PLUS: 132 Im/W
XLED PRO ONE Max: 123 lm/W
XLED PRO ONE PLUS: 4.370 lm
XLED PRO ONE Max: 6.093 lm
XLED PRO ONE PLUS: 33,1 W
XLED PRO ONE Max: 49,4 W
XLED PRO ONE: 1,4 kg
XLED PRO ONE PLUS: 1,7 kg
XLED PRO ONE Max: 1,72 kg
- Struja mreije:
XLED PRO ONE S: 86,73 mA
XLED PRO ONE PLUS S: 233,1 mA
XLED PRO ONE Max S: 158,4 mA
XLED PRO ONE: 88,28 mA
XLED PRO ONE PLUS: 233,3 mA
XLED PRO ONE Max: 160,7 mA
- Koeficijent snage:
XLED PRO ONE S: 0,86
XLED PRO ONE PLUS S: 0,92
XLED PRO ONE Max S: 0,95
XLED PRO ONE: 0,86
XLED PRO ONE PLUS: 0,92
XLED PRO ONE Max: 0,95
-
Boja svjetla: 3.000 K (topla bijela)
-
Indeks reprodukcije boje:
R_a ≥ 80
- Senzorika:
XLED PRO ONE S / PLUS S / Max S: pasivna incfrarvena
- Domet:
XLED PRO ONE S / PLUS S / Max S: maks. 10 m
-Kut detekcije:
XLED PRO ONE S / PLUS S / Max S: 240°
- Podesavanje vremena:
XLED PRO ONE S / PLUS S / Max S: 8 s - 35 min
Tootja garantii STEINEL GmbH, Dieselstraße 80-84, DE-33442 Herzebrock-Clarholz, Saksamaa
XLED PRO ONE PLUS: 132 Im/W
XLED PRO ONE Max: 123 lm/W
XLED PRO ONE PLUS: 4.370 lm
XLED PRO ONE Max: 6.093 lm
- Omatarve:
XLED PRO ONE S: 18,4 W
XLED PRO ONE PLUS S: 33,8 W
XLED PRO ONE Max S: 50,1 W
XLED PRO ONE: 17,7 W
XLED PRO ONE PLUS: 33,1 W
XLED PRO ONE Max: 49,4 W
XLED PRO ONE: 1,4 kg
XLED PRO ONE PLUS: 1,7 kg
XLED PRO ONE Max: 1,72 kg
-Vorgupinge:
XLED PRO ONE S: 86,73 mA
XLED PRO ONE PLUS S: 233,1 mA
XLED PRO ONE Max S: 158,4 mA
XLED PRO ONE: 88,28 mA
XLED PRO ONE PLUS: 233,3 mA
XLED PRO ONE Max: 160,7 mA
- Jōudlustegur:
XLED PRO ONE S: 0,86
XLED PRO ONE PLUS S: 0,92
XLED PRO ONE Max S: 0,95
XLED PRO ONE: 0,86
XLED PRO ONE PLUS: 0,92
XLED PRO ONE Max: 0,95
Gamintojo garantija STEINEL GmbH, Dieselstraße 80-84, DE-33442 Herzebrock-Clarholz, Vokietija
XLED PRO ONE PLUS: 132 Im/W
XLED PRO ONE Max: 123 lm/W
XLED PRO ONE PLUS: 4.370 lm
XLED PRO ONE Max: 6.093 lm
XLED PRO ONE PLUS: 33,1 W
XLED PRO ONE Max: 49,4 W
XLED PRO ONE: 1,4 kg
XLED PRO ONE PLUS: 1,7 kg
XLED PRO ONE Max: 1,72 kg
-Tinklo srové:
XLED PRO ONE S: 86,73 mA
XLED PRO ONE PLUS S: 233,1 mA
XLED PRO ONE Max S: 158,4 mA
XLED PRO ONE: 88,28 mA
XLED PRO ONE PLUS: 233,3 mA
XLED PRO ONE Max: 160,7 mA
- Galios koeficientas:
XLED PRO ONE S: 0,86
XLED PRO ONE PLUS S: 0,92
XLED PRO ONE Max S: 0,95
XLED PRO ONE: 0,86
XLED PRO ONE PLUS: 0,92
XLED PRO ONE Max: 0,95
- Šviesos spalva:
3.000 K (šalta balta)
XLED PRO ONE PLUS: 132 Im/W
XLED PRO ONE Max: 123 lm/W
-Gaismasplusma/Gaiugs:
XLED PRO ONE S: 2.204 lm
XLED PRO ONE PLUS S: 4.370 lm
XLED PRO ONE Max S: 6.116 lm
XLED PRO ONE: 2.236 lm
XLED PRO ONE PLUS: 4.370 lm
XLED PRO ONE Max: 6.093 lm
XLED PRO ONE PLUS: 33,1 W
XLED PRO ONE Max: 49,4 W
XLED PRO ONE: 1,4 kg
XLED PRO ONE PLUS: 1,7 kg
XLED PRO ONE Max: 1,72 kg
- Elektroenergija:
XLED PRO ONE S: 86,73 mA
XLED PRO ONE PLUS S: 233,1 mA
XLED PRO ONE Max S: 158,4 mA
XLED PRO ONE: 88,28 mA
XLED PRO ONE PLUS: 233,3 mA
XLED PRO ONE Max: 160,7 mA
- Jaudas faktors:
XLED PRO ONE S: 0,86
XLED PRO ONE PLUS S: 0,92
XLED PRO ONE Max S: 0,95
XLED PRO ONE: 0,86
XLED PRO ONE PLUS: 0,92
XLED PRO ONE Max: 0,95
-Gaismas krasa:
3.000 K (silti balta)
XLED PRO ONE PLUS: 132 Im/W
XLED PRO ONE Max: 123 lm/W
- CBeTInHeH nOTOK / oCBeTeHoCT:
XLED PRO ONE S: 2.204 lm
XLED PRO ONE PLUS S: 4.370 lm
XLED PRO ONE Max S: 6.116 lm
XLED PRO ONE: 2.236 lm
XLED PRO ONE PLUS: 4.370 lm
XLED PRO ONE Max: 6.093 lm
- CobstBeno noTpe6JeHne:
XLED PRO ONE S: 18,4 W
XLED PRO ONE PLUS S: 33,8 W
XLED PRO ONE Max S: 50,1 W
XLED PRO ONE: 17,7 W
XLED PRO ONE PLUS: 33,1 W
XLED PRO ONE Max: 49,4 W
- O6xbaHaTa ПLOU:
XLED PRO ONE S: 180 cm²
XLED PRO ONE PLUS S / Max S: 254 cm²
XLED PRO ONE: 180 cm²
XLED PRO ONE PLUS / Max 254 cm²
- Tergo:
XLED PRO ONE S: 1,45 κr
XLED PRO ONE PLUS S: 1,7 Kr
XLED PRO ONE Max S: 1,72 kR
XLED PRO ONE: 1,4 κr
XLED PRO ONE PLUS: 1,7 κr
XLED PRO ONE Max: 1,72 kR
-MpeXkoB Tok:
XLED PRO ONE S: 86,73 mA
XLED PRO ONE PLUS S: 233,1 mA
XLED PRO ONE Max S: 158,4 mA
XLED PRO ONE: 88,28 mA
XLED PRO ONE PLUS: 233,3 mA
XLED PRO ONE Max: 160,7 mA
- MoiHocTeH qakTop:
XLED PRO ONE S: 0,86
XLED PRO ONE PLUS S: 0,92
XLED PRO ONE Max S: 0,95
XLED PRO ONE: 0,86
XLED PRO ONE PLUS: 0,92
XLED PRO ONE Max: 0,95
- LbT Ha CBeTnHaTa:
制造商保修 STEINEL GmbH, Dieselstrasse 80-84,
XLED PRO ONE PLUS: 132 Im/W
XLED PRO ONE Max: 123 lm/W
- 光流/亮度
XLED PRO ONE S: 2,204 lm
XLED PRO ONE PLUS S: 4,370 lm
XLED PRO ONE Max S: 6,116 lm
XLED PRO ONE: 2,236 lm
XLED PRO ONE PLUS: 4,370 lm
XLED PRO ONE Max: 6,093 lm
- 自身耗电量:
XLED PRO ONE S: 18.4 W
XLED PRO ONE PLUS S: 33.8 W
XLED PRO ONE PLUS: 33.1 W
XLED PRO ONE Max: 49.4 W
- 照射面积:
XLED PRO ONE S: 180 cm²
XLED PRO ONE: 180~cm^2
XLED PRO ONE: 180~cm^2
XLED PRO ONE PLUS / Max: 254 cm²
-重量
XLED PRO ONE S: 1.45 kg
XLED PRO ONE PLUS S: 1.7 kg
XLED PRO ONE Max S: 1.72 kg
XLED PRO ONE: 1.4 kg
XLED PRO ONE PLUS: 1.7 kg
XLED PRO ONE Max: 1.72 kg
- 电源电流
XLED PRO ONE S: 86.73 mA
XLED PRO ONE PLUS S: 233.1 mA
XLED PRO ONE Max S: 158.4 mA
XLED PRO ONE PLUS: 88.28 mA
XLED PRO ONE PLUS: 233.3 mA
XLED PRO ONE Max: 160.7 mA
- 功率系数:
XLED PRO ONE S: 0.86
XLED PRO ONE PLUS S: 0.92
XLED PRO ONE Max S: 0.95
XLED PRO ONE: 0.86
XLED PRO ONE PLUS: 0.92
XLED PRO ONE Max: 0.95
- 光色:
XLED PRO ONE PLUS: 132 Jm/Bt
XLED PRO ONE Max: 123 Jm/Bt
- CBeTOBOI NOTOK /ЯрКоCTь:
XLED PRO ONE S: 2.204 Jm
XLED PRO ONE PLUS S: 4.370 Jm
XLED PRO ONE Max S: 6.116 Jm
XLED PRO ONE: 2.236 Jm
XLED PRO ONE PLUS: 4.370 Jm
XLED PRO ONE Max: 6.093 Jm
-Notpe6JIeMaJ moUHocTb:
XLED PRO ONE S: 18,4 Bt
XLED PRO ONE PLUS S: 33,8 Bτ
XLED PRO ONE Max S: 50,1 Bτ
XLED PRO ONE: 17,7 Bt
XLED PRO ONE PLUS: 33,1 B7
XLED PRO ONE Max: 49,4 Bτ
XLED PRO ONE: 1,4 κr
XLED PRO ONE PLUS: 1,7 κr
XLED PRO ONE Max: 1,72 kR
- Ceteboi TOK:
XLED PRO ONE S: 86,73 MA
XLED PRO ONE PLUS S: 233,1 MA
XLED PRO ONE Max S: 158,4 mA
XLED PRO ONE: 88,28 mA
XLED PRO ONE PLUS: 233,3 MA
XLED PRO ONE Max: 160,7 mA
- Koэффицент мошноctи:
XLED PRO ONE S: 0,86
XLED PRO ONE PLUS S: 0,92
XLED PRO ONE Max S: 0,95
XLED PRO ONE: 0,86
XLED PRO ONE PLUS: 0,92
XLED PRO ONE Max: 0,95
- LBet CBeta:
3.000 K (Teπlbɪ ŠeJIbɪ)

110080911 09/2023 Technische Änderungen vorbehalten. / Subject to technical modification without notice.
Notice-Facile